C925e - Webkamera LOGITECH - Nemokama naudojimo instrukcija
Raskite įrenginio instrukciją nemokamai C925e LOGITECH PDF formatu.
Naudotojų klausimai apie C925e LOGITECH
0 klausimas apie šį prietaisą. Atsakykite į tas, kurias žinote, arba užduokite savo.
Užduokite naują klausimą apie šį prietaisą
Atsisiųskite instrukciją savo Webkamera PDF formatu nemokamai! Raskite savo instrukciją C925e - LOGITECH ir vėl perimkite savo elektroninį įrenginį. Šiame puslapyje skelbiami visi dokumentai, reikalingi jūsų įrenginio naudojimui. C925e prekės ženklo LOGITECH.
NAUDOJIMO INSTRUKCIJA C925e LOGITECH
1 C925e kameroje integruota privatumo uzdanga. Uzdangos atidarymo ir uzdarymo slankiklis yra internetines vaizdo kameros virsuje, virskameros lesio.

2 Noredami atidaryti privatumo uzdangq, pajudinkite slankiklj kaire.

3 Noredami uzdaryti privatumo uzdangq ir uzdengti lesi, pajudinkite slankikli deine. Uzdarius privatumu uzdangq, lesis atrodys baltas.

ZINIATINKLIO KAMEROS PARUOSIMAS
Ant monitoriaus
1 Ziniatinklio kamerq tvirtinkite prie kompiuterio, nešiojamojo kompiuterio arba monitoriaus norimoje padětyje arba norimu kampu.
2 Sureguliukite ziniatinklio kamerq, kad universalaustvirtinimo gnybto kojelé priglustu prie jusu irenginio galines dalies.
3 Ranka reguliuokite ziniatinklio kamerq aukstyn arba zenyn, kol nustatysite geriausiq padetj.



Ant trikojo\*
1 Raskite 1/ col. trikojo sriegi universalaus tvirtinimo gnybto apacioje.
2 Ziniatinklio kamerq tvirtinkite pri e trikojo prisukdami trikoji pri e 1/ col. sriegio.
3 Padekite ziniatinklio kamerq su trikoju pageidaujamoje vietoje.



- Trikojis nepridetas
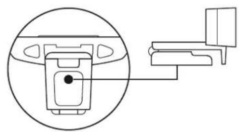
ZINIATINKLIO KAMEROS PRIJUNGIMAS SU USB-A
[likiskite USB junti] savo kompiuterio USB-A preevadq.

SEKMINGASPRIJUNGIMAS
LED veikimo lemputé užsidegs, kai programa naudos ziniatinklio kamerq.

MATMENYS
ISKAITANT FIKSUOTA TVIRTINIMO GNYBTA:
aukstis x plotis x gylis:
73× 126× 45mm (2,9× 5,0× 1,8 col.)
Laido ilgis: 1,83 m (ó pédd.)
LengvasVadovas