BCB 7030 E C AA - Hűtő-fagyasztó HOTPOINT - Ingyenes használati útmutató
Találja meg az eszköz kézikönyvét ingyenesen BCB 7030 E C AA HOTPOINT PDF formátumban.
Questions des utilisateurs sur BCB 7030 E C AA HOTPOINT
0 question sur cet appareil. Repondez a celles que vous connaissez ou posez la votre.
Poser une nouvelle question sur cet appareil
Töltse le az útmutatót a következőhöz Hűtő-fagyasztó PDF formátumban ingyenesen! Találja meg kézikönyvét BCB 7030 E C AA - HOTPOINT és vegye vissza elektronikus eszközét a kezébe. Ezen az oldalon közzé van téve az eszköze használatához szükséges összes dokumentum. BCB 7030 E C AA márka HOTPOINT.
HASZNÁLATI ÚTMUTATÓ BCB 7030 E C AA HOTPOINT
svételefonni císlo s predvolbou.
SERVICE
0000 000 00000

Poznámka:
- Frissen tartó fiók
- Polcok/polctér
- Hörmséklet-szabályozó gomb/jelzöfeny
- Ajtópolcok
- Palackálvány
- Kivehetőpalackrözítő
- Gyári adattábla (a zöldseg- és gyümölcsiók oldalán)
- Jégkockatartó
- Az alacsony hómér sékletu rekesz ajtaja
B. Alacsony hómér sékletú rekesz (ha van)

Leghidegebb zona

Legkevésbé hideg zona
Megjegyzés: A polcok száma és a tartozékok kialakítasa a modelltól fuggóen valtozó lehet. Valamennyi polc, ajtópolc és tartó kivehétő.
Fontos: A hütöszekrény tartozékait net tisztítsa mosogatógepben.




Fontos: Csukja be a belso ajtó!
SZABÁLYOZÓGOMBOK
A. Hörmerseklet-szabályozó gombja
B. Vilagítás nyomógombja
D. Hörmséklet-szabályozási beallíto jelzes
E. Izzó

A HÜTÖTER ÜZEMELTETÉSE
Ez a keszülék egy automata hútószekrény vagy egy
* *** csillagos alacsony hómér sékletú rekesszel
rendelkező hútószekrény.
A hütôtér leolvasztása teljes mértékben automatikus.
A hütöszekrény +16°Cés +32°C kozötti külso hórmérséklen zuemeltethető.
A hütőszekrény üzembehelyezese
Dugja be a halózati csatlakozó t a konnektorba. A hòmér séklet-szabályozó gomb segítségevel szabályozhato a hútǒszekrény belterének hòmér séklete, és ezáltal fenntarthato az alacsony hòmér sékletú rekesz belterének hòmér séklete is.
A homérséklet beallitása
A keszülk belso hómer sékletének valtoztatasához a termosztát szabályozógombját forgassa
- az alacsony szamokhoz (1-2/MIN) a LEGKEVESBE
HIDEG belso hómér sékletonez; - a kozepes szamokhoz (3-4/MED) a KÖZEPES hómér sékletonez;
- a magas számokhoz (5-7/MAX) a LEGHIDEGEBB hómér sékletonez.
A hórmésklet-szabályozó ·aIIASÁBAN a készülék muködèse és a világítás megszakad.


Megjegyzes:
A környezeti hórmísepaket, az ajtényitásk gyakoriságá és a készülék elhelyezésebefolyásolhatja a két ter belso hórmísepketét.
Vegye figyelembe ezeket a tenyezoket, amkor beallitja a homersklet-szabalyozot.
Éelmiszer-tárolás a hútóterben
Az élelmiszereket a mellekelt abrán láthato módon helyezze el.
A. Fott ételek
B. Hal, hús
C. Zöldseg, gyümunolcs
D. Üvegek
E. Tojas
F. Vaj, tejtermékek, sajtok
Megjegyzes:
A polcok és a hútószekrény belso, hátso fala kozötti helyBiztositja a levego szabad áramlását, ezert ide ne helyezzen semmit!
- Az éelemiszereket úgy helyezze el, hogy azok ne érjenek hozza a hútóter hátso falához!
A folyadékokat lezart tároló-edenyben tartsa!
- Még normalis feltételek mellett is a magas viztartalmú zöld ségek (pl. fejes salá) az also fiókokban és/vagy a kózépső polcok környékén párolgást okozhatnak; ez semmilyen módon nem befolyásolja a készülék helyes muködését. A páralecsapódás elkerülese érdekében ajánlatos a zöld ségek becsomagolása.

AZ ALACSONY HÖMÉRSEKLETÜ REKESZ MÜKÖDTETÉSE
Az alacsony hómér sékletu rekesz (ha van), egy csillagos rekesz.
A fagyasztott élelmiszerek eltarthatósági idöṭartamával kapcsolatban a csomagoláson feltüntetett adatokat vegye figyembe.
Fagyasztott élemiszerek vásárlásakor:
Győzódjön meg rola, hogy a csomagolás nem sérült-e, mert ha igen, az élelmiszer megromolhat! Ha a csomagolás felpuffadt vagy nedvességfoltok láthatok rajta, előfordulhat, hogy a tárolás nem megfelelo körülmenyek között törtent, és az élelmiszer mar elkezdett kiolvadni.
Vásárláskor a fagyasztott éelemiszereket vegye meg utoljára, és szállitsa öket hútótaskában!
- Amint hazaér, röttgon tegye be a mélyfagyasztott termékeket az alacsony hómérskletú rekeszebe!
Ha az elelmiszer akarCsak reszben iskiolvadt,ne fagyassza le ujra!24 oran belul fogyassza el.
- Kerülje vagy csökkentse minimálisra a hómér séklet-változásokat!
Tartsa be a csomagoláson felTÜntetét szavatossági időt.
- A fagyasztott elelmiszerek tárolásánál mindig kövesse a csomagoláson felTÜntetét utasításokat!
Jégkockakésztés
- A jégkockatartó 3/4 résizg tõltse fel vizzel, és tegy vissza az alacsony hòmérsekletú rekesz aljára! Ha a jégkockatartó az alacsony hòmérsekletú rekesz aljához tapad, akkor a kiemeléséhz semmíkeppen ne használjon hegyes vagy éles eszközoket!

AZ ALACSONY HÖMÉRSEKLETÜ REKESZ LEOLVASZTÁSA és TISZTITÁSA
A zavartalan muködes érdekében ajánlatos az alacsony hórmésékletú rekeszt olyankor leolvasztani, ha a hútorácsokon képžööttt zuzmararéteg vastagsa eleri a 3 mm-t, illetve evente legalább 2 alkalommal. A leolvasztast akkor ajánlatos elvegezni, amikor a hútőszekrényben talalhato éelelmiszer-mennyiség a lehető legkisebb.

- Nyissa ki az ajtó, és a kivett élelmiszereket szorosan csavarja be úsjágapapírna, majd helyezze azokat húvös helyre vagy hútó:taskába.
- Valassz la keszüléket az aramforrasrol.
- A jeg leolvadásanak elősegítésé érdekében hagyja nyitva a hútő ajtaját.
- Az olvadékvizet egy szivaccsal törölje fel.
- A tiszitást langyos viz és semleges tisztitószer oldataba martott szivaccsal végezze. Ne használjon dörzshatasú anyagokat.
-
Oblítse át, és törölje szárazra.
-
Megjegyzés: Ne hasznaljon éles vagy hegyes fémeszközöket a zúzmara eltávolitásához! Tilos az alacsony hórméskletü rekeszt mesterségesen melegíteni!
A HÜTÖTÉR TISZTITÁSA
A hütōteret rendszeresen tiszütsuk meg.
A hútōter leolvasztása teljes mértékben automatikus.
Az automatikus leolvasztást az jerzhi, hovy a hʊtôtér balsejének hátó falán alkalmanként vizcseppek jelennek meg. Ez a viz égy leseresztényilason keresztül egy tárolótauúlyba kerül, ahonnan elpárolog.
A vizleeresztő nyilást a készülékhez mellékelt eszközzel rendszeresen tiszítsa ki, mert igy elősegitheti a leeresztett viz allandó és meqfelelo áramlasát.
Bármilyen tiszítási muvelet megkezdésé elott valassza le a készüléket az áramforrársól!
Hasznaljon langyos vizbe és/vagy semleges mosószerbe martott szivacsot!
A keszülék besejét öblütse ki, és puha ronggyal törölje szárazra!
Ne hasznaljon dorzshatásu anyagokat.

TISZTÍTÁS ÉS KARBANTARTÁS
A keszülk hátulján talalhato szellőzórácsokat és kondenzártort porszívó vagy kefe segitségével rendszeresen meg bell tiszítani.
A külso burkolatot puha ronggyal tisztitsa!
Hosszú távollét
- Ürütse ki a hʊtōteret és az alacsony hómér sékletu rekeszt.
- Valassza le a keszüléket az aramforrasrol.
- Olvassza le az alacsony hómér sékletú rekeszt, majd tisztítsa ki és torolje szárazra mindkét teret.
- A kellemetlen szagképszódes elkerülése érdekében hagyjnyitva az ajtót.

ENERGIATAKAREKOSSAGITANACSOK
- Tilos a keszüléket magas hörmsékletnek vagy közvetlen napfenynek kitenni, illetev hóforrás (sūtō, radiató) kölzelben felállitani, mert ez az energiafogyasztás novekedését eredményezi.
- A levego be-és kimenetere szolgálo szellóźonyilásokat szabadon kell hagyni.
- A lefagyasztott éelemiszerek felengedésekor először helyezze azokat a hütőterbe, mert ily moledon hasznosíthatja a lefagyasztott termékból felszabaduló hideget is.
- Amennyire lehet,Csökkentse az ajtonyitások idöartamát és gyakoriságátt!
A hútóterbe ne tegyen mèg meleg ételt! - Ne hagyja nyitva az alacsony hómér sékletú rekesz ajtajat!
HIBAELHÁRITASI UTMUTATÓ
1. A készülék nem muködik.
- Áramkimaradas van?
A halózati csatlakozó megfeleloen van bedugva a konnektorba?
A fokapcsoló be van kapcsolva?
Kiegett abiztositek? - A hórmésklet-szabályozó -allásban van?
2. A rekeszek besejében uralkodó homér séklet nem élég alacsony.
- Megfeleloen zárnak az ajtók?
- Nincs a keszülék hóforrás kozelében?
Jol van beallitva a homerseklet-szabalyozso? - Nincs akadályozva a szelózónyilásokon keresztú lorténő levegoáramlás?
3. A hütôtér besejének homérséklete tulságosan alacsony.
Jol van beallitva a homerseklet-szabalyozo?
4. A hútóter alán viz talalható.
- Az olvadékvíz-elvezető eltömodött?
5. A készülék belő világítása nem működk.
Ellenőrizable először az 1. pontot, majd:
- Valassza le a keszüléket a halózati áramforrásró!
- Az izzot ugyanolyan teljesitményu vagy a tartókeret mellett jelzett maximális teljesitményu izzóra cserélje ki!
- Az izzo eltavolitasa: csavarja ki az oramutato jarásával ellentétés irányban, az abrán láthato modon!

6. Túlzott mertékú zúzmaraképólés az alacsony hómér sékletu rekeszben.
Jol van becsukva az alacsony homserekletu rekesz ajtaja?
Megjegyzes:
- Bizonyos zajok és hangok (kotyogás, tágulási sziszegés stb.) a hütőszekrény normális működéséből szármasz jeleségnek szamitanak.
VEVÖSZOLGÁLAT
Mielott a vevszolgálatot hivna:
- Ellenórizze, hogy meg tudja-e oldani sjat maga a problema t a Hibaelhárítási utmutató segítségevel!
- Inditsa el ujra a keszuléket, es ellenorizze, hogy megszunt-e már a hiba. Ha nem, akkor ismet huzza ki a konnektorból a halózati csatlakozót, és a muveletet ismetelje meg egy ora mulva.
- Ha a hiba még mindig fennáll, értesítse a vevószolqalatot.
Adja meg az alábbiakat:
- a hiba jellegét,
- a keszülék típusát,
- a szervizszámot (a zöldseg-és gyümölcsfiókon levő gyári adattablán olvasható SERVICE szó
után allo számout),
- az On teljes címet,
- az Öltelefonszámát (a körzetszámmal együtt).
SERVICE
0000 000 00000

Megjegyzés:
Az ajtonyitas iranya módosithato. Ha ezt a muveletet a vevszolgálat vegzi, a munkára nem terjed ki a garancia.
ÜZEMBE HELYEZÉS
- Tilos a keszüléket hóforrás bözelébe helyezni (minimális távolság: 30 cm szén- vagy olajTÜzelésü túzhelyektől, 3 cm elektramos túzhelyektől).
A keszüléket száraz és jól szellőzó helyiségben helyezze el! - A szellózonyilások mindig legyenek szabadon!
Tiszíttsa ki a hútō belterét (lásd a vonatkozó fejezeteket)! - Helyezze be a keszülékhez mellekelt tartozékokat!
Elektromos csatlakoztatás
- Az elektromos csatlakoztatásoknak meg kell feleniuk a helyi előirásoknak.
A feszültsegre és a teljesitményfelvételre vonatkozó adatok a zöldseg- és gyümölcsfiók oldalan lévo gyári adattablán lathatk.
- Az elóirásoknak megfeleloen kötelező a készülék födelèse. A gyártó semmilyen felelòsséget nem vällal a személyekben, allatokban vagy vagyontárgyakban bekovetkezzett azon károkér, amelyek oka a fenti szabályok betartásanak elmulasztása.
Ha a halózati csatlakozó és a konnektor nem ugyanolyan típusú, akkor a halózati csatlakozó szakemberrel cseréltesse ki!
- Ne használjon hosszabbítokat és elosztókat!
Áramtalanítás
ELEKTROMOS CSATLAKOZTATÁS NAGY-BRITANNIA ÉSÍRORSZÁG ESETÉN
Figyelem! Ezt a keszüléket födelni kell.
Biztositékcsere
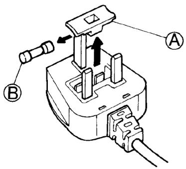
Ha a keszülk tapkábele BS 1363A típusu, 13 A-esBiztositékos csatlakozódupóval rendelkezik, az ebben levőbiztositék cseréjekor hasznaljon A.S.T.A. altal jovahagyott, BS 1362 típusuBiztositékot, és a következők szerint járjon el:
- Távolítsa el abiztositékfedelet (A) és abiztositékot (B).
- Helyezzen be egy uy 13 A-esBiztositekot abiztositekhazba.
- Helyezze vissza mindkettot a csatlakozódupóba.
Fontos:
ABiztositék cseréjekor vissza kell helyezni abiztositékházat. Ha elveszett, a csatlakozódugó mindaddig nem hasznalható, amig nem pólolja azt.
A megfelelo cserealkatresz a betét színe, illetve a cisatlakozódupo aljan dombornyomott betükkel jelzett szin alapján azonosithato.
A czere bizi tsekhaz a villamossagi boltokban szerezheto be.

Irorszag eseten
A Nagy-Britanniá vanatkozó informácio többniryere érvényes, azonban hasznalatban van egy harmadik típusu (2 tuskés, oldalsó foldelóerintkezós) csatlakozódugo és aljzat is.
Csatlakozóalzat/dugasz (mindkét ország esétén)
Ha a felszerelt csatlakozódugo az On halózati aljzatahoz nem megfelelo, kérjuk, további utmutatasert forduljon a vevszolgálathoz. Ne probálaj meg egyédül kicserélni a dugaszt. Ezt a muveletet szakképsett szerelonek kell évegeznie a gyartóutasitásainak és a hatályos biztonságielóirasoknak megfeleloen.
KönnyűKézikönyv