BCB 7030 E C AA - холодильник морозильник HOTPOINT - Безкоштовний посібник користувача
Знайдіть посібник до пристрою безкоштовно BCB 7030 E C AA HOTPOINT у форматі PDF.
Завантажте інструкції для вашого холодильник морозильник у форматі PDF безкоштовно! Знайдіть свій посібник BCB 7030 E C AA - HOTPOINT і поверніть собі контроль над електронним пристроєм. На цій сторінці опубліковані всі документи, необхідні для використання вашого пристрою. BCB 7030 E C AA бренду HOTPOINT.
ПОСІБНИК КОРИСТУВАЧА BCB 7030 E C AA HOTPOINT
ПОUCEДУРА OЧИСТКИ ВКЛадКИ STOP FROST
- OTKpoIte DBepey MOpO3nJIbHOJ KaMepbI N BbIHbTe BepxHn IaIK (pncyHOK 2).
-OTCOeINHInTe CneuJIbHyIOIOLy STOP FROST (pncyHOK 3)и bblbTe ee (pcnyHOK 4), cTapacb He yPOHNt b Ha CTeHNHHyIOIOLKy.ПрIMeuaHHe:ecnI POJka STOP FROST 3aCTrpaIa IINI eE TpydHO ydaJINb, He npilaaraiTe ycIIiN, a npdoJIkaiTe pa3MopaaHbAHe, KaK O6bIuHO. - 3aKpoITe DBepy MOpO3nJbHOn KaMepbl.
- BbInbTe nOJIky STOP FROST u ydaIInTe C Hee HaJeB, oNIOLOChyB nOd npToUHOn (He ropeu) BOdoi (pncyHOK 5).
-ДаиTe noJIke STOP FROST o6coxHyt bI npOTpIte nlaCTMaCCOBbIe yactn MЯrKoI TKAHbIO. - BcTaBbTe nOly STOP FROST Ha MeTo, OnepeB ee TbIbHyU YaCTb Ha BbICTybl, KaH Noka3aHO Ha pncyHHe 7-A,ИЗakpeNITe pyKoTHy B paCnIoJKeHHbIX BblSe 3aHImax (pncyHok 7-B).
- BCTaBbTe Ha MeTo BePxHnЯuN K 3aKpOte DBepuy MOpO3nIbHoN KaMepbl.
Якто прилад_HE ВИКОПСТОВЕТБСА
BidknHouitb npnlaB iD eJeKTpOmepeKi, BNTaRHTb i3 HbOro Bci npodykTn, 3a notpe6n p03MOPo3bTe N OuchTbTe NOrO. TpMaJTe DBePcTa TPOxN BiDyHeHmN, Uo6 3a6e3neuTn CInPKyIauZIO NOITpy B iDJIeHNHax. TaKIM YINHom Bn yHINKHeTe BINHKHeHHa ZblT a HeepnEMHX 3anaxIB.
Y BИПАДКУ ПЕРБОIB HANPYTN B ELEKTPOMEPEXI
TpmaTe DBePcTa 3aunHeHmN, 106 RaOMora DOBWe 36epeTn npOdyKTn OxolodKeHmN. He 3amOpoxyTe NOBtropNo cactKOBo po3MopOKeHi npOdyKTn. RaIeKToPoEheprIIO BiDJIouChEn Ha TpBaJIn Yac, MoKe BBIMKHyTncr CnHAn Ipo 3HeCTpyMlENHr (y MoeJax, OchaueHnx eJeKTPoHiko).
XOJODINJIbHE BIDJIJEHHN
YxOIOJIbHOMy BiIJIeHHi MOXHa 36epiratn CbiKi npOdykTu HaHOI.
Po3mopoxenHxolonlbHoro BiDilneHHBid6yBaetbca NobHicTIO ABTomTuHO.
Kpani BOnn HByTpHni 3aHn CInuXoLoHbHO BdIJIeHNc CBIDaTb npo Te, UO hapa3i Bi6yBaTbcra npouec ABTomatHOro po3mOpOKeHNr. Tana BOda aBtOMaTHNo CTiKae y dpenaHnn OTBip i 36npaTbcra y cneuaJbHomy KOHTeHepi, 3Bdkn NotIM BNnapoBOyeTcbr.
3aJIeKHO BID MoEJI npHnAD MOHe 6yTH OcHaUeHNI OcObHM BiDJIeHnM «HyIb rpaYcIB», JKe pIeKpacHO NiXoNDtB DnI 36epirAHn CbiKOrO M'raTa pN6n.
PonepeJxHnHa! He 3aHaJaIte akcescyapx XoIoNlNbHOro BiDilneHHB NocydomnHy MaunHy.
PnmuItHa. Ha Tempepaty BcepeHni DBOX BiDJIeHb MOKe BpINBaTH TeMnepaTpa HABKOLIshhboro cepeOBOu, YacToTa BiIDKpNBaHHa DBepaT
i p03a7uBaHnI npInaIy. YcTaHOBJIouIe TempePaTyp, 6epyu n do yBaRn i foakTopn.
Pnmuitka. B yMOBax NiIbnuIeHOI BOIOrOCTi B XoIOAnIbHOMy BiIJIeHHi MOKe YTBOpIOBaTHcA KOHeHCAT (OCo6JIbBO Ha ChJIaHIX NOLIeX). Y TaKOMy BUnIaNDy peKOMeHNObaHO UJIbHO 3aKnPTN EMMKocTI 3 pIDINHAMn (HaPnIKJa, HApKN Tn KAcTpyJI KpnUkAmn), 3aROpHyTN B XapOBy PJIiBky IPOdYkTN 3 NiIBNuIeHm BMICTOM BoDN (HaPnIKJa, OBOci), a NOTIM YBIMKHyTN BEHTnJIaTOp (JAKIo BIH e).
BnIyueHnHOHTeHepa IlaΦpyKtIBIOBOUcB (3aJIeXHo BID MoDeni)
BnTgHtB KOHTeHep, HacKlBKn Ye MoXJIbBO, TPOX NiDHiMItb, a NOTIM BnLyuITb NOrO.
Uo6 cnpocHTn npoec BnIyueHHa KOHTeHepa dIra FpykTIB i OBOuIb, CNoaTHy po3BaHTaXTe (3a Heo6xIdHOCTi - Bnlyute) dBi HnKHi nOJIuCi, pO3TaWObaHI ha DBePcTax XIoJdNlBHOro
BidJIeHNHra.
BentnlaTop i aHTn6aKTepiIbHn FJIbTp IJy YHKeHHN NOBHN HEnpncMHnx 3aIaxiB (3aJIeXHO BiD MoIeJI)
BentnlaTOp nIdtpmye oHaKoby TempepaTyb pi3Hnx 30hax xOLOndHoro BiDineHHa Ta DOnomarae yHnKHyTN HaMipHOI BOLOrOCTi, 3aBAnkyOMy npOdyKTN 36epiraToBCaHabarato Kpaue. He nepeKePbAte BENTnlaJHi OTbOpN. BeHTnlaTOp MOHb BMKaTHa Ta BMnKaTH bpyHy (INB. CTncn I DObiHnK). RaHIO BENTnlaTOp YBMKHHeHO, BIH CnpaCbOByBaTMe aBTOMaTHHO.
MOPO3nJIbHE BIDJIJIeHHa
MoIeIb i3 OKpeMIM MOpO3nJIbHIM BiIaJIeHHaM
Y MOpO3HbHOMy BiDIIeHHi (公 公 公) MOKHa 3aMOPOxHyBaTHn CBIki PPOyKTn, a TaKOH 36epiratn 3aMopOHeHi (PpOTrOM nepioNy, yka3aHoro Ha ynaHOBui). KIlbKiCTb CbiHX PPOyKTtB, kI MoKHa 3aMopO3HTn PpOTrOM 24 roDInH, yka3aHO Ha Ta6JIuCI 3 nacNopTmHm DaHIMn. PO3micITb CBiHI PNOyKTn B 30Hi 3aMOPoXHyBaHH MOpO3HbHOrO BiDIIeHnn (INB. CTNCII NOBIDHk), 3aIISHAQUCH HABKOLO KOJHOI yNAOBKn DOCTaTHBO MICU JI BILHOI UPKyIaJIi NOBITpr. YactKOB0 P03MOPoHexi PNOyKTn HE peKomeHDoBaHO 3aMOPoXyBaTHn NOBTOPH. DByke BaJIINBO 3aROpTaN PNOyKTn B XapOBy PIIIBHy, 1068 yHNKHTn IOTpanJIaHHn Ha HNX BOH, a TAKOH nonpePeHTN iDBMIeHH PIBH BAIOROCTI yTBOpEHHK KOHDeHCATy.
3amopokybaHHn Ky6nHbNbody
Ha IbI TpeTnH 3anOBHITb IOTOK IJy (AkuO BIn e), a Notim po3aUyTe Noro B MOpO3nHOMy BiDJIeHHi. Y KODHomy Bnpanky He BnKOpNCTObYte roctpi npedmetn, 06 BnDaJIHTn LiI.
BilnyeHnKoHTeHepiB (3aIeXHo BID MoDJI)
BnTARHITb KOHTeHepn, HACKIbKnCe MOJINBO, TPOXNIiHIMiTb, a NOTIM BnLyuTb ix. Lio6 36JIbWHTn MlCue dIy36epirAHn npOdyKTIB y MOpO3NlBHomBy IdIneHHI, BnLyUte 3 HbOro Bci KOHTeHepn.
PozmicTbBn npOdykTn ha noJinux a6o pewiTkax, zJIbHo 3aKpnTe DBepeTata.
Modeni i3 BHyTpiliHIM BiDilneHHaM IJI npOdyKTiB
Y Mopo3HbHomy BiDJIeHHi (TakOH MOxHa 3amOpOxyBATn CBiHI npOyHTN. KIbKICTb CBIHNX npOyHTIB, HKi MoxHa 3amOpO3HTn npOTARom 24 rOdnH, Yka3aHO Ha Ta6JnUcI 3 nacnopTHMm daHMM.
3amopohybaHH CBHX npoDyHTiB:
- po3mictiTb npodykTu Ha pewiTu, kkuo BOHa e (pnc. 1), a6o 6e3nocepEnbBO BnKnnuacTHBiDJIeHnna (pnc.2);
po3mictiB npdykTN B cepdiH niacTHHi BiDJIeHHN (水 水 水) TaHIM CHHOM, 06 BOHN He TOpKaIINc BHe 3amOpOJHeHX npodykTIB. BiCTaHb mIK ypaHOBkAMMaE cTaHOBHTn PpN6JIu3Ho 20 MM (pnc.1 i 2).

Pnc.1

Pnc.2
PO3MOPOXHEHH
MOPO3ильhoeBO BIDДIJIENHЯ
Пдсчени снвьуватime Ha Te,
ио Вдлileння пацю.;
Вдлileння, NOBTOPOHaTCHITb KHONKy
и утрмуне ii npOTaROM pRn6bl3HO
ODhie cekyni.;
WdIINHry, BNTaRHTb KOHTeHep.

Iio6 biiinHnra Hyl rpaucib npaicboaH aaleHHm cHOM,peekohaiTeC,io:
-XOLODnIbHe BiDJIeHnB BBIMKHeHO;
- TEmnepaTpy BCTaHOBJIeHO BДIaIa3OHi BiД +2°C Do +6°C;
-KoHTeHepyBiiDJIeHHN‘HylbIpaDyciB'BCTaBHeHOHaJeKHHM YINHOM;
-Функii «РeЖИМ OчИКУВАНь», «ОхолДжЕнHA BИМКHEHo» Ta «Пay3a» (3a HЯВHOCtI) BIMKHeHO.Якsoц Te TAK,ВNTЯгптб i3 BiДиЕнHA BcI npOdyHTN.
PnmuItka.
-Якwo nicra BBIMKHeHn BiДiJIeHnCmB0N He aKTbYcBcR,pepeHOaTecr,ko KOnTeHep BCTabLeHo HaneJxHm YInOM.Якwo npO6IeMa He 3HnKHe,3BepHITbcB LcHTp TexHiHoro 6CbLyROyBaHHK KliEHTIB.
-Якwo BiДлileHЯ BBIMKHeHO,а KOHTeIHerp BiIDkpntO,CmBOLHa NaHeJI KepyBaHHa MOKe ABTomatuHO BIMKHyTncr.BiH 3HOBy aKTbByetbcra,山OH HO BN BCTabITE KOHTeHep.
- He3aJIeJHNO BiI CTaHy BiIJIeHHe MOKe LyHaTn Tnxn IyM. TaKe RaBIIe BBAJaEbCer HOpMaJIbHIM.
-Якwo BiДiIeHЯ He BnKOpNCTOByBaTImeTbCra, TempepaTy pBcepeHni HbOro 3aJIeHaTmE BiD 3araIbHOoi TempepaTyPi XoIoDInIbHOrO BiDIIeHHe. Y TaKOMy BnPaIky Tyt peKOMeHDoBaHo 36epiratnФpykTu N OBOUi Ha KStaIYrId, RaIyK, a6nyK, a6pNIKOC, MOPKBu, WINHaTy, caIaTy ToIO.
Baxlnbo! RaKIO B yBIMKHeHOMy BiDJIeHHI 36epiraIOTBcI npOdyKTN 3 BnCOHM BMICTOM BOIN, Ha NOLIux MOKe yTBOPHOBatNCaH KOHDeHCAT. Y TAKOMY BnnaKn ky Fyhknio nOTpiHo TmuaCObOB BIMKHyTN.
Ykuo y BiDijIeHnR «HyIb IpraducB» NOTpi6HO NOKlaCTN npOdyKTn a60 KOHTeHepn HeBeJIHKOrpo3mipy, 6yIbTe ObepeKHMn, OCKIbKN BOHN MOxUytB npOBaIITncra B OTBip MIX NOLIeTO Ta3aHbOIO CTINHOO XOLOdInbHorO BiDijIeHH.
BilnyeHnB ViDIIeHnH «HyIb rpaIyciB».
BnKoHaTe hBaDeHi HnJxue di.
- 506 cnpoctntn npoce BCnlyueHHB iDilneHH, peKOMeHIOBaHO 3BiIbHHTN (a6o HABITb 3HrTNIHxHII pO3TaUOBAHi Ha DBepzraTx.
-BIMKHiTb BiDiJIeHHe. - BintarHitb BiDileneHHra, TPOXn iDnHbwn Ioro BVropy.
-BitrrHtIb pIaCTnIOBOy nOIIuIcUo,po3TaIoOBaHy NiD BiIDJIeHNHaM.
PpimrHa. BepxHIO pOJIuTO Ta 6iHi OOnOpn BInyUHTN HeMOJINBO.
IIO6 3HOBy BnKOpNCTOByBaTu BiDIneHHeNHa «HylrpaDycB», cNoaTHy oBepeJHo BCTaBTe 6iNy PnactIKOBy POInuO, Notim NOBepHiTb Ha MicCe KOHTeHep, i TIlbKn NiCJIra CbOro BMnKaIte fYHKciIO.
Ioo6 36iIbIuHTn Micce IJy 36epirAHn npOdyKTIB yXoIoIINbHOMy BiIJIeHNHi Ta 3MeHHTn pBeHb CNoIXBaHHN eJeKTPoeHeprII, peKOMeHIOBaHO BIMKHyTn BiIJIeHNH N HylrpaDycB" Ta BUNyHTn NOrO.
Yac bIy cacy ouHuaTe BHytpiHi CTiHKn BiDilneHHa Ta IHO KOMnoHEHTB, BHKOPNCOTByOuN m'ky TkaHHy Ta TeIy BoY 3 po3HHeHM y Hi HeItpaJIbHM MIOOHm 3aco6om. PAm'raTae, 6iLy pIaCTnKOBy POIInIO, PO3TaIoBaHny iD KOHTeHepOM, He MOxHa NobHicTIO 3aHypioBaTN y BoY. He 3acTOcobyte abpa3INBHI MnIOUti 3aco6n.
Iepw Hix ouhiatn BiDilienHH (3oKpema Noro 3OBHsiHIO qactHy), Heo6xidHO BnlyuHTN KOHTHePep, o6 BiE'EDHaTHn BiDilienHH Bi DHepeela eEnktponocTauHH.
LCHTP TEXHICHORO OBCJYROBYAHN KJIIEHTIB
Iepw HIX 3BepTaTnC B LcHtp TexHiyHoro 06cLyroByBaHHa, BHKoHaTe HaBeDehi HnKHe iI.
BIMKHiT b I BBIMKHiTb npnla, 0o6 nepeBipNTu, n He 3HnKla npo6Iema cama no co6i. JaKIO zuOro He CTaNoCRA, BIMKHiTb npnla i NOBTopiTb npoUepy upe3 rOHNy. RaKIO nicLa BIKHOAHHH dI, ONiCAHNY noci6Hnky 3 HenoLAdOK, a TAOK NicLA nepe3anycUp npnady BIn Yce oND npaOpE HeHaJIeKHM uINHom, 3BepHIbca B LcHTp TEXHNUHOrO 0bCnyROvBaHNr KJIeHTIB, i UHTKO cΦopMylIoTe CBOIO npo6IeMy. POBIDOMTe npaCiBnHKNu HabeDeHy HnXue IHΦopMaioH.
Tin HecnpabHocti.
- MoideJIb npuIaNy.
Tin i cepiHn Homep npuJaTy (Bka3aHo Ha Ta6nUzI 3 nacnpOTHMn DaHmN).
CepbicnHOMep (3a HaBbOcTi).CeHOMep yka3aHO nicIa CNoBa SERVICE(O6CLyTOBYAHHH)Ha Ta6IuCi 3NaocnpTHMn DaHmN,kyoP03TaWOBaHO BCEpeHi npICtPOIO.
SERVICE
0000 000 0000

PnmiHa.
Ira rapahti He po3noBcOJHyeTbcHa nocnyry nepebiuBaHHA Dbepzr, hauo ce 3iinchOeTbcB U cHTpi TexHicnoro o6cnyroByBaHHa.
EAC


| DEUTSCH | Gebrauchsanweisung | Seite 4 |
| FRANÇAIS | Mode d'emploi | Page 10 |
| ITALIANO | Istruzioni per l'uso | Pagina 16 |
| NEDERLANDS | Gebruiksaanwijzing | Pagina 22 |
PRIMO UTILIZZO
A. Pуka Tepmoctata
B. Bümukkaq OcbitneHHA
D.Довіда сцюд Керувань ТерmoctаTom
E. Klaçunha J lamna

POBOTA 3 XOJIoДиЛьнIM BIDДΙJIЕHЯМ
Lc aTOMaTHHnXoONdbHnK a6o XoONdbHnK i3
-3ipKOBIM BIDJIeHHaM Hn3bKOI Tempepatypn.
PozmopoxybaHHXoNoIbHOrO BiDIneHHB iD6yBaETbCnOBHcTIO ABTomTuHo.
XoIounIbHnK npaioe B dianaoHt tempepatyp HABKOINuHbOro cepedobuua Bi+16 ^ C do +32^
Pepwe ybIMKHeHHXoIoDbHnKa
BCTaTBe BnIky Bpo3eKy eJekToKuBJIeHHa.
Pyuka TepmoCTaTb BUKOPNCTOByETbCdIa IpernyIOBaHHaTeMnpeaTpynB XOLOJNbHOMy BiDIneHHi Ta NiITpMaHHaYMOB YcepeDHi BiDIneHHaH3bKoI TeMnpaTpyn.
PerynlboHHa Tempeatypu
Lio6 BiDperyIIOBAtn Tempeatpy B BiDilneHn, yCTaHOIBiTb pyuKy ynpablinHn TepMOCTaTOM:
- Na HnKchi ZnΦpn 1-2/MIH dIy HAIMEHU HN3bKOI BHyTpIiShhBoI TeMtnepaTpyu;
- Na 3-4/CEPДЯ CEPEДнБОЛ TempepaTyPn;
Ha 5-7/MAKcIra HAHHIXKyoI Tempepatypn.
Длг ТерmoctаТВсановлознayehн He npaцioE,OCBitneHH HeMae.


PpimItka:
TempepaTpa HabkOJIuHbOro cepeOBoUa, cAToTa BiDkPnTT TaBepcT i po3TaUyBaHHn npunaMy MoKyTB BnIbATn Ha TempepaTpy y DBox BiDinHeHHx.
Lc cnid 6patn do ybarn niic uac yctaHOBJIeHH pyuKTePMoCTata.
BukopncTahnaXoIoDnIbHorO BiDineHHA
PoztoyntpoynknoaHa 3o6paenHi
A.Пию�овашистрави
B.M'aco,p6a
C. ΦργκτηνΟβούι
D.Плайшки
E. 原
F. Maclo, cnp i molouhni npodyktn
Ppimitka:
- Ppomixok MIX KONUAM Ta 3aHbOi CTINKO XoJOnMbHOrO BiDIIeHHN NOBHeH 6yTu He3aNoBHeHm, 506 He nepeWkoJxatn CnpKylraii Nobitpr.
- P03taWObyIte npOdyKTI TaKIM YHOM, IIO6 BOHN He TopKaJIncs3aDhbOi CTIHKN XONODINbHOro BiDJIineHHJ.
- Piziny TpimaiTe B 3aKpntnx EMHOCTX.
Habitb y 3Bnuaihynx yMOBax 36epirahnno OBOUIB 3 BeINKIM BMICTOM BOIN (HaNPNIKAIa, CaIaT) MOKe BNIKLIKAITy TBOpEHNHA KOHNIX KOHTeHepax Ta/abocepeHix noJIuqx;Ce He BNIINBaHa npABINbHcTBpo6tN npInaY.ODHaK i3 MeTOIO 3ano6irAHnY TBOpEHHHO KOHNDEHCATy peKOMEHdyETcb 3aORPTaTI OBOUi.

POBOTA 3 BIVIDJIIEHHYAM HN3bKOI TEMNEPATYNI
BidinHHn3bKOI TemnepaTpyn (3a HaaBHOcti) e
ПОТДИ ШОДОЕHEРTO3БЕPEXECHЯ
- YnkaTe BnInBy BnCOkNx TempeaTyp i npAmoro COHnyHOro CBiTna Ha npInlaT a He po3aObyTe npInad y 6e3nocepEnHi 6nI3bKocti Do HarpIbaIbHnx npInlaDIB a60 BapInbHnx NOBepXohb, OckIbKn BOH NiIDBuNsiUyToB eHeproCNoKuBAHHa.
He nepekpuBaIte BeHTnlaucHi Ta dpeHaxHi OTBOp npuaNy. - Κιδό ροπΜΟροδιην προύγκτη, πόκλαίβής ἀχ ὅχοπούπιλυνήκ, τακήμ ΦινΗΟ ΜοῦταΚΟΒΟ BИΚΟΡΙΝΤΟΥθουύ ένηλεύκυ Εντέρηματη Στάρεροχενην Προύγκτιν.
MakcimmaIbHO 3Hn3Be TaCTOy TpINBaNlCtB BiIDKpnTTa DBepaT.
He cTabeXoJIoIbIbeBidiJIeHnraIpaIcCTpaBn.
He 3aIIuIaTe BiKpntmM DBePcTa BIdiJeHHH N3bKoI TempeAtypn.
ПОСIBИК 3 УCYHEнгЯ HECПРABHOCTeI
1.Пилад He npaioe.
BiiKluoyehe eJeKtpoXnBHeHHa?
- Μιτέπειβν πριπάγν ἀλεχκημ ΚυHOM BCTaBλημήν y ροετκύ?
-「TolOBHnI nepemukau XuBJIeHHa YbIMKHeHH?
Bn6nTo 3an06jHnK?
- Дя Термocтata BctaHOBJeHO 3HaueHHЯ?
2. Temnepayps y BiDineHHx He Docntb Hn3bKa.
-Деверцета зakртуніті habек hum уном?
- Поблизу пишиаду в джерени тени?
-Чи павильно наалштовано Термocтат?
- Pewitkn zinpkylaqii nobitpr 3a6lokoBaHi?
3. Temnepaotypa B xOJIOunbHOMy BiDJIeHHi 3aHaITo Hn3bKa.
-Чи павильно наалштовано Термocтат?
4. Ha dhi xoJIoDunbHoro BiDiJIeHNHa 36Ipaetbca B0a.
3a6nbca OTbip nla 3nubhaHn TaioBOn?
5.BhTypiHcOcbItIeHHnHe npaioe.
BukohaTe nepeBipkY Ha haBhict npo6JIemn 1, nicJy OTO BUKOHaTe HactynHii:
Bid'EnHaIe npnlaD BiD xkepeJa XNBJIeHHa.
3aMihTb lamnOuyaHaIOniHOO 3 TaKoIO cAmOIO nOtJxHicTIO a6o MaKcImaJIbHOIO nOtJxHicTIO y BaTaX, yKa3aHOIO nopRd i3 TpIMaUeH lamnOuyKn.
- ⅢO6 3NЯтNi lamNoчky, BnKpytIb II npOTn HapPmKy rOДиHнКOBоI CTpIKNi, YK NOKa3aHo Ha MaJIOnHky.

6. Naümiphe NauapybaHHa ly BIDiineHH HiN3bKoI TemnepaTpyn.
-Деверцаявidiленинниьковітемпатурізачинeni Hanexжим уном?
Ppimitka:
- Пишилд NOВИнен BИДавати рi3hi 3BykN (6yIbKOTiHЯ ташпіня чepe3 рo3ширЕня KOHTypy xonoioareHtA ... )nid acs 3BvuaHoi po6Oti.
LCEHTP\PICJIAPJPOJAXHORO OBCJYROBYAHNHA
Iepu hix 3BepTaTncsdo LcHtpy nicnnpoDaXhoro o6cLyroByBaHHa, BUKOHaTe Taki dii:
- Cnpo6yIte camoctiHNO BpiiunTu npO6nemy, 1. DTpIMyUOCHb IHCTpyKuY y noci6HNY 3 ycUHeHHa HecnPabHOctEe.
- BIMKHiTb npnla, a notim 3HOby BBIMKHiTb Ioro, ta nepeBipTe, u He 3Nkna npo6neMa. KaIoo cbOro He cTaLoCBA, BIMKHiTb npnla d i NobTOPiTb npocdupy uepe3 roanyu.
3.JaIO HABITb NcIe ZnI npO6JIeMa He 3HNKla,3BepHItcna OeHTpy nICJnPpOdaXHOrO 6cbNyroByBaHHa
Notpi6HoHaatauTakyiHΦopMaζio:
ONIC HecnpabHocti;
MoDJIb pnpIaIy;
cepBICHM HOMep (HOMep, yka3aHm nicJcNoBa «SERVICE» (OBcIyTOBYBAHHa) Ha ta6JInuCi 3 NaCnpOTHMn DaHMM, po3aWoBaii 3 6Oky KOHTeHepa dIy fpyKtib i oOvib);
YCTAHOBJIENHЯ
- UctahOBJIouTe npnuaJHa 6e3neuHi BIDCTaHI BID JxpeJen Tenna (miH. BIDCTaHb: 30 cm BiD ByrInbHnx qN npapaOiHOBnX nee, 3 cm BiD neeey Ta eJeKtpnUHnx BapInlbHnx NOBepxOHb).
- UctahOBJIouTe npnilad BCyXOMy npIMiueHHI 3 HaneJHO BOHTINJIaICIO.
He nepekepnbaiTe BeHTnlauiHi OTbOp npnilady.
Ouictb npuna i3cepeiHn (IINB. BiinobiHipo3di).
BctaHOBiTb npuJaDja, 1o noCTaHaETbcra B KOMnJIeKTI.
PikKlueyHn do eNeKtpomepeksi
- EneKtpuHi 3'eHAnHHaNotpi6Ho BCTaHOBnOBaTu BiINOBiHDo Mo MicueBHX HOpM.
-
Hanpyra Ta cnoxmbaHH eJeKtpoeHeprii 3a3NaueHi Ha Ta6nUci 3 nacnpTHMn daHmN 3 60ky KOHTeHepa dJa OBOcIB i pykTiB.
-
NOBHa N0tOBa aDpeCa;
HOMep TelefoHy KOD KpaiHu/perioHy.
SERVICE
0000 000 00000

Pnmuitka:
HaprMOK BiKpBbAHnI DBePcT MoKe BiDpi3HnTc. Ipaantir He NowpiOeTbcra Ha zu iio, kuo ii BkOnHyToB npaizBnKn CiENTpy nicnnpodaxkhoro 06cnyrobybAHn.
BiiNobiHNO do HopMaTbBnHex BmOR npuiaad Ma6 6ytu 3a3emJeHm. Bpuo6nK He Hece XoJHOi BiNObiAdIbHoCTI 3a TpaBMn IIOeJ a60 TBapin I 3a noWkoDxKeHHa MaHa b pe3yNbTaTi HeNoTpIMaHHBaUe3a3HaueHMe Npoocyp Ta irHopyBaHHa HaraNyBaHb.
- RaKsqo po3eTka Ta BnIka He BiINIOBIAIOb OndHe ODHOMy, DopyuTiB KbaiiΦIKOBaHOMy eNeKTpNkY 3amInTu po3ETky.
He BnKOpNCToBvIe nOIOBxUBaIbHi Ka6eni a6o aanTepu
BID'EDHaHH npHnaDy
- Ppunla3aBxJnMa6 8yTuIOCTyNHm DЯ BVMKHeHH. Lc MoXHa 3po6bTu, BVITARHyBWH BUNKy PpunlaNy 3po3eTKn a60 cKOpNCtABuHcB bDOJONIOCHNM BVMKauChem JxNBLeHHN, yCTaHOBJIeHMM NOBePx PO3eTKn.
ELEKTPUHNI PO3'EM TIlbKNДЯ BEIINKO6PHTAHII IPIAHdII
Ybara! Lcien npnad Heo6xidno 3a3emnntn.
3amiHa 3an06ixHnka
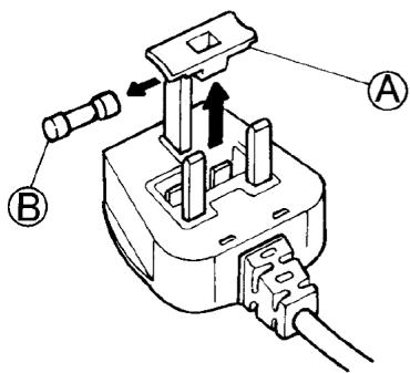
Kkyo cnloBn ka6eIb npnilady ochaueho BVIOKO 3 3anobixhNkom Tny BS 1363A Ha 13 ampep, zo6 3amHNTn 3anobixhNk y BnUci Takoro Tny, BVKOpNCTOByte 3anobixhNk i3 MapkyBaHHaM ASTA, cXBaJIeHNI dJa BVKnOpNCtAHnHa i3 anobixhNkamn Tny BS 1362. BVkoHaJTe HabeDeHi NHXue dii:
1.3HIMITb KpUkCy 3aNo6iXHnKa (A) Ta BmIMtB 3aNo6iXHnK (B).
2. BCTaBTe HOBn 3anO6iXHnK Ha 13 amNep y KpNiShky 3anO6iXHnKa.
3.BcTaBte 6oNBdi TeTani y BnKy.
BaxJnBO!
Picra 3amHn 3anobixHHka KpuuKy 3anobixHHka cnid nocabTn Ha micse. Kaio KpuHka 3anobixHHka 3arybuiacr, 3a6opohertbcra KopucTyBaTncsIHTeNceIbHOIO BUNKOIO, DOKNI He 6yde 3diCHeNo npaBunbHy 3amHy.
Празвиьну 3амИну можна виз haчNTи 3a КольбороюВстаькю a60 КольборOBIM TИСHEнгЯн Ha CIOBax B OCHOBI WTeNTceNBoi BWKN.
3anachi Kpnwnn nla 3anobixhknB MoxHa npud6aTn B Miccebomy Mara3HNI eJekTpOToBapIB.
Tinbkn Pecny6nikIpnahdia
IhOpmaia, HadaHa dna KoprucTyBaiv y BeInko6pTuHii, Nauchtiie 6yde akTualbHO. OndaK taKoM Joe BnKOpNCtOByBaTnc TpeiT NTI WTeNceBHO BWIKn Ta PO3eTK: 2-KoHTaKTHa 3 60KOBUM 3a3emKnOBAJIbHM KOHTAKTOM.
Po3etka / utencelbHa BnIka (iHopmaiz iincha dna o6ox kpaH)
Kyto wTeNcBHa BnKa npIaNy He BiNIOBiae Tny po3ETKn, 3BepHITbcra B LcHtp nCJnPdoAxHoro 06ClyroBvBaHHa, 06o OTpMaTn POnaJIbSi IhCTpyKci. He HAmaraiTeC aMocTiHo 3aMiHInu WTeNcBHy BnKy. Lio onepaicMo A BVKOHyBatn KBaJIiΦiKOBaHni faxiBeCb, DOTpIMyOuNCb pnp CbOMy IHCTpyKci BnPo6HnKa Ta YHHnx CTahdaptTB TexHki 6e3neKn.

OHIM CUNATTAMACbl
A.ToHa3bITkbIi6eJIimi
- My3daty taptnacbi
- Cēpeηρ / Čepe aɪmaβi
- TepMoCTaTTbI bAcKapy TeTiri/uaMbI
- EcihHayajapbl
5.БeTeNke yCtAfbIWBbl - AnbHbAnbI 6eTeJIke yCTaTkbIi
- TexHnKaJIbIK nacnOpT (My3aTy TapTNaCbIHbIH XaHbIHDa opHaIaNcKaH)
- My3 keceriHayacbi
- Temehri temnepaTypaIb6anik eciri
B. Erep 6onca, TEmehri temnepatypa 6eniri

Aca cybk aMak

CaJIbIHdbfI TeMeH aIMaK
Eckeptne: Tekwelep Meh Kepek-KapaKTap caHbI ynire 6aIIaNbICTbI e3repYi MymKiH. BapIbIK cepenep, ecik HayanapbI MeH Tekwelepdi anblin Tactayra bonaBl.
MaHb3aBt: ToHa3bITkbIHTbIH KepeK-XkapakTapbIH bIDbc KyfbIHTa KymaHb3.




BACKAPY 3JIEMHTTEPI
A. Tepmoctat tetiri
B. WWAM KOKBILIWI
D. TepMOCTaTTbI 6ackapy aHbIKTaMaJIbIfbI
E. Šām āmnačbi

TOHA3bITKbIISH BÖLIMIH PÄДАЛAHY KÖJIbI
Bny Kpyblfbl - ABTomaTTbTOHa3blKbHHeMece
KJyIb3bl TeMeHri TeMnepaTypa 6einiMi.
ToHa3bITKbIb 6eJIIMiH epity ToIbIK aBTOMaTTbl Typde opbIHdanaBl.
ToHa3bITKbIu +16^ XeHe +32^ apacbHdaBfKop7aFaH opta TemnepaTypanapbHda KMyMbICteyre aphanfaH.
ToHa3bItkbiUtbI 6ipihpi pet icke kocy
AshaHbI po3eTKaFa eHri3iHj3.
Tepmoctat Tetiri ToHa3bItkbl 6eIiMHH
TemnepaTypacbH peTey yuH naiJaIaNbIaNbIbI, ON
TeMeHi TemnepaTypa 6eIiMHderi TemnpaTypaHbI
caKaTan TypabI.
TemnepaTpaHbI petTey
Bemimderi tempepatypahtpeTey yuH, TepmoctatbI backapy Tetirin 6paHb3:
- caHapIbI TeMeHJeTy yuH 1-2/MnH MbIHay yuH: EH TOMEHII CAJIkbiH iuKi Tempepatypanap;
- OPTAUSA TemnepaTypa yuH 3-4/OPT DeHreInHe;
- EH CAJKbIH TemnepaTypa yuH 5-7/MAKC.


Thermostat set toTepmoctatMbHaFah opHaTbIJaH: eI6ip apeket opbIaImaIdbI, eI6ip IaM KaH6aIdbI.
Eckenptne:
The ambient temperatureKopshafah opTa Tempepatypacbl, ecikTih aushy xinirj xhe KpybIhBhlOpHanackan jxepi ocb iekemih iuiHderi Tempepatpara ecep etyi MymkiH.
TepMOCTat tetiriH opHaTkaH ke3eOcbI eki qakTopbI eckepiH3.
ToHa3bITKbIi 6eJIIMIn naiDanaHny Kojbl
TamaKtblcpeTTKePceTIReHdeOpHaJnAcTbIpbbl3
A. Pickeh TaFam
B. BaJIbIK, et
C. Xemic XaHe KekHicTeP
D.Бетелкелер
E. Xymblyptka
F. CapbI MaI, cbIp KHe cyT eHimdepi
Eckertne:
- Tekuenep MeH ToHa3bITKbIi 6eJIiriHin apTkB1 Ka6bIpFaCbIHbH apacbIHdaFbI 6oc opbH aya aHaNbIMbHa J0l 6epy yuHIn Kepeprici 6onybI Kepek.
TamaKtbl OcbI 6eJIIMHiH apTKbl Ka6bIpFacbHa TaKaI KOnMaHbI3.
CytbIKtBtAPdbIka6bIK KOHTeHepJIepde caKTaHbI3.
Tinti KaIbIITbJ XaFdaIaIapDa KypamblHa cybl KeN KeKHeHcTeepdi caKay (MbIcaJIbI:: canaT) TapTnIaIapDa JxHE/Hemec OpTaHbI TeKWelepe De cy KxHaIyblHa ce6en 60ana; 6yN KpyblfBihD npbc Kymbic icTeyiHe ocep etneDi. DereHMeH, cy KxHaIyblH anDbH any yuHKeKHeHcTeepdi opan KOIObl YCbIHbMbI3.

TOMEHI TEMNEPATYPALbI BOLIMI IaIahy KOJIbI
TemeHri tempeatypalbl 6eJIM,erep 6oJca -
XyIbI3wJIbI6eJIIM.
KaTkaH TaFamDapra apHaIraH DpybIC caKTay yaKbITTapbi ep6ip TaFAM eHiMiH opaMbIHda KepcetJnei.
Notice-Facile