BCB 7030 E C AA - šaldytuvas šaldiklis HOTPOINT - Nemokama naudojimo instrukcija
Raskite įrenginio instrukciją nemokamai BCB 7030 E C AA HOTPOINT PDF formatu.
Atsisiųskite instrukciją savo šaldytuvas šaldiklis PDF formatu nemokamai! Raskite savo instrukciją BCB 7030 E C AA - HOTPOINT ir vėl perimkite savo elektroninį įrenginį. Šiame puslapyje skelbiami visi dokumentai, reikalingi jūsų įrenginio naudojimui. BCB 7030 E C AA prekės ženklo HOTPOINT.
NAUDOJIMO INSTRUKCIJA BCB 7030 E C AA HOTPOINT
Prijunkite prietaisa prie elektros tinklo.
Elektroniniuose modeliuose garso signalo gali nebuti, tai reiska, kad buvo aktyvantas temperaturos signalas: paspauskite garso signalo ijsungimo mygtuka. Jei yra, jstatykite antibakterinj bekvapj filtraj ventilatoriui, kaip parodyta ant filtro pakuotas.
Pastaba: Junge prietaisa, turite palaukti 4-5 valandas, kol bus pasiekta tinkama jprastai pripildyto prietaiso laikymo temperatura.
PRIETAISOPRIEŽIURA IR VALYMAS
Nuolat valykite prietaisa šluoste ir šilto vandens bei neutraliu valymo priemoniu misiniu, o ypač - šaldytuvo vidu. Nenaudokite abrazyviniu valymo medziagu. Kad užtikrintuměte nuolatini ir tinkama atitirpusio vandens nutekëjima, naudodami numatyas priemones (žr. pav.) reguliariai valykite anga, esančia galinëje šaldytuvo sienelëje, šalia vaisiu ir daržoviu stalcius.
Pries vykdydami techninés priežiūros arba valymo darbus, prietaśa atjunkite nuo elektrós tinklo arba atjunkite elektrós tiekimä.

ELEKTROS ARBA LED LEMPUTÉS KEITIMAS
(priklauso nuo modelio)
Pries keisdami elektrros lempute, visuomet atjunkite prietaisq nuo maitinimo tinklo. Tuomet sekite instrukcjjas, skirtas jusy prietaise naudojamai lemputei.
Pakeiskite lempute kita, turinca tokias pat savybes, kuria galite jsigyti iš Technines priežiūros tarnybos arba igaliotu pardavéju.
1 lemmutés tipas
Noredami isimi lempute, sukite ja pries laikrodzio rodykle, kaip parodyta paveikslélyje. Pries vél jjungdami prietaisa, palaukite 5 minutes.

- jprasta lemupte (maks. 25 W)

Lemputè
arba
- LED lemupte (tokiu paciu savybiu) galima jsigyti tik iš Techninës prieziūros tarnybos

LED lemputé
2 lemmutêtes tipas
Jeigu prietaise jmontuotos LED lemputés, kaip pavaizduota paveiksléyje apacioje, prireikus jas pakeisti, susisiekite su Techninés prieziuros tarnya.
LED lemputés naudojamos ilgiau nei jprastos lemputés, jos pagerina matomuma viduje ir nekenkia aplinkai.



NENAUDIOJANT PRIETAISO
Atjunkite prietaisq nuo maitinimo tinklo, iustinkite, atsildykite (jei reikia) ir isvalykite. Laikykite duris siek tiek praviras, kad j saldytuvo skyrius patektu oro. Taip isvengsite pelésio ir blogo kvapo.
NUTRUKUS ELEKTROS TIEKIMUI
Duris laiky kite uzdarytas, kad maistas iisktu saltas kiek jmanoma ilgiau. Pakartotinai nuzalsdykite maisto, kuris is dalies atsilo. Jeigu elektros tiekimo nera ilgesnj laika, gali jsijungti maitinimo isjungimo signalas (gaminiuose su elektronika).
ŠALDYTUVO SKYRIUS
Saldtuvo skyrius skirtas šviežiam maistui ir gérimams lakyti.
Saldytuvo skyrius visiskai atsyla automatiskai.
Nuolat pasirodontys vandens lašai vidinéje šaldtuvo skyriaus galinës sienos pusëje yra automatinio atitirpinimo požymis. Atitirpës vanduo nukreipiamas j anga, paskui teka j talpa, iš kurios išgarujoa.
Atsizvelgiant j modelj, saldytuve gali buti specialus „nulio laipsniu" skyrius, puikiai tinkantis laikytis sviezi mesa ir zuvi.
Ispéjimas: neplaukite šaldtuvo priedu indaplovëje.
Pastaba: aplinkos temperatura, dažnas duru atidarinéjimas ir prietaiso padétis gali tureti neigamos itakos šiu dviejú skyriu vidinei temperaturai. Temperatura reguliokite atsižvelgdami j šiuos faktorius.
Pastaba: esant labai drégnoms ir siltoms salygoms, šaldytuvo skyriuose (ypacnt stikliniŋ lentynu) gali susidaryti kondensacija. Tokiu atveju rekomenduojama uždaryti talpyklas su skysciais (pvz., perpildytus puodus), suvnioti maista, turintj didelj vandens kiekj (pvz., daržoves) ir jjungti ventilatoriú, jeijis yra.
Vaisiu ir daržoviu stalcias iśemimas (prikauso nuo modelio)
Patraukite stalcij i isore, kiekjis leidziasi, pakelkite ir isimkite.
Kad būtú lengviau išimi vaisi ir daržović stalci, gali prireikti ištušinti (ir galbūt išimi) dvi apatiniāsias duru lentynéles ir tik tuomet išimi stalci.
Ventiliatorius ir antibakterinis bekvapis filtras (priklauso nuo modelio)
Ventiliatorius užtikrina tolygu temperaturu paskirstyma skyriu viduje, taigi, ir geresnj maisto issauogimai bei perteklines dregmés sumazinima. Neužstatykite ventilavimo zonos. Ventiliatoriugalima jungti ir isjungti rankiniu budu (žr. Trumpaja instrukcija); jjungtas, kai reikia,jis veikia automatiskai.
ŠALDYMO KAMERA
Modelis su atskira šaldymo kamera
Šaldymo kamera x x skirta laiktyi šaldytmaist (ant pakuotés nurodynam laikotarpiui) ir šaldytisviezi maista. Šviezio maisto kiekis, kuris gali buti užsaldytas per 24 valandas yra nurodystechniniu duomenu lenteleje. Sudekite šviezi maistj šaldymo kamera (žr. Trumpaja instrukcija),palikdami pakankamai vietos aplink maisto pakuotes, kad oras galétuj laisvai cirkulioti. Patariamapakartotinai nužšaldytmi maisto, kuris iš dalies buvo atsildytas. Svarbu suvynioti maista taip, kad būtusvengta vandens, dręgmès ar kondensacijos jejimo.
Ledo kubeliu darymas
Pripildy kite 2/3 leduký déklo (jei yra) vandeniu ir jdekite atgal i šaldymo kamera. Jokiu budu nenaudokite aštriu ar smaili daiktu, kad isimtuméte ledukus.
Stalciu isemimas (prikauso nuo modelio)
Patraukite stalcius j isore, kiek jie leidziasi, pakelkite ir iismkite. Jei norite tureti daugiau vietos, saldymo kamera galite naudoti be staliciu.
Padje maistā ant grotili ar j lentynas, jsitikinkite, kad tinkamai uždaréte duris.
Šaldymo kameroje ^* taip pat galite šalyti švieži maistaj. Šviežio maisto kiekis, kuris gali būti užsaldytas per 24 valandas yra nurodytas techniniu duomenu lenteleje.
Kaip saldyti sviezi maistq:
- Sudekite maista ant grotiliu, jei yra (1 pav.), arba tiesiai ant kameros dugno (2 pav.);
- Sudekite maistaj kameros *** viduri taip, kad neliestu jau užsaldyto maisto, išlaikydami maždaug 20 mm atstum (1 ir 2 pav.).

1 pav.

KAIP ATITIRPDYTI ŠALDIKLIO KAMERA - 2 pav.
(priklauso nuo modelio)
Modeliucose be saldymo kameru nereikia atlikti jokiu atitirpdymo proceduru.
Kitu tipu modeliuose susidarres ledas yra normalus reiskinys.
Ledo kiekis ir susidarymo greitis prikauso nuo aplinkos salygugir durug darinjimo daznumo.
Patariama nustatyti šaltesne temperatura arba, jei yra, jjungti greito šaldymo funkcjia (žr. Trumpaja instrukcjja) keturioms valandoms pries išimant maista iš šaldymo kameros, kad būtu prailguntas maisto issaugojimo laikas atitirpdant šaldtyuva. Noredami atitirpdyti, išjunkite prietaisa ir isimkite stalcius. Užsalydtma maista padékite j šaltayiota. Palikite direles atidarytas, kad iširptu ledas. Kad išvengtumete vandens tekëjimo atitirpdmoy metu, patariama ant šaldymo kameros dugno padeti sugierančia šluoste ir nuolat ja išgrežti.
Isvalykite ir kruopšciai išdžiovinkite šaldymo kameros vidu.
Vél junkite prietaïsä ir sudéti maista.
,STOP FROST“ SISTEMA (prikauso nuo modelio)
"STOP FROST" SISTEMA (prikauso nuo modelio) palengvina šaldymo kameros atitirpdymo procedūr. "STOP FROST" priedas (1 pav.) skirts surinkti šaldymo kamoje susidariusj leda; prieda lengva isimi tir ir išvaltyi, taigi, sutrumpëja laikas, reikalingas atitirpdtyi šaldymo kamera.
Noredami nuimti leda nuo STOP FROST priedo, vadovakitèsŽemiau pavaizduota valymo procedura.
STOP FROST“ Priedo VALYMAS
- Atidarykite šaldymo kameros direules ir isimkite viršutinjj stalciu (2 pav.).
- Atlaisvinkite (3 pav.) ir išimkite STOP FROST prieda (4 pav.); būkite atsargus ir neišmeskite jo ant Žemiau esančių stikliniu lentynéliu. Pastaba: jei priedas užstrigo ar jj sunku išimi, neišiminékite jo, o atitirpdykite visă šaldymo kamera.
-Uzdarykite szaldymokameros dureles. - Nuimkite leda nuo priedo, plaudami jj po tekanciu (bet ne karstu) vandeniu (5 pav.).
-Leiskite padeklui išdziuti, o plastikines dalis nušluostykite minksta šluoste.
-Véljdékite prieda dedami galine dalj, kaip parodyta 7-A pav.,tada užtvirtinkite jj viršuje esanciais segtukais (7-B pav.). - Věl jstatykite viršutinjj stalčiu ir uždarykite šaldymo kameros duris.
Galima išvaltyi STOP FROST prieda viena, tam nereikia visiskai atsaldyti šaldymo kameros. Nuolat valant STOP FROST prieda, reikës reciau atitirpdyti visa šaldymo kamera.
Pastaba: gaminio specifikacijos, jskaitant talpa ir energijos suvartojima, apskaičiuotos be STOP FROST priedo.







,NULIO LAIPSNIU“ SKYRIUS (priklauso nuo modelio)
"Nulio laipsniu" skyriije specialiai palaikoma zema temperatura ir atitinkama dregmé, kad maitas išikiţu šviežias ilgiau (pavyzdžiui, mesa, Žuvis, vaisiai ir ziemos daržovès).
Drègmès kontrolès technologija kartu su „Activ0°“ užtikrina geriausia šviežio maisto išaikyma, kai maisto produktai néra sandariai supakuoti.

Skyriaus jjungimas ir isjungimas
Kai skyrius jjungtas, vidine jo temperatura yra maždaug 0^ .
Noredami jjungti skyriu, spauskite mygtuka, parodyta paveiksléyje, ilgiau nei viena sekunde, kol užsides simbolis.
Śvieciants simbolis reiskia, kad skyrius veikia. Norédami iśjungti skyriu, dar karta paspauskite mygtuk ilgiau nei viena sekunde. Norédami visiškai iśjungti skyriu, turésite iśimi stalciu.

Norint, kad "Nulio laipsniu" skyrius tinkamai veiktu, reikia:
- jjungti saldytuva;
- nustatyti temperaturararp +2 ^ C ir +6^
- jdeti ir jjungti stalciu j „nulio laipsni“ skyriu;
- neturi buti pasirinkta viena iš šiu funkcjju: „Stand-by" (budejimo režimas), „Cooling-Off" (atvésimo režimas), „Vacation" (astogu režimas) (jei yra); jeigu ji pasirinkta, išimkite joje esanti maista.
Pastaba:
- jeigu jjungus skyriu symbolis neuzsidega, patikrinkite, ar stalicius tinkamai jdetas; jei problema islieka, susisiekite su jgaliota Technines prieziuros tarryba.
- jeigu skyrius ijungtas ir stalcius atidarytas, simbolis valdymo pulte gali buti automatiskai isjungtas. Simbolis vél užsidegs, kai stalcius bus jdetas.
- nepaisant skyriaus buklès, galite girdeti tylius garsus, tai yra jprasta.
- kai skyrius ijsjungtas, jo temperatura prikauso nuo bendros saldytuvo temperaturos. Tokiu atveju patariama siame skyriuje laiktyi vaisius ir darzoves, kurie nera jautrus salciui (uogos, obuoliai, abrikosai, morkos, spinatai, salotos ir kt.).
Svarbu: jei skyrius jjungtas ir jame yra maisto, turinčio didelj kiekj vandens, ant lentyněliu gali susidaryti kondensacija. Tokiu atveju laikinai išjunkite šia funkcija.
Bukite atsargus dedami nedidelj kiekj maisto ir mazas talpyklas j virsutine „Nulio laipsniu" skyriaus lentyna, kad jie atsitiktinai nejkristu tarp lentynos ir saldytuvo galinès sienos.
"Nulio laipsniu" skyriaus iśemimas:
Atlikite siuos veiksmus:
- Kad būtú lengviau išimi skyriu, mes rekomenduojame ištuštinti (ir galimai išimi) apatines durug lentynèles;
- Išjunkite skyrić;
- Išmkite skyriu sukdami ji j virsu;
- Išimkite po skyriumi esančia balto plastiko lentyna.
Pastaba: negalima išimi viršutinës lentynos ir soniniu atramu.
Noredami vél naudoti „Nulio laipsniu“ skyriu, priesjdedami stalciu ir jjungdami fungcija, atsargiai jdekite balto plastiko lentyna po skyriumi.
Jeigu norite šaldytuve turéti daugiau vietos ir sumažinti energijos suvartojima, rekomenduojame išjungti ir išimi „Nulio laipsniú" skyriu.
Skyriu ir jo priedus valy kite nuolat, naudodami slusteir silto vandens (bukite atidus ir nejmerkite balto plastiko lentynos po stlciumi) bei neutraliu valymo medziagu, specialiai skirtu saldytuvo vidui valtyi, misinj. Nenaudokite abrazyviniu valymo medziagu.
Pries valydami skyriu (taip pat ir jo išore), išimkite stalciu, kad galetumete ijsjungti elektros tiekim.
TECHNINES Priežiūros TARNYBA
Pries kreipdamiesi j Technines prieziuros tarnyba:
Iš naujo jjunkite prietaisa ir patikrinkite, ar problema neissispendè. Jeigu ne, vél išjunkite prietaisa ir pakartokite procedūr po vienos valandos.
Jeigu patikrinote visus gedimu vadove
pateiktus punktus ir is naujo jjungus prietaisa
jis vis tiek tinkamai neveikia, susisiekite su
Techniques prieziuros tarnyba, aiškiai jvardykite
problema ir nurodykite:
- Gedima;
Modeli;
Prietaiso tipa ir serijos numerj (nurodyta ant techniniu duomeny lenteles);
- Aptarnavimo numeris (jeijis yra) (tai yra numeris po zozdio SERVICE techniniu duomenu lenteleje prietaiso viduje).
SERVICE 00000000000

Pastaba:
Jeigu Technines pagalbos tarryba apsuka prietaiso duris, tai nera laikoma garantine pretenzija.
| EESTI | Kasutusjuhend | Lehekülg 4 |
| LIETUVIĆ | Naudojimo instrukcijos | Puslapis 10 |
| LATVIEŠU | Lietošanas norādījumi | Lappuse 16 |
| POLSKI | Instrukcja obstugi | Strona 22 |
PIRMA LIETOŠANA
Pievienojietiericielevktroklam.
Modeliem ar elektroniku var but dzirdams skanas signals; tas nozime, ka ir aktivizeta temperaturas trauktms: nospiediet trauktmes skanas signala izslegsanas pogu. Novietojiet antibakterialo aromata noversanas filtru (ja ir) ventilatora, kā paradits filtra iepadokumā.
Piezime: Pec icerces ieslegsanas pagaidiet 4-5 stundas, lai tiktu sasniegta normali uzpilditai icercei nepieciešamā uzglabāsanas temperatura.
APKOPE UN TIRISHANA — IERICE
lerici laiku pa laikam notiriet ar draninu un silta udens un neitralu tiriisanas lidzekluk skidumu, kas ir paredzets tieši ledusskapja iekspuses tiriisanai. Neizmantojiet abrazivus tirisanas lidzeklus. Lai nodrosinatu konstantu un pareizu atkausešanas udens plusmu, regulari iztriet dreno, kas atrodas ledusskapja nodalijuma aizmugures siena blakus auglu un darzenu atvilktnei, izmantojot komplekta iklauto piederumu (skatiet attelu). Pirms icerces apkopes vai tirisanas atvienojiet to no Rozetes vai elektribas padeves.

APGAISMOJUMA SPULDZES VAI GAISMAS DIODES NOMAINA
(atakibā no modela)
B. Zemas temperaturas nondalijums, ja ir

Visaukstaka zona

A. Šaldytuvo skyrius
- Šviežiu daržoviu stalcius
- Lentynos
- Termostato valdymo rankenèle / lemputé
- Déklaï durelèse
- Buteliu lentynèle
- Išimamas butelio laikiklis
- Duomenu plokstelé (šviežiu daržoviu stalciaus šone)
- Ledukp padeklas
- Žemos temperaturos skyriaus durelès
B. Žemos temperaturos skyrius, jei \*\*\* toks yra

Salciausia zona

Mažiausiai šalta zona
Pastaba. Priklausomai nuo jsigyto modelio, lentynu scaicius ir priedu tipas gali skirtis. Visas lentynas, duru déklus ir groteles galima isimi.
Svarbu. Šaldytuvo priedu negalima plauti indaplověje.




Svarbu. Uzdarykite prietaiso direles!
VALDIKLIAI
A. Termostato rankenèle
B. Lemputes jungiklis
D. Termostato valdymo nuoroda
E. Apsvietimo lemupte

KAIP NAUDOTIS ŠALDYTUVO SKYRIUMI
Sis prietaisas - tai automatinis šaldytuvas arba šaldytuvas su ※ ※ ※ ŽvaigžduciuŽemost temperatūros skyriumi.
Saldytuvo skyriaus atitirpinimas atliekamas visiskai automatiskai.
Saldytuvagalima eksploatuoti esant +16^ - +32^ aplinkos temperaturai.
Saldytuvo jjungimas pirma karta
Junkite kištuka j elektrós tinklo lizda.
Termostato rankenèle reguliuojama šaldytuvo skyriaus temperatura ir palaikoma atitinkama temperaturaŽemos temperaturos skyriije.
Temperaturos nustatymas
Noredami nustatyti saldytuvo skyriaus temperatura pasukite termostato valdymo rankenèle:
j maziausios skaitinés vertes padétj 1-2/MIN - MAZIAUSIAI SALTA vidaus temperatura;
- padétj 3-4/MED - VIDUTINÉ temperatura;
- padetj 5-7/MAX - SALCIAUSIA temperatura.
Termostatas nustatyas j padeti,": prietaisas ir apsvietimas neveikia.


Pastaba.
Aplinkos oro temperatura, dureliu atidarinenjimo daznis ir prietaiso padetis gali jtakoti dvieju skyriu vidine temperatura.
Atsižvelkite j šiuos veiksnius nustatydami termostato rankenélès padétj.
Kaip naudotis šaldytuvo skyriumi
Maisto produktus sudékite kaip pavaizduota paveiksléyje.
A. Pagamantas maistas
B. Žuvis, mesa
C. Vaisiairdarzoves
D. Buteliai
E. Kiausiniai
F. Sviestas, suri sir piano produktai
Pastaba.
- Kad galetu cirkuliuotioras, negalima uzdengti tarpo tarpentynu ir saldytuvo skyriaus nugaroles.
- Sudeti maisto produktai negali liestis prie galinés skyriaus sienelès.
- Skyscius laiky kite uždarose talpose.
- Net jprastomis salygomis laikant daržoves, kurišudětyje yra didelis vandens kiekis (pvz., salotos), apatiniuose stalčiuose ir (arba) vidurinëse lentynose gali kondensuotis dregmé; táciau šis reiškinys nejtakaja tinkamo prietaiso veikimo.
Siekiant išvengti kondensacijos, rekomenduojame daržoves laikytj ivniotas.

KAIP NAUDOTIS ZEMOS TEMPERATUROS SKYRIUMI
Žemost temperaturos skyrius, jei toks yra, pažymétas
-
-
- zvaigzdute.
-
Rekomenduotinas šaldytu maisto produktu laikymo laikas nurodytas ant pakuotas.
Isigydami saldytus maisto produktus:
- Isitikinkite, kad ju pakuote nepažeista (užsaldytas maistas pažeistoje pakuotéj gali buti sugedes). Jei pakuoté išsiputusi ar turi dregnu demiu, gali buti, kad ji nebuvo laikoma optimiomis salygomis ir jau pradjo atitirpti.
- Apsipirkdami, šaldytus produktu jsigykite paskutinius ir gabenkite juos Šiluma izoliuojančiame šaltkrepšyje.
- Tokius produktus sudékite j Žemos temperaturos skyriu vos tik gršite j namus.
- Jei maisto produktai iš dalies atšilo, nebešaldykite ju dar karta. Suvartokite per 24 valandas.
Venkite temperaturosPokciu arba kiek jmanoma juos sumazinkite.
Laikykites ant pakuotés nurodyto naudojimo laiko.
- Visuomet vadovakités užsaldytu maisto produktu pakučių laikymo instrukcjomis.
Ledo kubeliu paruosimas
3/4 leduk podéklo užpildykite vandeniu ir podékite jj zemos temperatuuros skyriaus apacioje.
Jei leduk podeklas prišalo priežemos temperaturos skyriaus pagrindo, noredami jj išimi tina nenaudokite aštriu ar smaili jrankiu.

KAIP ATITIRPINTI IR ISVALYTI ZEMOSTEMPERATUROS SKYRIU
Kad skyrius veiktu be priekaištu Žemos temperatūros skyriu rekomenduojama atitirpinti du kartus per metus arba kai ant jo sieneliu susidaro maždaug 3 mm storio ledo sluoksnis.
Jei jimanoma, šaldymoamera atitirpinkite, kai ji tuščia.
- Isimkite maisto produktus iš šaldymo kameros, ivyniokite j laikrašti ir suděkite kartu věsioje viétroje arba nešiojamame šaldiklyje.
- Išjunkite prietajsa iš elektrstinklo lizdo.
- Palikite direles atidarytas, kad iširptu šerkšnas / ledas.
- Atitirpinimo metu susidariusj vandenj isvalykite kempine.
- Kamera valykite kempine, sudrekinta siltame vandens in neutralaus ploviklio tirpale. Nenaudokite abrazyviniu priemoniu.
- Praskalaukite ir kruopsciai nusausinkite.

- Pastaba. Norédami nugrandyti ledā nenaudokite aštriu ar smailiu irankiu; nemèginkite dirbinai šildyti Žemos temperatūros skyriaus.
KAIP VALYTI ŠALDYTUVO SKYRIU
Saldytuvo skyriu valykite reguliariai.
Saldytuvo skyriaus atitirpinimas atliekamas visiskai automatiskai.
Ant galinés saldytuvo skyriaus sienelès esantys vandens lašai rodo, kad vyksta periodiskas automatinio atitirpinimo ciklas. Atitirpes vanduo automatiskai nukreipiamas j
isleidimo anga, paskui teka j talpa iš kurios išgaruoja.
Kad uztikrintumete tinkamā atitirpusio vandens pašalinimā, reguliariai valykite atitirpusio vandens isleidimo angā naudodami su prietaisu pristatyā jrankj.
Pries valydami atjunkite prietaisa nuo elektrtos tinklo.
- Naudokite drungname vandenyje ir (arba) neutraliame ploviklyje suvilgyta kempine.
Nuskalaukite ir nusausinkite minksha sluoste.
Nenaudokite abrazyviniu priemoniu.

VALYMAS IR PriežiūRA
- Reguliarai dulkiu siurbliu arba šepeciu nuvalykite prietaiso gale esancias ventilaciños angas ir kondensatoriú.
Išorinius paviršius valykite minkša šluoste.
Ilgos atostogos
- Iš šaldytuvo ir Žemos temperaturos skyriuj išimkite visus produktus.
- Isjunkite prietaisa is elektros tinklo lizdo.
- Atitirpinkite Žemos temperaturos skyriu, išvalykite ir nusausinkite abu skyrius.
- Kad nesusidarytu nepageidaujamiki kvapai, direles palikite praviras.

ENERGIJOS TAUPYMO PATARIMAI
- Pasirupinkite, kad prietaiso neveiktu auksta temperatura ir tiesioginiai saules spinduliai bei nestatykite jo arti sildytuvu ar virykliu, nes tai padicina elektrros energijos sanaudas.
- Neuždenkite prietaiso oro jsiurbimo ir isleidimo angu.
Noredami atitirpinti maista, sudekite jj j saldytuva, kad isnaudotumete atitirpstant maistui issiskiriantj saltji.
Kaip jmanoma recau atidarinekite dureles ir nepalikite ju atidarytu ilga laika.
Nedekite j saldytuva karstu maisto produktu. - Nepalikite atidarytu Žemos temperaturos skyriaus dureliu.
GEDIMUŠALINIMO VADOVAS
1. Prietaisas neveikia.
- Gal nutruko elektrtos tiekimas?
- Ar kistukas gerai jkištas j tinklo lizda?
- Ar jjungtas pagrindinis maitinimo jungiklis?
- Ar neperdege saugikliai?
Gal termostatas nustatyas j padetj.?"
2. Nepakankamai Žema temperatura kamerose.
- Ar durelès tinkamai uždarytos?
- Gal prietaisas stovi arti šilumos šaltinio?
- Artinkamai nustatyas termostatas?
- Ar neuzdengtos oro cirkuliacijos groteles?
3. Per Žema temperatūrā šaldytuvo skyriije.
- Artinkamai nustatyas termostatas?
4. Saldytuvo skyriaus apacioje kaupiasi vanduo.
- Ar neužsikmšusi atitirpusio vandens isleidimo anga?
5. Neveikia prietaiso apsvietimas.
Patikrinkite 1 problemos sprendimo budus, tada:
- ijsjunkite prietaisa i's tinklo lizdo.
- Pakeiskite lempute to paties galingumo nauja lempute (galingumas nurodytas prie lemputes laikiklio).
- Lemputés isémimas: sukite lempute pries laikrodzio rodykle kaip pavaizduota paveikslyje.

6. Per didelis šerksno luoksnisŽemos temperaturos skyriije.
- Art tinkamai uždarytos šemost temperatūros skyriaus durelès?
Pastaba.
- Veikiant prietaisui gali buti girdimi jvairus garsai (gurguliavimas ir svilpimas del saltnesio iissiplteimo saltnesio konture...), tai yra normalu.
TECHNINES Priežiūros CENTRAS
Pries kreipdamiesi j techninés prieziuros centro:
- Paméginkite problema pašalinti patys vadovaudamiesi skyriumi „Gedimu šalinimo vadovas".
- Iśjunkite ir vél ijunkite prietaïsā ir patikrinkite, ar problema iissisprendè. Jeigu ne, vél iśjunkite prietaïsā ir pakartokite procedūrpo vienos valandos.
- Jeigu problema išlieka ir atlikus nurodytus veiksmus, kreipkitès j artimiausj techninés prieziuros centra.
Nurodykite:
- gedimo pobudj;
prietaiso modelj; - techninés priežiūros numeri (numeris poŽodžio SERVICE informacinéje lenteleje švieziú daržoviú stalčius sone);
MONTAVIMAS
- Irenkite prietaisa toliau nuo šilumos šaltiniu (min. atstumas: 30 cm nuo Židinio ir Žibaliniu virykliu, 3 cm nuo orkaičiu ir elektriniu virykliu).
Prietaisa pastatykite sausoje, gerai vedinamoje vietoje. - Neuždenkite prietaiso ventiliarcijos angu.
- Nuvaly kite vidinius pavirsius (žr. susijusius sk.).
Jdekite pridetus priedus.
Elektros ivadas
- Prijungiant elektrós maitinimă bütina paisyti vietos reglamento.
-
Itampa ir energijos sanaudos nurodytos duomenu plokstelje (sviezi darzoviu stalicus sone).
-
savotikslyadresa;
- savo Telefono numerj ir vietovës koda.
SERVICE
0000 000 00000

Pastaba.
Galima pakeisti dureliu atidarymo kryptj. Jei šia procedūr a tliaka techninés priežiuros centre, garantija netaikoma.
Taisyklse reikalaujama prietaisa izeminti. Gamintojas neatsako už asmenu ar gyvūn traumas nei už turto sugadinima del aukšciau nurodytu proceduru ir priminim uyesilaikymo.
- Jei kistukas ir lizdas nera to paties tipo, kvalifikuotas technikas turi pakeisti lizda.
- Nenaudokite ilginamju laidu ar adapteriu.
Prietaiso atjungimas
Turi buti galima atjungti prietaisa nuo elektrost tinklo ištraukiant kistuka arba naudoant pries elektros lizda jrengta dvieju polijungiklj.
ELEKTROS PRIJUNGIMAS TIK DIDZIOJOJE BRITANIJOJE IR AIRIJOJE
Démesio! Prietaisas turi buti jžemintas.
Saugiklio pakeitimas
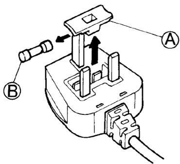
Jei šio prietaiso maitinimo kabelis sumontuotas su prijungtu BS 1363A 13 amp kištuku su saugikliu, šio tipo kištuko saugiklj pakeisti naudokite A.S.T.A. patvirtinta BS 1362 tipo saugiklj:
- Nuimkite saugikliu dangtelj (A) ir isimkite saugikli (B).
- I saugikliu dangtelj jiskite 13 A saugiklij.
- Abu sumontuokite kištuke.
Svarbu.
Saugikliu dangtelis turi buti iš naujo uždedamas, kai saugiklis pakeičiamas, ir, jei pametamas dangtelis, kištuko negalima naudoti be tinkamo dangtelio.
Tinkamas dangtelis atpažistamas pagal spvalva arba spalvotus zoždžius ant pagrindinio kistuko.
Keižiami saugikliu dangciai parduodami vietinése elektrós prekiu parduotuvëse.

Skirta tik naudotojams Airijos Respublikoje
Dél naudojimo D. Britanijoje pateikta informacija bus dažnai taikoma, bet trečiasis kistuko tipas ir lizdas (2 kontaktu, šoninio jžeminimo) taip pat naudojami.
Kistukinis lizdas ir kistukas (galioja abiems salims)
Jei paruostas kistukas netinka elektrós lizdui, susisiekite su techninés prieziuros centru del tolesniu instrukciju.
Nemëginkite pakeisti kistuko patys. Ta atlikti turi kvalifikuotas specialists, vadovaudamasis gamintojo instrukcijomis ir gialojancais saugos nurodymais.
Notice-Facile