BCB 7030 E C AA - Külmik sügavkülmik HOTPOINT - Tasuta kasutusjuhend
Leidke seadme juhend tasuta BCB 7030 E C AA HOTPOINT PDF-formaadis.
Laadige alla juhend oma Külmik sügavkülmik PDF-formaadis tasuta! Leidke oma juhend BCB 7030 E C AA - HOTPOINT ja võtke oma elektrooniline seade uuesti kätte. Sellel lehel on avaldatud kõik teie seadme kasutamiseks vajalikud dokumendid. BCB 7030 E C AA kaubamärgi HOTPOINT.
KASUTUSJUHEND BCB 7030 E C AA HOTPOINT
Elektroonikaga seadmetel võib kostuda helisignaal, mis tähendab, et temperatuurialarm on
aktiveeritud: vajutage helisignaali valjalulitamise nupule. Kui on seadmega kaasas, asetage
antibakterialne lohnavastane filter filtri pakendil naidatud moel ventilatorisse.
Märkus: Pärast seadme sisselulitamist peate ootama 4-5 tundi kuni normalsaltädetud seadme
jaoks oige hoistamistemperatuuri saavutamiseni.
SEADME HOOLDAMINE JA PUHASTAMINE
Puhastage seadet aegajalt lapi ning sooja vee ja spetsiaalselt külmiku sisemuse puhastamiseks moeldud neutraalse puhastusvahendi lahusega. Arge kasutage abrisivseid puhastusvahendeid. Sulamisvee pideva ja ðige voolu tagamis puhastage regulaarselt külmikusektsooni tagaseinas puu- ja kögiviljasahtli lahedal asuvat aravooolukanit kaasas oleva tarvikuga (vt joonist).
Enne hooldus- voi puhastustöde teostamist eraldage pistik pistikupesast voi lahutage seade vooluvorgust.

VALGUSTIPIRNI VOI LEDI VAHETAMINE
(soltuvaltmudelist)
Enne valgustipirni vahetamist ühendage seade kindlasti vooluvrgust lahti. Seejärel tegutsege vastavalt teie tootes asuva valgustipirni tübist soltvatele juhistele.
Asendage valgustipirn teise samade omadustega pirniga, mille võite hankida kas tehnilisest teenistusest või volitatud edasimiüjatelt.
Valgusti tuup 1)
Valgustipirni eemaldamiseks keerake seda joonisel naidatud moel vastupäeva. Oodake 5 minutit enne, kui seadme uesti vooluvörku ühendate.

- traditsiooniline valgustipirn (max 25 W)

Valgustipin
voi
- LED valgustipirn (samade odustega)
saadaval ainult tehnilisest teenistusest

LED-valgustipirn
Valgusti tuup 2)
Kui tootel on LED-valgusti, nagu järgneval joonisel năidatud, vôtke lambi vahetamiseks ühendust tehnilise teenistusega.
LEDid kestavad traditsoonilistest valgustipirnident kauem, nad parandavad sisemist nachtavust ja on keskkonnasobralikud.



SEADME MITTEKASUTAMISE KORRAL
Uhendage seade vooluvorgust lahti, tuhjendage seade, laske sel sulada (kui on vajalik) ja puhastage see. Hoidke uksed kergelt avatud, et ohk saaks sektsionide vahel tsirkuleerida. Nii tehes valdite hallituse ja halbade lohnade kogunemist.
VOOLUKATKESTUSE KORRAL
Hoidke uksed suletud nii et toit jäaks voimalikult pikaks ajaks külmaks. Arge külmutage uuesti toitu, mis on osaliselt sulanud. Pikaajalise voolukatkestuse korral vöib ka voolukatkestuse alarm sisse lulituda (elektronikaga toodete puhul).
KÜLMIKUSEKTSIOON
Külmikusektsoon voimaldab sälitada värsket toitu ja jooke.
Külmikusektsoon sulab ise automaatset ja täielikult.
Aegajalt seadme tagumisele siseseinale tekkvad veepiisad annavad marku automaatse sulatamisest. Sulavesi juhitakse aravoolu ja kogutakse seejarel mahutisse, kust see aurustub. Mudelist slotuvalt vioib toode olla varustatud spetsiaalse „Zero Degrees" (Null-kraadi) sektsioniga, mis sobib ideaalselt vardske liha ja kala hoidmisesk.
Hoiatus: árge peske külmiku tarvikuid nõudepesumasinas.
Markus: kahe sekstsooni sisetemperatuuri voivad mojutada valisohutemperatuur, uste avamise sagedus ja seadme asukoht. Seadistage temperatuur vastavlt nendele teguritele.
Märkus: väga niisketes tingimustes vöib külmkusektsoonile, eriti klaasriilitele, tekkida kondensaati. Sellistel puhkudel on soovitatav sulgada vedelike sisaldavad mahutid (näteks pott puljongiga), mähkida suure veesisaldusega toiduained sisse (näteks köögiljad) ja lūlitada sisse ventilator (kui see on seadmel olemas).
Puu- ja koogiljasahtli eemaldamine (soltuvalt mudelist)
Tömmake sahtel lopuni valja, tõstke üles ja võtke valja.
Puu- ja kögiviljasahlt väljavötmise hölbastamiseks voib olla vajalik kaks alumist ukseriulit tuhjaks teha (ja vöibolla ka eemaldada) ja jätkata seejärel sahtli eemaldamisega.
Ventilator ja antibakterialne lohnavastane filter (soltuvalt mudelist)
Ventilaator voimaldb temperatuuri ühtlasemat jaotust sektsoonides ja seeläbi toidu paremat sälimist ja liigse niiskuse vahendamist. Arge takistage ventilatsionpiirkonda. Ventilaatorit on voimalik käsitsi sisse/välja lulitada (vt Kiirjuhendit); kui ventilaator on sisse lulitadut, tootab see vastavalt vajadusele automaatsetl.
KÜLMUTUSSEKTSIOON
Eraldi külmutussektsooniga mudel
Külmutussektsoon * *** voimaldab sälitada külmutatud toiduaineid (pakendil näidatud ajaperioodi jooksul) ja külmutada värsket toitu. Seadme nimiplaadile on kirjutatud värske toidu kogus, mida 24 tunni jooksul on voimalik külmutada. Paigutage külmutatud toit külmutussektsooni külmutuspiirkonda (vt kiirjuhendit), jättes toidupakendite über òhu vaba ringluse voimaldamiseks piisavalt vaba ruumi. Soovitatav on mitte külmutada uuesti toitu, mis on osaliselt sulanud. Toit on soovitatav mähkida selliselt, et see ei voimaldaks vee, niiskuse vöi kondensaadi sissetungimist.
Täitke jävann (kui on olemas) 2/3 ulatuses veega ja pange tagasi külmutussektsioni. Årge mitte mingil juhul kasutage jäe eemaldamiseks teravaotsalisi vöi teravaid esemeid.
Sahtlite eemaldamine (soltuvalt madelist)
Tömmake sahtlid lopuni välja, tõstke nad üles ja võtke välja. Mahu suurendamiseks võib sugavkülmikut kasutada ilma sahtliteta.
Veenduge, et uks on pärast toidu tagasi restidele/riiulitele asetamist korralikult suletud.
Sisemise toiduainesektssooniga mudelid
Külmikusektsoinis on teil voimalik ka värsket toitu külmutada. Seadme nimiplaadile on kirjutatud värske toidu kogus, mida 24 tunni jooksul on voimalik külmutada.
Varske toidu kulmutamine:
- paigutage toit restile, kui selline on olemas (joonis 1) või siis otse sektsiooni põhjale (joonis 2)
- assetage toit *★★★ sektsioni keskele ilma, et see puutuks vastu juba külmunud toiduainetega ja sällitades umbes 20 mm vahe (joonis 1 ja 2).

Joonis 1

Joonis 2
KUIDAS KÜLMUTUSSEKTSIOONI SULATADA (söltuvalt mudelist)
Jäavabade mudelite puhul ei ole vaja sulatamist ette votta.
Teiste mudelite puhul on jäa tekkimine tavapärane olukord.
Tekkiva jää kogus ja selle kogunemise kiirus söltub ümbritsevatest tingimustest ja ukse avamise sagedusest. Soovitatav on valida madalam temperatuur vöi lulitada voimaluse korral sisse kiirkülmutuse funktsion (vt kiirjuhendit) neli tundi enne toidu külmutussektsionist valjavotmist, et pikendada toidu sälimist sulatamisaasi ajal. Sulatamiseks lulitage seade välja ja eemaldage sahtlid. Pange külmutatud toit jahedasse kohta. Jätke uks lahti, et jää saaks sulada. Vältimaks vee valjavoolamist sulatamise ajal, pange külmutussektsioni pöhja vett imav lapp ja vaänake seda regulaarselt kuivaks.
Puhastage külmutussektsooni sisemus ja kuivatage see hoolikalt.
Lulitage seade uuesti sisse ja pange toit tagasi sisse.
JÄÄ PEATAMISE SÜSTEEM (soltuvalt mudelist)
JÄÄ PEATAMISE SÜSTEEM (saadaval mudelist söltuvalt) toetab külmutussektsiooni sulatusprotssesi. JÄÄ PEATAMISE tarvik (joonis 1) on moeldud osa külmutussektsiooni tekkiva jää kogumiseks ning seda on lihtne eemaldada ja puhastada, vähendades sollega külmutussektsiooni sisse tekkiva jää sulatamiseks kuluvat aega.
JÄÄ PEATAMISE tarvikult jäe eemaldamiseks tegutsege vastavlt allnäidatud protsedururile.
JÄÄ PEATAMISE TARVIKU PUHASTAMISE PROTSEDUUR
- Avage külmutussektsioni uks ja eemaldage ülemine sahtel (joonis 2).
- Vabastage JÄÄ PEATAMISE tarvik (joonis 3) ja vötke see valja (joonis 4) jalgides tāhelepanelikult, et see all asuvale klaasriuile ei kukuks. Markus: kui tarvik on kinni jänud vōi on raskesti eemaldatav, ärge provigse seda eemaldada vaid sulatage parem terve kūlmutussektsion.
- Sulgege külmutussektsooni uks.
- Eemaldage tarvikult uks loputades seda jooksva (mitte kuuma) vee all (joonis 5).
- Laske tarvikul kuivaks tilkuda ja kuivatakse plastosad kuiva lapiga.
- Pange tarvik tagasi asetades selleks tagaosa joonisel 7-A näidatud eenduvatele osadele ja kinnitades seejärel tarviku kä epideme uesti ülal asuvate haakide külge (joonis 7-B).
- Pange ülemine sahtel tagasi omahokale ja sulgege külmutussektsiooni uks.
JÄÄ PEATAMISE tarvikut on voimalik
puhastada omaette ilma külmutussektsioni
täielikult sulatamata. JÄÄ PEATAMISE tarviku
regulaarne puhastamine aitab vähendada
külmutussektsioni täielikult sulatamise
vajadust.
Markus: toote tehnilised andmed, sh mahutavus ja energia, on arvestatud ilma JAA PEATAMISE tarvikuta.

1


3

4

5

6

7
„NULL-KRAADI“ SEKTSIOON (soltuvalt mudelist)
Sektsion „Null-kraadi“ on loodud spetsiaalselt madala temperatuuri ja öige öhuniiskuse hoidmiseks, et värsket toitu kauem säilitada (näiteks liha, kala, puuvilju ja talviseid köögilju).
Niiskuskontrolli tehnoloogia koos Activ0°-ga tagab toidu parima sälümise, kui toit ei ole täielikult pakendatud.

Sektsiooni sisse- ja valjalulitamine
Kui sektsion on sisse lilitatud, on sektsioni sisetemperatuur umbes 0^
Sektsioni sisselulitamiseks vajutage joonisel naidatud nupule kauem kui uks sekund kuni sömbol on suttinud.
Suttinud sumbol tähendab, et sektsoon tötab. Vajutage nupule uuesti kauem kui üks sekund, et sektsoon valja lulitada. Sektsooni täesti väljalulitamiseks tuleb sahtel valja vötta.

Sektsioni „Null-kraadi“ korralikuks toimimiseks on vajalik, et oleksid täidetud järgmised tingimused.
- Külmikusektsoon peab olema sisse lulitatud.
- Temperatuur on vahemikus +2^ C ja +6^ C .
- Sektsionis „Null-kraadi" asuv sahtel peab sisselülitamiseks olema külmikusse sisestatud.
- Ühte järgmistest erifunktsionidest ei ole valitud: Ooterežim, Jahutamine, Puhkus (kui on olemas); sellisel juhul eemaldage sektsoonis asuvad touidained.
Markus:
- Kui sömbol sektsioni sisselulitamisel ei sutti, kontrollige, kas sahtel on korralikult sisestatud; problemi pusimisel vötke ühendust volitatud tehnilise teenistusega.
- Kui sektsion on sisse lulitatud ja sahtel on avatud, vioj juhtpaneelil olev sumbol automaatelt valja lulituda. Sahtli sisestamisel suttib sumbol uuesti.
- Sektsiooni olekust sõltumata võite kuulda vaikset mä, mis on normalne ja ei anna marku probleemist.
- Kui sektsoon ei toöta, söltub selle siseturk külmikusektsooni üldisest temperatuurist. Sellisel juhul on soovitatav hoida selles külmale mitte tundlikke puu- ja köögivilju (marjad, òunad, aprikoosid, porgandid, spinat, salat jms).
Tähtis: kui sektsion on sisse lulitatud ja seal asuvad suure veesisaldusega toiduained, vöib riiulitele tekkida kondensaati. Sellisel juhul lulitage funktsion ajutiselt välja.
Olge toidu ja väikeste toidupakendite sektsioni „Null-kaadi“ ülemisele riulile asetamisel ettevaatlikud, et hoida ära nende juhuslikku kukkumist riuli ja külmikusektsoioni tagaseina vahele.
Sektsioni „Null-kraadi“ eemaldamine:
Tegutsege järgmiselt.
- Sektsioni valjavotmise hölbastamiseks soovitame teil alumise ukse riiulid tuhjaks teha (ja voimaluse korral eemaldada).
- Lulitage sektsoon valja.
- Eemaldage sektsion poorates seda üles.
- Eemaldage sektsiooni all asuv valge plastriiul.
Markus: ülemist riiulit ja külttugesid ei ole voimalik eemaldada.
Sektsioni „Null-kraadi" uesti kasutamiseks pange valge plastriul enne sahtli sisestamist ja funktsioni sisselulitamist ettevaatlikult tagasi sektsioni alla.
Külmiku mahu suurendamiseks ja energiaikulu vähendamiseks on soovitatav sektsion „Nullkraadi" valja lulitada ja eemaldada.
Puhastage sektsiooni ja selle detaile aegajalt lapi ning sooja vee (jalgige, et sahtli all asuv plastriiul vee alla ei satuks) ja spetsiaalselt külmiku sisemuse puhastamiseks moeldud neutraalse puhastusvahendi lahusega. Arge kasutage abrisivseid puhastusvahendeid.
Enne sektsioni puhasamist (ka väljast) tuleb eemaldada sahtel, et katkestada sektsioni vooluvarustus.
TEHNILINE TEENISTUS
Enne tehnilisse teenistusse pördumist:
Käivage seade uesti kontrollimaks, kas probleem on lahenenud. Kui ei ole, lahutage seade uesti ja korrake toimingut uesti tunni aja moödudes.
Kui pārast tōrgete kōrvaldamise juhistes
toodud kontrollimiste teostamist ja seadme
uuesti kāivitamist jatkab teie seade valesti
tōtāmist, pōrduge tehnilisse teenistusse,
kirjeldage selgelt probleemi ja öelge:
-
törke tuup;
mudel; -
seadme tuup ja seerianumber (kirjutatud nimiplaadile);
- Hooïdusnumber (kui on olemas) (number, mis on toodud seadme sees asuval nimiplaadil pārast sōna SERVICE).
SERVICE
0000 000 0000

Märkus:
Tehnilise teenistuse poolt teostatud usté avamissuuna muutmist ei loeta garantiiteenuseks.
| EESTI | Kasutusjuhend | Lehekülg 4 |
| LIETUVIĆ | Naudojimo instrukcijos | Puslapis 10 |
| LATVIEŠU | Lietošanas norādījumi | Lappuse 16 |
| POLSKI | Instrukcja obstugi | Strona 22 |
NAUJOIMAS PIRMA KARTA
- Kögiviljasahtel
- Riulid / riulite piirkond
- Termostaadi nupp / valgustus
- Ukseriulid
- Pudeliriuiul
- Eemaldatav pudelihoidik
- Nimiplaat (köogiviljasahtli küljel)
- Jäkuubikute rest
- Külmkambri uks
B. Külmkamber (kui on olemas)

Köige jahedam tsoon

Köige vahem külm tsoon
Markus. Sahtlite arv ja tarvikute disain voib mudelist soltuvalt erineda.
Koiik riulid, ukse lahtrid ja sahtlid on eemaldatavad.
NB! Arge peske külmiku tarvikuid noudepesumasinas!




NB! Sulgege uks!
JUHTSEADISED
A. Termostaadi nupp
B. Valgustuse luliti
D. Termostaadi seade viitemark
E. Valgusti pirn

KÜLMIKUSEKTSIOONI KASUTAMINE
See seade on automaatne külmik vöi külmik koos
* tarniga külmkambriga.
Külmikusektsooni sulatamine on täiesti automaatne.
Külmik on moeldud tootama
keskonnatemperatuuril +16^ kuni +32^
Külmiku esmakordne sisselülitamine
Pange pistik pistikupessa.
Termostaadinuppu kasutatakse külmkusektsooni temperatuuri seadmiseks, sailitades külmkambri sisese temperatuuri.
Temperatuuri seadmine
Sektsioni temperatuuri muutmiseks keerake termostaadinuppu:
- väiksematele numbritele 1-2/MIN KÖIGE SOOJEMA siseturatuuri saamiseks;
- asendisse 3-4/MED KESKMISE temperatuuri saamiseks;
- asendisse 5-7/MAX KÖIGE KÜLMEMA temperatuuri saamiseks.
Kui termostaat on asendis · : kulmik ei toot, valgustus ei pole.


Markus
Mōlema sektsiooni temperatuuri vōivad mōjutada keskkonnattemperatuur, ukse avamise sagedus ja seadme asukoht.
Arvestage neid tingimusi termostaadinupuga temperatuuri märamisel.
Külmikusektsooni kasutamine
Pange toit seadmesse nii, nagu joonisel naidatud
A. Valmistoit
B. Kala, liha
C. Puu- ja kooigiviljad
D.Pudelid
E. Munad
F. Voi, juust ja piimatooted
Markus
Riiulite ja külmkusektsooni tagaseina vahe peab olemaa vaba, et tagada takistusteta ohuringlus.
- Arge pange toitu vastu külmikusektsoonni tagaseina.
- Säilitage vedelikke suletud anumates.
Ka tavatingimustes voib suure veesisaldusega köoggiviljade (nt salati) sāilitamisel alumistes sahtlites ja/voi keskmistel riulitel moodustuda kondensaat. See ei hairi seadme nōuetakohast

töd. Sellegipoolest soovitame kögiviljad kondensaadi tekke ennetamiseks sisse pakkida.
KÜLMKAMBRI KASUTAMINE
Külmkamber (kui on olemas) on tarniga sektsioon.
Külmutatud toiduainete soovitatava sailitusaja leiata toote pakendilt.
Kui estate külmutatud toiduaineid
- Veenduge, et pakend on terve. Katkises pakendis toiduaine vöib olla riknenud. Kui pakend on paisunud vöi kohati niiske, vöib see tähendada, et toitu ei ole sailitatud optimaalsetes tingimustes ja sulamine vöib olla juba alanud.
- Kaupluses sisseoste tehes jätke külmutatud toiduained kõige viimaseks ja transportige neid soojusisolatsiooniga külmakotis.
- Pange külmutatud toiduained koju joudes kohe külmkambrisse.
- Arge kulmutage uesti toitu, mis on kas vōi osaliselt sulanud. Tarvitage see āra 24 tunni jooksul.
Vältinge temperatuurikokumisi voi viige need miinimumini.
Jalgige pakendil olevat aegumistähtaega.
Jälgige alati kulmutatud toiduaine pakendil olevaid sailitusjuhiseid.
Täitke jääkuubikurest 3/4 ulatuses veega ja asetage külmkambri pöhjale.
Arge kasutage külmkambri pōhja külge kinni külmunud jäakuubikuresti eemaldamiseks teravaid esemeid!

KÜLMKAMBRI SULATAMINE JA PUHASTAMINE
Et tagada optimaalse toö, soovitame külmkambri sulatada vähemalt kaks korda aastas ja siis, kui jää paksus seintel ulatub 3 millimeetrini.
Voimaluse korral sulatage sugavkulmik siis, kui see on peaaegu tuhi.
- Vötke toiduained sugavülmikust välja, keerake ajalehe sisse ja pange kōik koos jahedasse kohta vōi kaasaskantavasse kūlmikusse.
- Vötke pistik seinakontaktistwäla.
- Jätke uks lahti, et jää saaks sulada.
- Eemaldage sulamisvesi kasnaga.
- Puhastage sektsion sooja vee ja neutraalse pesuvahendi lahuses niisutatud kasnaga. Arge kasutage abrasiivseid tooteid.
- Loputage ja kuivatage hoolikalt.

- NB! Ärge kasutage jää kraapimiseks teravaid metallesemeid! Ärge kuumutage külmkambrit kunstlikult!
KÜLMIKUSEKTSIOONI PUHASTAMINE
Puhastage aeg-ajalt külmikusektsiooni sisemust. Külmikusektsiooni sulatamine on täiesti automaatne.
Veepiisad külmikusektsooni tagaseinal naitavad, et kāimas on automaatne periodooline jäeemaldus. Sulatusvesi juhitakse automaatset aravooluavasse ja kogutakse seejärel mahutisse, kust see aurustb.
Et sulatusvesi saaks korralikult āra voolata, puhastage Āravooluava regulaarselt, kasutades selleks seadmega kaasapandud toöriista.
Lahutage seade enne puhastamist vooluvorgust.
- Kasutage käesooja vee ja/vöi neutraïse pesuvahendiga niisutatud käsna.
Loputage ja kuivatage pehme lapiga.
Arge kasutage abrasiivseid vahendeid!

PUHASTAMINE JA HOOLDUS
- Puhastage seadme tagaküljel olevaid öhutusavasid ja kondensaatorit regulaarselt tolumuimeja voi harjaga
- Puhastage seade väljast pehme lapiga
Pikad seisuperiooodid
- Tuhjendage külmik ja külmkamber.
- Vötke pistik seinakontaktistwäla.
- Sulatage külmkamber. Puhastage ja kuivatage mõlemad sektsionid.
- Jätke uksed lahti, et vältiida ebameeldiva löhna teket.

ENERGIA SÄASTMINE
Vältinge seadme kokkupuudet körge temperatuuri ja otsese päikesevalgusega. Ärge pange seda küttekehade vöi plitide lahedusse, sest sellisel juhul suureneb seadme energiatarve.
- Arge blokeerige seadme öhu sisse- ja valjalaskeavasid.
- Toidu sulatamiseks pange see külmikusse, et kasutada ára sulava toidu tohitavat moju.
- Avage ust voimalikult harva ja luhidalt.
- Arge pange külmikusse kuuma toitu!
- Arge jätke külmkambri ust lahti!
RIKKEOTSING
1. Seade ei töta.
- Kas vool on āra?
- Kas pistik on korralikult pistikupesas?
- Kas toiteluliti on sisse lulitatud?
- Kas kork on LABI põlenud?
- Kas termostaat on asendis ?
2. Sektsionide temperatuur ei ole piisavalt kadal.
- Kas uksed on korralikult kinni?
- Kas seade paikneb kuumusallika laheduses?
- Kas termostaadi seade on oige?
- Kas öhuringluse vöred on ummistunud?
3. Külmikusektsooni temperatuur on liiga kadal.
- Kas termostaadi seade on Ōige?
4. Külmikusektsooni pöhja koguneb vett.
- Kas sulamisvee aravoooluava on ummistunud?
5. Sisemine valgustus ei tota.
Kontrollige 1. punktis soovitatud asju ja kui sellest ei ole abi, toimige nii.

Vötke pistik seinakontaktist välja.
- Asendage lamp teise, sama voimsuse voi max voimsusega lambiga (margitud lambipesa lahedral).
- Lambi eemaldamiseks keerake see vastupäeva lahti, nagu joonisel naidatud.
6. Külmkambris tekib liiga palju jäad.
- Kas külmkambri uks on korralikult kinni?
Markus
- Mitmesugused hääled (jahutusahela paisumisest tingitud mulismine ja sisin jms) on seadme töä ajal normalaïsed.
TEENINDUS
Enne garantiremonditeenindusse pördumist
- Vaadake, ehk suudate probleemi isetörkeotsingu juhiste abil lahendada.
- Lülitage seade valja ja uesti sisse, et näha, kas probleem pusbib. Kui jah, lülitage seade uesti valja ja korrake toimingut uesti tunni ajmöddudes.
- Kui probleem pärast seda ikka pusbib, vötke ühendust garantiremonditeenindusega.
Teatage:
- problemi olemus;
seadmumudel; - hooldusnumber (number seadme taga oleval nimiplaadil parast sona SERVICE);
-
tei täielik Aadress;
-
teie Telefonumber ja suunakood.
SERVICE
0000 000 00000

Markus
Ukse avanemise suunda saab vahetada. Selle toö tegemine garantiremonditeeninduses eikuulu garantii alla.
PAIGALDAMINE
Paigaldage seade kuumusallikatest eemale (min vahekaugus sue voi petrooleumiga koetavast pliidist 30~cm , tavalisest ahjust voi elektripliidist 3 cm).
Paigaldage seade hea ventilatsiooniga kuiva kohta.
- Arge blokeerige seadme öhutusavasid.
- Puhastage sisemus (vt vastavaid peatükke).
Paigaldage kaasapandud tarvikud.
Elektrühendus
- Elektrühendused tuleb teha vastavalt kohalikele ohutuseeskirjadele.
- Pinge ja voolutarve on mārgitud andmeplaadile kögiviljasahtli kūljel.
Eeskirjade kohaselt peab seade olema
maandatud. Tootja loobub igasugusest vastutusest inimstele voi loomadele tekitatud vigastuste voi varalise kahju eest, mis on pohjustatud nende eeskirjade eiramisest.
Kui pistik ei sobi pistikupesaga, laske kvaliftseeritud elektrikul pistikupesa välja vahetada.
- Arge kasutage pikendusjuhtmeid ega harupesi!
Seadme elektritoite katkestamine
- Seadme elektritoidet peab olema voimalik katkestada pistiku eemaldamisega pistikupesast voi pistikupesa ette paigaldatud kahe poolusega luliti abil.
ELEKTRIÜHENDUSED AINULT ÜHENDKUNINGRIIGIS JA IIRMAAL
Hoiatus - see seade peab olema maandatud!
Kaitsme vahetamine
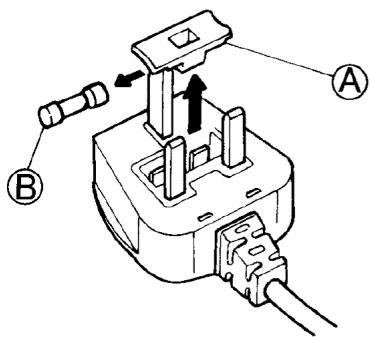
Kui seadme toitejuhe on varustatud BS 1363A 13 A kaitsmega pistikuga, kasutage sellist tüüpi pistikus kaitsme vahetamiseks A.S.T.A. heakskiidetud BS 1362 tüüpi kaitset ja tegutsege nii.
- Eemaldage kaitsme kate (A) ja kaitse (B).
- Paigaldage 13 A kaitse kaitsmekattesse.
- Paigaldage molemad tagasi pistikusse.
Tähtis!
Kaitsme kate tuleb kaitsme vahetamisel tagasi panna;
kaitsmekatte kaotsimineku korral ei tohi pistikut kasutada
enne, kui on paigaldatud öige asendusosa.
Öige asendusosa tunnette ára pistiku alusel olevast värvilisest siseosast vöi värvilistest reljeefsetest sonadest.
Varu-kaitsmekatted on saadaval elektritarvete kaupluses.

Ainult liri Vabariigis
Sageli kehtib Suurbritannia kohta käiv teave, kuid kasutatakse ka kolmandat tuüpi pistikut ja pistikupesa, kahe kontaktiga ja külgmaanduse tuüpi.
Pistikupesa/pistik (kehtib molemas riigis)
Kui paigaldatud pistik ei sobi teie pistikupessa, vötke täiendavate juhiste saamiseks ühendust teenindusega. Årge uritage ise pistikut vahetada! Seda peab tegema kvalitseeritud tehnik vastavalt tootja juhistele ja kehtivatele ohutusnouetele.
Опиcaнец HA порукta
A. OTdeneHne Ha xJaDnIHHka
- YeKmEJke 3a nIodObe n 3eJIeHcyu
- PaTOBe/3OHa 3a paTOBe
- KomnneT TepmoCTaT C JAMNNUka
- Kyttn Ha BpaTnUkKaTa
- NocTaBka 3a 6yTnJIKN
- Побвжен ораричтел за ут升学к
7.Информачионна tabekenka (noctabeha OTOCTpaHnHa ueKMeJxKeTo 3a ПLOOBe И Зеленуц)
8.Формичka 3a ky6чета Лад - Bpatauka Ha OTdeneHneTo 3a Hnckn TemnepaTpyn
Notice-Facile