BCB 7030 E C AA - Frigider congelator HOTPOINT - Manual de utilizare gratuit
Găsiți gratuit manualul dispozitivului BCB 7030 E C AA HOTPOINT în format PDF.
Descărcați instrucțiunile pentru Frigider congelator în format PDF gratuit! Găsiți manualul dvs. BCB 7030 E C AA - HOTPOINT și luați din nou în mână dispozitivul dvs. electronic. Pe această pagină sunt publicate toate documentele necesare pentru utilizarea dispozitivului dvs. BCB 7030 E C AA mărcii HOTPOINT.
MANUAL DE UTILIZARE BCB 7030 E C AA HOTPOINT
Conectaşi aparatul la reteaua de alimentare electrică.
La modele le cu componente electronice, se poate emite un semnal sonor, ceea ce inseamna ca alarma de temperatura a fost activata: apasati pe butonul de oprire a alarmei. Daca aparatul este prevazut cu filtru antibacterian si anti-miros, amplasati-l in ventilator aça cum se indica pe ambalajul filtrului.
Notă: După ce puniți aparatul în functiune, trebuie să steptati 4-5 ore până că se atinge temperatura adecovata de păstrare a alimentelor pentru un aparat încaţar normal.
INTRETINEREA Şİ CURAÇAREA APARATULUI
Din cánd in cánd, curata ti aparatul cu o capa'inmuata intro-solutie de apa calda si agenti de curatare speciali pentru curatarea interiorului frigiderului. Nu folosiiti agenti de curatare abrazivi.
Pentru a asigura scurgerea constanta sì corectă a apei rezultate din dezghetare, curatați periodic interiorul canalului de scurgere, situat pe peretele posterior al compartmentului frigider, lângă sertarul pentru fructe sì legume, folosind ustensila din dotare (vezi figura).
Inainte de a efectua orice operatie de intreinere sau curatare,
scoatei stecherul din prizsaau deconnectati aparatul de la reteaua electrica.

INLOCUIREA BECULUI SAU A LED-ULUI
Deconectați intotdeauna aparatul de la reteaua electrică înunte de a înlocui becul. Apoi urmati instructiunile în functie de tipul de becu cu care este echipat produsul.
Inlocuţi becul cu unul cu aceleasi criteristici, disponibla Serviciul de Asistenţă Tehnică tau la vanzătorii autorizati.
Bec de tipul 1)
Pentru a scoate becul, desurubati-l in sens anti-orar, asa cum se indica in figura. Asteptati 5 minute inante de a conecta din nou aparatul.

- bec obisnuit (max. 25 W)

Becul
sau
- becu LED (cu aceleasi criteristici)
disponibil numai la Serviciul de Asistenta Tehnica

Becul cu LED
Bec de tipul 2)
Dacă produsul este prevăzut cu LED-uri, aça cum se arata în figurile de mai jos, adresati-va Serviciului de Asistentă Tehnică dacă aveti nevoie de un bec de schimb.
Fata de becurile obisnuite, LED-urile direază mai mult, imbunătățesc vizibilitatea în interiorși sunt ecologice.



DACA APARATUL NU ESTE FOLOSIT
Deconecta aparatul de la reteaua electrica, goliti-l,dezghetei-l (dac aeste necessities) si curatai-1. Lasa iuse intredeschise pentru a permite aerului sa circule in interiorul compartmentelor. Astfel evitati formarea mucegaiului si aparita mirosurilor neplacute.
IN CAZUL INTRERUPERII ALIMENTÄRII CU ENERGIE ELECTRICA
Tineti ñinchise usile pentru ca alimentele să rămână reci CAT mai mult timp posibil. Nu congelati din nou alimentele care s-audezghetat partial. Dacă pana de curent se prelungește, este posibil să se activzeși alarma de intrerupere a curentului (la produsele cu componente electronic).
COMPARTIMENTUL FRIGIDER
Compartmentul frigider permite păstrarea alimentelor proaspeteși a băuturilor. Compartmentul frigider sedezgheata complet automat.
Prezena ocazională a picăturilor de apă pe peretele interior posterior al compartmentului indică faza dedezghetare automata. Apa rezultata dindezghetare este condusă intr-un canal de scurgere, apoi este colectata intr-un recipient, din care se evaporă.
In functie de model, produsul poate fi echipat cu un compartment special „Zero grade", ideal pentru păstrarea peşeluiși a cărnii proaspete.
Avertisment: nu curatai accesoriile frigiderului in maşa de spalat vase.
Notă: temperatura ambientă, freventa cu care se beschid ușileși poziția aparatului pot influența temperaturile interne din cele două compartmente. Setăți temperaturile in functie de acești factori.
Notă: intr-un mediu cu umiditate foarte ridicata, in compartmentul frigider se poate produce condens, mai ales pe rafturile de sticlă. In acest caz, se recomanda să acoperiti recipientele care contin lichide (de ex. o oală cu supă), să ambalati alimentele cu continut ridicat de apă (de ex. legumele)și să porniti ventilatorul (dacă există).
Scoaterea sertarului pentru fructeși legume (in functie de model)
Tragetietarul in afarapana la capat,ridicati-1sicoatei-I.
Pentru a scoate mai uşor sertarul pentru fructeși legume, este posibil sa fie nevoie sa goliti (și eventuală scacoateți) cele două rafturi inferioare de pe ușă, apoi sa continuuți cu scoaterea sertarului.
Ventilatorul Şi filtrul antibacterian Şi anti-miros (in functie de model)
Ventilatorul permite o distribuire uniformă a temperaturilor in interiorul compartmentelor, prin urmare asigurând o păstrare mai bună a alimentelorși reducerea excesului de umiditate. Nu blocati zona de ventilare. Ventilatorul poate fi pornit/oprit manual (consultați Ghidul rapid); dacă este pornit, functionează automat atuncialand este nevoie.
COMPARTIMENTUL CONGELATOR
Modelul cu compartmentingelator separat
Compartmentul congelator * *** permite păstrarea alimentelor congelate (pe perioada indică pe ambalaj)și congelarea alimentelor proaspete. Cantitatea de alimente proaspete care poate fi congenatață in 24 de ore este indicăță pe plăcuța cu date tehnice. Aşezați alimentele proaspete în zona de congenare din interiorul compartmentului congelator (consulati Ghidul rapid), lăsând spatiu sufficientiNJ jurul pachetelor pentru a permite libera circulație a aerului. Se recomandață să nu congenati din nou alimenteile care s-audezghetat partial. Este importantă să ambalai alimenteile astfelÎncâtă să se evite pătrunderea apei, a umezelii sau a condensului.
Producerea cuburilor de gheata
Umplete tăvita pentru gheata (dacă este disponibilită) până la 2/3 cu apăși așezate-i inapoi in compartmentul congelator. Nu folosiți în niciun caz obiecte tăioase sau ascuțite pentru a scaoate gheata.
Trageti sertarele in afarà până la capat, ridicati-leși scoatei-le. Pentru a benefici de mai mult spatiu, compartmentul congelator poate fi utilizat färă sertare.
Verificatu daca usa este inchisă corect după ce ați așezat alimentele inapoi pe grătare/rafturi.
In compartmentul congelator se pot congela si alimente proaspete. Cantitatea de alimente proaspete care poate fi congelata in 24 de ore este indicata pe placuţa cu date tehnice.
Cum se congeleză alimentete proaspete:
- asezăi alimentente pe grătar, dacă există (figura 1) sau direct in partea inferioroară a compartmentului (figura 2)
- asezata alimentente in mistrilocul compartimentului * * * *, fara ca acestea sa intré in contact cu alimentente deja congetate, pastrand o distanţă de aproximativ 20 mm (figurile 1 s i 2).

Figura 1

Figura 2
CUM SE DEZGHEATA COMPARTIMENTUL CONGELATOR (in functie de model)
In cazul modelelor fãrã formare de gheata, nu este necessar sã efectuati nicio procedurã dedezghetare.
In cazul alteror modele, formarea ghettoi este un proces normal.
Cantitatea de gheata s rapiditatea cu care se formeaz a variaz in functie de condiile de mediu s de freventa de descidere a uii. Se recomanda s seta i o temperatura mai mica sa activati functia de congelare rapida (dac exista) (consulta Ghidul rapid) cu patru ore inante de a scoate alimentele din compartmentul congelator, pentru a prelimungi starea de conservare a alimentelor in timpul fazei dedezghetare. Pentru adezgheta compartimentul, opriti aparatul si scoatei sertarele. Amplasati alimentele congelate intr-un loc racoros. Lasa uts a deschisa pentru a permite topirea ghetii. Pentru ca apa s nu se scrgain timpuldezghetari, se recomanda s azezati o carpa absorbantain partea inferiorar a compartimentului congelator s o stoarceti din cand in candid. Curata tsi uscati cu grijai interiorul compartimentului congelator. Reporniti aparatul si introduceti alimentele.
SISTEMUL OPRIIRE INGHETARE (disponibil la unele modele) facilitează procedura dedezghetare a compartmentului congelator. Accesoriiul OPRIIRE INGHETARE (figura 1) este conceput pentru a colecta o parte din gheata care se formează în compartmentul congelator. Accesoriiul este ușor de scosși curățat, reduçând astfel timul șiacear pentrudezghetarea interiorului compartmentului congelator.
Pentru a indepàrta gheata de pe accesoriul OPRIRE INGHETARE, urmaṭi procedura de curătare descriṣa mai jos.
PROCEDURE DE CURATARE A ACCESORIULUI OPRIRE INGHETARE
- Deschideti uça compartmentului congelator.si scoatei sertarul superior (figura 2).
- Detaşati accesoriuł OPRIRE INGHETARE (figura 3) Şİ scoateşi-ı (figura 4), avánd grijă să nu il scăpati pe raftul de sticla de dedesubt. Notă: dacă accesoriuł este blocat sau este greu de scos, nu-incercatói să-l mai scoateşi, ci continuati sădezghetati complet compartmentul congelator.
- Inchideti usa compartmentului congelator.
- Indepartati gheata de pe accessoriu clātindu-l sub apă de la robinet (apa nu trebuie să fie fierbinte) (figura 5).
- Lásatiapa sase scurga de pe accessoriu pana cánd acesta se usucá si stergei pàrile din plastic cu o cappa moale.
- Reintroduci accesoriul asezand partea din spate a acestuia pe protuberantele indicate in figura 7-A, apoi fixati manerul pe clemente de deasupra (figura 7-B).
- Introduciţi sertarul superior și inchideti uşa compartmentului congelator.
Puteti sá curatai accesoriu OPRIIRE INGHETARE sí fára sádezghetati complet compartmentul congelator. Curatarea regulata a accesoriuului OPRIIRE INGHETARE reduce necessitatea de adezgheta complet compartmentul congelator.







Notă: specificațiile produsului, inclusiv volumul Şi energia, sunt calculate fără accesoriul OPRIRE INGHETARE.
COMPARTIMENTUL „ZERO GRADE”
Compartmentul „Zero grade" este conceput special pentru a mentine o temperatura joasa si o umiditate adecvata pentru păstrarea pe perioade mai lungi a alimentelor proaspete (de exemplu carne, peste, fructe si legume de iarnă).
Tecnologia de control al umiditàti impreună cu sistemas Activo asigură cea mai bună păstrare a alimentelor care nu sunt ambalate complet.

Activarea Şidezactivareacompartimentului
Temperatura interna a compartmentului este de aproximativ 0^ cánd acuesta este activat.
Pentru a activa compartmentul, apasati mai mult de o secunda pe butonul indicat in figura, pana cand simbolul se aprinde.
Simbolul aprins indică functionarea compartmentului. Apăsati din nou pe pe buton mai mult de o secundă pentru adezactiva compartmentul. Pentru adezactiva complet compartmentul, trebuie să scoateți sertarul.

Pentru functionarea corectă a compartmentului „Zero grade", sunt necessare urmǎtoarele:
- compartmentul frigider este activat
- temperatura este intolerance +2^ C si +6^ C
- sertarul din compartmentul „Zero grade" trebuie să fie introdus pentru a fi posibilă activarea compartmentului
- urmatoarele functii speciale nu sunt selectate: Stand-by, Răcire, Vacanță (dacă sunt disponibile); in acest caz, scoatei alimentele din compartment.
Notă:
- dacă simbolul nu se aprinde în momentul în care activati compartmentul, asigurată-va că spertarul este introdus corect; dacă problema persistă, luată legătura cu Serviciul de Asistență Tehnică autorizat.
- in cazul in care compartmentul este activatși fertarul este beschis, simbolul de pe panoul de comanda se poate stinge automat. Simbolul se va aprinde din nou in momentul inchiderii fertarului
- indifferent de starea compartmentului, este posibil să auziţi un zgomot slab, considerat normal
- cánd compartmentul nu este activat, temperatura din interior depinde de temperatura generală a compartmentului frigider. În acest caz, se recomanda ca În compartment să se păstreze fructele ŞI legumele care nu sunt sensibile la frig (fructe de pădure, mere, cause, morcovi, spanac, salata etc.).
Important: atunci cánd compartmentul este activat si folosit pentru păstrarea alimentelor cu continut mare de apă, pe rafturi se poate forma condens. In acest caz,dezactivati functi temporar.
Aveṭi grijā cànd asezāṭi alimente sì recipiente de mici dimensiuni pe raftul superior al compartmentului „Zero grade": acestea pot să càndä intré raft sì peretele posterior al compartmentului frigider.
Scoaterea compartmentului „Zero grade":
Effectuati urmatoarele operatiuni:
- pentru a facilita scoaterea compartmentului, se recomandaă să goliţi (şi eventuală să scoateţi) rafturile inferioroare de pe ușă
- dezactivati compartmentul
- scoatei compartmentul rotindu-l in sus
- scaatei raftul alb de plastic de sub compartment
Notā: scaaterea raftului superior sī a suporturilor laterale nu este posibila.
Pentru a utilizes din nou compartmentul „Zero grade", asezati cu grijă raftul alb de plastic sub compartmentinainte de a introduce serrarul si a reactiva functia.
Dacă doriti să măriti volumul frigideruluiși să reduței consumul de energia, se recomandașădezactivișși să scoateși compartmentul „Zero grade".
Curățați din când în când compartmentulși componentele sale folosind o càpă înmuiată într- o soluție de apă caldași agenti de curățare neutri, speciali pentru curățarea interiorului frigiderului (aveti grijă să nu scufundatați în apă raftul alb de plastic de sub sertar). Nu folosiți agenti de curățare abrazivi.
Inainte de a curata compartmentul (si la exterior), trebuie sa scoatei sertarul astfel incat compartmentul sa fie deconectat de la alimentarea cu energia electrica.
SERVICIUL DE ASISTENTÁ TEHNICÁ
Inainte de alua legatura cu Serviciul de Asistenta Tehnica:
Reporniti aparatul pentru a vedea dacă problema se rezolvă. Dacă nu s-a rezolvat, deconnectate din nou aparatulși repepati procedura după o ora.
Dacă aparatul continuațaș functioneze incorrect după ce ati efectuat toate verificările enumerate in ghidul de remediere a defeciunilor și ati repornit aparatul, contactati Serviciul de Asistentă Tehnică, descrieti clar problemași indicatori:
-
tipul defectiunii
modelul -
tipul si numărul de series al aparatului (inscriptionate pe plăcuța cu date tehnice)
- numárul de service (dacă există) (numárul care se găsește după cuványțul SERVICE pe placuța cu date tehnice din interiorul aparatului)
SERVICE
0000 000 0000

Notă:
Dacă este efectuţă de Serviciul de Asistentă Tehnică, schimbarea directiei de descidere a uşilor aparatului nu constituie cerere de garantie.
| Българсн | Инструкции за у鞘тpeба | Сташица 4 |
| HRVAT | Uputama za uporabu | Stranica 10 |
| ROMÁNă | Instruktiuni de/utilizare | Pagina 16 |
| SRPSKI | Uputstvo za upotrebu | Strana 22 |
PRVA UPOTREBA
Prikliučite aparat na elektrichnu mrežu.
Kod modela sa elektronikom moze da se oglasi zvučni signal, što znači da je aktiviran alarm za temperaturu: pritisnite dugme za isključivanje alarma. Kada je priložen, postavite antibakterijski filter protiv neprijatnih mirisa u ventilator kao što je prikazano na pakovanju filtrera.
Napomena: Nakon što ukljucite aparat morate da sacekate 4-5 sati kako bi se postigla odgovarajuca temperatura za odlaganje za normalno popunjen aparat.
ODRŽAVANJE I ČIŠÇENJE APARATA
Povremeno očistite aparat krpom i rastvorom tople vode i neutralnog sredstva za Čišćenje koje je namenski napravljeno za Čišćenje unutrašnjosti frižidera. Nemojtve da koristite abrazivna sredstva za Čišćenje. Da biste obezbedili stalan i nesmetan protok vode od otapanja leda, redovno Čište unutrašnjost odvoda na zadnjem zidu frižidera, blizu fioke za voce i povrće pomoću priloženog pribora (pogledajte sliku).
Pre bilo kakvog održavanja ili cišćenja, isključite utikač iz zidne uticnice ili isključite aparat iz elektricne mreže.

ZAMENA SIJALICE ILI LED SIJALICE
(u zavisosti od modela)
Uvek iskljucite aparat iz elektricne mreze pre nego sto zamenite sijalicu. Zatim pratite uputstva na osnovu tipa sijalice za proizvod koji posedujete.
Sijalicu zamenite drugom istih karakteristika koju mozete da nabavite preko sluzbe za tehnicku podrsku i od ovlašćenih prodavaca.
Tip svetla 1)
Da biste uklonili sijalicu, odvijte je u smeru suprotnom od smera kazaljke na satu, kao sto je prikazano na slici. Sačekajte 5 minuta pre nego sto ponovo prikligucite aparat.

-standardna sijalica (maks.25 W)

Sijalica
ili
- LED sijalica (istih karakteristika) dostupno je samo preko sluzbe za tehnicku podrsku

LED sijalica
Tip svetla 2)
Ako proizvod ima LED svetlo, kao sto je prikazano na donjim slikama, obratite se sluzbi za tehnicku podrsku ako je potrebna zamena.
LED sijalice traju duze od standardnih sijalica, povoljsavaju vidljivost u unutrašnjosti i ekološki su prihvatljive.



U SLUČAJU DA SE APARAT NEČE KORISTITI
- Sertar pentru legume și fructe
- Rafturi / Zona pentru rafturi
- Grupul termostat cu lumină
4.Rafturi pe usa - Raft pentru sticle
- Opritor detasabil pentru sticle
- Placuça cu datele tehnice (situata länga sertarul pentru legume.si fructe)
- Táviţa pentru cuburi de gheata
- Usa compartmentului cu temperatura joasa
B. Compartmentul cu temperatura joasa, dacă * ** intră in dotare

Zona cea mai rece

Zona cea mai pu t in rece
Notă: Numărul de rafturiși forma accesoriilor pot varia în functie de model.
Toate rafturile, recipientele de pe uşa.si gratarele sunt detasabile.
Important: accesoriile frigiderului nu trebuie spalate i n masina de spalat vase.




Important:inchidetiuga interioarai
COMENZILE
A. Selectorul termostatului
B. Butonul pentru lumină
D. Reper indicator pentru poziţia termostatului
E. Becul

PUNEREA IN FUNCTIUNE A COMPARTIMENTULUI FRIGIDER
Acest aparat este un frigider automat sau un frigider cu compartment cu temperatura joasa, de *** stele.
Dezgheṭarea compartmentului frigider se face in mod complet automat.
Frigiderul functioneaza la o temperatura ambienta cuprinsä intre +16^ si +32^ .
Punerea in functiune a frigiderului
Introduciţi stecherul in priza de current.
Selectorul termostatului se utilizează pentru a regla temperatura din compartmentul frigider, mentinând constanța temperatura din interiorul compartmentului cu temperatura joasa.
Reglarea temperaturii
Dacà doriti sá modificazioni temperatura din compartment, rotiti butonul de reglare al termostatului
- spre numerele mai mici 1-2/MIN pentru temperaturi interne MAI PUTIN RECI;
- spre numerele 3-4/MED pentru a obtine o temperatura MEDIE;
- spre numerele 5-7/MAX pentru temperaturile CELE MAI RECI.
Termostatul pe · functile aparatului si iluminarea sunt intrerupte.


Notă:
Temperatura ambienta, freventa cu care se descid uile si poziţia aparatului pot influenţa temperaturile interne din cele două compartmente.
Positiile termostatului trebuie sá varieze i n functie de acesti factori.
Conservarea alimentelor in compartmentul frigider
Puneti alimentele aça cum este indicat in figura alăturata
A. Alimente gàtitè
B. Peste, carne
C. Fructe s i legume
D. Sticle
E. Oua
F. Unt, produse lactate, branzeturi
Notă:
- Distanţa dentre rafturiși peretele posterior al compartmentului frigider trebuie lasat liber, pentru a asigura circulata aerului.
- Nu asezati alimentete in contact direct cu peretele posterior al compartmentului.
- Păstrați lichidele în recipiente inchise.
- Chiar in conditi normale, pastrarea legumelore care contin o cantitate mare de apă (de ex.: salata) să duça la formarea condensului in sertarele inferioare si/sau pe rafturile intermediare; acest lucru nu impedică fonctionarea corectă a aparatului. In orice caz, vă recomandam să ambalati legumele, pentru a evita formarea condensului.

PUNEREA IN FUNCNIUNE A COMPARTIMENTULUI LA JOASÁ TEMPERATURA
Dacă intră în dotare, compartmentul cu temperatură joasa este un compartment de x stele.
Pentru perioada de conservare a alimentenor congete,
consultați indicatorile de pe ambalajele acestora.
La cumpărarea produselor alimentare congetate:
- Asigurați-vă că ambalajul este intact, deoarece produsele se pot deteriorora. Dacă ambalajul este umflat pau prezinta urme de umezeală, este posibil ca alimentul să nu fi fost păstrat în condiții optime,iar procesul de decongelare săÎnceput deja.
- Atunci cánd vă faceti cmpărăturile, alimentele congeilate trebuie cmpărărate ultimele; folosiți genti frigorifice pentru transporteul acestora.
- Imediat ce ajungeti acasa, introducei alimentete inghehat in compartmentul cu temperatura joasa.
Daca alimentetelesaudezghetat,chiari partial,nu le congelati din nou.Consumati-le in decursul a 24 de ore. - Evitati sau reduciţi la minimum varițiiile de temperatura. Respectati data de expirare indicata pe ambaj.
Urmati intotdeauna instructiunile de pe ambalaj referitoare la conservarea alimentenor congetate.
Producerea cuburilde gheata
- Umpleti tava pentru cuburi de gheata in proportie de 3/4 cu apăși așezați-o în parteia inferioriară a compartmentului cu temperatura joasa.
Daca tava s-a lipit de parte inferioroara a compartmentului cu temperatura joasa, nu folosi ti obiecte ascutite sa tiaoase pentru a odezlipi.

CUM SE DEZGHEATA Şİ CUM SE CURAΤΑ COMPARTIMENTUL CÜR TEMPERATUREA JOASÅ
Pentru o perfectă fonctionare, vă recomandam sădezghetați compartimentul la joasă temperatură càndstratul de gheata Formatting pe pereti atinge o grosime decirca 3 mm, Sau in orice caz de cel puțin două ori pe an. Se recomandiă să se efectuezedezghetaarea càndproviziile sunt minime.

- Deschideti uşa Şi scaoatei toate alimentele, inveliti-le in foi de ziar, in strâns contact intre ele,.si azezaşi intr-un loc foarte recce sau intr-o geanta frigorifică.
- Deconnectatu aparatul de la reteaua electrica.
- Lasaţuşa deschisa pentru a permite topirea ghettoi.
- Inlataurati cu un burete apa rezultata dindezghetare.
- Curataci cu un burete inmuiat intr-o soluie de apacaldutaa sidergentneutru.Nu folosiitproduse abrazive.
-
Clati ti si uscati cu grijaj.
-
Notă: Nu folosiţi obiecte ascuţite pau tăioase pentru a Úndeparta gheaţa; nu Úncălziţi in mod artificial compartmentul cu temperatură joasa.
CUM SE CURA T A COMPARTIMENTUL FRIGIDER
Curatai periodic compartmentul frigider.
Dezgheṭarea compartmentului frigider se face in mod complet automat.
Prezena periodica a picaturilor de apa pe peretele posterior intern al compartmentului frigider indicafaz de dezghetare automata. Apa reultata din dezghetare este indreptata automat spre un orificiu de scurgere, iar de aici se acumuleaza intr-un recipient de unde se evapora.
Curatai periodic partea interna a orificiului de drenare pentru apa rezultata dindezghetare,utilizand instrumentul din dotare, pentru a garanta scurgerea constanta si corecta a apei.
Inainte de a efectua orice operatie de curatare, deconectati aparatul de la reteaua electrica.
- Folosiţi un burete înmuiat în apă calduțăși/sau detergent neutru.
Clatiti s stergeci cu o laveta moale.
Nu folositi produse abrazive.

CURÂTAREA Şİ INTREŞINEREA
- Curățați periodice grilele de ventilare și condensatorul, aflate în partea posteroiară a aparatului, folosind aspiratorul Sau o perie
Curataci cu o laveta moale exteriorul
Pentru absente indel ungate
- Goliṭi frigiderul Şi compartmentul la temperatura joasa.
- Deconnecta ti aparatul de la reteaua electrica.
- Dezghetai compartmentul la joasa temperatura, curatai si stergeti ambele compartmente.
- Lasaşi uzile aparatului deschise ca sa preveniti aparita mirosului neplacut.

RECOMANDÁRIPENTRU ECONOMISIREA ENERGIEI
- Evitați expunerea aparatului la temperaturi foarte ridicate sau direct la razele solareși nu il amplasăti în apropierte caloriferelor sau a aragazului, deoarece incest lucru duce la creştereia consumului de energia.
- Nu blocatei orificiile de admisie sau iesire a aerului.
- Pentru a decongela alimentele, puneti-le in frigider, profitand astfel de temperatura scazută a produsului congelat.
- Reduceti CAT mai mult posibil freventa si durata de deschidere a usi.
- Nu introduci alimente fierbinti in compartmentul frigider.
- Nu lasaşi descisă uşa compartmentului cu temperatura joasa.
GHID DE REMEDIERE A DEFECTIUNILOR
1. Aparatul nu functioneaza.
- S-a intrerupt curentul?
Stecherul estie introdus corect in priz? - Intrerupatorul general este activat?
S-aarsiguranta? - Termostatul este setat pe -?
2. Temperatura din interiorul compartmentelor nu este suficient de scazută.
- Usile sunt inchise corect?
- Aparatul este instalataprope de o sursa de caldur?
- Setarea termostatului este corectă?
- Este blocata circulata aerului prin grilele de ventilare?
3. Temperatura din interiorul compartmentului frigider este prea rece.
- Setarea termostatului este corectă?
4. Există apă pe fundul compartimentului frigider.
- Scurgerea apei dedezghetare este blocata?
5. Becul intern nu fonctionează.
Controla mai intai punctul 1, iar apoio:
- Deconnectaţi aparatul de la rețeaua de alimentare cu energia electrică.
- Inlocuiti becul unul de putere egala sau cu puterea maximă, in waṭi, specificata in aproprierea diodei.
- Pentru a scoate becul: desfiletatai in sens antiorar, dupa cum se indica in figura.

6. Formare excesiva de gheata in compartmentul la joasa temperatura.
- Usa compartmentului cu temperatura joasa este inchisa corect?
Notă:
- Eventualele zgomote produse de aparat (clipocit s i suierăturcauzate de expansiunea substanțelor din circuitul de răcire ...') in cursul cicului normal de functiptionare sunt normale.
SERVICIUL DE ASISTENTÁ TEHNICÁ POST-VÁNZARE
Inainte de a contacta Serviciul de Asistentă:
- Controlaţi dacă nu este posibil să eliminati singuri inconvenientul (vezi "Ghidul de detectare a defeciunilor").
- Puneti din nou in functiune aparatul pentru a va asigura că inconvenienttil a fost eliminat. Daca rezultatul este negativ, deconnectati din nou aparatulși repeati operatia după o ora.
- Daca problema persista si dupa verificarile de mai sus, contacta Serviciul de Asistenta.
Specifications:
- tipul defectiunii,
- modelul aparatului,
- numărul de service (numărul care se găsește după cuvántul SERVICE pe plăcuța cu datele tehnice situata lângă sertarul pentru legumeși fructe),
INSTALLAREA
- Nu instalati aparatul lángǎ o sursa de caldură (distanță minimă: 30 cm față de sobele cu carbune sau cu ulei, 3 cm față de aragazele și cuptoarele electrice).
- Amplasati aparatul intr-o incapere uscata si bine ventilata.
- Nu blocate orificiile de ventilare ale aparatului.
- Curatai interiorul (consulta capitolele corespunzatoare).
Montaft accesoriile din dotare.
Racordarea la electricitate
- Conexiunile electrice trebuie să fie realizate în conformitate cu dispositiile locale.
- Informatiile referitoare la tensiune 山 la consumul de energia sunt indicate pe placuca cu datele tehnice, situata langi a serrarul pentru legume si fructe.
adresa dumneavoastracompleta,
- număr dumneavoastră de Telefonși prefixul.
SERVICE
0000 000 00000

Notă:
Direcţia de descidere a uşii poate fi modifică. Dacă operția este efectuă de reprezentantiș serviciului de asistență tehnica post-vânzare, aceasta nu este acoperță de guaranție.
- Impamntarea aparatului este obligatorie prin lege. Producatorul nu-şi asuma nicio raspundere pentru eventualele pagube aduse personel, animaleor tau bunurilor, rezultate din nerespectarea normelor mai sus mentionate.
- Daca stecherul si priza nu sunt compatible, solicitati unui electrician calificat schimbarea prizei.
- Nu folosi zi prelungitoare sau adaptoare
Deconnectarea electrică
- Deconectarea electrică a aparatului trebuie să fie posibilă fie prin scoaterea stecherului din priză, fie cu ajutorul unui intrerupător bipolar de rețea situat îniatea prizei.
CONEXIUNI ELECTRICE EXCLUSIVE PENTRU MAREA BRITANIE Şİ IRLANDA
Avertisment - acest aparat trebuie impamantat
Inlocuirea sigurantei
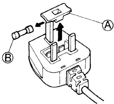
În cazulÎn care cablul de alimentare al acestui aparat este prevázut cu un ștecher cu sigurantață de tip BS 1363A de 13 A, pentru a schimba sigurantața la acest tip de ștecher, folosiți o sigurantață de tip BS 1362 aprobata de A.S.T.A.și procedați după cum urmează:
- Scoateci capacul (A) al sigurantei si siguranta (B).
- Monta'i noua siguranță de 13 A in capacul siguranței.
- Montati capacul si siguranta inapoi in stecher.
Important:
Capacul sigurantei trebuie sa fie remontat atunci cand schimbaiti sigurantha; in cazul in care il pierdeti, stecherul nu trebuie sa fie utilizes pana cand nu este montat capacul de schimb adevat.
Capacele de schimb adecovate pot fi recunoscute dupa insertiile colorate sau dupa numele culorii stanat in relief la baza stecherului.
Capacele de schimb sunt disponible la magazinete de specialitate locale.
Numai pentru Republica Irlanda
In general se aplică informațiile referitoare la Marea Britannie, dar se mai foloseșteși un al treilea tip de stecherși priză, cel cu 2 borneși cu impamântare lateră.
Priză / stecher (valabil pentru ambele târi)
Daca stecherul montat nu este adecvat pentru priza dumneavoastră, va rugam să contactați serviciul de asistență tehnica post-vanzare, pentru instructiuni supplementare. Vă rugam să nu incercați să schimbați pe cont propriu stecherul. Această procedură trebuie efectuata de un tehnician calificat, în conformitate cu instructiunile producătoruluiși cu normele standard de siguranta aflate în vigoare.

Notice-Facile