BCB 7030 E C AA - холодильник морозильник HOTPOINT - Бесплатное руководство пользователя
Найдите руководство к устройству бесплатно BCB 7030 E C AA HOTPOINT в формате PDF.
Скачайте инструкцию для вашего холодильник морозильник в формате PDF бесплатно! Найдите своё руководство BCB 7030 E C AA - HOTPOINT и возьмите своё электронное устройство обратно в руки. На этой странице опубликованы все документы, необходимые для использования вашего устройства. BCB 7030 E C AA бренда HOTPOINT.
РУКОВОДСТВО ПОЛЬЗОВАТЕЛЯ BCB 7030 E C AA HOTPOINT
| PyССнй | Инchest阴阳аю по пльзованю рпбором | Стравица 4 |
| KA3AK TП | Нужайлар угелядik ушin | Бет 10 |
| УКРАйHCьHA MOВА | Инchest阴阳дз ВИКорисваимя | стор. 16 |
ПЕРBOЕ ИСПОЛьЗOBАне
IopKJIIOUHTe npu60 K 3JIeKTPnuecckO cETN.
B moTeJx C 3JIeKToHbIMn DaTChkAmn BO3MOKeH 3ByKOBo CNrHaJI, O3HaayAoUm aKTINBaUIO TEMpeApTyPhoN CnHnAIn3aUm; BbIKIoUHTe 3ByKOBo CNrHaJI HaKaTHEm KHOJKN. YCTaHOBtE aHTNo6aKTePnaJIbHbIy FInbTp Microban n BeHTInJTop, KaK nOKa3aHO Ha yNaKOBKe FInbTpA.
Ппмочанne:посл Бкючehиппбора He6xOДМО BыДаТь 4-5 ДЯ ДОCTИЗЕНЯ Temператы, He6xOДМО ДЯХаненя OБьHORO KOЛУСЕТВА роДуКТов.
ЧИСТHA И YXOD 3A ПИБОРМ
PeyIaRHO BbIOJHnIte YnCTHy npIbOpa, NOJIb3yIcB TpIaNKO, CMOeHHoB pAcTBope TeIIO BoIc HNeITpaJIbHbIM YNCTaIIM cpeCTBOM, PpeHa3HaueHbIM CneUaJIbHO DJIY NCTKIN BHYtpeHHIX NOBepXHocTe XOLOdINbHnKa. He NoJIb3yIteCb abpa3INbHbIM OuCTnTEJMa. B CEJIaX ObecneUeHn HAJIeKaUeTO NocToHHORo CTOKa TaIoi BOiDpeYIaRHO npOuNJaTe CInBHOE OTBepCTHe Ha 3aJHcNCTeHKe XOLOdINbHO KAMEpbI OKOIO RaIIHcIA dJI FpyHTOB IN OBOUeC n NOMOUsbIO npNJlaRaEMO INHCTPyMeHTA (CM. pncyHok).
Ipeed BbInonHeHem KaKx-1n6o Oepaun no yXoDy nIu ChTke BbIHMaIte BnIky n3 po3eTKn nn OTKIOUoyaTe 3JeKtpoNTaHne.

3AMEHA OБыч"HОЛ JAMNoCHN ИЛСВETODINOHDHOLJAMNoCHN
(3aBnCt OT MOnEnn npN6opa)
Ipeed 3aMeHoiJaMNoKuBceRa OTHIOUaHTe np6Op OT 3JeKtpnuecko CetN. CneDuYTe HNCTpykUmaB 3aBcIMOCTn OT TIna JaMNoKuB BAWeM np6Ope.
3aMeHnTe IamNoUky HOBO, c aHaIOnrUHbIMN XapaHTepnCTnHaM; IaMNoUKN MOxHO npno6peCTn B cepBnCHOM zentpe n y aBOTOpn3OBaHHbIX dIcTpNbIoTOPoB.
Tn lamnochu 1)
TTO6bI CHaTB JAMnOuKy, BbIKpyTNTe ee npOTNB YacOBN CTpeJKN, KaK POKa3aHO Ha pncyHKe. IpeJHe YeM cHOBa NODKJIIOHTb np6Op K CetN, NODOXINTE 5 MNHyT.

-06bIuHaJaMnOuHa(MaHc.25Bt)

Jamnoyka
HUN
-CBToIIOID (CTEMH XapaHTepnCTNkAMN) DOCTyIeH TOIbKO B CEPBCHOM UeHTpe

CBETOIN
TnI lamnoHn 2)
EcnB npnbope HmeoTcBcTeODnObl, KaK poka3aHO Ha pncyHKe HHe, IN Bam Heo6XoIMO n3 3ameHtB, o6paTntecb B cepBnchbI ueHTp.
CBeToIIObI cIyHaT OJIbIe O6bIHyIx IaMIOueK, OHI IOBbIshaOT BnIMOCtB IABJIYOTc 3KOJIoTNHbIMN.



ECIN ПИБОР НСПОЛьЗYETСА
OTHJIIOHTe np6Op OT 3JeKTPoNITAHnI, ONOP0HnTe, pa3MOp03bTe (pnp Heo6xoJIMOCtN) n OuchTe. OcTaBte DBepy CJIerHa pnpOTkpItOTo, TTO6bl ObecneuHTb cHpyJauCIO BO3dyXa B OTOpeHnIX. 3TO PO3BOJNT Bam N36ExaTb pa3BNTra PLeceHN H enPpA rTHbIX 3anaXOB.
В СлучAE ПPEРыВAHЯ NOДЧИ эЛЕКТРОЗHEРГИN
ДерхиTe Дьеру 3akpbIToI: 3TO NO3BOJIIT COXpaHЯrT IIpoJyKtBi B OXlaJxDEHOM COCTOHRn TAK DoJIro, KaK ToIbKO 3TO BO3MOxHNo. He 3amOpaJINBaIte CHOBa YAcTHUHO pa3MOPoJxHeHHbIe IpoJyKtBi. ПпдлтелбHOM OTKIIQUeHEn 3JeKTPo3HeprNn BO3MOxHOb BHJIQUeHne 3ByKOBOrO CInHaIa (B np6obpax, obopuydoBaHNbIX 3JeKTPoHHbIMn DaTnKamn).
XOJODINbHAn HAMEPA
XoIOniNbHaJa KaMepa IpeHa3HaueHa JIy XpaHEnn CBeKnx IpOdyKTOB HAnITKOB.
Pa3mopaaHbAHne XoIoAnIbHOH KAmepbl npOcXoHT NOJIHOCTbIO ABTOMATueCHN.
IorBHe He Kaenb BoDbl Ha 3aHne CTeHKe XoIoNlbHo KamepbI yKa3bIbaeT Ha npOcecc ABTomatuecKOro pa3MopaxHBaHn. TaJae BODa CTeHaet Ype3 CInVBHOe OTBepCTHe B CteuHaBHyO eMKoCTb N 3aTeM HcnapraTcR.
B 3aBnCIMOCTH OT MOeJIH XOJOnIbHnK MoJcT 6bITb O6OpyOBaH CTeuHaJIbHbIM OTdJeHHeM C HynEBoT TempepaTypoJ Activ0°, KOTOpoe IealbHO NDoXoDIT JIra XpaHEnr CBExeR MoCa n pbl6bl.
IpeodocetepexhenHe: He MoTe npHaJdLeKHOCTx XOLOdJIbHnKa B IOCydomoeHOn MaunHe.
Примочан:ВЗвсимоctиOT TemпepaТурьВОзdyхВnomeшен,OTTOH,HaCKoЛькочсTo OTHpbIbAIOCTЯДерцИNOT MeCTa paCnoLoKeHnIпибopa BHyTpehHЯ TemпepaТураВобoxOTdelenHЯ мОжET OTlinuCatc.УстанавлвайTe TempepaTpyB3abcImocTиOT 3TNXфakTopOB.
PnmeaHne: B NOMEeHNx C OueHb BbICOKO BlaJHOCtBcO B XoJOnIbHO KAmpe MoKeT o6pa3OBbIbTaC KOHeHcAT, B OcoBeHHocTn Ha cTeKJIaHbIX nOLkax. B 3ToM cLyuae peKOMeHdyETcA kpbIbBaT b KpbIiHKoE MHKoCTn C npOyKTaMn (HaNPmEp, KaCTpOJI), 3aBopaunBaT pOdoYkTb C BbICOKIM CoepJhaHem BObl (HaNPmEp, OBOU) IN BKNIOuAtb BEHTnJIaTOp, ecn OH npedymOTpeh B daHHoM MoJeN.
N3BLeueHne AunHa Ia OBOeH N puyHTOB (B 3aBnCmOCTn OT MoJeH)
IotraHnTe JaunK Hapuy Do ynpa, npnoDnHmnte N BbHbTe.
Дя удалени наледи сецmaльно ролки STOP FROST BOCnoIb3yITecs bОпсаннои Нже npoceуров.
Примочанe:ТхическeХаразсерпстни приборa,Вьлючая обьемиnotребягую мошноctb,pacchntbibaotc8e3учетаспuaльhoи полк STOP FROST.
OTDEJEHEHNE C HUJEBOI TEMNEPATYPOI ACTIO
ПОДДРьЖHA И ПОЧИCTBAHE HA YPEДА
IOnCTBaIe TnoHkora YpeDa C KbPna I pa3TbOp Ha ToIIa BODa I HeyTpalnI NoOCTBaUIN npenapatN, CneuaJIHo npedHa3NaueHH 3a NoCTBaHe Ha BbTpewHOCTTa Ha XJaIINHka.
He n3noI3BaIte abpa3nBHN noNCTBaU npenapatn. 3a da ce rapaHTnpa HnepeKbchato n npabuHNO OTTHMaHE ha BOdaT aO 06e3cpeKbAbaHEto, NOHCTBAIte peDOBHO OTBbTpE Tpb6aTa 3a 13TOUbaNE, KOJITo Ce HA Ib6ha Ha XlaDINHnHa, B 6In3OCT 0d KeMmJKeTo 3a IIODoBE n 3eJeHNyU, KATO I3No3BaTE npedocTabeHn IHCTpymENT (BnKeTfeHnrypata).
IpeiN 3BbPwBaHe Na IOpdpbXHa NIN NoOYCTBaHe N3BaTe UeNCeNa OT KOHTaK Ta NIN N3KJIQUte YpeDa OT 3axpaHbAHeTo.

CMRAHA HA KPYUHKATA HA JAMNCHATAHJIN HA CBETODNOHA KPYSHA
(B 3aBnCmOcT OT MoEla)
IpeNi noMraHa Ha KpyuKaTa Ha lamnUkata BnHarn n3KJIouTe ypeDa ot 3axpaHbaHeTo.
Ihctpykunnte no-doly ca 6a3npaHa Tnna Ha KpykaTa Ha lamnnuKaTa 3a Baan npoDyKT.
Iopmehe Kpykata c taKaba cbc cbuHte XapaKTepeNCTnKn, HJIuHa OT OTdela 3a TeXnuecka nOmoU nOTOpnHaPAnHe TbproBUn.
Jamnnuka tnn 1)
3a da otctpaHnTe KpyuKaTa Ha JAmmNvKaTa, pa3BnTe o6paTHo Ha yacOBHNKOBaTa CtpeJka, KaTTo e NOKa3aHO Ha fHypata.
I3yakaiTe 5 MNHyTn, npedn da cBbprKeTe OTHOBO ypeJa.

- cTaHdApTHa KpyuKa Ha NaIamnUkKaTa (MaKc. 25 W)

В Случай НА НЕЗПОЛ3BAHE HA YPEДА
I3KIOUeTe ypeaOxpaHbAHeTo, I3PpA3HeTe ro, I3BbPseTe o6e3ckpeHaBaHe n (aHo e Heo6xoJMo) ro nouCteTe. OcTaBeTe BpaTtTe leko OTBOpEHH, 3a da ce no3BOJIu CnPKyJauCiHa Ha Bb3dYbTpe B OTdeJeHnra. Po To3n Nauchn Ce I36yBa obpa3yBaHe Ha NleceHn HEnpIaTHMmN.
В Случай НА ПЕКъСВАНЕ HA 3AXPAHBAHETO
ДрьжтЕ вразиTe 3aTбореи ТаК, Que xpaHnTe Д a octaHaT CTydeH N KOлКоТ e Bb3MOxHNO NO-ДЛго. He 3ampa3ЯBaIte OTHOBO yacTnH O pa3mpa3eHn XpaHn. B clyuay H Na npoDbJlnKTeJIHO npeKbcBaHe Ha 3axpaHBAHeTo, MOke Да ce aKTHBnPa aIapMaTa 3a npeKbCBAHe Ha 3axpaHBAHeTo (npi npoDyKTInTe C eJeKTPoHn KOMNoHEHTN).
OTDEJEHEHNE HAXIAIINHnHA
OTdJIeHHeTo Ha XlaIaIIHnKa IIO3BOLIbA bXpaHbAbe Ha IpeCHN XpaHn HAnITKn.
Пьлно My o6e3chpekaBaHe e aBTOMaTHNo.
HaJIyIeTo noHJKOra Ha KaIKN BODa NO BbTpEshHaTa 3aJaHa OTeHa Ha OTdJeIeHHeTo e pIn3NaK, Ye E bXoD fAs3aTa Ha aBtOMaTHUHO oBe3cKpeJHabAe. BoDaTa OT oBe3cKpeJHabAeHo Ce OTBeJbA TpB6aTa 3a H3TnuaHe n Ce Cb6bRa B CbD, OTkbDeTo Ce H3napBa.
B 3aBnCIMoCT O T MoEla, PPOyKTbT MOHe Ja pa3noIara cbc CneuHaHO OTdJeHHe „Hyla rpaDyca", KoETO e IealNo 3a cbxpaHraBaHe Ha pRcHo MeO n Pn6a.
PpeynpeHene: He nouchTbaite aKcecoapnte Ha XlaIINHa B CbDMnHa MaHHa.
3a6eJekHa: TemnepaTypaHa Ha OKolHaTa CpeDa, YecToTa Ha OTbaprHe Ha BpaTte N MeCTOnOLOKeHneTo Ha ypeDa
MOrat da OkaKaT BnIaHHe BbPxy BbTpEaHHTe TempeaTpyn B DBeTe OTeJeHn. HAcToPe Te3n TempeaTpyn B 3aBcImoCT OT Te3n fakTopn.
3a6eJekHa: npu yCNoBnHa rOJaMa BnAHHoCT B OTeJeHneTO Ha XlaAnlHnKa MOHe da ce o6pa3yBa KOHeH3aun, OcOBeHO nO CTbKLeHnTE paTObE. B To3n CnyaJ ce npenOpbUba Da 3aTbOpHTe KOHeHepNTe C TeuHocTN (HaNP. KOHeHep c 6yIbOH), da OBnEte XpAHn C BnCOKo CbDpbXaHne Ha BOda (HaNP. 3eJIeHcyu) n Da BKNIOHTe BEHTInaTopa, aKO Ima TaKbB.
OTcTpaHbAHe Ha YeHMeJxHTo 3a NIOOBe H 3eJeHcyuN (B 3aBnCmOCT OT MoDeJa)
I3TeIe Te YekMeJKeTo 3a IIOIOBe N 3eJIeHcyuN, DOKOJIKOT O N3JIIN3a, NOBUNrHeTe I rO N3BaJeTe.
3a da e no-neeCHO n3BaJxJaHeTO Ha YekMeJKeTo 3a PIOOBe H 3eJIeHcyu, MoKe da e Heo6xoJIMo da nI3PnPa3HNTe (N BepoTHO Da OTCTpaHnte) DbaTa DOJIHn paΦTa Ha BpaTaTa N CneD TOBA da IpoDbJInTe C n3BaJxJaHeTO Ha YekMeJKeTO.
BentnlaTOp n aHTn6aHTepHaJIeH fNJIbP npOTNB MnpH3Mn (B 3aBnCmocT ot MoDeIa)
BentnlaTOpbT no3BolraBa paBHomepHo pa3npedeJeHne Ha TeMnepeAtypnte B OTdeJeHnraTn B pe3yIaT ha ToBa No-do6po 3ana3BaHe Ha XpaHIne n HamaJIbaHe Ha N3LIuHaTa BJaXHoCT. He 3aKnBaIte BeHTnlaUHOHHaTa O6Lnact. BeHTnlaTOpbT MoKe Da ce BkIOUBa/N3KIOUBa pBuHO (BnIXTe KpaTKoTO p'koBOODCTBO); aKO e BKNIOUeH, ToJ pa60TH aBtOMaTHUHO, KOraTO e HeO6XoDIMO.
OTDéJEHEHNE HA ΦPN3EPA
MoJeI c OTdEJIHo OTdEJIeHne Ha φpN3epa
OtJeHHeTo Ha oBn3epa 103BOJBA cBxApaHHe Ha 3aMpa3EH XpaHn (3a nepno, nocoue H a onakOBkata) n 3aMPa3BaH He npesn XpAHn. KOJIueCTBOTo Ha npesHte XpaHn, KOHTo MOrat da 6bDat 3aMPa3EH 3a 24 Yaca, e NocOeHO Ha TabEJaKATA C OCHOBHTE DaHH. IOppeTe npesHte XpaHn B oBlaCTTA 3a 3aMPa3BaH Be OTJeHHeTo Ha oPn3epa (BHXTe KpAtoTO pBkoBOdCTBO), KaTO OCTaBNTe DOCTaBTHO IpocTpaHCTBO OKOIO XpaHnTE 3a OcNpyraBe H CaBOODHO ZINPKUInpae H BA3dyx. IpenopbYBa Ce Da He 3aMPa3BaTe OTHOBO qactuHNO pa3Mpa3EHte XpaHn. OT BaXHo 3NaueHne e Da OBnTe XpaHnTE Taka, Ye Da Ce Bb3npenTCTBa HABIN3aHeTo Ha BOda, BLaXHOCT NIN KOHNeh3aun.
IpaBeHe Ha IeDenH Ky6yeta
HaHbIhete 2/3 ot BaHnUkata 3a Ie (aKo e HaNiUHa) c BOJa n a NOCTabeTe o6paTHo B OTdJIeHHeTo HaФpIsepa.Пи NIKaBn O6cTOrTeJIcTBa He N3POn3BaJTe OCTpr NIN 3aOcTpEHN PpeMeTn 3a IN3BaJkaDaHe Ha IeJa.
OTcpanhahe Ha YehMeDHeTaTa (B 3aBnCmOCT OT MoEla)
I3TeTneTe YekMeJKeTa Ta HAbhN,doKoJIkoTo n3n3aT,poBdHrHeTe n rN 3BaTe.3a oCnHypRaHe Na NObeue npocTpaHCTBO OTdeJeHHeTO Ha φpns3epa MoKe Ja ce n3noJ3Ba 6e3 YekMeJKeTeTa.
YBepete ce, ye BpaTaTa ce 3aTbapr npabnHcIeI noCTaBHe Ha xpaHte o6paTHo Ha cKaPHTe/ paTOBete.
KAKДАОБE3СКЕХABATE OTДЕЛECHNETO HAФПЗЕР (ВзависимоCTOTмделя)
3a moJeIte 6e 3ckpeH He e Hno6xOIMO da ce H3BpWBat npoceDpynte 3a o6e3ckpeHaBaHe.
3a pyn moe HATpynbAHeTo Ha cKpeH e HopMaJIHo.
KolnueCTBOTo nCKOpocTtHa HaTpynBaHe Ha CkpeB Bapnpa B 3aBncMOCT OKOLHnTe yCIOBnIy cheTOTATA Ha OTbapnHe Ha Bpata. IpenopbUba ce da HacTpOte TempepaTpaTa Ha no-HNcKa nI, aKe e HaJIuHa, da BkLIouHTe FyHKnraTa 3a 6bP30 3aMPa3raBaHe (BnKTE KPAhTO pKHOBOCTBO) YeTIpu Naca Ppei N3BaJdaNe Ha XpaHnTe OT DeJeHneTo Ha φpI3epa, 3a Da ce yIbJIHN 3ana3BaHnTo Ha XpaHnTe NO BpeMe Ha FaaTaHa OBe3ckpeKabae. 3a Da oBe3ckpeKnTe, n3KlUoTe UpeA n I3BaJedTe YekmedJHcTeTAta. NocTabeTe 3aMpa3eHnTe xpaHn Ha XlaJHo MRCTo. OCTabeTe BpataTA OTBopeHa, 3a Da ce No3BoJIn pa3TONPaBaHTo Ha cKpeXa. 3a I36rBaHe Ha nI3nI3aHTo Ha BOdA Tn BpeMe Ha ObE3ckpeKabAHeto Ce npenopbUba Da nocTabeTe abCop6eHTHa Kbpna B DOJIHaTt NaCT Ha OTDeJeHnETo Ha φpI3epa N da JnI3CTNcKBate peDOBHO.
IOnucTeTe BbtpeHooCTTa Ha OTdJIeHHeTo Ha pIn3epa I rO nOcCyueTe BnImaTeJHO.
B.Отденице за НИСКA TemпepаТура (akO\*\*\*\* UMa TaKOBa)

Hai-CTydeHaTa 30Ha

По-mалкостудана зона
3a6eIexKa:БpoTHa paΦTOBete N TUNa H npuHaJIeJXHOCTnTe MOKe Ja Bapnpa B 3aBNCIMOCT OT MoJeJa.
BcunKpafoBe,noCTabKnHa BpaTnKaTa nIOCTaKn MoRaJa Ce CbAJIr.
Baxho: npuHaJneXHoCTHe Ha XlaIaUNHnka He Tp6Ba Da ce MmT B CbDOMnHa MaunHa.




OPRAHn 3A YYPABJIEHNE
A. ByToH Ha TepMoCTata
B. Muraça lámnpuča
D. Beiner 3a OTuHtAHe Ha NIOJKeHNeTo Ha TepMOCTata
E. KpyuKa Ha NaMnNkKaTa

KAKФункционирАОТДЕЛEHNETOHA XладинИКА
To3n ypei npEcTabIbRA aBTOMaTnueH xJaIINHnK nIIn XJaIINHnK COTJeJIeHne 3a HnCKa TempeAtypa, O3NaueHO C 3Be3nUKN.
06e3ckpexkabaneHo aTdeJeHneTo Ha XlaaIIHnka e HantbIHO aBTOMaTHUHO.
XlaIINHKnBtMOKe DaФyHKUHOHnpa npi TemnepaTpaHa OKoJHaTa cpea ot +16^ do +32^
BkIIOUbaHe Ha xlaIaUNHnka
BkIIOUcTe ⅢeCena Ha ypeDa B KOHTaKTa Ha eJIeKtPo3axpaHbAHeTo.
ByToHbT Ha TePmOCTaTa Ce I3NoI3Ba 3a HacTpoBvAHe Ha TempepaTpaTa B OTdeJeHneTO Ha XJaIINHnKa, KaKTo I Da Ce NODIbPka TempepaTpaTa B OTdeJeHneTO C HnCKa TempepaTpa.
PerynipaneHa TemnepaTypata
Ako Tpra6Ba da perylnipate Temnepaypata B OTdeneHneTo Ha XlaadinHnka, 3aBbpteTe KOIyeTo 3a perylnipane Ha TePMocTaTa:


- Na NO-MaJIKNTe YIcna 1-2/MIN 3a UMEPEHO HNCKN BbTpeHn TempepaTyPi;
- Na YNCSa 3-4/MED 3a CPEHATempePaTpa;
- Na YNsca 5-7/MAX 3a HAI-HNCKA TemnepaTpa.
PnTePMoCTaT,HaCTpoeH Ha · :yHKuNTe Ha ypea NOCBtneHHeTo ce PpeKbCBaT.
3a6eJekka:
Tempepatata Ha OKolnHaTa cpea, yeCToTaHa OTBapHe Ha BpaTnUkata N IO3nIyTa Ha ypea, Moat da NobnraT Ha TempepatypTe BbTpE B DBeTe OTdelenHn.
IonoJKeHnTaHa TepMoCTaT TaP6Ba Da Ce npOMEHT B CbOTBeTCTBnC Te3nΦakTopn.
KaK da ce cbxpaHbAT xpaHHTeHnHTe npOdyKTu B OTdJeHHeTo Ha XlaDInHnKa
HapejdaIte npodykTITe, KaKTo e noka3aHo Ha cnrgypata
A.「TObEHnЯCTHn
B. Pn6a, Meca
C. Плобови зеленицn
D. BytniKni
E. 原uα
F. MacNo, MlleuHn n3dEIny, cUpeHe
3a6eIeKka:
Pa3cTOnHHeTo MekJy paΦTOBete N 3aHaTa CTeHa Ha XJaIINHnKa OCIngYpRbCa CBo6OJa HcNpKynaun Ha Bb3Dyxa.
- He noctabraye xpaHa B npraKo cBnpiNKOCHOBHe CbC 3aHaTa CTeHa Ha OTdJeHneTo Ha XlaDnHnKa.
CbxpaHbAaTe TeuHOCTnTe B3aTBopeHcDoBe.
-Дори пир Нормалну усовь,сыхаяразьанeto Ha зелени C висок CBдржане Ha Вда (нарр:: canata)да п dedиЗвка образьданeto Ha конденTВ ДОЛнТЕ YЕКМДЖЕТИ /ИПИ NO мекдиннгпет paФтove;TOBA He песиHa павинноToфункциюнранe Ha урда.Бв Всени Stчай,пpenopьчаме да се onakoba зелениka,зда се n36berHe obразьданeto Ha KohdeH3AT.

KAKФУнкциониРА OTДЕЛЕHNETO 3A HNCKA TEMПЕРATYPА
ОтделениTo c Hncka TemnepaTpa, ako nma TaKOBa, e O3NaueHo C 3Be3dNcK.
3a nepnoja Ha cbxpaheHne Ha 3ampa3eHH XpaHNTeHH npoJyKTn, BNXTe KaKBO e NocOueHO Ha onaKOBKnTe Ha npoJyKTnTe.
Pn3aKynyBaHe Ha 3ampa3eHa xpaHa:
- YBepTe ce, Ye onakOBkTa uIIN naKeTbT ca zen, TbJ KaTo npOdyKTnte MOxE da ce pa3BaJIaT. Ako onakOBkTa n3rIeXJa hAnyTa uIN c MOKpn NeTHa, MoxE da He e 6uHa CbXpaHЯBaHa pRn ONTImaJIHnTE yCIOBnI pa3Mpa3raBaHeTo MOxE BeYe da e 3anOuHaNo.
Korato na3apyBaTe, KynyBaTe 3ampa3eHnTe xpaHn HakpaHa Na3apyBaHTo n rTpaHCnpTpupaTe B n3OJIpapaH TepMo YaHtA.
Korato CTINHHeTe y Doma cn, BeINHara NocTaBeTe 3aMPa3eHnTe PPOyKTu B OTdJIeHnETo 3a HnCKa TemnepaTypa. - Ako xpaHnTe ca ce pa3Mp4a3nIu Iopu nactuHNo, He rI 3ampa3raBaIte OTHoBO. KoHcymnpaiTe B pAMKnTe Ha 24 qaca.
- I36raIte nIIHaMaJIaBaIte Do MInHmym TempepaTpHnTe npomeHi. Cna3BaIte daTata Ha n3TnUaHe Ha cPoka Ha rOdHocT Ha onaKOBkata.
BnHaTn CnA3BaIe TnHCTpyKuINTe, yKa3aHN Bbpxy OnaKOBkata 3a CbXpaHЯBaHe Ha 3aMpa3eHn pOjkyTN.
IpaBeHe Ha JeDeHn Ky6yeta
HantbIhTeΦopMnUkAta3aIeIdo3/4cB0daIy IocTaBeTeHaDbHOToHaOTdeJIeHHeTO3aHNCKa TemnepaTypa.
AkoΦopMnUkata 3a 06pa3yBaHe Ha IeI, 3aJIenHe Ha DbHOTo Ha OTJeIeHneTO 3a HNcKa TeMpePaTpya, He I3IOn3BaIte OCTpN nII pExeI npEdmTe 3a OTJeIbAHetoI.

ОБЕЗСКРЕЖABAHE И ПОЧИCTBAHE HA OTДЕЛЕΗNETO 3A НИСКА TemпЕРATYPA
3a eJNO nepfekTHO fynKcHIOHnpaHe, Bn npenOpbUBaMe da ce n3BbPbWA o6e3ckpeXabaHe Ha OTdeneHMeTo 3a HNCKa TEMNepaTpya, KOrato O6pa3yBaJImaCe No CTeHnTe neIdoCTurHe De6eJIHa OKo1o 3 mm, IIN, BBB CCEKn CnyaH, NOHE 2 nbTu B roDmHaTa. PpenOpbYBaCe, da ce n3BbPbWA o6e3ckpeXabaHe ,Korato 3anacnte Ca MHNImAInH.

- OTbOpete BpaTnUkKaTa N 3BaJaTe BCnUKn XpaHn, KaTO rN onaKOBaTe B'BB BeCTHnK I nO OCTaBnTE DoPpeHn eHa DO dpyra Ha B'3MOxHO Hau-CTyDeHO M'rTO NII IN B XlaIINHa YaHTA.
2.ИЗключeteурEDAOTeNEKtpuyeckaTAtMpeka. - OctaBeTe BpaTnUkata OTBOpEHa, 3a da ce pa3ToPi CKpeKbT/JeDbT.
4.ПонитecгбаBoDAta,KoЯTOce6Obpa3yBa npuO6e3ckpejkaBaHe.
5.Почисте сгба наноевы раьтвор нахлада вoda и Heytrpanen Мялени пpenapat. He n3палзваite abpa3NBHn BeuecTba.
6.Изплakнeteи посушete.
3a6eexka: He n3non3BaIte octpr npedmetn nn MeTaN H octpne Ta 3a CBaJIHe Ha cKpeX He CTonJIte N3KcTBeHO OTdJeHNeTO Ha XlaDInHnKa.
ПОЧECTBAHE HA OTДЕЛECHNETO HA Xладильнka
IOnuCTBaIte nepIOdNHyO OTdeJeHneTo Ha XlaDnJIHnka.
06e3ckpekxaabaHTo Ha OTdeneHMeTo Ha xnaunnHa e HAnbJIHO aBtOMaTnHo.
IpeNIOuHOTO NOBBAHe Ha BOdHi KaIKn Bbpyx 3aHaTa BbTpeWHa CTeHa HA OTDeENHeTO Ha XlaDiNJHnKa e CBNiTeETCTBO 3a a3aTA Ha ABTomATNuHO 6e3CKpeKabHe. BoDAto OT 6e3CKpeKabHeTo Ce OTBeJka KbM OTBOP 3a OTtUaHe, CneI KOeTO Ce Cb6InpBa E EDINCB, OTKbTeTO Ce n3napraBa.
IOnuNCTBaItepeoBHO BbTppeuHocTtHa OToBopa 3a OTUHaHe Ha BOdATo OT o6e3CKpeXabaHe, KATO u3nO3BaTe npEoCTabEHHn PnIbOp, 3a Da ce paaHTnpa NoCToRrHhOTO n npaBUNHO u3NTuHaHe HA BOdATo OT o6e3CKpeXbaHe.
Ipei Da n3BbPshTE KaKBaTO n da 6nlo onepaunno nOpoNCTBaHe, n3KJIuOteYpeDa OT eJekTpnuCeKaTa MPeJa.
ПОЧИCTBAHE И ПОДДРьЖKA
-Перионино поочьтBEHTINaLIOHnITe OTBOPN KONdeH3aTopa,pa3noJoxKeB 3aJaHaTa YacT Ha UpeDa,C NOMOuTa Ha npaxOCMyKaUka NIIY YeTka
- Почистов Te BншаТа час с Meka Кьрпа
Pnp npoobnxTeHH OTcbCTBnA
1.Изпраз overheToОденийяТаHaХладинka Ифризера.
2.ИзклочeteуuropeаOTеелктучесkaТмржа.
3.Obe3ckpexkete OTeJelenHeNoTo 3a Hncka TempepaTpa, noNCTeNe I NOcCyWeTe N DBeTe OTJeHnIy.
4. Octabete BpaTIne OTBOpEHn, 3a da n36erHeTe 06pa3yBaHTo Ha loSi MmPn3Mn.

CbBETN 3A NKOHOMN HA EHEPnIa
- ɪЗбягва对接и зларанeto Ha урета Ha Mного високи Temператур, сльнчеви Лчи, пль в блзост дкалорифери плпески, тьн кato моче за ce увелочиnotpeбленьют ha ekektpoeheprira.
He 3aKpnbAitE OTBOpnte 3a BeHTnlaucn IIN 3a n3nyckaH e Ha Bb3dyx.
3a da pa3mpa3nte xpaHnTe, nOCTaBeTe rB XlaIaJIHnKa, I3PON3BaIKN IIO TaKbB HauHH HnCKaTa TEMpepaTpa,OTdEJaHa OT 3Ampa3eHnI npOdyKT.
OrpaHnueTe KOJIKOTo e Bb3MOxHO BpeMeTO Ha OTBaprHe Ha BpaTnKata.
He noctabraye B OTdeneHneTo Ha xnaunnka BCE OSe TOnn XpaHn.
He octabayte OTbopeHa BpaTnukata Ha OTdeneHneTo 3a Hncka TemnepaTypa.
OTCTPAHЯBAHE HA HEN3ПРABHOCTN
1. YpeBt He pa6otn.
- Имало ли спекксвано на сеелтрозахранhaheTo?
- Μενεπβτ πρανηλίονι Μι e BΚλίουην ε ΚΚΟΤΑΚΤα?
BkIIOueHJIe rIaBHnT npeKbCBAq? - Има ли узrogenпреддацент?
- HaCTpoEHJN e TepMOCTaTbT Ha?
2. Temnepaypata BbB BbtpewhoCTTa Ha OTdelenHnra He e doctaTbHnCKa.
-Добpe пи са затворец вbatчкпe?
- MoHTiPaN JIe ypeJbT 6JI3O Do I3ToUHnK Ha TOnJIuHa?
- Правлино ль сострей Термостаю?
-БлOKирани пса BeHTnlaционнITE peшeТкИ?
3. Temnepaypata BbB BbTpewHOCTT ha OTdJeHneTo Ha XnaDInHnKa e TBbpDe Hncka.
- Правлино Ли有很大 trade in the market?
4. Ima Boda Ha D'hoTO Ha OTdeJeHneTo Ha XlaDnHnKa.
3aanyuheHaIe Tpb6aTa 3a I3TnuaHe Ha BoDaTa OT o6e3ckpekxaBaHeto?
5.BbtpeunHOToOCBtneHHe pa6oTN.
I3BbPse Te npBo NpOBePKite B TOka 1, a Cnei TOBa:
-ИЗкlioуete урда от eнelктуро3axpaHbaHeTo.
CmeHeTe KpyuKaTa C taKaBa CbC cbUaTa MaKcMmaHa MoUHOC T bB BaTOBe, yka3aHa Do OCBeTInHOTO TraNo.
3a da cmeHnte KpyuKaTa: pa3BnIteЯ o6paTHo Ha yacOBHnKOBaTa CTpeJIka, KaKTo e nOKa3aHo Ha fInrypaTa.

6. Ппекомернообразуваны счрж В OTденинeto 3a Нскни Temперау!.
-Добpe Ли се 3aTbapяВpaTnKaTa Ha OTdJIeHHeTO 3a Hncka TempepaTypa?
3a6eJexka:
- Tp86Ba da ce cunTat 3a HopMaJIHn eBENTyaJIHn npomeHn B yMa (6bJ6yKaun 3Byu, duXaHe.....), npou3Tuauo nO HopMaJIHOTo yHKUONHpaHa XlaIINHka.
CJIINPOJAKBEHO OBCJYKBAHE
Ipeu da ce o6bprHeTe KbM CepBn3a 3a noDpBkKa:
- YBepete ce, ye He e Bb3MOxHO da OTCpaHInTe HEn3npaBHOCTTa camn (BXK. "OTcTpaHraBe Ha HEn3npaBHOCTN").
- BkIIOUeTe OTHOBo ypeDa, 3a da npOBepuTe DaJIH HEMIINPABNHOCTTa He e pneOdoJHa. Ako pe3yIITaTbTe oTpNiCaTeJeH, n3KIOUeTe ypeDa OTHOBo I CJIeD eJIn cAc NOBTOpeTe ONEpaJraTa.
3.Ako pezyntaTbT OTHOBe o OTPuataTeHe, 6oade Te ce B CepBn3a 3a noDpBxka.
Cbo6eTe:
-ОпиcaнеHa HeизпразвстTa,
MoDena Ha ypea,
- cepBn3HnHOMep (uHpata, KOTo Ce HAMnpa cnEДумATA SERVICE Bbpxy IdeHTnΦnKaUHOHaTa Ta6eKka, NOCTaBeHa
MOHTIPPAHE
He mohtnpaTe ypeDa 6n30 Do n3TOuHnK Ha TOpInHa (MnHmAlnHn pa3ToHnR: 30 cm ot neUka Ha BvrgIua nnHaΦTOba neUka, 3 cm ot fypHn n eJektpueeckn neuKn).
- MoThnupaIte ypeDa ha cyxo n do6pe npoBeTpeHo mAcTo.
- He 3anyuBaIte BeHTmlaQNoHHnTe OTbOpN.
-Поунстеу урета OTьтpe(BИЖ CBOTBETHITe rnaBu).
- MoThnupaTe npeDoctaBeHnte npuHaIeJxHocTn.
Cbbp3BaHe KbEm eIeKtpnueckata Mpeka
Cbbp3BaHeto KbmeEkeKtpnueckaTmpeka Tp6Ba da ce n3Bbpwba B cbOTBeTCTBne C MeCTHHe HOpMaTHBn pa3nope6n.
ДаHHNITE,OTHACaIcNsCe Do HaNppeXeHnETo IN NOrbJIHaTaTAtMOUHOC,Ta NOCOueHn Ha NIDeHTNΦIkaCIOHOHHaTAtabEknA,OTCTpaHn Ha YekMeJKeTO 3a PNODoB eN 3eJIeHcyu.
OTCTpaHn HaYeKMeJxKeTo 3a PIIIOBOe IN 3eIeHcyu),
- PbHnY CN aDpeC,
TelefoHHnCn HOMep N KOJa 3a MeJyrgpaDCKO n36upane.
SERVICE
0000 000 00000

3a6eJekka:
IocokaHa OTBapAHe Ha BpaTnUkKaTa MoKe da ce npomEn. Ta3n onepaunCe n3BbPpBa OTOTeJa 3a CneDnpoDaJ6EHO o6cnyKbaHe n He ce NOKpNAoBor TapaHcnyTA.
3a3eMaBaHeTo Ha ypea e 3aBnKntEnHNo no 3aKOH. PpOn3BODnTeJIaT He Hocn HnKaKBa OTROBOPHOCT pN eBEHTyAlHn HapaHaBaHnI NIn IeTn Ha Xopa, JNWBOTn NIN NpEpmTe, nPOn3TeKnO T HeCpna3BaHeTo Ha yKa3aHnTe No-rope HOpMn.
Ako ⅢeNcJIbT He e OT NOxOJaT TIN, TOI Tp86Ba Da 6bJe 3aMeHeH OT KBAJINΦuIpaH TEXHnK.
He n3no3BaIte yDJIKHTeIN nn aadTepn
IpeKbcBaHe Ha eJekTpo3aXpaHbAHeTo
-П配电ьсанetoHa eileKtpo3axpaHbAHeTo Tp86BaJa 6bde Bb3MOxHOуpe3ИЗвждАн He uenCeNa OT KOHTaKaTaNINuIpye3 DByuONIOceи П配电ьсВaч, CBbp3aHп配电и KOHTaTa.
СБьР3BAHE КьМЕLEKTPИЧЕCKATA MPEЖACAMO 3A BEЛКOBПТAHЯ И NGПАндя
Ipeynpexdene -To3n ypeT Tpr6Ba da 6bde 3a3emeh
CmhaHa npednataTeI
Ako MpejoxnT npoBOnHn KaTo3n ypeJ e cHa6dEn C 7ePcenC npedna3nten BS 1 363A 13 amnpa, 3a da cMeHnTe npedna3nten npi To3n TnI 7eNcen, n3noJ3BaIte ODo6peh npedna3nten A.S.T.A. 3a TnB 1362 n pOeJnpaTe KaKTo cneDb:
- CbaneTe kanauchkata Ha npedna3ntela (A) n npedna3ntela (B).
- Noctabete npedna3nte1 13A B kanaka Ha npedna3nte1.
- MoHTpaIte OTHOBO npEpa3nte I KAnaKa B Ucencena.
Baxho:
KanaykaTHa npedna3nteI Tp8Ba Da 6bJe nocTaBeHa
OTHOBO, KOraTO Ce CMeHn PpeDna3nteI N, aKO e 3aY6beHa
KanaykaTHa npedna3nteI, ZencelbT He Tp8Ba Da ce
13No3Ba, DOKaTO He CE NoCTABN IpabuHnHaTa 3aMeHeHa Yact.
PpaBnHata 3amHa Ce onpeJena OT cBETA Ha BLOXKaTa NIN OT
cBETA qAMNOBaH C dUmN B OCHOBaT Ha 9enCena.
Kanaun 3a npedna3nteI MoKe da HamepuTe B MeCTHnA
MaRa3IN 3a eNeKTPOUCAIn.

Camo 3a Peny6nka UpnaHn
HhOpmaquraTa,daeHa 3a BeNko6pntaHnB noBceTo cnyuae npINOxIma,HO Ce n3IOn3Ba N TpeTn TnI eNcen I KOHTaKT,2-ΦTOB,CbC CTpaHNUHO 3a3EmBaHe.
KohtaKT/ueencen (BaHnHO 3a DBeTe IbpxaBn)
Ako noctabeneHHT ounceHne e npoxoJ3a BaunKaKoTakT, ce CBpkeTe c OTeJa 3a CnEppodaXBeHo O6CnyBaHe 3a DonbHntelHn INCTpyKuHn. He ce ONITbaTe da Cmehte UenCena camn. Ta3n pOueyura Tpr6Ba Da ce n3BbPn ot KBaHnΦuipan eNeKTPOTEXNk B CbOTBcTCTBnE C INCTpyKuHnTe Ha npOn3BOJInTeI n NocneHnTe pa3npope6n 3a 6e3onacnoCT.
OPIS PROIZVODA
A. Hladnjak
- Ladica za爱你 i povrce
- Police / područje polica
- Termostat i svjetlo
- Duboke police u vratima
- Pretinac za boce
- Pomični držač za boce
- Matična pločica (nalazi se sa strane uz ladicu za voce i povrće)
- Posudica za led
- Vrata odjeljka niske temperature
1.Яцкдя Oвошей nфpykTOB
2. Полки / зона полок
3. Pучka Tepmoctata / Oceшени
4.Деверные полки
5. Полka дя 6утьлok
6. CbemhbI depkaTeJIb Iy 6ytblIOK
7.Паспортыблчka(рядом сяшиком дя OBOошенФуКTOB)
8. loTOK dIy Ibda
9.Дерца Hn3KOTempePaTyphoro OTeJeHnA
ИСПОЛьЗOBAHNE XOJOДильбHOrO OTДЕЛЕня
DaHHbI npH6Op npedctabnTc60B
aBTOMaTnueckn XOJOnIbHnK INI XOJOnIbHnK C Hn3KOTempeaTpHbIM OTdJeHnEM Klacca
Pa3mopaxnBaHne xoIodunbHorO OTdelenHn npOnCXODNT NOnHOCTbO aBtOMaTnuecKn.
XoIoaIbHnK MoKeT pa6OtaTb npi TempePaType OkpykaUoSeCpeDbl O+16°Cdo+32°C.
PepBoe BkIouene np6opa
BctaBbTe BnIky npi6opa B po3eTky.
TempepaTpaB xOIoDnIbHOM OTdIeHnN peyInpyeTc pyKoN TepMoCTaTa, KOToPbI IOdEpxNbAeT 3aDaHHyO TempeaTypBy Hn3KOTempepaTyPHom OTdIeHnN.
PerynupobkataemnpaTypbI
Pучka Tepmoctata Moket 6bIb yCTaHOBJIeHa BCleNyUOuNe NOLOJKeHnI:
- 1-2/MIN: MEHEE HN3KAЯ TemnepaTypa;
- 3-4/MED: CPEHЯ TemnepaTypa;
- 5-7/MAX: BOJIEE HN3KAЯ TemnepaTypa.
Pyka Tepmoctata B NOLOXeHn : xONOJIbHnK bIKIIOUeH, BHyTpeHHee OCESeHne He pa6OtaE.


Приимechanical:
Ha TempepaTyB o6eux OTdelenHnX MoKET BnIaTb TempepaTaO OkpykaIoSei cpebl, cactota OTkpbBaHnI DBePcbl I MeCTo UCTaHOBKn pnp6opa.
Yunbai Te 3n faktopbi npi Bbl6ope noloxhen pykntepmoctata.
XpaHeHne npOdyKTOB BXoJIoMbHOM OTdeneHHN
Pa3MeaTe npOdyKtbl, KaK nOKa3aHo Ha pncyHKe.
A. PnpirotoBneHHbe npoDyKTbl
B.Pb6a,Mrco
C. OBOUH N ΦpyKTBi
D. ByTbIKn
E. 原压
F. MacNo, MONOuHbIe npoDyKtbl, cbIpbI
Приимechanical:
He neperopaxnBaIte npoctpaHCTBO MeJy nolkamn 3aDHeN CTeKoXoJOnlbHnka dJIc Cbo6OHDNo cnpKpJLyuBo3dyxa.
He KlaIte npOyKtby TaK, YTO6bI OHI KacaJIncb 3aHnei CTeHKn OTdeJeHn.
XpaHNTe KnDkoCTN B3aKpbItbIX EMKOCTx.
- Pn xpaHEnn OOSeC BbICOKIM COeprXaHnem BObl (HaNPmep, canaTOB) npONCXoNDt 6pa3OBaHne KOHeHcTa B HxKHX JxNkax N Ha CpeHNX NOLKAX XOLOINbHnKa. 3TO He
IpneTCTByeI npaBnIbHoi pa6Ote pnp6opa. TeH Me Hee Mbl peKOMeHnyem yPaKOBbIBaTb OBOU BO n36exaHHe o6pa3oBaHnKaHdEHCata.

ИСПОЛьЗOBAHNE HN3KOTEMПЕPATYPHOTO OTДЕLEHENIA
Hn3kOTemnpaTpHoe OTdelenHe (pnp HauuHn) nMeet KJIacc X
PnpndepxmbaTebc peKoMeHdaun no cpoKaXpaHeHnHa ynaKOBkax 3amOpOKeHHbIX npodyKTOB.
Pn nokynke 3amopoxeHHbIX npOyKTOB
- y6eɪntεcb, qTo ynaKOBka He NOBpeJdeHa, TaK KaK 3TO MoKet BbI3BaTb nopUy npOdykTa. EcIn ynaKOBka Bdynacb Nll NOKpbIaCb PnTHaMn BlaRn, BO3MOxH0, 6bln HapuYe bI yCNoBЯ xpaHeHn n HaaycnpOcecc OTaNBAHn.
- POKynaiTe 3amOpoxKeHHbIe npOdyKbI B nOcNeHIOU OuepeB.ДЯnx nepeBOzKN IcNoIb3yIte TepMocymKn.
Cpa3y Je IO BO3BpaueHIN IOMOI NOMeCTIte npOdyKtB B Hn3KOTempeaTypHoe OTdJeHne. - Eczn npodyktbl OTTajlin (daJe qactnH), He 3amopaxkBaIte IN NOBtOHO. TaKne npodyktbl cNeJyET ynoTpe6ntb B nniuBy TeueHne 24 lacOB.
- ɪЗбэрайтæ nepenapədВ TempepaTурь iʌn CboДиTe iʌx K MɪNɪMуМy.
Co6nloaainTe cpoK xpaHEnHa yka3aHHbHa ynaKOBKe.
CneyuTe yka3aHnMa nO xpaHeHnIO 3amOpOKeHHbIX npOdyKTOB, npUBeDeHHbIM Ha ynaKOBke.
Длп павильно слва талоь вовы перионческпрочиайтслвhoe OTberpctne пилагаemblMHCTPymeHTOM.
Ipeed BbInOpHeHnem IIO6bIX Opeaun No ChCTKe np60paBbHbTe BUNKy u3 po3ETKn.
IcnoJb3yIte ry6ky,CMOeHHyu B TeJIIOB BoJe IIN HeITpaJIbHOM MOUoE mepactBOpe.
CnoonochnTe BOOIN IN PPOPTnTE HAcyXo MArKoT TpAnKoBCE NOBepxHOCTN.
6.Чершемец obpaэване Инег в НИЗКOTeMпатуром OTДЕЛЕПИ.
-ДоверcaникOTempePapyHOrOOTdelenHeЗakpyTaKacCneDyeT?
Приимechаня:
- Bo Bpemr HopmaIbHoi pa60tby np66op MOKeT n3daBaTb HeKOTOpble 3ByKn (6yIbKaHbe n IunneHne n3-3a pacuHpeHn xJaareHTa B XOLOdINbHOM KOHType).
CEPBMC
ПрждемобрашаьсВсервсьнчцHTP:
1.Поьытайтесь устарааннь Неноладусамоctаятелову, руковордъвясь раздeлOM"Поиckи устараонны Нисправноcte".
2. BbIKIOUHTe IN BHOB bKIIIOHTe npIbOp IN pOBepbTe, He IcHc3Na IIN HEnCnPABHOCtB. B Cnyae OtpucaTeNbHOrO pe3yIbTaTaN CHoBA BbIKIOHTe npIbOp IN NOBTopHe OpeaIIO uepe3 qac.
3. Ecn HncnpaBHOCTb COxpanHaeTcA, 6bpatntecb B cepBnchbI ueHTp.
yKaKnte:
TNHENCnpaBHOCTN;
MoDJIb npi6opa,
- cepBnchbI HOMep (HcNo nOce cNoBa "SERVICE"Ha nacnpTHO Ta6NmuKe, paocnoJoxeHHo C6Oky OT Jaunka dny OBOUe N φpykTOB),
YCTAHOBKA
- UCTaHaBnBaIte npi6Op BdaiN OT NCTOCHIOB TeIIa (MNHIMAbHoe pacCToHHe: 30 CM OT yrOJIbHbIX NII KepOCINHOBbIX PIIIT, 3 CM OT aJIeKtpUceCKNX DyXOBOK INIIIT).
- UCTaHbAINBaIte npn6Op B cyxom xopoio BOHTINIpyEMOM NOMeueHIn.
He nepekepbBaaiTe BeHTnlaucnoHHbIe OTBepCTn np60pa.
BbIMoTe npu6Op n3Hytpn (cM. COOTBeTCTByUOuNe pa3dJeIbI). - YctaHOBInTe npnlaRaemble npnHaIeXHOctN.
IopkloueHne K 3JeKtpueecko cetn
Подкlioуени К Элжтческо сети Должно BынOLнЯТьСВ COOTВETCTBIM C MeCThIMN HOPMaMn.
- HanpjaKeHne n Notpe6JIeMaJ moUHocTb yka3aHbI Ha naCnOpTHoT Ta6NIuKe, paCNoJIoXeHHo C6Oky OT JaUNKa dJa OBOUeN φpykTOB.
BaI NpIbI aIpe;
BaHOMepTeleOHaN KoI rOpOJa.
SERVICE
0000 000 00000

Приимechanical:
Деруnpибopa можно nepeBecntb Ha\ dpyrgyстору. Стимость данhoi\ onepaun He nokpbIbaetc rapaHTnei, B TOM\ чсле, korda oHa bblonHЯетс CepBuchbIM\ centpom.
3a3emnne daHHoro np60pa ABnTeC8 o83aTeBnBIM. H3ROTOBnTeB CHMaet c ce6raIIO6yIO OTBETCTBEHNOCTb TpaBMbl IIOeN JXuBOTbHX MATEpnaJIbHbI yuepe6, AIBuINCepe3yNbTATOM Heo6nOedHnYka3aHHbIX BbIe NpaBUN.
- Eслвиьнka He ПОДхODИТ К рОЗЕТKE,ЗаменITEpo3eTKy,образИВшICь K KBалINФицIPOBaHHOMYəЛКТРИКY.
He nCnoB3yIte ydInHnTeI n nepexOdnKn.
OtkloueHne np6opa
- OTKIQUHHe NpIbopa ot 3JIeKTpUeCKoC cTeN DOJIgKHO 6bITb BO3MOxHNO pTyEM OTCoEJIHEnH BvIKn OT pO3eTKu INI PyTEm pa3MbIkaHnY UCTAHOBJIeHHORO nepeD pO3eTKo DByXPOJIIOCHOrO BvIKIQUaTeJI.
эл ektpи ueCKOE IOДКЛIOUeyHne (TOIbKOДЯ BEINKOБРИТAHИ N IPRJIAHДИN)
BHHMaHHe! 3OT np6Op donJxhen 6bItb 3a3Emn
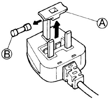
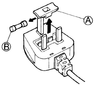
3aMeHa npedeoxpaHnteIa
Ecn ciTeBoi shypr np6bopa ochaueh BnIKoC
npedoxpaHnteem BS 1363A ha 13 ampep,To nIy 3aMeHy
ncnoB3yte npedeoxpaHntebl Tnna BS 1362,
cepTnphiunpoBaHHb A.S.T.A. Ppi eTom deNCTBynte
cIeNyUOUM o6pa3OM:
1.CHIMnTe KpbIshky npedeoxpaHnteY (A) n npedeoxpaHnteYb(B).
2. BCTaBbTe B KpbIshky HOBbI npeOxpaHntelb HOMHaIOM 13 A.
3.Установские Крышку с пруед氧разни tem в Вилков.

Baxho:
При поюборе заразною Крblшкп руковodctByntecь цьтонь Вставковил 6уквевным уkaазанемцьета на корпунец Вилки.
3aIacHbIe KpbIshKIppeOxpaHnteJe MoJHo pIpo6pctn B MeCTHom MaRa3InHe 3JIeKtpoTobapOB.
ToIbko dIy IrpnaHnn
ПOMМО ВьшоINСаньИХ TИNOВ,ПрIMЕнЯБИВВЕНИКОБРУТAHIN,Здс.TAKKE ИСПОЛБУETСТРЕТПТПHTIWTENCEЛьНOrO pa3bEмА:ДByxWtblpьKOBыCбOKOBIM3a3eMЛЕнEM.
Notice-Facile