BCB 7030 E C AA - Lednice mrazák HOTPOINT - Bezplatný návod k obsluze
Najděte návod k zařízení zdarma BCB 7030 E C AA HOTPOINT ve formátu PDF.
Stáhněte si návod pro váš Lednice mrazák ve formátu PDF zdarma! Najděte svůj návod BCB 7030 E C AA - HOTPOINT a vezměte svůj elektronický přístroj zpět do rukou. Na této stránce jsou zveřejněny všechny dokumenty potřebné k používání vašeho zařízení. BCB 7030 E C AA značky HOTPOINT.
NÁVOD K OBSLUZE BCB 7030 E C AA HOTPOINT
Pripojte spotbrebič k elektrické siti.
U modelu s elektronikou se muze ozvat zvukovy signal upozornujici na aktivaci teplotniho alarmu: stisknete tlacitko zvukoveho alarmu. Je-li k dispozici antibakterialní filtr proti zapachu, umistěte jej do ventilátoru podle instrukci na obalu filtru.
Poznámka: Po zapnuti spotřebrice musite počkat 4-5 hodin, než dojde k dosaženi správné skladovací teploty pri bězném naplěnéni.
UDRŽBA A CISTENÍ SPOTREBICE
Spotbrebič priležitostné ochistěte hadríkem namoceným v roztoku teplé vody aneutralniho cisticího prostředku urceného k Čistěni vnitrnich prostor chladnicky. Nepoužívejte abrazivné cistíci prostředky. Pro zajistěné stálého a spravného odtoku Rozmrazené vody cistěte pravidné pomoci prilozhéné nastroje vnitníčast odtoku, který je umistěn na zadní stěné chladiciho prostoru u zásuvky na ovoce a zeleninu (viz obrázek).
Před provádekín jakékoliv udržby nebo Čišěné nejdríve odpoje sítovou zástrčku ze zásvúky nebo spotřebrí z elektrickésite.

VYMENA ZÁROVKY CI KONTROLKY LED
podle modelu)
Před výměnou Žárovky vždy vypojte spotřebic z elektrické sítě. Následné postupujte podlePokynů v závislosti na typu Žárovky určené pro vás produkt.
Zárovku nahrad'te novou se stejnými vlastnostmi, kterou muzete zakoupit v rámci služeb technické pomoci Či u autorizovanych prodejcu.
Zárovka typu 1)
Zárovku vyjmete tak, ze ji vyssroubujete proti smeru hodinovych ručícek, jak je znázorněno na obrázku. Pred opětovnám
pripojenim potbrebiče vyčekje 5 minut.

- tradičnižárovka (maximálne 25 W)

Zárovka
nebo
-Žárovka LED (se stejnými vlastnostmi)
dostupné pouze v rámci služeb technické pomoci

Zárovka LED
Zárovka typu 2)
Pokud produkt obsahujeŽárovky LED, jak je znázorněno na obráczích níze, kontaktujte v pripadě potřeby jejich výměny služby technické pomoci.
Žárovky LED vydrží déle než tradičné Žárovky, zlepšují vinitříní viditelnost a jsou šetné k Životnímu prostřédi.



V PRIPADE NEPOUZIVANI SPOTREBICE
Vypojte spotbrebič z elektrické sítě, vyprázděte jej, (v připadě potřeby) odmražte a vychistěte. Dveře poneche pootevřné, aby mohl Jednotlivými oddíly proudit vžduch. Tim zabránité vzniku plísní a zapachu.
V PRIPADE PRERUSENI NAPAJENI
Dveře ponechte zavřené, aby jidlo zústalo co nejdéle v chladu. Nezmražujte znova potraviny, které se cástěcně rozmrazily. Dojde-li k delšimu výpadku proudu, muže se aktivovat alarm výpadku proudu (u vyrobkú s elektronikou).
CHLADICÍ ODDÍL
Chladici oddil slouží k uchovávány Čerstvych potravin a napojú.
Odmražováni chladnicky probílá zcela automaticky.
O zahájení automaticité fáze rozmrazovány svěděci priležitostný vyskyt kapek vody na vinitríná zadné stěné oddílu. Rozmrazená voda steká do odtoku a shromažd'uje se v nádobě, odkud se vypařuje. V závislosti na modelu muže být vyrobek vybaven spezialním prostorem s nulovou teplotou, která je ideálni pro skladovány Čerstveho masa a ryb.
Varovani: priślušenství chladničky neumývejte v myčce na nádobí.
Poznámka: teplota v mistrnosti, častost oteviráni dveří a umistěné spotřebiče
mohou ovlivnit teplotu uvnitř obou oddilú. Proto teplotu nastavujte v závislosti na těchto fatorech.
Poznámka: ve velmi vlhkém prostředi muže dojít k oroseni v chladícím prostoru, zejměna na skleněných polickách. V takovémto pripadě se doporučuje uzavřit nádoby s tekutinami (např. hrné c s vývarem), zabalit jidlo s vysokým obsahem vody (např. zeleninu) a zapnout ventilálator,Pokud je k dispozici.
Vysouvání prihrádky na ovoce a zeleninu (podle modelu)
Přihrák vysuţe tak daléko, jak to půjde, pak ji nadzvedněte a vyjměte.
Pro snazsý vyjmuti prihrákny na ovoce a zeleninu muže být nutné vyprázdnit (a prípadné vyjmout)
dve spodní police na dveřich a až pakPokračovat ve vysouvání prihrákny.
Ventilator antibakteriálni filtr proti zapachu (podle modelu)
Ventilator umožnju rovnomérné Rozlozeni teploty uvnitř oddílù, címž zajišťuje lepši uchovánuí potravin a snízení nadměrné vlhosti. Nezakryvejte ventilacné oblast. Ventilátor je možné ručné zapnut Či vypnout (viz Stručné námod). Pokud je zapnutý, funguje v pripadě potřeby automaticicky.
MRAZICÍ ODDÍL
Model s odděleným mrazićim oddilem
Mrazici oddil * slouží k uchovávani zmrazenych potravin (na dobu uvedenou na obalu) a k zamražováni Čerstvych potravin. Množstvi Čerstvych potravin, které lze zamrazit během 24 hodin, je uvedeno na vyrobním štiku. Čerstve potraviny usporádeje t v prostoru pro zmrazení uvnitt mrazicího oddílu (viz Stručné námod k obasluze) tak, aby kolem nich zústal dostatečné prostoru k volnému prouděné vzduchu. Častečné rozmrazené potraviny se nedoporučuje znova zmražovat. Je duležité zabalit potraviny zpúsobem, který zabrání vniknutí vody, vlhkosti nebo kondenzaci vody.
Vyroba kostek ledu
Nádobku na ledové kosty (je-li k dispozici) naplnde do 2/3 vodou a vlozte ji zpět do mrazicho oddílu. K vyjmutí ledu zaŽádnych okolnosti nepouživejte ostré nebo špićaté prédměty.
Vyjímáni zásuvek (podle modelu)
Přihrádky vysuñte takdaleko,jak topujde,pak je nadzvedněte a vyjměte.Chcete-li ziskat VICemista,muzete mrazicí oddil používat bez prihrádek.
Po vloženi potravin zpět na mřížky nebo policky se ujistěte, ze jsou dvířka rádné zavřena.
Modely s interním produktovým oddílem
V mrazicim oddile *** muzete mrazit také cerstve potraviny. Mnozstvi cerstvych potravin, ktere lze zamrazit behem 24 hodin, je uvedeno na vyrobnim stitku.
Jak mrazit Čerstve potraviny:
- vložte potraviny na mřížku, je-li k disposzici (obrázek 1), nebo prímo do spodní Časti odidílu (obrázek 2)
- vlozte potraviny doprostřed * oddílu tak, aby se nedotýkaly jižzmrażenych potravin, od kterych zachovejte vzdálenost okolo 20 mm (obrázky 1 a 2).

Obrazek 1

Obrázek 2
ODMRAŽOVÁNÍ MRAZICÍHO ODDÍLU
(podle modelu)
Samoodmrazovací modely není nutné odmražovat.
U jin'ych model'u je tvorba namrazy prirozenym jevem.
Množstvá rychlost tvorby námrazy se liši v závislosti na okolních podmínkách a Častosti otevirání dveř. Pro prodlouženi ochrany potravin během fáze rozmrazovány je vhodné nastavit nižsí teplotu nebo, je-li k dispozici, zapnout funkci rychlého zmrazení (viz Stručné námod k obslúze) Čtyři hodiny prěd odebráním potravin z mraziciho oddílu. Chcete-li oddí odmrazit, vypněte spotřebiec a vyтáhněte prihrádky. Zmražené potraviny vložte na chladné misto. Dveře nechte otevřné, aby námrazy mohma roztát. Chcete-li zabrínut uniku vody pri odtávání námrazy, umistěte savou utěrku na dno mraziciho oddílu a pravidelně ji Ždimejte.
Vycistěte vnitří Čast mraziciho oddílu a pečívě ji vysušte.
Spotrebič následné opět zapnéte a vložte dovnitř potraviny.
SYSTEM STOP FROST (podle modelu)
SYTÉM STOP FROST (dostupný u některych modelú) usnadnjue odmražováni mrazić Časti. Príslušenstvī STOP FROST (obrázek 1) je navrženo tak, aby zachytávalo Čast námrazy tvořné v mrazićim oddílu a pritom bylo snadno vyjímatelné a Čistitelné, a tím snižovalo Ācas potřbný k rozmrazení vnitřínci masti mrazićho oddílu.
K odstraněni námrazy na príslušenstv STOP FROST postupujte podle niže znázorněnych tokynu pro Čištěné.
POKYNY PRO CISTENI PRISLUSENSTVI STOP FROST
- Otevře t de vifka mraziciho oddilu a vyjměte horní prihrádku (obrázek 2).
- Uvolněte príslušenství STOP FROST (obrázek 3) a vyjměte ho (obrázek 4). Pritom deje tpozor, abyste jej neupustili na niže umistěnou skleněnou poličku. Poznámka: je-li príslušenství zaseknuté nebo se obtízně vytahuje, nepokoušejte se ho vyjmout, alePokračujte v kompletním odmražováni mrazićho oddílu.
-Zavretedvirka mraziciho oddilu. - Námrazu na príslušenství odstrańte jeho proplachnutim pod tekouci (ne horkou) vodou (obrázek 5).
- Příslušenstvi nechte okapat a plastové cásti osuste měkkým hadřikem.
- Príslušenství vložte zpět tak,Že jeho zadničast položite na vyčnělky znázorněné na obrázku 7-A a pak zacvaknete jeho prědnićást do vyše umistěnych spon (obrázek 7-B).
-Vlozte zpět horní šuplík a uzavřete dvířka mraziciho oddílu.
Příslušenství STOP FROST je možné Čistit také samostatné bez kompletniho odmražováni mrazicího oddílu. Pravidné Čistěné příslušenství STOP FROST pomáhma snizovat potřebu kompletniho rozmražováni mrazicího oddílu.







Poznámka: produktové specifikace, včetné objemu a energia, jsou vypočitávány bez príslušenstv STOP FROST.
Prostor s nulovou teplotou je specificky navrzen pro udrzeni nizké teploty a správné vlhosti pro delsí zachovani Čerstvych potravin (napřiklad masa, ryb, ovoce a zeleniny v zime).
Technologie regulce vlhkosti umožnjuve ve spojenís funkci Activ0° tu nejlepší konzervaci potravin, které nejsou zcela zabalenié.

Zapnutá vypnutí prostoru
Při zapnutí dosahuje vnitníteplota prostoru pržblízně 0^ .
Chcete-li prostor zapnout, podrzte stisknute tlacitko zobrazené na obrazku na déle než jaknu sekundu, dokud se nerozsviti zobrazený symbol.
Svitici symbol signalizuje, ze prostor funguje. Pro vypnuti prostoru podrzte opet tlačitko stisknute na delsí dobu než Jednu sekundu. Pro kompletní vypnuti prostoru je potřeba vyjmout celou prihrádku.

Pro správné fungování prostoru s nulovou teplotouje potbreba zajistit, aby:
- by zapnut chladici oddil
- se teplota pohybovala mezi +2 °C a +6 °C
- byla do prostoru s nulovou teplotou vložena prihrádka, má-li být zapnut
- nebyla zvolena některá z následujících zvlástních fungkí: pohotovostní režim Stand-By, režim vypnutí chlazení Cooling-Off, āi prázdninový režim Vacation (jsou-li k dispozici); v takovém prípadě vyjměte potraviny, které jsou v prihrádce uloženy.
Poznámka:
- V pripadé, ze se symbol po zapnutí prostoru nerozsvítí, zkontrolujte, zda je prihrádka správnězasunuta. Pokud problém prétrrváva, obrte se na autorizovanou sluzbu technické pomoci.
- V pripadé, ze je prostor zapnuty a zásuvka otevrená, muze se symbol na ovladacim panelu automaticky vypnout. Symbol se opět rozsvítí pozasunutí prihrádky.
- Bez ohledu na stav prostoru muzete slyset slaby sum, ktery bye ste meli povaovat za normalni.
- Neni-li prostor v provozu, je teplota uvnit dana obecnou teplotou v chladnicim oddilu. V takovémto pripadé se v něm doporučuje uchovávat ovoce a zeleninu, které nejsou citlivé na studenou teplotu (jahody, jabka, meružky, mrkev, špenát, salát, atd.).
Duležite upozornění: Pokud je prostor zapnutý a jsou v něm uloženy potraviny s vysoký m obsahem vody, muže se na polickák och objevit oroseni. V takovémto pripadě funkci dočasně vypněte.
Pri ukladani malych potravin a nadob na horni policku v prostoru s nulovou teplotou dbeje na to, aby vam nechtene nezapadly mezi policku a zadni stenu chladnicky.
Vvjmuti prostoru s nulovou teplotou:
Postupujte podle následujících krokú:
- pro snazsí vyjmutí prostoru s nulovou teplotou doporučujeme vyprázdnit (a je-li to možné také vyjmout) policky ve spodní cásti dveří
-vypnete prostors nulovou teplotou - vvjmte prostor otocenim smerem vzhuru
- vyjměte bílou plastovou poličku pod prostorem
Poznámka: Horní policku a postranní opěrky není moźné vyjmout.
Pro opětovné použití prostoru s nulovou teplotou opatrné vratte bilou plastovou policku zpět pod tento prostor a následné zausute prihrák u prostor zapnéte.
Pro zvětséní prostoru chladnicky a snízení spotřeby energia se doporučuje prostor s nulovou teplotou vyvnout a vyjmout jej.
Prostor s nulovou teplotou a jeho casti priilezitostne očistěte hadrikem namoceným v roztoku teplé vody (priTom deje t pozor, abyste nenamocili bilou plastovou policku pod prihradkou) a neutralniho Čisticího prostředku urceného k Čistěné vnitrnich prostor chladnicky. Nepoužívejte abrazivné Čisticí prostředky.
Před Čištěnín prostoru s nulovou teplotou (i v pripadě jeho vnějsích Částí) je potřeba vyjmout prihrádku, aby došlo k prerušeni jeho napájení.
SLUZBY TECHNICKÉ POMOCI
Před kontaktovámín služeb technické pomoci:
Spotbrebič restartujte a oveřte, zda nedoslo k vyřěsení problému. Pokud ne, spotbrebič opět vypoje a postup za hodinu zopakujte. Pokud po ukončeni kontroly uvedené v príručce pro Žěséní závad a po restartu spotbrebič stale nefunguje správně, obratte se na sluzbu technické pomoci, pričemž jasně popište problém a uvedťe:
-
druh závady
model -
typ a sérióve cislo spotbrebié (uvedené na výrobním štǐku)
- Servisni cislo (je-li k disposzici) (cislo, které následuje za slovem SERVICE na vyrobním stitku umisténém uvnit spotbrebine).
SERVICE
0000 000 0000

Poznámka:
Obraceni dveří spotřebruče,Pokud je provedeno službou technické pomoci, není považováno za reklamaci.
- Zásvúvka na ovoce a zeleninu
- Police/prostor na police
- Termostat osvětlením
- Dverní prihrádky
- Policna lahve
- Vyjímatelné držák na láhve
- Typovy stitek (uvnitr zasobniku na ovoce a zeleninu)
- Nádobka na ledové kosteny
- Dveře oddílu s nízkou teplotou
B. Oddil s nizkou teplotou (je u li u modelu)

Nejchladnéjszona

Nejmène chladná zona
Poznámka: Pocet polic a tvar doplneků se může lišit podle modelu.
Vsechny police, dvernpihradya rosty jsou vyjimatelne.
Upozorněni: Príslušenstvī chladnicky není určeno k mytí v myčkách.




Upozorněné: Zavřeve vnitří dveřě!
OVLÁDACÍ PANEL
A. Volic termostatu
B. Tlačitko osvětlení
D. Ryska k určeni polohy termostatu
E. Žárovka

JAKPOUZIVATCHLADICIODDIL
Tento spotbrebič je automatická chladnička nebo chladnička s oddílem s nízkou teplotou s hvezdičkami.
Odmrazováni chladiciho oddílu je zcela automatické.
Chladnicka muze fungovat za okolni teploty v rozmézi +16^ až +32 °C.
Uvedeni chladnicky do provozu
Zasunte zastrchu dozasuvky.
Pro nastavení teploty v chladnicce se používa ovladač termostatu, pomoci něhož se udržuje teplota v oddilu s nizkou teplotou.
Serizovani teploty
Chcete-li změnit teplotu v chladnicce, otáčejte regulačním ovladacem termostatu:
- na nižsí císla 1-2/MIN pro NEJVYSSI vnitrní teploty;
- na císla 3-4/MED pro STREDNI teplotu;
- na cisla 5-7/MAX pro NEJNIZŠI teplotu.
Termostat nastaveny na:. funkce spotbrebice a osvětlení jsou vyvnute.


Poznámka:
Vnitrni teploty uvnitrobou oddiluhohou byt ovlivnenev okolni teplotou, cetnosti otevirani dveiri a umisteniim spotbrebiče.
Při nastavováni termostatu musite brát tyto skutečnosti v uvhau.
Jak uchovávat potraviny v chladímic oddílu
Potraviny ukladejte tak, jak je znázorněno na obrázku
A Varená jidla
B.Ryby,maso
C. Ovoce a zelenina
D. Lahve
E. Vejce
F. Máslo, mléché výrobky, sýry
Poznámka:
- Prostor mezi policemi a vnitní zadné stěnou chladnicy musí být volné, aby mohl volné cirkulovat vzduch.
Ulozené potravyne s nesměj dotýkat zadní stěny uvnitř chladicího oddílu. - Tekutiny uchovávejte v uzavřenych nadobach.
- Dokonce i za běznych podminek muzzle ukladání zeleniny s vysokym obsahem vody (např.: salat) zpúsobit kondenzaci vlhkosti v dolnich zásuvkách a/nebo na střednich policích; je to normální jev
a správnému chodu chladnicky to ale nevadi. V každém pripadě doporučujeme zeleninu zabalit, aby se vlhkost nasrážela.

JAK POUZÍVAT ODDÍL S NÍZKOU TEPLOTOU
Oddil s nizkou teplotou (je-li u modelu), je oddil
s hvezdiickami.
V oddilu se mohou uchovávat zmrazené potraviny po dobu uvedenou na obalu.
Pří nákupu mražených potravin:
Ujistete se, ze obal nebo krabička nebly porušené, nebot potraviny by se mohly kazit. Je-li obal nafoukly nebo jsou-li na něm mokré skvrny, vyrobek nebl skladován v optimálnich podminkach a muže již byt Častecné rozmrzly.
- Při nakupováni ponechte zmražené potraviny až na konec a prepravujte je ve SPECIALNI tăsce.
- Ihned po návratu domú uložte potraviny do oddílu s nizkou teplotou.
- Pokud jiz Častečné rozmrzly, znovu je nezmrazujte. Spotřebujte je do 24 hodin.
- Snažte se zabránit změnám teploty nebo je conejvice omezte. Žid'te se dobou trvanlivosti uvedenou na obalu.
- Pri skladovani zmrazenych potravin se vždy ridte poukyny na jejich obalu.
Vyroba kostek ledu
Tác na led naplěte do 3/4 vodou a položte jej na dno oddílu s nízkou teplotou.
Jestlize miska prirmzne ke dnu oddilu, nepouzivejte k jejimu oddeleni spicaté nebo ostre nastroje.

JAK ODMRAZOVAT AČISTIT MRAZNIČKU
K dokonalému fungoványí chladnicky doporučujeme odmrazit oddí s nizkou teplotou vždý, když vrstva namrazy na stěnéch dosáhne 3 mm, nebo alespón dvakrát ročné.
Doporucjeme odmrazovat tehdy, kdyz je v oddilu nejmensi mnozstv potravin.
- Otevřete dveře a vyjměte z oddílu věchny potraviny, zabalte je těsné k sobě do novinového papíru a uložte je na velmi chladné mistro nebo do specialní chladíci tašky.
- Odpojte spotbrebič od elektrické sîte.
- Dvička nechte otevřena, aby led/námraza mohy roztát.
- Vodu po rozmrazeni odstrańte pomoci houby.
- Oddil vmyjte houbou namocenou v roztoku vlazné vody aneutralniho cisticiho prostredku. Nepouzivejte cisticí prostredky s drsnymi casticemi.
- Oplachněte a osuste.

- Poznámka: Nepoužívejte k odstrańováni námrazy špěćaté nebo ostré kovové nástroje; chladici oddí s nízkou teplotou nezahřívejte uměle.
JAKČISTITCHLADICÍODDÍL
Pravidelné Čistěte chladící oddíl.
Odmrazováni chladiciho oddílu je zcela automatické.
Pravidelné tvořeni vodnich kapek na vinitné zadné stěné chladiciho oddílu znaměna, ze práve probílá automatické odmrazováni. Rozmrazená voda stěká do opadniho kanálku a otdud do sběrné nádoby, kde se vypařuje. Pravidelné cistěte priložený nastrojem odpadné otvor na Rozmrazenou vodu, zajistěte tak stálý a pravidné odtok Rozmrazené vody.
Před kazdou udžbou nebo Čištěnín odpojte spotřebieć od elektrické sítě.
K myti pouzivejte houbu namocenou do teplé vody a/nebo neutrálniho cisticího prostředku.
Oplachnete a vysuste mekkym hadrikem.
Nepouzivejte cisticic prostredky s drsnymi casticemi.

CISTENIA UDRZBA
Vysavačem nebo kartáčkem pravidelné Čistěte větrácí otvory a kondenzátor umistěné na zadní stěné spotřebruče.
Vnejsi casti cistete mekkym hadrikem.
Při dlouhodobé nepřitomnosti
- Vyprázdněte chladíci oddí i oddí s nízkou teplotou.
- Odpojte spotbrebic od elektrické sîte.
- Odmrazte oddí s nízkou teplotou, yčistěte a vysuste oba odàdíly.
- Nechte otevrené dve,re, abyste zabrani vzniku neprijemnych pachu.

RADY K USPÖRE ELEKTRICKÉ ENERGIE
- Chladnicku nevystavujte prilis vysokym teplotam ci slunci ani ji nestavte do blizkosti tepelnych zdroj, nebot to zvyšuje spotbrebu energia.
- Nezakryvejte otvory pro větráni nebo vývody vzduchu.
- Potraviny rozmrazujte v chladnicce, tím vyuzijete chladu ze zmrazeného vyrobku.
Co nejvice omezte cetnost otvirani dvei a dobu, po kterou zustavaji otevreny. - Do chladiciho oddilu neukladeje potraviny, ktere jsou jeste teplé.
Dveře oddílu s nízkou teplotou nenechávejte otevěné.
ODSTRANOVÁNÍ PORUCH
1. Spotbrebic nefunguje.
- Nedoško k výpadku napájení?
- Je zăstrčka správnězasunutá do zásuvky?
- Je hlavní vypínač zapnutý?
- Neni vyhozená pojistka?
- Je termostat nastaven na·?
2. Teplota uvnitř oddilů není dostatečné nízká.
- Jsou dvirka radré dovrena?
- Neni spotbrebic umistén blízko zdroje tepla?
- Je termostat nastaven správně?
- Nebrání něco cirkulaci vžduchu prěs ventiláčné mřížky?
3. Teplota uvnit chladiciho prostoru je prilis nizka.
- Je termostat nastaven správně?
4. Na dne chladiciho oddilu je voda.
- Neni odpadni kanálek na rozmrazenou vodu ucpány?
5. Vnitrín osvétlení nefunguje.
Nejdříve provede kontroly týkajici se problemu 1 a poté:
- Odpojte spotbrebič od hlavní zásuvky elektrického napajeni.
- Žárovku vyměnte za novou se stejnám vykonem nebo vykonem ve wattech, ktery je uveden u patica šárovky.
- Vyjmutí Žárovky: šroubujte proti směru chodu hodinovych ručićek, jak ukazuje obrázek.
6. Nadměrné množstvi námrazy v mrazićim oddile.
- Jsou dviriKa oddilu s nizkou teplotou správné zavrená?
Poznámka:
- Rüzné zvuky (napi. bublání a šuměni zpúsobné rozpínám v chladićim okruhu), ke kterym dochází prí bežnéchodu chladnicý, jsou normálím jevem.

SERVISNÍ STřEDISKO
Než se spojíte se servisem:
- Zkuste problem vyresit sami podle instrukci v kapitole „Jak odstranit poruchu".
- Znovu zapnete spotrebič a zkontrolujte, zda porucha trva. Neni-li tomu tak, spotrebič opét vypnete a zkousku po hodině opakujte.
- V pripadě stále trvajíci poruchy zavolejte do servísu.
Sdělte:
povahu poruchy,
model zařízení,
- servisni cislo (cislo za slovem „SERVICE" na typovém stitku umistěnémpo straně zásuvky na ovoce a zeleninu),
svou upnou adresu,
INSTALLACE
- Spotbrebic umistete v dostatečné vzdálenosti od tepelného zdroje (minimálné vzdálenost: 30 cm od kamen na uhí nebo naftu, 3 cm od sporáků a elektrickývařů).
- Spotbrebic umistete na SUCH a dobre vetrane misto.
- Neblokujte vetraci otvory zařizení.
Vycistete vnitrek (viz priusne kapitoly).
Namontujte priślusné vybavení.
Elektrické pripojeni
- Připojeni k siti musi byt provedeno v souladu s platnymi predpisy.
- Udaje o napété a príkónu jsou uvedeny na typovém stitiku umistěnéma boku zásobníniku na ovoce a zeleninu.
Uzemněni spotřebie je podle zákona povinné. Vyrobce odmistá jakoukoli
Směr otevíráni dveří lze změnit. Pokud je tato změna prováde na pracovníky servisniho střediska, nevztahuje se na ni záruka.
odpovednost za pripadná zraněni osob,
zviřat nebo poskození věcí zpúsobene
nedodržením vyše uvedenych prédpisù.
- Vestlüe zástrčka napajćího kabelu neodpovída zásvuce, požádeje o výmenu zásvuyk kvalifikovaného elektrárě.
- Nepoužívejte prodlužovác kably ani rozdvojky.
Odpojeni od elektrické sítě
- Spotbrebič musí být možné odpjot od elektrické sítě, a to bud vytázením napáciho kabelu ze záuvky, nebo pomoci dvoupólového sitóveho vypínače umistěného prěd záuvkou.
PRIPOJENI K ELEKTRICKÉ SITI POUZE PRO VELKOU BRITÁNII A IRSKO
Upozornéni – tento spotbrebic musí byt uzemnén.
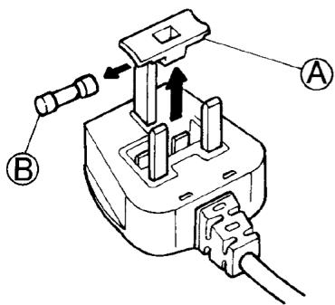
Vymena pojistky
Jestlize je kabel tohoto spotbrebcveybaven zastrckou BS 1363A s 13A pocistkou, pouzijte k vymene pojistky v tomto typu zastrczy pojistku ASTA schvalenou k.typu BS 1362 a postupujte nasledujcim zpusobem:
- Vyjměte kryt pojistky (A) a pojistku (B).
- Do krytu pajstky vlozte nahradni 13A pajstku.
- Kryt s pajistkou vlozte zpět do zastrčky.
Upozornéni:
Po vyměné pojistky musí byt kryt pojistky opět nasazen; dojde-li k jeho ztrátě, nesmí se zástrčka bez krytu používat. Správné umistěné poznáte podle barevné vložky nebo názvu barvy vyrazeného dole na zástrčce.
Náhradní kryty pojistek je moźné zakoupit v obchodě elektró.
Pouze pro Irskou republicu
PlátPokyny uvedené pro Velkou Britannii, ale používa se i třét typ zástrčky a zásuvky, a to 2kolíkové s bočním uzemnéím.
Zásuvka/zástrčka (platné pro obě zěme)
Jestlize dodana zastrcka nenivhodnaprozasuvku ve vasem byte, obratte se prosim na servisni stredisko. Nepokousejte se vymenovat zastrcku sami. Tento postup smi provadet pouze kvalifikovany technik v souladuspolyny vyrobce a beznymi platnymi bezpecnostnimi predpisy.

OPIS SPOTREBICA
Poznámka: Pocet zásuviek a tvar prisluěs nestva je rožny v závislosti od modelu.
- Poznámka: Na zoskrabovanie ladu nepoužívajte ostré ani špicate kovové nastroje priehradku s nizkou teplotou umelo nezohrievajte.
AKO CISTIT CHLADIACI PRIESTOR
Chladiaci priestor pravidene cistite Rozmrazovanie chladiaceho priestoru je uplne automatické.
Ccasto platia informácie uvedene v suvislosti s Velkou Britániu, avsak použiva sa aj pretí typ vidlice a zásuvky, dvojkolíkový s uzemnením na boku.

Notice-Facile