BCB 7030 E C AA - Fridge Freezer HOTPOINT - Free user manual and instructions
Find the device manual for free BCB 7030 E C AA HOTPOINT in PDF.
Download the instructions for your Fridge Freezer in PDF format for free! Find your manual BCB 7030 E C AA - HOTPOINT and take your electronic device back in hand. On this page are published all the documents necessary for the use of your device. BCB 7030 E C AA by HOTPOINT.
USER MANUAL BCB 7030 E C AA HOTPOINT
Instructions for use
YTo6bI JaunK DnI OBOUe N pkyTob 6blIO Jerey BbyHyTb, eRO MOxHO ONyCTaUNTb (N, BO3MOxHO) BByHyTb DBe HxHxN X PONK IN3 DBepzbl.
BentnIaTOp n aHTn6aKTepeHaJIbHbI ΦnJIbTp Microban (B 3aBnCmOcTn OT MoeJIi)
BentnIaTOp o6ecneuHbAeT paBHomepHocb TeMnpaTypbI B OTdJeHnX I, COOTBeTCTBeHHO, LyuSyIO coxpaHnOCTb npOdyKToB u ChnKeHne N36bIToOH bLaJHoCTn. He nepeKpbIaJIte BeHTnIaUOnHbIe OTBepCTnI. BentnIaTOp MOxHO BkIIOuAtb N BbIKIOuAtb BpyHyIO (cM.
KpaTkoe pyKOBOOCTBO NO 3KcNlyaTaun); ecn BENTINrTOP BHLIOueH, OH pa6oTaET B Mepy Heo6xOdIMOCtN.
MOPOЗильнаг KAMEPA
Mодени с отдень hoМорозень hoКамеро
Mopo3nIbnaKamepa TIO3BOJLet XpaHHT 3amOpOJHeHbIe npOyKTbI (B TeueHne nepHOda BpemHn, yka3aHHOro Ha ynaOBKe) n 3amOpaHNBaTc BceHne npOdyKTbI. KoJIuYeCTBO npOdyKTob, KOTOpoe MOxH0 3amOpO3NtB TceHne 24 YacOB, yka3aHO Ha NaCnpTHO Ta6LIuHke. IomeCTnte CBExHne npOdyKTbIB HnHHn JauNK MOpO3NlBHO KamepbI (CM. KpaTHOE pyKOBoDCTBO no 3KcnIpyataun), OCTaHB BOKpyr NaKeTob DOCTaTOUHO MeCTa DIA CBO6OHDH OINPKyIaun BO3dyxa. PeKOMeHnyETc Hze 3amOpaHNBaTb CHOba YactNuHO pa3mOpOJHeHbIe npOdyKTbI. BaXHo, YTO6bl npOdyKTb6bln 3aBePHyTbTaK, YTO6bl ObecneHTb 3aUnTy OT BoDbI, BlaHn N KOHDeHCata.
PnroTOBJIeHne KHy6NHOJbda
HanoJIHnTe IOTOK IyIbJa (ecnI NmEeTc) BODoI Ha 2/3 I nOCTaBbTe Ha3aI B MOpO3NlBHyIO KaMepy. Hn npi KaKnx o6CToRrTeIbCTbax He nOJb3yIrTeCb OCTpbIMn IpeDMeTaMn dIy ydaIeHnI bJa.
I3BleueHne RzHnHa (B 3aBNCMocTH OT MoeJI):
IOTaHNTe TaunKn HApUky Do ynpa, npInoDnHMtE N BbIHbTe. Yo6bI OCBO6OaNtB DOnOJIHNTeJIbHOe MeCTO, n3 MOpO3NJIbHOrO OTdJeHnRA MOJHO BbIHyTB JaUNKn.
IpoJNIB npOdyKTbHa peWteKHy nn PoJkn, y6eInTeCb, yTO DBePca xopoIo 3aKpbIta.
B MoTeJIaX C BHyTpEHHM
Mopo3nIbHbIM OTdJIeHNHe TAnHe MoHHO 3aOpaxHBaTb CBExHne npOdyKtbl. HoJIyEcTBo npOdyKtOB, KOtopoe MoHHo 3aMop03ntb B TeueHne 24 YacOB, yHa3aHO Ha nacnopTHO Ta6nUHe.
Hak 3amopaxnBaTb CBeXne npOpyKtbl:
- NOMECTHHe npOdyKtIb Ha peUeTKe, ecIn OHa NMeeTcR (pucyHOK 1) INn HEnOpceDCTBeHHo Ha dHe MOpO3NlBHo KAmepbI (pncyHOK 2)
- NOMECTIte npOdyKtB I CpeDHe NcAeTn KaMepbl, TAK, YTObbl OHN He COpNIkacAlncb C yHe 3aMOpOKeHHbIMN pOdyKTAMN -OCTaBbTe MeJy yPaKaOBkAmn paCCToHne OKoJ0 20 MM (pncyHkn 1 n 2).

PncyHOK1

PncyHOK2
PA3MOPO3HA MOPO3ильhoeKAMEPbl (B 3aBnCmocTh OT moJeH)
B moTeJax C cnCTeMoN No Frost, npocecc pa3MopaKuBaHnI npOxCoDHT ATOMaTNUeCKn. B octaIbHbIX MoTeJx o6pa3OBAHne Halei ABJIeTCr HOpMaJIbHbIM.
HOLIueCTBO n ChOpocTb o6pa3oBaHnna Hanei 3aBnCnT OT TemnpaTypb BO3dyxa B NOMEeHNn
N acCTObl OTKpbIBaHnna DBePcbl. PeKOMeHdyETcY cTaHaBnBaTb 60Jee Hn3kyu TEmnpaTpuy
HIN BVIOUaTb FyHKUHO 6bICTPOI 3AMOPo3Kn (ecInn HMeEeTc) (CM. KpatKoe pyKOBoDCTBO
NO 3KcnIpyataun) 3a YcIbe Paca Do I3BLeueHnner pOyKTOB n3 MOpO3nJIbHO Kamebp,
yTO6bl OHN dONlBSe OCTaBAInCb 3AmOPoHeHHbIMn B XOe pa3MOpO3Kn. JnPa3MOpAHHBaHnra
BbIKIOHTe np6opn BvIHbTe JaUNkNI. NomeCTNTe 3amOpOHeHHbe pOdyKtBnB XoIoHO MeCTO.
OCTaBBte DBepeu MOpO3nJIbHO Kamebp otKpItOndI obcepeHnna TaHnna LbDa. YTo6bl
PpeDTBpATNTB BbITeKaHmE BoDb npn pa3MOpAHHaHHN, NOMECTNTe Ha dHO MOpO3nJIbHO
Kamebp ab6Cop6HyIOUyIO TKAhN n peryIaRHO OTKHMaNte ee.
BbITPte MOpO3nJIbHoYIO Kamepy n TuaTeJIbHO pOocUShTE.
Choba BVIOUHTe XoIOAnIIbHNK N NOMEcTNTe Tya npoDyKtBl.
СИCTEMA STOP FROST (В заразсимости OT мodyden)
CnCTema STOP FROST (B 3aBncmoctn OT MoDen) o6IerCuaeT pa3MOp03ky MOp03NlbHOJ KaMepbl. CneuaJIbHna JOnka STOP FROST (pncyHok 1) npEHa3NaHeHa JnyacTuHoro c6opaHaJeDi, YTO yMeHbShaet npoDolKHTeJIbHoCTb pa3MopaxINBaHnro MOp03NlbHOrO OTDeJIeHnra.
CneuHaBHyIO NOHy STOP FROST MoHNO
HCTHTb OTDeJIbHO, He pa3MopaKHBaB
ZeIINKOM BcIO MOpO3NJIbHyIO KaMepy.
PeryJrphra OuncTka NoIKn STOP
FROST Nomoraet N36eKaTb NoIHorO
pa3MopaKHBaHnmaoP03NJIbHo KaMepbl.







(B 3aBnCmOCTn O MoJeN)
OTdeneHne c HyneBoi TemnepaTpyo Activ0 npedHa3NaueHO CNEuaJIbHO IJN PoIepeKaHnI Hn3KoI TEMpeaTpbl nPpABInbHoB BLaXHocTn IJN6OJe e dINTeIbHorO XpaHeHnI pOdyKTOB (HaNPmEp, Mca, pbIbbl, fpyKTOB n 3mMHnx OBOSei).
Фуннця Activ0° c TextHOLornei KoHTpOJI BlaJxHocTn oBecneuBaet HauLyUyIcoxpaHHocTb YactNtHo yNaKOBaHHbIX npOdyKToB.

BkIIOUeHne I OTKIOUeHne OTdJeHnA
Korda OTdeneHne BkIoueHo, BHytpenHnTempePaTpaB HEm CoCTaJIET npImepHO 0^
YtO6bI BHKIOHHTb OTDeJIeHHe, HAnKMITE KHOKNy, NOKa3aHHyHo Ha PnCvHKe, INpNdePknTe 60Jee CeKHyDbl, NOKa He 3acBETNCr CmBOJ.
BkHIOUeHHbI CmMBOJ O3NauaeT, YTO OTdJIeHHe pa6oTaet. YTo6bl OTKIIouHTb OTdJIeHHe,CHOBA HauKMITE KHOKNy INpNJepKHTe DOJbWe CEkyHdbI. YTo6bl IOLHOCTbIO OTKIIouHTb OTdJIeHHe, HE06XODIMOB BbIHytb RAuNK.

YTo6bI OTdelenHe c HynleBoi TemnepaTypoi Activ0° fynKcHIOHnpOBaJIO npaBnIbHO, Heo6xOIMO:
- yTO6bl 6bIIO BKNIOHcEHO XOIOJNbHoe OTdJIeHHe;
-утобы Temператув hemсыла OT +2°Cdo +6°C;
-ДЯВКПЮЕНИСНДЕЛECHИС HYNLEBOI TempepaTPOH Heo6xOdmo BCTaBnTb JIuNK; - YTO6bI He 6bIa BbIbpaHa OJHa n3 CJIeDyUOxN CJIeCuaJIbHbIX FyHNcIi: "PeKIM OXnJaHn", "OxlanJeHne BbIKIouHeo", "OTnyck" (pni HaJIuHn); B 3TOM cIyueae Heo6xoJIMo y6paTb npOdyKtB I3 OTdJIeHn.
Приимechани:
- ecn CmboJ He 3aopaeTcR, KOrda Bbl BkIouaeTe OTdJeHne, npOBepbTe, npaBnJIbHO JIN BCTabHeN ruiK; ecn npo6leMa coxpaHareTcR, o6paTHTEcB aABTOp3ObaHHbI cepBnCHbI ueHTp.
- ecI N OTdJIeHHe BHKUeyHo, a IuIK OTKpyIT, CIMBOJ Ha nHaNeI ynpaBHeHn MOKeT abTomatNueckn BbIKIOUYtbcr H ChOBA 3aROpNTcR, KOrda JuiK bdyET BCTaBLeH Ha MeCTo;
- He3aBnCmO OT CTaTyca OTdJIeHnMoYr 6bITb CJIbIuHbI Cna6bIe IyMbI, YTO RAJIaETcHOPMaJIbHbIM;
- KOrda OTeJeHHe BbIKIooHe, TempepaTpa B Hem 3aBnCT OT o6uei TeMnepaTpyb I XoIoAnIbHoJ kamepe. B 3tOM cIyuae B Hem peKOMeHdyETcXpaHnTB HeYBCTBnTeJbHbe K XoIoDo fpykTbI N OBOUHN (rOdoJI, JbIoKn, a6pNHOcbl, MOpKOBb, WnHaT, NaTyH N T. d.).
BaxHo: ecIn OTdeJIeHHe BkIIOUeHO, a B HEM XpaHrTcI pOdyKtbl C BbICOKHM COdepJHaHNEM BlaHn, Ha NOLHX MOKeT o6pa3OBAtbcra KOHJeHCAT. B 3TOM clyuae BpeMeHHo BbIKIOHHTe FyHKUIO. ByIbTe OCTOpOxHbI pIN pa3MeueHm MeJHX pOdyKTOB n He6OJIbXnx EMKOCTe Ha BepXHei POJIke OTdeJIeHn C HylEBoI TEMpePaTyPoR, YTObI OHI C LyauaHO He yPaNl B PPOCTpAHCTBO MEJHy POJIKAIMN TbIbHO NCTEHKO XIoDIIbHO KAmepbl.
YTo6bI ydaJIHT bOTdJIeHHe c HynEBoT TempePaTyPoI,
BbIOnHInTe CneDyUOuNe WArN:
-ДЯоблereняпоцурblMbIpeKOMeHdyeMOnyCTOuHTb(NIO BO3MOxHOCTH CHrTb) HIXHIOIPOJkyBDBepce;
- BbIKIIOUHTe OTdJIeHHe;
- BbIbTe OTdJIeHHe, NOBepHyB erO KBepxy;
- BbHbTe 6eIyI IOIaCTIKOBYIOIOLKy IOI OTeJIeHHeM;
PnmeuHne: BepxHra noJka n 6okobIe depKaTeI H ChImaOTcra.
YTo6bI CHOBA BOCNOJb3OBAbTcBcOTdJIeHHeM C HUJEBOI TemnepaTyPO, OCTOPoHHO BCTaBbTe 6eJyIO pIaCTIKOByIO pOLKy HAD OTdJIeHHeM, 3aTEM BCTaBbTE RaUN I BHJIouHTe FyHKUIO. YTo6bI yBeJIuHTb O6bEM XoIoJNbHO KAmepbI N CHN3NTb NOtpe6JIeHne 3JeKTHpO3Heprn, peKOMeHNyETcB bIKJIOUHTb OTdJIeHHe C HUJEBOI TemnepaTyPO N BblHyTb eRO.
Bpemr O T Bpemehn Cneyet YncTntb OTdJeHHe n ero YacTn TkaHbI, CMOeHHoT TeNlOBoDOn (He norgyKaHte B Body 6eLyIO NOLKy PNO J AunKOM) C HeNTpaNbHbIM MOUcHm CpeDCTBOM,npedHa3NaueHHbIM dny NcCTKn XoJOniNbHkoB. He noIb3yIteCb a6pa3NBbIMN OuyCHTeJIaMn.
Ipeed chTHOJ OTdelenHn (TaHHe cHapyHn) Heo6XoDnMo BbHyTb RaHn I OTHJIIOHTb 3JeKTPoNHTaHne OTdelenHn.
TEXHnuechaj NOMOuB CEPBnCHbIX UeHTPOB
PpeHde yem o6paataBcB CepBnchbIeHTp:
BHObB BkIIOUHTe pnpOp, YTO6bl npOBepntb, ycTaPHeHa IIN HeNoJaKa. EcIn HET, ChOba OTHIOUHTe pnpOp nOBtOpnTe npOeDpy uepe3 qac.
Ecnn nocne npOBepKn B COOTBeTCTBn C Ta6JIuceY cTpaHEnH NcnpaBHOCTe N BkIIOHeNpIbOpA OH BCE paBH OyHKUHOHPuyET HnpaBInbHO, ObaPHTecb B cepINCHbI CEHTP NcTko ONNIHTe CyTb npo6JIembl, yka3ab:
BnD HenoJaKn;
MOdJIb;
TIN N CepinHbH Homep np6opa (yka3aHbHa nacnpTHoT Ta6nUKe BHyTpN np6opa);
- cepBnCbH NHomeP (ecnHmEeTcH) (Homep nocIe cNoBa SERVICE naacnpTHoN Ta6nUHKe BHyTpN npn6opa).
SERVICE
0000 000 0000

Приимеанно:
nepebeunbaHne DBePbI, BbINOHNHeMOe npedctabntelem cepBnCHoro ceHTpa, He cHTaetc rapaHTnHbIM o6cnyHHaHneM.
ANFAI PET PAIДАЛAHY
KypbIjNfBihI Kyat Ke3iHe XaNfay.
3NeKtpoHbIyIinepde DblbIc CnHaJIbIbIbIpy MyMkiH, 6yTtempeaTypa CnHaJIbIHbIbIbIbIbIbIbIbIbIbIbIbIbIbIbIbIbIbIbIbIbIbIbIbIbIbIbIbIbIbIbIbIbIbIbIbIbIbIbIbIbIbIbIbIbIbIbIbIbIbIbIB1.
EckepTne: KpybIINHbI icke KockaHHaKeIH KaJIbINTbI TOJbIPbIHaH KpybIJfBIHbIH CaiKEc CaKTay TEMnepaTypacblOphIKKaHwa 4-5 caFAT KyTy KaKxET.
K¥PbIINfblFA Kbl3MET KΘPCETY ЖΘHE TA3AJAY
KypblfblhblkyneI type CynIg KHe cyfa apalactbipbnfah
beitapan ta3anay, cicepe Toa3blkltbih iin Ta3anlayfa
aphanfah 3attapmen Ta3anaHbI3. bcklW ta3anay 3attapdbi
naDanaHbI3. Epireh cybln TpaKaTbI KHe TNICTi afB1bH
kAMTaMaCbI3 ety yuH TOHa3blkltbIH XEMIC KHe KKeHic
XawiriHApTkbXaFbIHdaOpHaJnackaH HayaHbIH iWih YcbHbIFAH
Ka6bIKbI naIaNanHbIN KyneI Tpye Ta3anOTbIPbIH3 (cpeTTI KapaHbI3).
Kb3MeT KepcTeH HeMeCe Ta3aJayDbIH aJbIHDa TOK aIbIPbIH po3eTKaJaH 乌fapbHbI3 HEmec KpbIbHbI KyAT Ke3iHeh OwipiHi3.

JAM JAMNACbIH HEMECE XAPbIK INOD JAMbIH AYbICTbIPy (yIrrire 6aIIaNbIcTbl)
JAMnamnacbH aybictbipydbH aIdbIHda KpybJIbHbI epKaaah KyaT Ke3iHeaKbipatbHb3. Byan HKeHHimHre apHaJFaH JAMnamscbHbH TpyiHe Heri3deIreH NcckaynapDbOpbHdaHb3.
JAMnamnacbH TexnHKaBk KonDay KbI3Meti XeH eKInetTi catyubIapda catbJaTHbH 6ipDeCNaTTaFbI JAMnameH aybictbipyhbl3.
1-wamTypi)
JAMnamnacbIHany yuHIN OHbI CypTe KepcTeINReHEn, caFAT TJIiHe KapcBb6aBbTTa 6ypan aJIbIHb3. KypblfBiHb KaTaNocOyDah 6ypbH5 MNHyTTa KYTe TYpbHb3.

- ΕДeТТERiШAMЛЯМпасы(MaKc.25Вt)

Wam lamnacbi
Hemece
- JapbIK DIOJ WAM JAMnacBcI (CINaTTapbI 6ipDei) TEK TexHnKaIbIK KOJday Kbl3MetIHne CaTbIJaDbI

KapbIK nioD waam lamnaCbi
2-wam typi)
HIMHI TEmHeIe KepCetInre CypTePepderIeJ KapbIK DIOoI WAMdApbl BoJFaH KaFdaJaOJIaPdbI aybcIbpyKaKeT 6oNca TexHnKaJIbIK KonJday KbI3MeTIhe xa6apNaCbIbI3.
Kapbik DIOJ WAMdApbl eDetteri WAM lamnnapbHa KapaFaHda y3ak kymbic icTeiDi, iWiKi KeipHepJIkiTt JkaCapTaIbl XHE KopWafaH opTaF a 3nHDbI emc.



KYPbIFbIHbIH PAndAIAHbAY XAFDAHbIHDA
Kypblfblbkyat Ke3iHeA kbpalb13,60aTbHb3,My3dbepitih3 (kaKeT 6oJFaHa) XeHe Ta3anaHb3. Bemep iwiHde ayahBn CnpkyrauncbsHa MymkiHik bepy yuH ecikterdi cen aubk YCTaHb3. OcbHbH nEtnxecicHwe 3eh KHe KaFbIMCbI niCtIH TapanybH 6oJbIpMayfa 6oJaBl.
KYATNEH KAMTY Y3IJIrEHN JkAFdAJa
EciKTeepi Jka6bIK YCTaHbI3, OcbIaNla Tafamdap MymKInDiirHne Y3ak YaKaBt 60bI Cybl KnyIHde caKtaIaIbI. IwIHapa epitinre H TaFAMdApDk KaTAt My3dTaNHaI3. Eere Kyat y3iNici Y3aKa cO3bIcA, WAMDbI eWipy CnHabl BencceHdpiny MymKIn (3NeKTPoHnKaNbK eHIMdepJe).
TOHA3bITKbIbEJIMI
Toa3bITkbl 6eIiMi 6aJIbH TaFamdap JHe cybIHdApDbI caTayfMaMkiHik 6epei.
ToHa3bITKbIi 6eIimi ABTomaTTb TpyTe ToJIbIK epitinei.
BenimHin iWihderi apTkbl 6etIHc cy TaMdbnapbHbH 60Jybl ABOMaTTb epity Ke3eHInH 6enrici 60JbIn Ta6bnaBl. Epireh cy Tery KsybipbHa 6afblTajdaI JxHe KeiH 6ylnaHaTBH KOHTeHepde XINHanaDbI.
YIriCHe 6aJIaHaHbIcTbEhIM apHaBbI «HeJIdIK rpaIycS» 6eJIIMImeH JkaIbIKTaIybl MyMkiH, OJI 6aJIbH eT XeHE 6aJIbIKtbl caKtay yuIH aca OHtaIbI.
Eckepy: ToHa3bITKbIUtBih Kepek-KapaKaTapbH bIDbc MaunHaCbHda Ta3aJaMaHbI3.
EckepTne: opTaHbIH TeMnepaTypacbI, ecikTepeH aUbIy JxNliri XHe KpybIbIbIHbIH opHaJIacybl Eki 6eIIMdepderi iXKi TeMnpaTypacbHa ecep etyi MymKIn. TeMnpaTypanapdbIOcbI KaJaInapra caikec opHaTbIHbI3.
Eckptne: eTe bInfaIbI JkaFdaInapDa TOHa3bITkbIbI 6eJIIMiHde, aCipece eIHeK cpeJepDe KOHeHCAT Tsy3inyi MymkiH. MyHdai JkaFdaIa Da cybIKbIK bap KOHeHepJIepDi (MbICaN, copNa KybIFAH bIDc) Jxaby, cybIKbIFb KEN TaFamApDbI (MbICaN, KeKHeHicTeP) opay XaHe KaBbIKTaIFaH JkaFdaIa JeNDeTkiWti KOCy YcbIHbIaNbl.
Xemic XeHe KekHic Xawirih wBfapy (yJrire 6aunahbictb)
JXawikTi cbtpKa Kapai MymKihirHHe aIbIC etin TapTbHb3 Da, XOFapbl KeTeepin LbIFapblHb3.
Jemic XaHe KekHic XawiriHn bIfapblNybiH OHaJIaTy ywiH eki TeMeHri ecik cepenepiH
6ocatbln,(XaHe MymKihirHWe bIfapbl any) KeHH XawikTi bIfapy KaKeT BoNybl MymKih.
JenTeKiwXHe6aKTePnraFakcblnicti6oJdbipMaTbIH cy3ri
(ynrre 6aaiNaHbictb)
Jendtkiw 6nimdep iwiHderi TemnpaTypbIH TapaiybiH xhe caikeiHte TaFamapdbIH caTanyih kacapbIn,waMadaH TbIC bIfAinblkTbI a3aTadbl.KeJeTeTy aMafBih 6eremeH3. Jendtkiw Kojlmeh Kocbina/ewipine anadbl (Kbicka Hcckayblkbl kapaHb3); erep Jeeldtkiw Kocynb6oNca, kaxet 6oJFaHaOn abTomattb Typde Kymblc icTeiDi.
M¥3ДАТКыIlБθЛIMI
BeneK My3dAmkblu6eJimi 6ap ynai
M3daTbIb6eIiMi My3daTbIbnfah TaFamdapdb (opamda KepceTinreH mepim 6oib) caKayfa
kHe bafH TaFamdapdb My3daTyra MymkiHik 6pei.24 cafat iHne My3daTbIa aIaNbIH
balfn TaFamdapdb KJIeMI MeIWeepnep KecTeCInHe KePceTInreH. BafH TaFamdapdb My3daTy
6eJIIMIH (KbCKa HcayIbIKb KapaHbI3) My3daTy aMaFbIHda ayAHbIH epKIN cIpKyJnaCbHa
MymkiHik 6epi yih Tafamdap opamblh aiHaNaCbIH da KekTKiIKt OpBH KaIbIPA OtbpIn
OpHaIacTbIPbIH. lHiHapa epiTireh TaFamdapdb My3daTnay YcbHbJa. Cy, bIFan JxHe
KOHdeHCATTbIH eHyIH 60blpMay yuH TaFamdapdb opay kaxet.
Mz3TeKwpeIepin Jxacay
M3 HayacbHbH (KoJKeTIMdi 60nc) 2/3 6eNirih cyMeH ToTbIpbH, My3dAty 6eNimHe KaTa caJIbHbI. My3dbI bIfapy yuH e6ip kafdaaDa yuKip Hemece etKip 3aTTapDbI naJaHaHaBbI3. XawikTeprDi uBfapy (yIrre 6aIaNbHcTbI)
Kawiktepi Mymkiinirinwe anbc etin cbiptka taptbHb3, kofapbi keepin anblHb3. Kocimwa Kelemre kon kek3y yuih My3dakbll 6enimi xawiktepci naananaaba nana.
TamaKtI KaI Ta TopFa/Cepenepe KaI Ta OPhaTKaHHa KeiH ecIKTI H TniciHwe Xa6blfahbHa Ke3 XeTki3iH3.
Iuiki eHIM 6eJimi 6ap ynainep
My3daTkbIb6eNimIHDe *** 6aIbIbIH TaFamapdbI da My3daTyfa 6oJaDbI.24 carat iwiHde My3daTbIa anaTbIH 6aIbIbIH TaFamapdbIH KeNemIMeJIwepJep KecTeciHdKepcetijreH.
BaNfBIn TaFamDapdbI Kaan My3DaTy KaKeT:
-TaFamblbapbonca,Topa(1-cypet)Hemece6enimHH(2-cypet) actbHdaopHaIacTbIpbHb3
-TaFamDbI 6ypbIHHaH My3daTbJIFaH TaFamdApMeH XaHaCnaiTbIHda, 20 MM apaJIbIKTbCaKtaI OTpIpbIN, * *** 6eJIIMiHiOpTaCbHa caJIbIH3 (1XeHe 2 cypet).

1-cypet

2-cypet
EPITY ΕΙΙCΙ M¥3ДАТКыш БΟЛIMI
(yIirire6aJnahbictbl)
Kbipayfra Te3imdi yIirinep yuiin epiTy pocimdeipn opbHdaydbn kaxTei KOK.
Baca ylrinep ywiin Kbipaydbi Tzy3inyi Kaibntbi Kaafdai 6onbl Ta6bina.
KbipaydbH MeIepi Jxhe XnHaanybOpTa KaIdaiNapbHa XHe ecIKTH aBbIy XnIJIIRHe
baIaNbHcTbE3repei.CybIpaK TemnepaTyPAHbOpHaTy Hemece, KOnKeIMDi BOJCa,epity
bapbcIHda TafamdpabH CaKaTaNbYbH y3ApTu YwIH XbldAM My3DaTy cyHKUraCBH (KbICKa
HyCKaybIKbKaPapaH3) TaFamdpabMy3DaTy 6enlimiH anyad H 6ypbH 4 cAfTaKa KocbHb3.
Epity ywiH KybpInbH bEwipH3 xHe JeXwIKTeprI aBbHb3.Mz3DaTbIFan TafamDbCybIK Jepre
caIbHb3.KbipaydbH epinye MymkiHdiKy 6epy ywiH ecKi taawk KaNDbpHiB3.Epy 6bpicBHa
cydbH aBybH 6oBbIDpmay ywiH My3aTy 6enlmiH hactbHa ciHpriMaTaHb Tecen, OHbl KyyeJI
Typde cbfBn OTbipy CbHbJa.
Mzdaty 6eJIIMiHIn iUki KaFbIH Ta3anaHbI 3 XHe JKaKcbJIaI KanTIpH3.
KypbIJIbIbI KocbiHbI3 XeHe TaFamdapbl KaTApOpHbHa caJIbIbI3.
M¥3ДATY JCYNECIH TOKTATY (ynlire 6aɪnaNbICTbl)
KbIPAYdbI TOKTATY KJYIECI (yrrire 6aIIaHbICTb KoJIkeITIMdi) My3daty 6eIimi yuiin epitydi OhaJIaTaDbI. KbIPAYdbI TOKTATY KypalbI (1-cypeT) My3daty 6eIimiHne ty3iNETIH KbIPaydbI XnHay yuH JkacalraH xHe Obl aIbIn, Ta3aIay OHa, CoHdbIKTaH ON My3dAty 6eImiHIn IwKi KafbH epiTy yaKbITbH KbICkapTaDbI.
KbIPAYIbI TOKTATY KypaJIbIHdaFbI KbIPayIbI aJIbIN TacTay yuH TeMeHne KepceTIJreH ta3anay pacimIn opbIHdaHbI3.
KbIPAYdbI TOKTATY KYPALbIH TA3AJAY PocIMI
- My3daTkbIb6eJIIMiHIEciriH aIbIbI3 xHe KOFaPbI kEwIKTi aJIbIbI3 (2-cpeT).
-KbIPAYIbI TOKTATY KpaIbIH (3-cypeT) aKbIpaTbIHbI3 Da, TeMeHJderi eHneK cepere KyIaI KaIMaybIH KaIaFaNan, aJIbIHbI3 (4-cypeT). Eceptne: Erep KypaN KbICTbIPbIbIN KaIca HemeCe aJIbHybl KnBn 6oJcA, OHb IanyfTa IbPcNaHb3, 6ipak My3aDaty 6eJIIMHH ToJIbIK epITinyiH KaJIFaCTbIPbIHbI3. - My3daTy 6eJIIMiHIn ecirH kαβbIbI3.
- KypaIaIbI KblpaIyI bIaIbI aIbIH (biCTbIK eMEc) cyIbIH acTbIHda IaIO apKblIbI Ta3aJIaHbI3 (5-cyper).
- KypaIbI KeNTipiH3 XHe PnactIK 6eNikTepiH Kymcak MaTameH CyptiH3.
-7-A cypetihne KepceTJiren YbfbHkJI Jepnepre KpaanDbOpHaTy apKbIbnKaeta Hri3iH3 XHe KpaanDbH TetirH KofapbdaftyctaftbHTapmeh 6ekitih3 (7-B cypet).
KorapfblkawiktiKaetaehri3iH3de, My3dATkbll6eJIIMiHcicirHka6bIb13.
KbIPAYdI TOKTATy KypaIbIH e3diirHeH, My3daTkbIsh 6eimin epityci3 ta3anay MymkiH 6oJaIb. KblPAYdI TOKTATy KypaIbIH xyneJI type Ta3anay My3daTy 6eimin ToIbIK epity KaXeTTinirH a3aiTyfMaMymkiHdk Bepei.







EckepTne: eHIM CnnaTtAmanapbl, coHbIH iuiHne KeIemi XeHe KyaTbI KbIPAYDbI TOKTATy KpaBbHcb3 ecTeTenei.
«HÖΠДΙΚ ΓΡΑДΥС» ΒΘЛIMI (унгire ьаипьICTы)
《Hπdkrpauc》6aNilMi 6aNfblh TaFamapdb(MbicaIb, eT,6aJIbIK, XeMIC XaHE KbICbI KeKHeICTep) y3ak yaKbIT 6oBbI cKaTay yuH TeMeH TempePaTypaFaXaHe Tnicti bINfaJIbIKKa KOJ XeKtkiy uH apHaBI kacanFaH.
Activ0MymkiHdirimEn 6aIaNbIcTbipBlnFaH bIfAdbIbIKtbl 6ackapy texHOJorncbTaFam TOnbIfBImeOpJIMaFAH Ke3De OHbIH y3dIK cKaTaNbIH KaMTaMaCbI3 eTeJI.

Bélimdi kocy xhe eupy
BemHHi iki Tempeatypacbi 6nim Kocybl Kynde IaMaMeH 0^ TeH.
Bemimdi Kocy yin cypette kepctiireh Tymeikti beJIiwe xan6aHa7a biP cekyHtah apbIK bacIn ycTan TpybIb3.
Kahbin TypaTbH 6eNriie 6eimHin Xymbcic
icten TpyFaHdbIbH 6iJdipei. Bemimdi
ewipy yuhi TYmmeuikTi bip cekyHtAn apTbIK
baciny cTan typbHb3. Bemimdi ToBik
ewipy yuhi Keuukti uhrapky kaxkTe.

《Hnndik rpauc》6eJIIMITnicHwe JyMbIC icTeyi yuHKeNeci KaFdaInap opbHdanyTnic:
- ToHa3bITKbIi 6eIimi Kocblnyi Tnic
- Tempepatya +2°C xəHe +6°C apaNbIbHda
- «Hεπικίραγς» έθεπιπίδει κελικίν ευτίαπι τύργοῦ τήσει
- keleci apnaib cyHKunapdbiH bi pi TaHaMaFah: Stand-by, Cooling-Off, Vacation (6ap 6oJca), 6yI JxafdaJa ObIH iWIn deri TaFamapdbi WbIFapbl3.
Eckeptne:
- erep 6eJIIMdi Kockan JkaFdaIa 6eJIriue JkaHbaca, JxuikTIn TniciHne eHriiYin TeKcepH3; erep akayIbIK ueijlmecE ekinetI TexHKaIbIK konday KbI3MeiTHe xaBapIacbIbI3.
-erep 6eJIIM KocyIbI JxHe Jxuik IyIrapblfAn 6oJCa, bAcKAp y naHeniHderi 6eJIriWe aBtOMaTTbI Tpyde eSyI MymKiH. XeuiK eHriizreH Ke3e 6eJIiWe KaTAt xHaHaDbI - 6eJIIMHi KaFdaBbHa baiJaHbICbI3, KaIbIITbI den ecENTeNETIH cAn ecTIneTih yy ecTIy i MyMkiH.
- 6eJIIM JyMbIc icTemereH JaIaIa OIbIH iIiHderi TempeaTypa ToHa3bITKbIi 6eJIIMiHJ KaIIbI TeMpeaTypaBaIaHa 6aIIaHbICTbI 6oJaIb. MyHdai JkaFauIa CybIKKa TeImDi eMeC JeMIC XHe KekHic (XuIeK, aIMa, epiK, c6i3, 5nHAT, KblpIKKaBaT) MyHa caKTana aIaNbl.
MaHbI3bI: Erep 6eim Kocylb Jxhe Kypamblda cyblkTbIbI ken TaFamdap OHbIH iwiHde bOJca, cepelepde KOHeHCAT Ty3iNyIMKIN. Mynda JkaFdaJa d fyHKnraHbY aKbITwa eWipiH3. ΘIwemKi iKKeHTa Tafamdap KHe KOteHneHepnepdi cepelepdiH apacbHa XHe ToHa3bIKbI W beJIminH apTKbI KaftbHa Tycin KaNbH boNdbIpMay yuHIn «HeNdk rpaDyc» beJIminH cepecine opHaTy ke3iHde abai bOblHB13.
«Hénlík rpaúc» 6θeɪmɪn any:
KeJIeCi KaamapdbOpbIHdaHb3:
-6JIIMHI anIbHybIH xeHJIDety yuiH TeMeHri ecik cepenepin bocaty (xHe MymKihirHwe any) YCbHbIJaDbI.
-6eimdi ewiipin3
-6eJIIMdi kOfapbaiHaHAnDbipyapKbIbIaIbIHb3
-aknnactnK cepenH 6JIIMHH actbHaHaJIbHbI3
Eckeptne: Xofapfbl capehi Xene 6yipnik TipeKTeppi any MymkiH eMeC.
«Hπdkrpauc» 6eimin KaTaNaiDanaHy yuih Xawiki eHri3y XHe pHKnraHb KaTakocuyanb6pybH ak nnactNK cepehi 6eimHH actbHa KaTa opHaTbHbI3.
ToHa3bITKbIbTbIH KeJIemIH yIKeIy KHe KyaTbIH TyTbIbIyIbIH a3aI TY WsiH «HeNdiK rpaDyc> 6eimin eWipy XHe bIImDi IbIgapy YcblnadaIbI.
Bolimdi Xehe OhIn KypamdaTapbH KyneI Type JxHe XbIbI cy (ak PnactIK cepeciHxwik actbHa TycnyiHe Ke3 KeTkiin) MeH ToHa3blKbIuTbH iuiH Ta3anayf apHaanrHan beiTapan Ta3anay 3aTAPbHbH KEMerIme Ta3anaHbI. bIckbiu Ta3anay 3aTAPdb NaJaAnaH6aHbI3.
Bemdi (coHdai-ak, cbiptbH) ta3anaydaH 6ypbH XawikTi any Xhe 6eimhi H nektp KyaTbH aKbipaTy ycbihbIaBl.
TEXHINKAJIbIK KOJIdAY Kbl3METI
TexHnKaIbIK KOnDay KbI3MeTIHe xa6apIacydAn 6ypbIH:
AkaynbIKbIh WewinyiH TeKcepy ywiH KypblfblHb Kaeta icke Kocblb3. Oanai 6oJMaaca KypblfblHb Kaeta aKxbipatblb3 XaHe pOcimdi bip caTAn H KeiH KaNTanaHb3. HyckaybIKTa KepcetinReH aKaylbIKTap TeKcepyepin opBHaDaHaHH HxHe KypblfblHb Kaeta icke KocKaHHaH KeiH KypblfblHb3 KaTe JyMbic IteCe, TexnKaJIbK KOJdAy KbI3MetMeH xaBapnaCbIn, aKaylbIKbIb XaHe XaFdaNDb TOJbIK TyciHdpin bepHi3:
akaylbk Tpyi
- ynrici
KpybIfblHbIH Typi XHe cepnIbIK Hempi (MJIseepnepe Kectecinde KepcetinreH)
Kb3metTik Hemipi (KoJIkeTImdi 60Jca) (KypblfblHbI iHne opHaJaNackaH TexHnKaIbIK TELKyKaTTarbl SERVICE ce3iHeH KeIHri Hemip)
SERVICE
0000 000 0000

Eckenthe:
TexHnKaJIbIK KOnIay KbI3MeTImeH opbIHdaIca, KpyblfI ecikTepiH OPhbIH aybICTbIpy KeiINDeMe KbI3MeT Kepcety peTIHe KapactbIpBIMaIbI.
BVKOPNCTAHNBAPEPU
Piiiknouitb npnilad do eJeKtpomepekji.
Y moJeyx, ochaueHnx eJeKtpoHIOHO, MoKe lyHaTu 3ByKOBu CnHaJI. Lc cbiUHTb npo BBIMKHeHHa CnHaIy npo npuyueHHa Tempeatpyu. HatncHtB KhoNkY BmMKeHHa CnHaJy npo npuyueHHa Tempeatpyu. BMOHTyIte y BeHTnlaTOp aHTnbAKeTpiaJbHNI φilbTp dJa 3HnueHHa HEnpneHHx 3anaxiB,Як ce nokazao Ha ynaKobu (kaio foJIbTp noCTaayetcbra KOMPJIeKti).
Pnmitka.Ybimkhnybwn npnilad,3auekaTe 4-5 roHN,doNt tempepatya BCEpeDNIH hboRo He DOcRHe HaneKHO rO 3naeHHraJHKHO 36epirAHn npOdyKTIB.
OBCLYROBYBAHNY OUYIeHHN PnIaNy
PerylphO ouHsauIte npnla3 3a DOJOMoTO M'HOIO TKAHNH Ta TeNLOI BODN 3 PO3HHeHIM Y HiN HeHTpaJIbHIM MIOUcHIM 3aco6om, npuDAthmI DnA OCHSeHHB BVHTPIHIX NOBepxOHb XOLODINbHORo BIDINHEHr. He 3actocOByTe a6pa3HBNI MNOCh 3ACo6n. Jnra 3a6e3neueHHb 6e3nepe6iHORo Ta npabINbHO r CTiKaHHr TanoI BODN peryLphO hOuSAaHTpeHaKHNOTBip, po3TaWOBAHn Ha 3aNDn PAHeLi XOLODINbHO R BIDInEHHa 6JIa KOHTeHepa dJa NTIB I OBOvI, BVKNOPNCBOYUOn DnI Zc0Ro IHCtpyMeHT, 10 NoCTaHaETCB R KOMJIeKTI (INB. PnCyHoK).
Ipeed BnKoHaHHa6yDb-RAkx pObit i3 ouHueHHa 60 texHioHorO
O6cIyROvBaHn npiHaNy, BVITaHrHiB BVILKy 3 po3ETKn a6o BiJ'eHaNte NOro BiD eJeKtpomepeKi.

3AMIHA JAMPN ABO CBITJIOIHOHORO IHdNkATOPA (zaJIeHHo BiD moJIeNi)
Iepw hix 3amHnTn lamny, 3aBKnD bID'EDHyTe npJauB iD eJeKtpomepeKi. Iotim doTpmytecra BkazibOK 3aJIeXHO BID Tnpy lamnn, RaN iNxoJntb dNRA baOoi moEJI npJauNy. 3amHtcb tapy lamny ha HOy (ixhi fynkui MaTOb cNIBnadatn). lamny moJHa npNJ6aTn, 3BepHyBnsbc y LcHTp texHicHo iNtprmKn KlIEHITb aBO b ABOTn3OBaHI TOKN npOdaKy.
Tn lamnn 1.
IooB BnlyuHTn lamny, BnKpyTiB II npOTn rOaHHNKOBoI cTpiKN, RaIe noka3aHO ha pncyHky. 3aueKaJte 5 XBNIHN, nepw HIX NOBTOPO NiKJIIOUATn npCTpiN.

-нласичнылamny(MaKcIMyM 25Вt)

HlaacnHa lamna
a6o
- CBITIOIDHm iHnKaTOp (3 TaKIMN JyHKUJMI) MOJHa npu6aTN BnKluOHO B LHeTpI TEXHiUHOi NiDTPMKN KJIeHTIB.

CbITIOIOHNIHINHATOP
Tn lamnn 2.
JaHIO npnlaO cNaueHO CBITIOJIOHMn IHmKaTOpaMn (RA NOKa3aHO Ha pncyHky HnXue), RaKi nOTpi6HO 3aMIHTN, 3BepHITbcra B LcHTp TexHiHo iIaTpIMKn KJIeHTIB.
CbitIoDiHIni HnHaTOpN CnyHyOt bObWe, HiK 3BnuaHni lamn, 3a6e3neuToB KpaIe OCBITHeHH Ta He WKOJrTa HABKOLINHbOMy cepeOBnU.



Instructions for use
Fridge with freezer compartment
| DEUTSCH | Gebrauchsanweisung | Seite 4 |
| FRANÇAIS | Mode d'emploi | Page 10 |
| ENGLISH | Instructions | Page 16 |
| NEDERLANDS | Gebruiksaanwijzing | Pagina 22 |
USING FOR THE FIRST TIME
Connect the appliance to the power supply.
In models with electronics, a sound signal may be emitted, which means that the temperature alarm has been activated: press the sound alarm off button. Where provided, position the antibacterial anti-odour filter in the fan as demonstrated in the filter packaging.
Note: After turning the appliance on, you must wait for 4-5 hours for the correct storage temperature to be reached for a normally filled appliance.
MAINTENANCE AND CLEANING OF THE APPLICANCE
Clean the appliance occasionally with a cloth and a solution of warm water and neutral cleaning agents specifically for cleaning the inside of the refrigerator. Do not use abrasive cleaning agents. To ensure the constant and correct flow of the defrosting water, regularly clean the inside of the drain situated in the back wall of the refrigerator compartment near the fruit and vegetable drawer using the utensil provided (see figure).
Before carrying out any maintenance or cleaning, take the plug out of the socket or disconnect the appliance from the power supply.

REPLACING THE LIGHT BULB OR LED
(dependently on the model)
Always disconnect the appliance from the power supply before replacing the light bulb. Then follow the instructions based on the type of light bulb for your product.
Replace the light bulb with one with the same features, available from the Technical Assistance Service and authorised sellers.
Light type 1)
To remove the light bulb, unscrew it in an anti-clockwise direction, as shown in the figure. Wait 5 minutes before reconnecting the appliance.

- traditional light bulb (max 25W)

Light bulb
or
- LED light bulb (with the same features)
only available from the Technical Assistance Service

LED light bulb
Light type 2)
If the product has LED lights, as demonstrated in the figures below, contact the Technical Assistance Service if you need a replacement.
LEDs last longer than traditional light bulbs, improve internal visibility and are environmentally-friendly.



IN THE EVENT OF NON-USE OF THE APPLICANCE
Disconnect the appliance from the power supply, empty it, defrost it (if necessary) and clean it. Keep the doors slightly ajar to let air circulate inside the compartments. By doing this, you avoid the development of mould and bad odours.
IN THE EVENT OF AN INTERRUPTION TO THE POWER SUPPLY
Keep the doors closed so the food stays cold for as long as possible. Do not re-freeze food that has partially defrosted. If there is a prolonged power cut, the black out alarm may also activate (in products with electronics).
REFRIGERATOR COMPARTMENT
The refrigerator compartment allows for the storage of fresh food and drink.
The refrigerator compartment defrosts completely automatically.
The occasional presence of drops of water on the internal back wall of the compartment is a sign of the automatic defrosting phase. The defrosting water is channelled into a drain and then collected in a container, where it evaporates.
Depending on the model, the product may be equipped with a special "Zero Degrees" compartment, which is ideal for storing fresh meat and fish.
Warning: do not clean refrigerator accessories in a dishwasher.
Note: the ambient temperature, how often the doors are opened and the position of the appliance may affect the internal temperatures in the two compartments. Set the temperatures depending on these factors.
Note: in very humid conditions, condensation may form in the refrigerator compartment, especially on the glass shelves. In this case, it is recommended that you close containers with liquids in (e.g. a pot of stock), wrap up food with a high water content (e.g. vegetables) and turn on the fan, if there is one.
Removing the fruit and vegetable drawer (depending on the model)
Pull the drawer outwards as far as it will go, lift it up and take it out.
To make it easier to remove the fruit and vegetable drawer, it may be necessary to empty (and possibly remove) the two lower door shelves and then continue to remove the drawer.
Fan and antibacterial anti-odour filter (depending on the model)
The fan allows for the even distribution of the temperatures inside the compartments and, consequently, better preservation of the food and reduction of excess humidity. Do not obstruct the ventilation area. The fan can be turned on/off manually (see the Quick Guide); if it is turned on, it operates automatically when necessary.
FREEZER COMPARTMENT
Model with separate freezer compartment
The freezer compartment ^** allows for the storage of frozen food (for the period indicated on the packaging) and the freezing of fresh food. The quantity of fresh food that can be frozen in 24 hours is written on the rating plate. Arrange the fresh food in the freezing area inside the freezer compartment (see Quick Guide), leaving enough space around the food packages to allow air to circulate freely. It is advisable that you do not re-freeze food that has partially defrosted. It is important to wrap the food in a way that prevents the ingress of water, humidity or condensation.
Making ice cubes
Fill 2/3 of the ice tray (if available) with water and put it back in the freezer compartment. Do not use sharp or pointed objects to remove the ice under any circumstances.
Removing the drawers (depending on the model)
Pull the drawers outwards as far as they will go, lift them up and remove them. To get more volume, the freezer compartment can be used without the drawers.
Make sure that the door is closed properly after putting the food back on the grilles/shelves.
Models with an internal product compartment
In the freezer compartment you can also freeze fresh food. The quantity of fresh food that can be frozen in 24 hours is written on the rating plate.
How to freeze fresh food:
- arrange the food on the grille, if present (figure 1), or directly on the bottom of the compartment (figure 2)
- put the food in the middle of the compartment without it coming into contact with food that is already frozen, keeping a distance of about 20 mm (figure 1 and 2).

Figure 1

Figure 2
HOW TO DEFROST THE FREEZER COMPARTMENT
depending on the model)
For frost free models it is not necessary to carry out any defrosting procedures.
For other models, the build up of frost is a normal occurrence.
The quantity and speed of frost accumulation varies depending on the ambient conditions and how often the door is opened. It is advisable to set the temperature colder or, if available, turn on the quick freeze function (see Quick Guide) four hours before removing the food from the freezer compartment, to prolong the preservation of the food during the defrosting phase. To defrost, turn the appliance off and remove the drawers. Put the frozen food in a cool place. Leave the door open to allow the frost to melt. To prevent the water from escaping during the defrost, it is advised that you place an absorbent cloth on the bottom of the freezer compartment and wring it out regularly.
Clean the inside of the freezer compartment and dry it carefully.
Turn the appliance back on and put the food back inside.
STOP FROST SYSTEM (depending on the model)
The STOP FROST SYSTEM (available depending on the model) facilitates the defrost procedure for the freezer compartment. The STOP FROST accessory (figure 1) is designed to collect some of the frost that forms in the freezer compartment and it is easy to remove and clean, therefore reducing the time needed to defrost the inside of the freezer compartment.
To remove the frost on the STOP FROST accessory follow the cleaning procedure demonstrated below.
PROCEDURE TO CLEAN THE STOP FROST ACCESSORY
- Open the freezer compartment door and remove the upper drawer (figure 2).
- Unfasten the STOP FROST accessory (figure 3) and remove it (figure 4), taking care not to drop it on the glass shelf below. Note: if the accessory is jammed or difficult to remove, do not keep trying to remove it, but proceed with the complete defrost of the freezer compartment.
- Close the door to the freezer compartment.
- Remove the frost on the accessory by rinsing it under running (not hot) water (figure 5).
- Let the accessory drip dry and dry the plastic parts with a soft cloth.
- Reinsert the accessory by placing the back part on the projections shown in figure 7-A, then refasten the handle of the accessory to the clasps above (figure 7-B).
- Reinsert the upper drawer and close the door to the freezer compartment.
It is possible to clean the STOP FROST accessory on its own without completely defrosting the freezer compartment. Cleaning the STOP FROST accessory regularly helps to reduce the need to completely defrost the freezer compartment.
Note: the product specifications, including volume and energy, are calculated without the STOP FROST accessory.







"ZERO DEGREES" COMPARTMENT
depending on the model)
The "Zero Degrees" compartment is specifically designed to maintain a low temperature and the correct humidity to preserve fresh food for longer (for example, meat, fish, fruits and winter vegetables).
Humidity control technology coupled with Activ0° provides the best food preservation when the food is not completely packed.

Turning on and turning off the compartment
The internal temperature of the compartment is approximately 0^ when the compartment is turned on.
To turn on the compartment, press the button shown in the figure for more than one second until the symbol lights up.
The lit symbol means that the compartment is working. Press the button again for more than one second to turn off the compartment. To turn off the compartment completely, you must remove the drawer.

For the correct functioning of the "Zero Degrees" compartment, it is necessary that:
- the refrigerator compartment is turned on
- the temperature is between +2^ and +6^
- the drawer in the "Zero Degrees" compartment must be inserted for it to be turned on
- one of the following special functions is not selected: Stand-by, Cooling-Off, Vacation (if present), in this case, remove the food contained in it.
Note:
- if the symbol does not light up when you turn on the compartment, check that the drawer is properly inserted; if the problem persists contact the authorised Technical Assistance Service.
- if the compartment is turned on and the drawer is open, the symbol in the control panel may automatically turn off. The symbol will light up again when the drawer is inserted
- regardless of the state of the compartment, you may hear a faint noise, which you should consider as normal
- when the compartment is not in operation, the temperature inside it depends on the general temperature of the refrigerator compartment. In this case, it is advised that fruits and vegetables that are not sensitive to cold (berries, apples, apricots, carrots, spinach, lettuce, etc.) are stored in it.
Important: if the compartment is turned on and food with a high water content is present, condensation may form on the shelves. In this case, turn the function off temporarily.
Be careful when positioning food and containers that are small in size on the upper shelf of the "Zero Degrees" compartment in order to prevent them accidentally falling between the shelf and the back wall of the refrigerator compartment.
Removing the "Zero Degrees" compartment:
Carry out the following steps:
- to make it easier to remove the compartment, we recommend that you empty (and possibly remove) the lower door shelves
- turn off the compartment
- remove the compartment by rotating it upwards
- remove the white plastic shelf under the compartment
Note: it is not possible to remove the upper shelf and side supports.
To use the "Zero Degrees" compartment again, carefully reposition the white plastic shelf under the compartment before inserting the drawer and turning the function back on.
To have a larger refrigerator volume and to reduce energy consumption, it is recommended that you turn off the "Zero Degrees" compartment and remove the compartment.
Clean the compartment and its components occasionally using a cloth and a solution of warm water (taking care not to submerge the white plastic shelf under the drawer) and neutral cleaning agents specifically for cleaning the inside of the refrigerator. Do not use abrasive cleaning agents.
Before cleaning the compartment (also externally) it is necessary to remove the drawer to disconnect the electrical supply for the compartment.
TECHNICAL ASSISTANCE SERVICE
Before contacting the Technical Assistance Service:
Restart the appliance to check if the problem has been solved. If not, disconnect the appliance again and repeat the procedure after one hour.
If, after having completed the checks listed in the guide for malfunctions and after restarting the appliance, your appliance continues to function incorrectly, contact the Technical Assistance Service, clearly describing the problem and stating:
the type of malfunction
the model
- the type and serial number of the appliance (written on the rating plate)
- the Service number (if available) (the number that is after the word SERVICE on the rating plate placed inside the appliance)
SERVICE 0000 000 00000

Note:
Reversing the doors of the appliance, if carried out by the Technical Assistance Service, is not considered as a warranty claim.
Nederland Home Product Service (ATAG)
Postbus 249
6920 AE Duiven
PROSTOR S NULOVOU TEPLOTOU
podle modelu)
- Traditionel paere (maks. 25 W)

Pare
eller

Pare til LED-kontrollamper
- LED-paere (med samme functiomer)
kan kun fas hos et servicecenter
Paeretype 2)
I TILFÆLDE AF SLUKNING AF APPARATET
Kpyusha Ha lamnnuKhata
N
- CBeToIIOJHa KpyUHa Ha IaMnUHaTa (CbC CbUHeXapaKTepnCTnK) HAnuHa cAm OToTdeJa 3a TeHnueeKa nOMOu

CBeToDnOdHa KpyuHa Na IaMnHcKa
Jamnnuka Tn2)
Ako npodykTbT pa3noIarapcBc CBeToNDHn lamnHKn, KaKTo e NOKa3aHO Ha nHygypaTa no-dOly, ce CBpKeTe c OTdela 3a TexNHeCKa NOMoU, aKO CE HJKaTe OT pe3epBHa lamnHka.
CbeToNDIOJNTe N3dbpKJat NO-ДЛгО OT cTaHdapTHNte KpyuHn Ha JAmnUHn, NOdo6pRaBt BIVIMOCCTTaNBB VbTpEwHOCCTTaN ca EKOJIOrHNOcBo6pa3HN.



MoJIc BbTpewHO OTdIeHHe Ha npOdyKTa
B O tДeJIeHHeTo Ha ФрИЗepa MoJHeTe Да 3ampa3RbATE ИnpesChi XpaHn. KolIynchTeBTO Ha npeschHte XpaHn, KOnTO MOratДа 6bDat 3ampa3eHn 3a 24 Yaca, e NocOueHo Na Ta6eHkata c OCHOBHInTe DaHHN.
Kan da 3ampa3BaTe IpecnxpaHn:
- noДрЕдTe xpaHnTe Ha cKaPaTa, ako e HaIuHa (ФИгура 1), ИлДиРЕКTHO B ДолнaТа чАт ha OTДeЛeHnETo (ФИгура 2)
- NOCTaBeTe XpaHInTe B cEHTbPa Ha *OTdJIeHHeTo TaKa, Ye Da He BIn3aT B KOHTaKT C XpaHInTe, KOINTo Beue Ca 3aMpa3eHn, 3aNa3BaJn Pa3cToHnE O T OkO Io 20 mm (ФИгур n 1 n 2).

Фигура 1

Фигура 2
BkhIOUeTe OTHOBO ypea I noCTaBeTe o6paTHo xpaHaTa BbTpe.
СИCTEMA 3A СПИРАЕ HAOBPA3YBAHETO HA CHPEЖ
(B 3aBnCHMOCT OT MOdela)
CNCCTEMATA 3A CINPAHE HA O5P3YBAHETO HA CKPEK (HaIyHbBaBcIMoCT OT MoJeLa) yIeChra Ba IpoIeDypaTa Ha o6e3ckpeKaBaHe Ha otDeIeHneTo Ha φpI3epa. AkCeCoapBT CINPAHE HA O5P3YBAHETO HA CKPEK (fNpya 1) e npOeKtnpaH 3a c6bnpaH He qacT OT cpeJa, KoITo Ce o6pa3yBa BOTdeIeHneto Ha φpI3epa, I e IecEH 3a OTcPaHbAHe N IOuHCTBaHe, C KOeTO HAMJIba BpemTo, Heo6xOIMMo 3a o6e3ckpeKaBaHe Ha BtpeHocTt Ha OTdeIeHnTo Ha φpI3epa.
3a da otctpaHte cKpeHa oT aHcecoapa 3a CINPAHE HA O5PA3YBAHETO HA CKPEH, cIeBaIte npoecdypata 3a nouchtahe, nocoueha no-dolny.
ПОЦЕДУРА 3A ПОЧИСТВАНЕ HA AKCECOAPA 3A СПИРАНЕ HA OBPA3YBAHETO HA CHPEЖ
- OTBopete BpaTata Na OTdienHeNoTo Ha pIn3epa nI3BaTe TropHTo YekMedJe (fmyrpa 2).
- Pa3kaheTe aKcecoaapc CnIPAHE HA O5PA3YBAHETO HA CKPEH (fNpyra 3) n ro OtctpaHete (fNpyra 4), Kato BnIMBaTe da He ro n3nycheTe Bbpyx CTbHNeHn paAPT OTdOly. 3a6eJHKa: ako aKcecoapbTe b6loKnpaI nn Tpyden 3a OTCTpaHraBe, He npOdbJIhAbaTe Da ce ONTBaTe da Ro OTCTpaHnTe, a PpemHHeTe KbM 3aBbPbWbAHe Ha o6e3ckpeJkBaHaTe Ho OTDeJeHHeTo Ha pfH3epa.
- 13aTbOpete BpaTaHa OTeJeHneTo Ha φpnsεpa.
- Otcpanhe cckpeka ot akcecoapa, kaTo ro n3pIakHe npd Teuasa (Ho He ropeua) Boda (fHypa 5).
- Octabete aKcecoapa da ce otuei n noocyuwe Te PnactMacOBITE YACTN C MeKa Kbpna.
-MoHTnpaIte OTHOBO aKcecoapa, KaTO NOCTaBnTE 3aHaTAt YAcT Bbpyu N3daJeHnTe YacTN, NOKa3aHn Ha FInrpya 7-A, CNeIe KoeTo NOCTaBete OTHOBO DpBXKaTa Ha aKcecoapa BbB FInkCaTopHe OTRope (FInrpya 7-B).
-IOCTaBeTe OTHOBO RopHTo YeKMeIKe H 3aTBOpTe BpaTaTaHa OTdeIeHHeTo Ha φpnsεpa.
MOnKeTe Da noUcTbATE cAmo aKceCoapa 3a CnIPAHE HA OBPA3YBAHETO HA CHPEH6e3 nbJHo 06e3ckpeKaBaHe Ha OTeJeHne HaФpI3epa.PeDobHOTo NOUcTbAHe Ha akceCoapa 3a
CINPAHE HA O5PA3YBAHETO HA CHPEHK nomara 3a haMaJIyBaHe Ha Heo6xOIMOCCTTa OT IIJHO oBesckpeKabane Ha OTdelenHeTo Ha pns3epa.







3a6eJekHa: CneuHkaunHe Ha npOdyKta, BkIouNteHIO o6ema n eHepnraTa, ca n3UcJIeHn 6e3 aKcecoapa 3a CnIPAHE HA O5PA3YBAHETO HA CKPEHK.
OTDEJEHNE ,Hyla rpaYCA
(B 3aBnCmOcT OT MoDena)
OTdIeHHeTo, Hyla rpaUca" e CneuHaNo npOeKtnpAo 3a PnDbPkaHe Ha Hncka TempepaTpya N NOxOJaTa BlaXHoCT c cel 3ana3BaHe Ha npeChnTe XpaHn 3a No-DbIro BpeMe (Hanp. MeO, p6a, nIoDoBe u 3mMn 3eJeHuyn).
TexHOrnraTa 3a KOHTPOlnpaHe Ha BlaJHKoCTTa B CbYeTaHne cActiv0ocnrypBa Hn-Do6po 3ana3BaHe Ha XpaHnTe, KOraTo Te He ca HaNbIHO ONaKOBaHN.

BkIIOUbaHe n3KIIIOUbaHe Ha OTdeJeHHeTo
Bbtpeunha Te mnpaeta Ha otdeleheneto e okolo 0^ ,Korato otdeleheneto e Bkluoyeho.
3a da BHJIOUHTe OTdEJIeHHeTc, HATNCHETe 6yToHa, NOKa3aHn Ha fIgypata, 3a NOBeue OT eHa cekyHda, DOKaTO CmB0BJT CBETHE.
CBeTeuHT CmB0J NocOyBa, Ye OTdEJIeHHeTo
pa6oTn. HATncHete 6byToHa OTHOBo 3a
noBueYe OT eJHa cekUHda, 3a Da n3KJIIOUHTe OTdEJIeHHeTo. 3a Da n3KJIIOUHTe HAnbIHO
OTdEJIeHHeTo, Tp8Ba Da n3BaJnte
YekMeJxKeTo.

3a npabnilhoTo yHKnIOHOHPaHe Na OTeJIeHHeTo "Hyla rpaYca" e Heo6xOIMo:
- OTDélenéHnTo Na XlaДиЛнИнka Да e ВКлочeHo
- Temnepaypata da e mejdy +2°C n +6°C
- YeKmEJHeTO BOTdIeHHeNoTo,Hyla rpaIyca" TpI6Ba Da e IocTaBeHO,3a Da Ce BHKIOU
- eHa OT cIeHNITe CneuHn HyHKun Da He e I36paHa: FOTOBHOCT, OxlanJaHe-N3Kn., BaKaHcna (aKo e HaUNH), B TO3N cIyua OTCpaHete XpaHaTa, HAMPaUca Ce BbTpe.
3a6eJekHa:
- aKo CmBOLbT He CBETBa, KOraTo BKNIOUHTe OTdEJIeHHeTO, IPOBepTe DaIIN YeKMeJKeTo e IpaBnIHo NOCTaBeHO; aKO npO6JIeMbT pNOdbJIkaBA, ce CBpbKeTe C OTdela 3a TexNHyecKa NOMOu.
aKo OTdJIeHHeTo E BkIIOUeHO NueKMeJKeTo e OTOBpeHO, CmBOJbT Ha KOHTPOJIHnI NaHeI MoJe Da ce N3KJIouN aBTOMaTHuHO. CmBOJbT 1e CBETHe OTHOBo, KOraTo YekMeJKeTo Ce NoCTabN - He3aBNCIMMO OT CbCTOHNHeTO Ha OTdJIeHHeTo, MoJTe Da YyeTe Cna6 Uym, KoITo TpI6Ba Da ce npHema 3a HOpMaJIeH
- Korato OTdelenHeTo He paBoTn, TempepatpaTa B Hero 3abncn ot o6uata Te mnpaTpya B OTdelenHeTo Ha XlaDInHnka. B To3n CnyaJc pe npenopbUba IIIOOBeTe n 3eJeHcyuIte, KOHTo He ca YyBCTBNTeHN KbM cTydeHO (dpe6hN be3KocTHNKOBn IIOOBe, JbIKn, KaCn, MOpKOBn, CnaHaK, MapyJI r T.H.), da ce CbXpaHraBaT B Hero.
BaxHo: aKo OTdJeHHeTo e BkIoueH o e HaJIuHa xpaHa c BnCOKO cbDbpKaHne Ha BOda, no paTOBte MoKe Da ce 6bpa3yBa KOHN3aun. B To3n CnyaH N3KIOUeTe FyHKUaTb BpeMeHHO. O6pbTaIte OOC6eBO BHNMaHne, KOrATo NoCTaBtE XpaH N KOHTeHepr C MaJbK pa3Mep Ha rOpHra paT h AOTdJeHHeTo "Hyla rpaDyca", 3a da npedotbPaTHe CnyauHOTo IM NaDahe MeJdy paT Ta n 3aHaTa CTeHaTa Ha OTdJeHHeTo Ha XlaAnlHnka.
OtctpaHbAne Ha OTeJeHneTo „Hyla rpaDyca“:
I3nblHete cIeHNHTe C7bNk:
-3a da ce yuechno OTCTpaHraBaHeTo Ha OTdeJeHneTo, npenopbUbame da ro N3npa3HnTe (N BepoTHO DA OTCTpaHnTe)doJIHnTe paTOBe Ha BpataTa
-ИЗКПЮЧЕТОТДЕЛЕНЕТО
-OTCTpaHete OTdelenHeTo, KaTo FO 3aBbptnTe Harope
-OTCTpaHete6eJnIyIaTMacOBpaTnoIOTdJIeHHeNo
3a6eJekha: roHnIpaHT nCTpaHnHInTe NOIopn He MOra T da Ce OTcPaHbA.
3aДаИЗПОЛЗВATE OTHOBО OТДЕLEHNETO „Hyla rpaDyca“, NOCTaBeTe OБрАно БeлЯ ПlaCTмСВОВ paФТ пОД OТДЕLEHNETO,праздЯ NaocTавITE YeKMeДжЕТО И DA BHLIOHTe NaK ФУнкцятA.
3a yBéIyUaBaHe Ha ObEma B xlaIINHnKa I HAmJIaBaHe Ha KOHCymaIra Ta Ha eHeprna Ce npenopbua Da n3KlOuHTe OTdelenHneTO, Hyla rpaDyca" I da rO OTCTpaHnte.
Почистваite пояжORA OTДеленец 和 HerobITE KOMNOHENTN, KaTO ИЗпольвate Кьрп и раТВОР На ТОПЛА ВODA (И объшайтЕ BИМане 3a ИЗбгВанe Ha NOTANЯ He 6БЛЯ ПИСТMACOB paФТ ПОД.YEнMedжeto) 和 HeytralnNoPCHSTBaUПпралapTи, CNEцmaHIO ppeBVDENH 3a NOHCTBAHe Ha ВБТРшнOCТаHa XlaДиLнИКa. He INIOL3BaIte abpa3INBn NOHCTBaUПпралapTи.
IpeHn nouchBaHe na OTdeJeHHeTo (n OTbB) e Heo6xOJMo da OTcpaHnte YehMeJHeTo, 3a da N3KIOUHTe 3axpaHbaHeto KbM OTdeJeHHeTo.
OTDEJI 3A TEXHnuecha NOMOUI
Ipei Da ce CbpxHe c OTeLa 3a texHnuecha NOMOu:
PecapTupaIte ypea, 3a da npOBepnte daJI npObleMbT He ce pa3peuIN. Ako He e, n3HIOUHeTe OTHOBO ypea I NOBTOpeTe npOceDypaTa Cled eEHN Yac.
Ako cIeI 3aBbPbBaHe Ha npOBepHnTe, nocOcEHn BpbKOBODCTBOTO 3a HnE3npaBHOCTn, n CJIe peCtApTnpaHe, ypeDbT npOdbJHKaba Da pa60THnEhpabNHO, ce CBpKeTe COTdela 3a TEXHnecha NOMoU, ONHWeTe np6bIema n nocOHTe:
BnDaHaHEn3npaBHOCTTa
MOneLa
TINaNCEPNHnHOMepHa ypeDa (noocuHnHa Ta6eJkataC OCHOBHHTe DaHHN)
- cepBn3HnA HOpE (aKo e HaJIuYeH) (nOcoyeH cIeI dymata „SERVICE"HaTa6bEnKaTa C OCHOBnHTe DaHH, NocTabeHa BbTpE BypeDa)
SERVICE 00000000000

3a6eJekha:
PebepcnpaHTo Ha BpAHTe Ha ypea, aHO ce n3BbPbWA ot OTdela 3a Texnuecha nOMoU, He ce cHTa 3a IcK no rapaHuaTa.
| Българсн | Инструкции за у鞘тpeба | Сташица 4 |
| HRVAT | Uputama za uporabu | Stranica 10 |
| ROMÁNă | Instruktiuni de/utilizare | Pagina 16 |
| SRPSKI | Uputstvo za upotrebu | Strana 22 |
PRVA UPORABA
Izvr'site ove korake:
Modelele cu compartment intern
EkTeIeToTa npakatw otadia:
- Iia va dieukoluvtheiTe OTNV aphipeoTou diaepioaTOc, oac ouviToUe va abeiadoTE (ka) πθavocva aphiéoTE) ta katw pafia Tn nopTaC
-AIeVepyonoiote to diaepioa
-AaipéoTe to diuépioua πeioTpéφovtac to npoc ta επáw
-AφaipéoTe to λεukó πλaotikó páfí kátω anó to δiαμépiμα
a a a a a a a a a a a a a a a a a a a a a a a a a a a a a a a a

(1) = 0. C_4^2
Jus 15 aal w jac 4s jol uas oolj y lss g Joc
jlll lssj sle! jslgol o jzil lslill
Caaal

()0
g
(LED)

()(LED)
aill xlll aia jra yjg
(204
aall aie aiee eae ae aee 1s y jy Jssol s (LED) nlll l
Jullll
Aa y aiaa aiaaa aiaaa aiaaa aiaaa aiaaa aiaaa aiaaa aiaaa aiaaa aiaaa aiaaa aiaaa aiaaa aiaaa aiaaa aiaaa aiaaa aiaaa aiaaa aiaaa aiaaa aiaaa aiaaa aiaaa aiaaa aiaaa aiaaa aiaaa aiaaa aiaaa aiaaa aiaaa aiaaa aiaaa



jll puiuui u
a 1000000000000000000000000000000000000000000000000000000000000
aIbI Juae Ibaia Jla
j 11 j 11 11 11 11 11 11 11 11 11 11 11 11 11 11 11 11 11 11 11 11 11 11
J
a jlll llllll lllllll
J
a a a a a a a a a a a a a a a a a a a a a a a a a a a
a
a a a a a a a a a a a a a a a a a a a a a a a a a a a a
jlll aluee a aill lcllo y:
aaii iiaii aiee
Jal gall o 8
aall o 100 100 100 100 100 100 100 100 100 100 100 100 100 100 100 100 100 100 100 100 100 100 100 100 100 10
1a jzj 1
(gall)glgssllgagslllj
aannn nnnn nn nnnn nnnn nnnn nnnn nnnn nnnn nnnn nnnn nnnn nnnn nnnn nnnn nnnn nnnn nnnn nnnn nnnn nnnn nnnn nnnn nnnn nnnn nnnn nnnn nnnn nnnn nnnn nnnn nnnn nnnn nnnn nnnn nnnn nnnn
a (s) (n) (n) (n) (n) (n) (n) (n) (n) (n) (n) (n) (n) (n)
c( 0,1) .d( 0,1)
(1)
a 1
ie lalai Jai, gai jai jai (g) yj (yj) jay jay jay jay jay jay jay jay jay jay jay jay jay jay jay jay jay jay jay jay jay jay jay jay jay jay jay jay jay jay jay jay jay jay jay jay jay jay jay
.
plabll aak jy jjllal pall ayag (cilllgl dss mnnn sij jial) dlall plebll n jz jz jz jz jz jz jz jz jz jz jz jz jz jz jz jz jz jz jz jz jz jz jz jz jz jz jz jz jz jz jz jz jz jz jz jz jz jz jz jz jz jz jz jz jz jz jz jz jz jz j
Cill Cilcsu
ailll jy 1000 1000 1000 1000
a 15
()
Jr jrrn rnrnnn nnnn nn nnnn nnnn nnnn nnnn nnnn nnnn nnnn nnnn nnnn nnnn nnnn nnnn nnnn nnnn nnnn nnnn nnnn nnnn nnnn nnnn nnnn nnnn nnnn nnnn nnnn nnnn nnnn nnnn nnnn nnnn nnnn nnnn nnnn nnnn nn

1
i1j0

J
plabll plabll p 1
jlll
:jblplablaa
J 1 (1) 1
(√
1 1
(1) ( x,y,) ( 2x + 1) 的最大值.
1
(1)
e 1
i 1
Aaal plabll g, jll Jaae
STOP FROST
STOP FROST 10000000000000000000000000000000000000000000000000000000000000000000000000000000
a
a. STOP FROST
STOP FROST







()
(z_k) STOP FROST
Jaiy jai jil jll 4a bla i jol y
jus xi (ill) jiyuoy jiliey jolll jls l:abdo
j j j j j j j j j j j j j j j j j
JolSll
J.
aJlll eall cuiu uie Jldn jao gall n gill
(0 k) (s y
auiy aaii dall al jai iiaai pai jai jaial all
Aci li jilai aia
gill joll golj n jalll
aalall 1-1V all
(1)
Jzjll 1y jg 1 y gall
a a a a a a a a a a a a a a a a a a a a a a a a
STOP
FROST
STOP FROST
aalbals cialla
"aaee aee
(jg)

a 1 a 1 1 1 1 1 1 1 1 1 1 1 1 1 1 1 1 1 1 1 1 1 1 1 1 1 1 1 1 1 1 1 1 1 1
JauaIActivO aiaaae aae aee
L
jss
j5y jll g jll 1e bclal o ylll j
jll bc bclal .o yall jlll gai lll jlll jlll jlll jlll jlll jlll jlll jlll jlll jlll jlll jlll jlll jlll jlll jlll jlll jlll jlll jlll jlll jlll jlll jlll jlll jlll jlll jlll jlll jlll jlll jlll jlll jlll

a 1 a
i-
4k > 3l
a a a a a a a a a a a a a a a a a a a a a a a a a
AALL
a 1
J 1
"“i"
ailllll lglalld iitii
a j 1 1 1 1 1 1 1 1 1 1 1 1 1 1 1 1 1 1 1
0
e 1111111111111111111
i 1
Aaiilal laleall g jll all j jSay
J 1
aalll aiee e aeae eae eae eae eae eae eae eae eae eae eae eae eae eae eae eae eae eae eae eae eae eae eae eae eae eae eae eae eae eae eae eae eae eae eae eae eae eae eae eae eae eae eae eae eae eae eae eae eae eae eae ee
5.
aai iiei ieiiei a
(ajll a jgdl) glldll gjglg jglg 1 (jglg jglg) (jglg) SERVICE
SERVICE 0000 000 00000

4k > 3l
Jd n aai jalal y
Aidl oelal A
aaii oolal a jay jllj 10
ai i, ai alkwall ciis la ay jed jjll jaii ae
aclw ay jy jy jy jy jy jai kwlal
S = S
j 1 j 1 j 1 j 1 j 1 j 1 j 1 j 1 j 1 j 1 j 1 j 1 j 1 j 1 j 1 j 1 j 1 j 1 j 1 j 1 j 1 j 1 j 1 j 1 j 1 j 1 j 1 j 1 j 1 j 1 j 1 j 1 j 1 j 1 j
gge jclj 4i jiee aie jy jai
Instructions for use
IHCTpyKuIN NO 3KcNpyaTcuIN
| DEUTSCH | Gebrauchsanweisung | Seite 4 |
| ENGLISH | Instructions for use | Page 12 |
| FRANÇAIS | Mode d'emploi | Page 21 |
| NEDERLANDS | Gebruiksaanwijzing | Pagina 29 |
| ESPÁÑOL | Instruções para el uso | Págrina 37 |
| PORTUGUES | Manual de utilizesção | Págrina 45 |
| ITALIANO | Istruzioni per l'uso | Pagina 53 |
| ΕΛΑΔΣ | Οδηγίες χρήσς | Σελίδα 61 |
| SVENSKA | Bruksanvisning | Sidan 69 |
| NORSK | Bruksanvisning | Side 77 |
| DANSK | Brugsanvisning | Side 85 |
| SUOMI | Käytöohje | Sivu 93 |
Switching on the appliance
- Plug in the appliance
- When the appliance is plugged in, it is normally factory set to a temperature of 5^ .
Adjusting the temperature
For temperature adjustment, see the enclosed product sheet.
Note:
Ambient air temperature, the frequency of door opening, the introduction of hot food and unsuitable appliance positioning can all affect the internal temperature of the refrigerator, which may differ from that shown on the display.
Storing food the refrigerator compartment:
Cover food to prevent it drying out
- The distance between the shelves and the rear wall inside the refrigerator ensures the free circulation of air
- Do not place food in direct contact with the rear wall of the refrigerator compartment
- Do not place hot food in the refrigerator
- Store liquids in closed containers
Important:
Storing vegetables with a high water content can cause condensation to form on the glass shelves; this will not affect the correct operation of the appliance.
MEAT & FISH BOX (depending on model)
The Meat & Fish box was designed specially to keep foods fresher for longer, without altering nutritional values or original freshness. Do not store fruit or vegetables in this box, as the temperature may drop below 0^ , causing water contained in the food to freeze.

Temperature Adjustment
The temperature inside the Meat & Fish box is indicated by the position of the arm on the door of the box, and depends on the general temperature of the refrigerator compartment.
We recommend setting the temperature of the refrigerator compartment between +2^ and +6^ . To work out if the temperature inside the Meat & Fish box is correct, refer to the pictures below:

When the arm points to the left, you need to raise the temperature in the refrigerator compartment.

When the arm is in the middle, the temperature is ok.

When the arm points to the right, you need to lower the temperature in the refrigerator compartment.
Important: when the function is activated and foods with a high water content are present, condensation may form on the shelves. In this case, disable the function temporarily.
Removing the Meat & Fish compartment:
To ensure correct operation of the product, adequate preservation of food and to optimise energy consumption, it is advisable not to remove the Meat & Fish compartment if the symbol (see Quick Guide) is not present on the control panel. In all other cases, the Meat & Fish compartment can be removed to obtain more space inside the refrigerator.
Proceed as follows:
- Remove the compartment drawer (Figure 1).
- Remove the drawer cover by releasing the bottom side clips (Figure 2).
To reinstate the Meat & Fish compartment, make sure to refit the drawer cover before inserting the drawer and reactivating operation.
- Press the "Meat & Fish compartment function" button on the control panel for 3 seconds, until the yellow indicator goes off.
To optimise energy consumption, it is advisable to deactivate the Meat & Fish compartment and remove its components (except the shelf above the crisper drawers).

Fig. 1

Fig. 2
"ZERO DEGREES" BOX (depending on the model)
The "Zero Degrees" box is specifically designed to maintain a low temperature and a suitable humidity level, in order to keep foods fresher for longer (e.g. meat, fish, fruit and winter vegetables).

Activating and deactivating the box
The temperature inside the box, when active, is approximately 0^ .
To activate the compartment, press the button shown in the figure for more than 1 second, until the symbol lights up
The symbol lit indicates that the compartment is functioning. Press the button again for more than 1 second to deactivate the compartment

The following factors are vital for the "Zero Degrees" box to work properly:
- the refrigerator compartment must be switched on
- the temperature of the refrigerator compartment must be between +2^ and +6^
- the box must be inserted to enable activation
- no special functions must have been selected (Standby, Cooling-Off, Vacation – where applicable).
If one of these special functions has been selected, the "Zero Degrees" box must be deactivated manually, and any fresh food inside it removed. If manual deactivation does not take place, the box will be deactivated automatically after 8 hours.
Note:
- if the symbol does not light up when the box is activated, check that the box is properly inserted; if the problem persists, contact your nearest authorized After-sales Service
- if the box is active and the drawer open, the symbol on the control panel may be deactivated automatically. If the drawer is inserted, the symbol will become active again
- irrespective of the state of the box, a slight noise may be heard: this is normal and is not a cause for concern.
- when the box is not active, the temperature inside it depends on the general temperature inside the refrigerator compartment. In this case, we recommend it is used to store fruit and vegetables which are not sensitive to cold temperatures (fruits of the forest, apples, apricots, carrots, spinach, lettuce, etc.).
Important: If the function is activated and food with high water content is present, condensate may form on the shelves. In this case, temporarily deactivate the function.
When placing small containers and food products on the top shelf of the "zero degrees" compartment, make sure they do not accidentally fall between the drawer and the back of the refrigerator compartment.
Removing the "Zero Degrees" box:
The "Zero Degrees" box can be removed to create more space inside the refrigerator. In this case proceed as follows:
- to facilitate removal, we recommend emptying (and if necessary, removing) the two lower door trays
- switch off the box
- pull out the drawer and the white plastic shelf underneath the box.
Note: the upper shelf and the side supports cannot be removed.
To restore "Zero Degrees" box operation, make sure you replace the white plastic shelf underneath the box before inserting the drawer and reactivating the function. To optimise energy consumption, we recommend you deactivate the "Zero Degrees" box and remove it.
Clean the box and all its parts regularly, using a cloth and a solution of warm water and neutral detergent specifically formulated for refrigerator interiors (take care not to immerse the white plastic shelf underneath the box in water).
Before cleaning the box (including the outside), remove the drawer so as to disconnect the box from the electricity supply.
Never use abrasive detergents.
HOW TO USE THE FREEZER COMPARTMENT (if present)
The freezer compartment can also be used for freezing fresh food. The quantity of fresh food that can be frozen in 24 hours is shown on the rating plate.
Freezing fresh food
- The recommended position for fresh food is that indicated in Fig. 1, if a wire shelf is present, or that in Fig. 2 for models with no wire shelf.
- Place food in the middle of the compartment, * making sure it does not touch already frozen food, but is placed at a distance of approx. 20 mm (fig. 1 and 2).
The table alongside shows the recommended maximum storage time for frozen fresh foods.
When purchasing frozen food products:
- Make sure the packaging is not damaged, since the product quality may have deteriorated. If the package is swollen or has damp patches, it may not have been stored under optimal conditions and defrosting may have already begun.
- When shopping, leave frozen food purchases until last and transport the products in a thermally insulated cool bag.
- Place the items in the compartment as soon as you get home.
- If food has defrosted even partially, do not re-freeze it. Consume within 24 hours.
- Avoid, or reduce temperature variations to the minimum. Respect the best-before date on the package.
Always follow the storage instructions on the frozen food packages.
Making ice cubes
- Fill the ice cube tray 2/3 full and place it in the compartment * ***.
- Do not use sharp or pointed instruments to detach the tray if it is stuck to the bottom of the compartment.
- Bend the ice tray slightly to remove the cubes.


Fig. 1
Fig. 2
| 1-3 | |||
| 4-7 | |||
| 8-12 |
HOW TO DEFROST THE APPLIANCE
Before defrosting the appliance, unplug it or switch off the power at the mains. Defrosting of the refrigerator compartment is completely automatic. Droplets of water on the rear wall of the refrigerator compartment indicate that the periodic automatic defrost cycle is in progress. The defrost water is automatically routed to a drain outlet and into a container from which it evaporates.
Clean the defrost water drain outlet regularly using the tool supplied with the appliance in order to ensure defrost water is removed correctly. (Fig. 1)
Defrosting the compartment (if present)
Defrost the *** compartment once or twice a year or when ice formation is excessive. It is perfectly normal for ice to form. The amount of ice which forms and the rate at which it accumulates will vary depending on ambient conditions and the frequency with which the freezer door is opened. Ice formation is concentrated at the top of the compartment and does not affect the efficiency of the appliance.
If possible, defrost the freezer when it is nearly empty.
- Remove the food from the freezer compartment and group together in a cool place or in a cool bag.
- Leave the door open to allow the frost to melt.
- Clean the interior of the freezer with a sponge and warm water and/or neutral detergent. Do not use abrasive substances.
- Rinse the interior and dry thoroughly.
- Put the food back into the freezer.
- Close the door.
Plug the appliance back in and switch on, following the instructions in chapter "How to operate the refrigerator compartment". The settings and selections made prior to switching off will be restored.

Fig. 1
CLEANING AND MAINTENANCE
Before any cleaning or maintenance operation, unplug the appliance from the mains or disconnect the electrical power supply.
- Clean the inside of the refrigerator compartment periodically with a sponge dampened in warm water and/or neutral detergent. Rinse and dry with a soft cloth. Do not use abrasive products.
- The separators must not be washed in water but simply cleaned with a damp sponge.
- Clean the inside of the freezer compartment when defrosting.
- Clean the air vents and condenser at the rear of the appliance regularly with a vacuum cleaner or brush.
- Clean the outside with a damp cloth. Do not use abrasive products, scourers, stain-removers (e.g. thrichlorethylene acetone) or vinegar.

Prolonged disuse
- Empty the refrigerator.
- Disconnect the appliance from the mains power supply.
- Defrost and clean the interior.
- In the event of prolonged disuse, leave the appliance door open to prevent mould, odours and oxidation from forming.
-
Clean the appliance.
-
Clean the inside of the low temperature compartment (where present) when defrosting.
- Clean the inside of the refrigerator compartment periodically with a sponge dampened in warm water and/or neutral detergent. Rinse and dry with a soft cloth. Do not use abrasive products.
AFTER-SALES SERVICE
Before contacting the After-Sales Service:
- See if you can solve the problem yourself with the help of the Trouble-shooting guide.
- Switch the appliance off and then on again to check if the problem has been eliminated. If it has not, switch off the appliance again and repeat the operation after one hour.
- If the problem persists after this course of action, contact After-sales Service.
Specify:
the type of fault
the appliance model
- The Service number (the number after the word SERVICE on the rating plate inside the appliance)
- Your full address
- Your telephone number and area code
SERVICE
0000 000 00000

Note:
The direction of door opening can be changed. If this operation is performed by After-sales Service it is not covered by the warranty.
INSTALLATION
-
Install the appliance away from heat sources. Installation in a hot environment, direct exposure to the sun or installation near heat sources (heaters, radiators, cookers) will increase power consumption and should therefore be avoided.
-
If this is not possible, the following minimum distances must be respected:
-
30~cm from coal or paraffin stoves;
-3 cm from electric and/or gas stoves. -
Fit the spacers (if supplied) on the rear of the condenser positioned at the back of the appliance.
-
Install the appliance in a dry, well-ventilated place, and ensure it is level, using the front adjustment feet if necessary.
Clean the interior. -
Fit the accessories.
-
Regulations require that the appliance be earthed. The manufacturer declines all liability for injury to persons or animals and for damage to property resulting from failure to observe the above procedures and reminders.
-
If the plug and socket are not of the same type, have the socket replaced by a qualified electrician.
- Do not use extension leads or adapters.
Disconnecting the appliance
It must be possible to disconnect the appliance by unplugging it or by means of a two-pole switch fitted upline of the socket.
Electrical connection
- Electrical connections must be made in accordance with local regulations.
- Voltage and power consumption are indicated on the rating plate inside the appliance.
ELECTRICAL CONNECTION FOR GREAT BRITAIN AND IRELAND ONLY
Warning - this appliance must be earthed
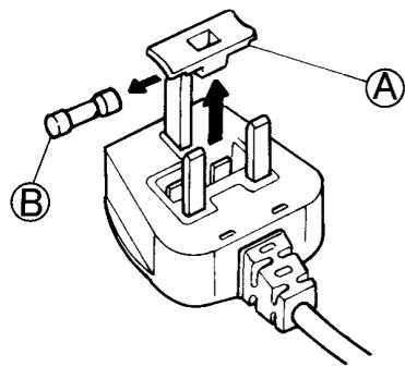
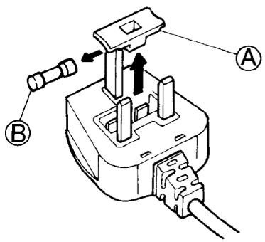
Fuse replacement
If the mains lead of this appliance is fitted with a BS 1363A 13amp fused plug, to change a fuse in this type of plug use an A.S.T.A. approved fuse to BS 1362 type and proceed as follows:
- Remove the fuse cover (A) and fuse (B).
- Fit replacement 13A fuse into fuse cover.
- Refit both into plug.
Important:
The fuse cover must be refitted when changing a fuse and if the fuse cover is lost the plug must not be used until a correct replacement is fitted.
Correct replacement are identified by the colour insert or the colour embossed in words on the base of the plug.
Replacement fuse covers are available from your local electrical store.
For the Republic of Ireland only
The information given in respect of Great Britain will frequently apply, but a third type of plug and socket is also used, the 2-pin, side earth type.
Socket outlet / plug (valid for both countries)
If the fitted plug is not suitable for your socket outlet, please contact After-sales Service for further instruction.
Please do not attempt to change plug yourself. This procedure needs to be carried out by a qualified technician in compliance with the manufactures instructions and current standard safety regulations.

COMMENT FAIRE FONCTIONNER LE COMPARTIMENT RÉFRIGÉRATEUR
ΘΑΛAMΟΣ KPEATΩN & ΨΑΡΙΩN
(ava loya to oovrElo)
AVRIMING AV APPARATET
RENGJØRING OG VEDLIKEHOLD
Temperaturregulating
Regulating af temperature
A. Chladiaci priestor
- Zásvúká na ovocie a zeleninu
- Police / Priestor's policami
- Ovladaci gombik termostatu a vypinač svetla
- Priehradky vo dverach
- Polica na flase
- Vyberatel'ny drziak na flase
- Vyrobný štítok (na boku zásuvky na ovoce a zeleninu)
- Nadoba na l'adove kocky
- Dvierka priestoru s nizkou teplotou
B. Priestors nizkou teplotou, ak je označenie

Najchladnejśa zona

B. Hn3kOTemnpaTyphoe otJeHene (Pn nHaNn)

3oHa hain6bIeero xoIooa

3ona haHnmeHbIeRo xoIOna
IpmeaHn: Hcno nOkoN TnnpHaJNeXHOCTe MoKTe MeHrTbCBA3BNCUMOCTn OT moJeN.BcepeWtKn, DBePHeIe N BHyTpEHnE noKnKyBnIOYTCbEMHbIMn.
Baxho: PpinaJdxHxOCTn XoIoJbHnKa HeIb3aMbITb B NocydomoeHuM MaunHe.




Baxho: 3akpbbaai Te dEbpu npn6opa!
3JIEMEHTbl UYPABJIEHnA
A. Pу钙a Tepmoctata
B. BbIKIIOuATEIb OCBeUeHnIa
D. Yka3aTeJIb TepMoCTaTa
E. J lamna

PnpuroTOBneHne Ky6NKOB Nbda
3aOpHnTe IOTOK nIy Ibda Ha 3/4 BOIoN n NOCTaBbTe erO Ha dHO Hn3KoTEMpeApTyphoro OTdeneHn.
EcnI IOTOK npIMep3 KO dHy Hn3KOTempeTpyHOrO OTdelenHry, He nbTaIteCb OTdEnItb eO pN I NOMOu 3aOCTpeHHbIX nII pexyux INCTpymENTOB.

PA3MOPAXKINBAHNEI YNCTKA HN3KOTEMNEPATYPHOFO OTDEJEHENIA
Дяобсесеньи ќдальpo pa60тbl пибopa pekomehdyetca pa3MopaxkmbaH n3KOTempepaTyphoe OTdeneHne He pexe,ЧEMДBA pa3a B roД, a TAKKE KOrda TOnuHa cNoI bJa haero CTEHkA xOCTnHET 3 MM. ПОВЗMOЖHOCTn PA3MopaxkmbaTe Mopo3uINbHnK, KOrda B HEM XpAHNTc MHNIMYM npOdyKTOB.

- BbHbTe BCE npOyKtI N3 MOpO3nJIbHnKa, 3aBepHnTe Ix B ra3eTHyO 6bMyrN INoJIoXnTE PnOTHO pyr K dpYr B npOxnaIHOe MeCTo INI IN TePMOCymKy.
- OtknouHTe np6op ot 3neKtpocetN.
- OctaBbTe DBepu OTKpbIToN, UTO6bI yCKOpNTb TaHHe IbDa.
- YdaJInte TaIyIO BODy rY6KOJ.
- OuncHTte OTdeneHne ry6ko, CMOeHHoB TTeNlOM pactBOpe HeItpaJIbHOro MOIOJero cpeDCTBa. He IcNoJIb3yIte a6pa3INBhIe cpeDCTBa.
-
CnoIocnHte BOdoN TuaTeNbHO npOtpnTe hacyxo BCE NOBepxHoctn.
-
Пу ninthаима: He И спобьтуге остры пл ржши Инструменты пл удалиялда. He harpebaite Hn3KOTempepatyphoe OTdelenne ИckycstbeHHbIM 6pb30M.
ЧИСТКА XОЛODильбHorO OTДЕLEHЯ
Perynpho MoTe XOJouNbHoe OTdeneHne.
Pa3mopaxuBaHne XOJouNbHoro OTdeneHna
npocxOaNT NOnHOCTbO aBTOMaTuYeCKn.
KaIIIN BOIbHa BHYTpEHHHe 3aHHe CTeHKe XOLOINBHO TOTJeHnYyK3bIAoT Ha To, YTO B DaHHbMOMeHT BbIOJNHReTCs cNkI aBTOMaTHeCKOTo pa3MOpaxNBaHn. TanA BoDA cTeKaet Yepe3 CInBHOe OTBepCTne B cNeuaJIbHyU oMKoCTb, rge nCnpaReTcA.
He nCnoB3yIte a6pa3nHBhIe cpeIcTBA.

ЧИСТКА И YXOD
- PernoDnueckn Ounuai Te BENTINJIaONHbIe peWEtKn IcnapTeJIb Ha 3aJHei CTOpOHe npU6Opa PbJIeCocOM IInIeTKoI.
- Постирaite пибор саржи мягков травков
PpI dnnTeNbHOM OTCyTCTBUN
- BbInbTe npOdykTbI n3 XoJIoJIbHOrO n Hn3KOTempePaTyphoro OTdeneHn.
- OTKIIOHTe np6Op ot 3JIeKtpocetn.
- Pa3MOpO3bTe Hn3KoTeMnepaTpyHoe OTdeneHne, BbIMoIte n npOTpnte Hacyxo 6a OTdeneHn.
- OctaBbTe DeBepu otKpbItbIM, YTO6bl npeDOrTbpaTb NOBHeHne HENpIaTHbIX 3aNaXOB.

COBETbl NO 3KOHOMN 3HEPTM
- Праздхяпгупьор OT BОЗддсгь BA BCOKN X TEmнрачи И рямьх COINHeHbIX Lучe, He yctанавивайт ego B6n3n paДиatopOB OTOПленИ NII KxOHHbIX PNT, TAK KaK BCE 3TO pInBODNT K yBelenuHIO знepronotpe6JIeHry.
- He nepekpbBaIte BeHTnlaZIOHHbIe OTBepCTna np60pa.
-Дя pa3mopaxnBaHnI npOyKTOB nOMEaJte INX B XOLOINbHOe OTdJeHne,чTo6bl nCNoJIb3OBaTb XOLOD,OTdaBaEMbI 3amOpOKeHHbIMnpOyKTAMN.
Cbeinte K MHNMMy yactoty n dInTeIbHOCTb OTKpbBaHnY DBePcbl.
He nomeuainb xoIoundbHoe OTdeneHne ropnye npOdykTbl.
He octabnIte otKpbIToN DBepU Hn3KoTeMnpaTpyHOrO OTdeneHn.
ПОИСК И YYSTPAHEHNE HENCПAPBHOCTEД
1. Пунбор Наразов.
- Ipe6oB B noaue 3JeKtpo3Hepn?
Bunka nIoxo BCTabHea B po3eTk? - OTkIIOUeHO HAprrKeHne B cTeN?
- Pieperopel npedoxpauHnteIb?
- Tepmoctat B NOLOXeHn?
2. Heoctatoohn3ka TempepatypaB OTeJeHnX.
-Доврьн He 3akpbItb KaK CneIeYet?
- Пибор установлен B6лзи сточнka телла?
- HenpaBnIbHbIe HAcTpoIKu TepMoCTaTa?
- IpeekpbItb BEHTnIaZIOHhbIe peWetKn?
3.CnIshKOM Hn3KaTemnepaTypa B XOJIoDnIbHOM OTdJeHnn.
- HenpaBnIbHbIe HAcTpoIKu TepMoCTaTa?
5. He pa6oTaET BHyTpEnHHee OcBeuEHeH.
BbInonHnTe npOBepK, yKa3aHHbIe B nyHKe 1, nocne yero
- OToeunHnTe npn6Op OT 3JneKtpnueckoCetN.
3aMeHInTe nepeperopeBwUyI naMny. MouHocb HOBoI naMbI dOJIxHa COBnAaTb C nCXoHOn IIN He npBeBbIaTb MaKcImaJIbHOrO 3NaueHnra (Bt), yKa3aHHoro pRdOM c NaTpHOm.
ДлЯ замны ВьИВИNTITE Лamny пOTив чAOБОй CTpenКи, КАК ПOKаЗаHO на рисунke.

Прзаме He ne6bOxmoU yctaHOBnTb Ha MeCTO KpbIuKU npedoxpaHnteIa. Ecnn KpbIuKa 6bla yTepeHa, He noJIb3yIteCb BnIKoJ Do Tex nop, nOKa He 6yJeT yCTaHOBLeHa 3aNaCha KpbIuKa.
B. BidaineHnHa3bKoI TempepaTpyn (3a haAIBHOCTI

Haixolondiha30Ha

HaMeHxOJHa 3OHa
Ppimtka. KInbKicTb nOnuCb i Tn akcecyapB MoKyTb BiPi3HraTnc 3aIeXHO BiD MoJeni npnaNy.
Yci noniui,notkn Ha DbepqTaX i KOuNK MoxHa BnMaTn.
Baxnbo! Akcecyapn xolodnbHnka He moXHa Mntu B nocydomnHi MaunHi.




Baxnbo:3aunHnIe TBepeTApnpiaNy!
EJEMEHTN KEPYBAHHA
-3ipKOBIM BIDJIeHnHaM.
PekomehdoBahi Tepminu 36epirahnna 3amopoxeHnx npoaykTIB nVB. Haix nakyBaHHi.
KynyuOn 3amOpoxeni npOdykTN,doTpmyTecnaHabeDeHnx HxKYe Bka3iBOK:
-ПepeKoHaItecra,юуnaKOBKa He noUkOJKeHa,ocjIbKnZe moKe npn3BecTn Do nCyBaHnry npOdykTu.ЯкIo ynaKOBka 3dya a6o MaE BONOri dInyHKn,MOxNlBO,Yepe3 norahi yMoBn 36epirAnHny npOdykTu BynaKOBciNoaJIu po3MOpOxyBaTncra.
- PóSZIyN NOKyKN, 3aMOpOJHcI npOdyKTN KynuYTe B OCTaHHIO UePry Ta nepeHocbTe B TeIIOiOJLciH iCymci.
Knaizb npodyktu y BiDineneHHn H3bKOI Tempeatypu, 0oHNO npuiDeTe doomy.
- JIkpO npOdykTN HaBt bYacTKoBO po3MOp03nUncs, He 3amopoxyJte ix nobTopHO. Taki npOdykTN nOTpi6Ho cNoxHTn npOTAROM oHHe i Do6N.
- YHnKaIte a6o 3BOdTe IO MIHIMMy 3MiHeHHa TemnepaTypn.
YKbAte npOyKT npTgrom nepioD y noRo haiKpaOoi kocti, Tepmi3abepuenyaKoro Bka3aHo Ha ynaKOBuCi.
3aBxDn doTpmyTeca yMOB 36epirahnHa 3amopoxehnx npOdykTIB, 3a3hauehIX Ha ynaKOBui.
3amopoxyBaHHKy6nKIBNbOdy
- HanobHITb BOIOJIo NOTOK IyK6NkIB NbOdy Ha 3/4 Ta BCTaHOBIb INoRO B HIXKHi JuaCTnHi BiDJIneHHra Hn3bKOiT Tempepatypn.
3a6opohetbca BnKOpncTOByBaTn roctpi npedmetn dny BiDineHnI Notka, kUo BiN 3actpy HnXhni YactHi BiDineHnI.

PO3MOPOJXUBAHNY OUYIeHHBIVIIJIeHHN HN3bKOITEMPEPATYNI
Дя ONТМально npodykTnBHOCTi peKOMeHnyETbCS pO3MOPoxybatu BiDineHnHa3bKoi TempeAtypu ⅢOHaIMMeHne DbiHi Ha pik a6o KOnIwaPJIbOy Ha CTInKax CTaHe np6n3Ho 3 MM 3aBTobuKn. 阿Kso ue MokInBO,po3MopoxyIte MOp03nIbHe BiDineHHN, KOnI BOHO MaJxke NopoxHc.
- BnmiTb npOyKTN 3 MOpO3nIbHOro BiDJIeHNN, 3aropHiB ix y ra3eTy ta cKnlaIITb ix y xOIoJHe MiCue a60 B CymKy-XoIoJNbHnK.
- Bid'eHaIte npnlaB iD dKepeNa KInBJeHHa.
- 3aIiIte TdBepaTa BiDUnHeHmM, Ioo6 iHi/niT TaHyB.
- Губковидалівідітуну Body.
- OuNCTiB BiDIIeHnHa 3a DOnOMoTOI r6Kn 3 pOzHOM TeIIOI BODn HNeTpaJIbHm MInUChm 3aco6Om.He BnKOpNCToBvye a6pa3uBHI 3aco6n.
- Onolochitb ta peTeIbHO npocuWtB BiDJIneHnA.

- PpimItka. He hamaraiTeca 3iikpi6aTu liD roCTpIMu MeTaNbIMn iHcTpMeHTAmn; He HarpBaIte BiDilEnHnH3bKOi TempeAtypn cToPOHHm npnilaamn.
OuHsEHXoJIoNJIbHOrBOIdJIeHHa
PepioDnHOnO ouNuyTe BHyTpiuHi nobepxhi xoJIOunbHorO BiDiineHHa.
PozmopoxybaHHXoJOnIbHOrO BiDJIeHnB BID6yBaCTbC NOBHICTHO ABTomatNoHO.
KpaPi BOaHa 3aHHi CTiHci BCEpeDnHi XoJIoNbHOro
BdIiDeneHb KAA3yHOb Ha Te, IIO 3aanyeHo nepoiOnuHnn
UKNb ABOTomatNHO RoP3MOPOxBuHHa. TaHa Boda
ABOTMATNuHO CTiKaE B DpeHAnKHi OTBIP i HakOnuYcTbcB
KOHTeHepi, 3BIDKn NOTIM BInnapOBycBcA.
PeynapHO BINAJIaTe BOy BiD PO3MOpOxyBaHHa 3
dpeHaxHOrO OTBpy HAJekHIM UHOM 3a DOnOMoTOI
iHCTpyMeHTA,IO NOCTaHaETBCa BYKmNEkTI 3pNJlaDM.
PiPeD BIKoHAnHM 6yDb-IAKnx Po6b i3 texHInHO
06cNHyOBvBaHHa BiD'EnHaJte pNJnaD BiD eneKTpomepexi.
3actocobutyte ry6ky, 3mouehy B teniBoj ta/a6o HeitpaIbHOMy MmHOMy 3ac06i.
- Ppomnnte n npocuityb m'koHO TKaHNOIO. He BkOpncTOByte a6pa3nBHI 3ac06n.

OuHJENHJA OBCJyROBYAHNJA
PeyraHOpO ouuuyTe BeHTnlaui Hi OTbOpN Ta KOHNHeCaTOp Ha 3aDHi CTiHci npuIaNy 3a DOnOMoIO nnloocMoka a60 uitoukn
3OBHiiHni NobepxHi OunuYte 3a DOnOMoTO M'koIT KaHHI
Ha nepioo Tpmbanoi BiDnyctkn
- BnmiB yce 3 xoIodnIbHnka Ta BiDJIeHb Hn3bKoi Tempepatyn.
- BiD'€dHaIte npJuaIad BiI dJxpepeJa XnBHeHHa.
- P03MOPo3bTe BiDJIeHnH N3bKOi TeMnepaTpyn Ta nouNCTiB i npocyuItb O6NJBa BiDJIeHnH.
- 3aIiIe IDbepuTa BIDKpNTUMN, IO6 He yTBOpIOBaJIINcHEnpNIEMHI 3aIaxN.

MzdaTbIraH eHIMdepei caTbiny any Ke3iHne:
- OpaMHbIh 3aKbIMdaH6aFaHbHa Ke3 JeTki3iH3, c6e6i onai 6oJca TaFam Canacbl Haapnaybl MyMKIn. Erep opam icin KeTce HeMece AkKaH cyBtbl i3epi 6aKaJCa, on KolaJIbX KaJaJnapa CaKaTAmaybl XHe epyi aJNeKaJauH 6actanfah 6onybl MyMKIn.
A3bIK-TyIikTi caTbIn anfah Ke3Je My3JaTbIJFaTaFamdapdbi COhBaHa KaNdbIpBn, EHiMepDiN3OTepMnIbIK DOp6aDa TacbImaJdaHbI3. - 3aTapdbiyre XeTKeH coH depey TeMeHri TemnepaTypab6JIIMRe caIbHb3.
Erep TaFAMhBn 6ip 6eJiri 6y3bInca, OHJI KaNTa KaTbIPMaHbI3.24 carat iwiHne naJaJaHaHbIn TactaHbI3. - TemnepaTpaHbIH MmHmMaIbI DeHreIe DeiH e3repyIH 6oJIbIPMaHbI3 Hemece a3aiTbIHbI3. OpaMdaFbI JkapAmdbIbIK Mep3iMeHe DeiH naJaIaNbHbIbI3.
- My3daTbIJaFah Tafam KanTamaBihDaBbl caKtay HycKayNbIKTapblH epKaUaH opblHaHbI3.
Mz3 TeKwEJIepIN Jxacay
M3 kecekepi hayacbH 3/4 etin cymeh tonTbipbIn, TeMeHri TemnepaTpaNb6eimHH Tsyihe KoBbHbI3. Erep haya TeMeHri TemnepaTpaNb6eim Ty6iHne KaTbIN KANca, OHb axbipaty yuH eTKip Hemece icTik 3aTTapNb naDanaHaBbI3.

TOMEHITEMNEPATYPALIIBOJIIMI IAIADAJAHYEPITYKHETA3AJAYKOJIbI
TinmdiNk OHTaJIbI 6Olybl yuH, TeMeHri temnepatypanbl 6eimdi JxblbHa eki pet Hemece Ka6bIpraDaIbMy3 3 MM KaJIbIHbIKKa XeTKeH caBbH epitin OTbIPrAn XeH. MyMKIN 6oJcA, KaTbIpFbIwTbI 6ocaDbI-ay deren Ke3de epithi3.
- TamaKtbl KaTbIpFbIUtah aIbIn, ra3eTKe opaHbI3 da, caIkbH JkePte Hemece TaCbIMaIbI caJIkbIHdAaTKbIuKa caIbIHbI3.
- KypbIrfbIH Heri3ri kyat Ke3iHeh axbipaTbHb3.
- KbIpaydbH/My3dbH epyHe MymKiHik 6epy yuIH eciktiaWbIK KaJdbIpbHbl3.
- Epiren cydbI rgykamen KeTIpiH3.
5.БeIIMdi Jxblb cy MeH 6eTapan JxYfblc cyblkTBkKa dbIMkbJlnDaHaH ry6kamen Ta3aJaHaB3.KbIpflb 3aTapdb naJaHaHa6aHb3. - MykniT WaaiHbI3 XaHe KypFaTbIHbI3.

EckepTne: My3dbI Kbipbn any yuin eTkip He icTK 3aTTbI KOJaHa6aHb13; TeMeHri TemnepaTypaBbI 6eImdi XacaHdbI KOJMeH XbJIbITNaHb13.
TOHA3bITKbIiBθJIIMIH ПайдалануТАЗAJALYЖОЛы
ToHa3bITKbIi 6eImHi iwiH Ke3eHdi Tpyde Ta3aAnoTbIpblHbI3.
ToHa3bITKbIsh 6eImiH epity ToJIbIK aBTOMaTTbI Typde opbIHdaJaDbI.
ToHa3bITkblI6eImiHIn iHiHderi apTkbl Ka6blpfaCblNdaFbCy TaMublnapbKe3eHdi TVPde opbHdanaTbH ABOTMaTTb EpiTy npoecciHn opbHdaJbIn XaTKaHbN bIldipei. EpireH cy Tery caHbJaBHa ABOTMaTTb TVPde aFBIn, KeiH KONTHeHepDe XHHaHbIn, 6yNaHaDbI.
Epiren cy ubyrcahbnaybH kypbnfBIme6 bipre 6epinren Jaa6dbkne Ta3aJnaHb3,ocblnma epiren cydbI dypbic edicneH anacbI3.
KbI3MeT KepeTy KymbiCTapbIH opbIHay aIbIHda KypblfblHb po3ETKaanah axbipaTbIHb3.
XbIbI cyMeH XeHe/Hemec6 BeTapan KyfbIcYbIKbIKIeN DbIMKbIJaHaFah ry6KaHbI naJaHaHbIH3.
- ⅢaHbIbI3 JxHe JxMcaK uSybepeKePneH KeTpiH3. KbIPbIbI 3aTAPdbI naJaIaN6aHbI3.

TA3AJAY XΘHE Kbl3MET KΘPCETY
KypblfblhblapblHdafblyaaycaHbIaynapblHxHe KOHDeHCATOpblwaHCOPblWneH HeMece UeTkameh TypakTbTypde Ta3aJaanOTbipblH3
CbIPTkbl6eNtkiXyMcaKUyBepeKePneH Ta3anaHb13
¥3ak demalbictap yushi
1.ToHa3bItkblTbJxHe TeMeHri TeMnepaTpaBb6JIIMdepdi 6ocatbHb3.
2. KypbIINfbIH Hei3ri Kyat Ke3iHeH aXbIpaTbIHbI3.
3. TemeHri temnepaTpaTbnI 6eImdi epitIH3 JkHe eki 6eImdi de Ta3aJAn, KeTipiH3.
4. Kaftbimcb3 niCtIH XnHaJyBHa XoN 6epMec yuH ecikTeprdi aUbIK KAnDbIpbIbI3.

KYAT YHEMDEY TYPALI KEHECTEP
KypblfblbteXOFapbl TeMnepaTypanpaFg KHe KyH caynei He bIrapMaH3 XeHE OHb Kbl3dbIpbflWtapra Hemece neWtepre KaBbIH KoMaHb3, ce6e6i onap Kyat TyTbHy MeJIwepiH apTTbpaDbI.
KypbIfblHbIa ya kipy xHe Iy caHbIaynapbHa Keepri KeJMEciH.
TamaKtbI epity yuH, OHbI TOHa3bITbIa KaIbI, KaTKaH TamaKTbIH eH CaIKbIH TEMnepaTypacbIH TemHeTin aJIbIH3.
EciKtiH aUbIbIn-ka6bIybHa MymKiHdiirHue a3aHTyFa TbIpbcIb13.
ToHa3bIy 6eJIIMHe bICTbIK TAmKa CanMaHbI3.
- TemeHri temnepaTpaJIbI 6eNIMHiE eciriHaBik KaJdIbIpMaHbI3.
AKAYNbIKTAPdbI WEEWY H¥CKAYnbIfbl
1.Kypblfbl Kymblc icTeN TypFaH KOK.
- Kyat ipkini ci opbH aIfH 6a?
Awa po3eTkaFa dypbc cabihfah 6a? - Heri3ri KyaT KockbluB I KocblnfaH 6a?
- CaKtahDbipfBii KIyIeH 6e?
- TepMOCTaT - KiyIe opHaTBiINFaH 6a?
2.БeJIMdePdIH iwiHderi TemnepaTpaHbIN TEmeHdiR JTeKJIikci3.
EciKTepepbicka6bJfah6a?
KypbIfbXblnyKe3iHJkaHbHa opHaTbInFa6a?
- Tepmoctat napametpi dypbc na?
Aya aHaJIbIMb TopJapb 6iTeRhen 6e?
3.ToHa3bITKbIi6eJinimHIn TemnepaTypacbI TbIM TEmEH.
- Tepmoctat napametpi dupbic na?
4.ToHa3bITKbIi6eJIMiHin actbHda cy XmHaIaIbI.
- Epiinre cnbH hayacb 6eRInr 6e?
5. Kypbblfblwki wam xymbcic temei.
Поблелмалардын XOKтБIFbIH TeKcepy XyMbICbIH 1 opblHaHbI3, COcblH:
KypbIJfblHbI Heri3ri KyaT Ke3iHeh axbIpaTbHbI3.
- Wamdbi wam yCTaTkbIbTHbIH kaHBiHa KepeTiJrReh BaTT XHe Kyat MeJIWepiH caBacKa WAMMeH aybICTbIPbIHbI3.
- Wamdbi wewin any yuhi: cyperte KepcetireHne caf ti i 6aftbHa Kapcb 6ypan anbHb3.

6. Temehri temepaypalb 6eimde wamadah tbic kbpay KINHaFanfah.
- TemeHri temnepaTypaIb 6eJIIMHH eciri duYpbic Jka6bIraH 6a?
Eckertne:
- KaIbIITbI JxMbIc 6apBicHda KpyblfBldaH ap Typni dIbIbIcTap (caJIkbIHdAeKbll CyIbIKTBk aHaJIbIMbHa 6aJnAbHcTbI Kpyblnday XeHe bICbIaNay...) WbIKca, 6yI - KaJIbITbI HApce.
CATyDAn KEnIHnI KbI3MET
KbI3MeT opTaIbIbIMeH xa6apIacnac 6ypbIh:
1.Поблманы Akayltapджою
нчайы Кemerimehшшin кери3.
2. MoceneHHweiJreH/HweiJMeReH H kepy YIHI KpybIfBIHBKaiTa KOCbIb3. Oaai 60Imaca KpybIJFbIHb KaTt aXbIpaTbHb3 XHe pacimdi bip cafattah KeiH KaTanaHb3.
3.OcbyapekeTTeH KeiH MceIe WeuImMece, KeiINik BoiByIHwa KbI3Met KepCteTy optaIbIFbHa xa6apnacbIHbI3.
Keilecinepdi anbiktan bepii3:
akaynbiktbihCnNaTbI,
KypbIJfblyJnriCi,
Kb3MeTTIK Hemipi (KpyblfblbHkEmicCaIbHaTbIH TapTnAbH iUki6ynipXaFbIHdaFbI DepeKTeP TaKTacBHa
SERVICE (KbI3MET) ceiHeN KeiH Ka3bIrfaH Hemip),
ToJIbIK MeKeHxKaIbIHb3,
TelefoHemipiH3XHeaMafbIbI3dbIH KObl.
SERVICE
0000 000 0000

Eckenptne:
EcikTih aibiny 6aftbTBin 3reptyre 6oandbI. OcbI onepaunna KenindiK 6oibHwa KbiImet KepceTy 6enimih TapanbHaH opBHaJanca, on KeninDiKe KaMTbIMaMdbI.
OPHATY
KpyblfblHb Kbl3y Ke3epiHeH anlwaK opHaTbHbI3 (eh XaKaBH apakaBbIKbK: Kmip kHe 6anaybI3 neWtepiHeH 30 cm, nIITanap MeH 3neKeTpRnik niCipy nnITanapBbHnH 3 cm.
KypblfblbkypKa,kaKcbjXeIeTinetIH Xepre opHaTbHb3.
KypbInfBbHbHaaya caHbIayJaPbHaKeepri KeMecin.
Iuki6eJIirIH Ta3aJHaHbI3 (KaTbICTbI TapaynapdbI KePiH3).
- Bepinre H KepeK-XapaKaTapdbi 6eKiTiH3.
TynbIKanybl Tanan etiJeDi. OHdpywi
Korapbda KepceTinreH npoecdypanap
MeH eckepTynepiOpbIHdAmay
HTnxeciHe OpBH aTaBn aam
Hemce Kahyap XapaKaTb MeH MylkiTH
3aKbIMdAynby Ywih ew xayanKepeWiniKiTi
MObIHdMaNDbI.
- Erep asha men po3etka 6ip-6ipine cai KeIMeCe, po3etkHaHbI 6iJIkTi MAmaHFa aybICTbIPtBHL3.
¥3apTkblIup Hemece aanTepepepi naDanaHbAHy3
KypbIJIfBIIHbI axbIpaTy
KyaT Ke3iH axbipaty KypblfblHb HeMece po3eTKaHbIH XOFapfbl XafblHaOpHaJaCKaH Koc nonIOCTI KockblshbH eWipy apkblbIMymkiH 6onybl KaKeT.
3NEKTP CbIMdAPbIH JKAJFAY
3NeKtp KocblbImap Xepriljkti 3aHHaMaFa CcKeC opBHaJybl Tnic.
Kephey KəHe Kyat TybIHy MJIiUepi KEmic cany TapTnacbHbI 6yIipHderi DepeKTep TaKTacbIHda KepcetilreH.
-Epexe 6oynbIHwa KypblfblHbHxepre
TEK YIbIbPITAHnA MEH INPJIaHdNIAFA APHAJFAH 3JIeKTPJIk KOCbIJbIM
EckepTy - 6yn KypbInfbl Jkepre Tynbiktanybl KepeK
CaKaTHdbIpyfblWtblaybICtbipy
Erep KpybIfblHbI JKeJIiIK cbIMbl BS 1363A 13 amnepi
6aJIbIbIbI aIbIPMeH Ka6bIKtaIFAH 6oNca, ocb typeri
aIbIPdbIH caKaTHdbIpflbIH aybICtbpY ysiH,A.S.T.A.
pactaraH caKaTHdbIpflbTIb BS 1362 typHe
naindaNaHbIbI3 KHe KeleciDee apeket etinj3:
- CaKaTHaBbIPbBII KaKNaBbIH (A) KHe caKaTHaBbIPbBIIbTbI (B) anbIn TaCTaHbI3.
- AImactby 13 A caKaTaHDbipfbIiTbI KaKnaK iUiHe CaIbIHbI3.
- Ekeyi De aaiip iuhi KeaTa opHaTbHbI3.

MaHbI3AbI:
CaKaTaHbIbIbIbI aybIcTbIpy Ke3IHde caKaTaHbIbPbIa KaKNaIb KaIbTa opHaTbIybI KepeK, an CaKaTaHbIbPbIa KaKNaIb Jxofanfah 6oNca, Tnicti anMaCTbIpy 6eJUerIH opHaTaNFaHwa aBbIP naJaIaNbHJmMaybIKepeK.
TnictaJMaCTbpy 6JIuIe rTycti eHdIpMeMeH HeMece aBipDbIn yctIHderi ce3depe 6aDbipaaBIn TypFaH TycneH aHbIKTaIaNbl.
AImactbipy caKaTaHdbIpfbIi KaKnaKTapbIH XeprinikTi 3JeKtpnIK Ka6DbIkTap DyKeHiHeH catbIn anyfA 60NaDbI.
TeK IpranDna Pecny6nKacbHa apHaIraH
YIbIbIbIbIbIbIbIbIbIbIbIbIbIbIbIbIbIbIbIbIbIbIbIbIbIbIbIbIbIbIbIbIbIbIbIbIbIbIbIbIbIbIbIbIbIbIbIbIbIbI bJIaIIaIIaIIaIIaIIaIIaIIaIIaIIaIIaIIaIIaIIaIIaIIaIIaIIaIIaIIaIIaIIaIIaIIaIIaIIaIIaIIaIIaIIaIIaIIaIIaIIaIIaIIaIIaIIaIIaIIaIIaIIaIIaIIaIIaIIaIIaIIaIIaIIaIIa II aJIiHJIiHJIiHJIiHJIiHJIiHJIiHJIiHJIiHJIiHJIiHJIiHJIiHJIiHJIiHJIiHJIiHJIiHJIiHJIiHJIiHJIiHJIiHJIiHJIiHJIiHJIiHJIiHJIiHJIiHJIiHJIiHJIiHJIiHJITyTIyTIyTIyTIyTIyTIyTIyTIyTIyTIyTIyTIyTIyTIyTIyTIyTIyTIyTIyTIyTIyTIyTIyTIyTIyTIyTIyTIyTIyTIyTIyTIyTIyTIyTIyTIyTIyTIyTIyTIyTIyTIyTIyTIyTIyTIyTIyTIyTIyTIy
UTeNceIbIk po3eTKa / Tok aIbIpbl (eki eJ ywiH kapaMdbI)
Erepka6bikTaIFaH TOK aIbipbI WTeNceIbIk pO3eTKaHbI3 yuih Jkapamdbi 6oImaca, KocbIMwa Hcckay any yuhi Kenilik BoiBlnha Kbl3MeT KepeCy 6JIIMHe xa6apnacbiHbI3. ToK aIbipbH e3 6etIHwe aybcIbpyfa apekTeH6eHiz. Bynpocedypa EhndipyH Hcckaynapbl MeH JeprinikTi cTaNdapTTbI kayinci3dk epexeJepine CsIKec 6iIKTI TexHkAIBK MaMaH TapanbHaH opbHaJIybl KepeK.
Gebrauchsanweisung Instructions for use Mode d'emploi Gebruiksaanwijzing Istruzioni per l'uso

Brugsanvising
Bruksanvising
Käytöohje
Manual de'utilisation
Instruções para el uso


The appliance you have just bought, marked by the symbol , allows the freezing - in of fresh and cooked food, the production of ice cubes and the storage of frozen food. Please read these instructions carefully, as they include a description of your appliance and the useful hints to enable you to achieve the best performances required to freeze fresh food and to store already frozen food.

DESCRIPTION OF THE APPLIANCE (Fig. 1) Control panel
A) Operation control lamp (green light)
B) Temperature control lamp (red alarm light)
C) Temperature control knob (thermostat)
D) Open door alarm switch (if present)
E) Baskets (freezing - in and storage baskets)
F) Storage basket only.
G) Eutectic system: remove from drawer F and insert into the high compartment E to optimise the product's consumption.
Some models are supplied with containers filled with cooling liquid(eutectics).
INSTALLATION
Ensure that the appliance is not damaged. Transit damages must be reported to your dealer within 24 hours of receipt of the appliance. The appliance should not be installed close to heat sources such as cookers, central heating, boilers, sunlight, etc. It must however be located in a well ventilated dry space.
Attention: Accessibility to the plug has to be guaranteed even after installation of the appliance to disconnect it, if required. Alternatively, connect the appliance to the mains by means of a two-pole switching device with contact separation of 3mm situated in an accessible position.
ELECTRICAL CONNECTION AND OPERATION
Please check that the voltage indicated on the rating plate situated inside the compartment corresponds to the voltage in your home. The earthing of this appliance is compulsory by law. The manufacturer will accept no liability for injury to persons or damage to objects arising from the non observance of this requirement.
When the appliance is plugged in, if the thermostat knob is not set to symbol , the green and the red lamps (A) and (B) (Fig. 1) light up. The green control light always remains alight and indicates the operation of the appliance. The red control light remains alight until the set operation temperature has been attained. It lights up again when the temperature inside the freezer rises due to frequent or prolonged door opening, and when the appliance has been loaded with fresh food to be frozen.
ADJUSTMENT OF THE TEMPERATURE
The thermostat (Fig. 1) controls the temperature inside the appliance. Position · indicates that the operation of appliance is interrupted. The ideal storage temperature of frozen food for a long time is -18^ . In normal ambient conditions (temperature between +20^ and +25^ ), we suggest you adjust the thermostat control knob to a middle position. To obtain colder or warmer temperatures than -18^ , turn the thermostat control knob to the highest or lowest setting respectively. We remind you that internal temperatures are affected by the location of the appliance, the temperature of the surrounding air, the frequency of the door opening. The setting of the thermostat may have to be varied to allow for these factors. To check the temperature of the food stored, place the thermometer (if delivered) under the food; if it is placed on the food it will indicate the temperature of the air which does not correspond to that of the food stored.
USE OF THE FREEZER COMPARTMENT
This appliance is equipped with an acoustic alarm which sounds when the door is left open (if present).
FREEZING IN (Fig. 2)
The amount of fresh food which can be frozen in a 24 hours period at an ambient temperature of +25^ C is stated on the rating plate.
Do not store warm foods in the freezer. Never re-freeze partially or completely defrosted foods. Prepare and wrap foods to be frozen in aluminium or plastic foils or place them in appropriate containers. Label the packets indicating the freezing-in date and the contents. The freezer compartment maintains the storage temperature for 15 hours approx. even in case of power failure.

We suggest however you leave the door closed during this time.
Fizzy drinks should not be frozen and some products, such as flavoured water ices, should not be consumed too cold.
Note: Due to the efficiency of the door seal, it is not always possible to open the freezer door immediately after closing it. Wait some minutes before trying to open it.
PRODUCTION OF ICE CUBES
3/4 fill the ice cube trays with water and place them in the low temperature compartment. If the trays stick to the bottom of the compartment, do not detach them with sharp or cutting instruments, which could damage the appliance. Use, if necessary, the handle of a spoon. To allow removal of ice cubes from plastic trays, bend them slightly.
Attention: Do not eat ice cubes or ice lollies immediately after removal from the low temperature compartment as they may give rise to cold burns.
STORAGE OF FROZEN FOOD
When buying frozen food, it is suggested to use thermal bags or cold boxes. They should be the last purchases made and should be well wrapped in newspaper. When home, store them in the compartment, with the least possible delay. In any case these foods have to be used within the date printed on the packet.
THAWING
Here are some basic suggestions:
Raw vegetables: Do not thaw - put straight into boiling water and cook as usually.
Meat (large cuts): Thaw in the refrigerator without unwrapping them. Before cooking, leave at room temperature for some hours.
(Small cuts): Thaw at room temperature or cook directly.
Fish: Thaw in the refrigerator without unwrapping or cook directly before being completely thawed.
Previously cooked food: Re-heat in the oven without removing from its aluminium container.
Fruit: Thaw in the refrigerator.
DEFROSTING
Generally you need to defrost two or three times a year when the layer of frost reaches a 3 mm thickness. We suggest you periodically remove the frost from the freezing plate by means of a plastic scraper. Avoid using sharp or cutting instruments. Defrosting should be carried out when the quantity of food stored is minimum. Wrap the frozen food into several layers of newspaper (or in a cover) and place them in the refrigerator or in a cool place. Adjust the thermostat control knob to position, disconnect the appliance from the mains and leave the door open. Remove the baskets by pulling forward and up. Do not use commercial defrosting products as they could contain dangerous components. At completion of defrosting, clean and dry the appliance carefully. Reconnect the freezer to the mains supply. Reload the freezer with the frozen food.
MAINTENANCE AND CLEANING
A periodic and proper maintenance will ensure a longer life to your appliance. Disconnect the appliance from the mains supply before any intervention. Clean periodically the appliance with a solution of water and vinegar. Rinse and dry thoroughly. Never use abrasive or detergents. Clean periodically the door gasket with water and dry carefully. Avoid soiling the door gasket with oil or other grease which could damage it. After cleaning, reconnect the appliance to the mains supply.
HINTS FOR HOLIDAYS
If you plan to be away for a long time, disconnect the appliance from the mains, empty and clean the inside. Leave the door open to prevent the appliance from smelling musty. If you plan to be away for a short time, let the appliance operate normally.
SERVICE
The incorrect operation of the appliance is not always due to a fault but it may also result from poor installation or usage. To prevent unnecessary service calls for which you will be charged, we suggest you consult this trouble-shooting guide.
If the red light is on continuously or flashing, the internal temperature is too high.
Check that:
- the door is not properly shut;
- the thermostat control knob is correctly set (see chapter "Adjustment of the temperature");
- the freezer is not near a source of heat;
- there is a large build up of frost on the inner walls;
the air flow is not restricted.
If the compressor functions continuously. Check that:
- the ambient temperature is too warm;
- the door is not being opened too frequently.
The appliance is excessively noisy. Check that:
the appliance is level.
The appliance does not operate. Check that:
- the thermostat control knob is not set to position ;
- there is not a power failure;
- the plug is making good contact with the supply socket;
- any automatic circuit breakers have tripped or any fuses blown;
- the supply cable is intact (see also Note).
Note: When replacing a damaged supply cord, be sure the new cord is correctly clamped. If you have followed this trouble shooting guide and your freezer still does not work properly, get in touch with your Retailer or Service Agent. State clearly what is wrong and the type and serial number of your freezer.
PRESENTATION DE L'APPAREIL
Kpeac (eayaka kouatia): Eanaywote ta 0to yuyeio xwpi v bayalete tn oukeuaia touc. Piv to ayepma, aonote to oE thepuokpaoia domegaiou ia liye c wpc.
ManualGo.com