CCG6503PW - κουζίνα CANDY - Δωρεάν εγχειρίδιο χρήσης
Βρείτε δωρεάν το εγχειρίδιο της συσκευής CCG6503PW CANDY σε μορφή PDF.
Questions des utilisateurs sur CCG6503PW CANDY
0 question sur cet appareil. Repondez a celles que vous connaissez ou posez la votre.
Poser une nouvelle question sur cet appareil
Κατεβάστε τις οδηγίες για το κουζίνα σε μορφή PDF δωρεάν! Βρείτε το εγχειρίδιό σας CCG6503PW - CANDY και πάρτε ξανά την ηλεκτρονική σας συσκευή στα χέρια σας. Σε αυτή τη σελίδα δημοσιεύονται όλα τα έγγραφα που απαιτούνται για τη χρήση της συσκευής σας. CCG6503PW της μάρκας CANDY.
ΕΓΧΕΙΡΊΔΙΟ ΧΡΉΣΗΣ CCG6503PW CANDY
PPOOXH: Otav to ykpiλ βρίακεται σε λειουργία ta προσβάσιμα μέρη της συοκεύncyς μπορείν αυτερθερμανθόύν. Mην αφήνετε ta παιδίαν πλησιάζουν στη συοκεύncy.
IPOEIIOIHsH: Tia va aTnTpEeTE avatpoTn Tns OuaKeuNCS, TpETe Iva EykaTaOtaBc i eo oTAtepoToinoNc. AvatpeTe OTiC obnyieC OTn 0eLiDa 142 Tou TApovToC EYxEipiou
1. TENIKEΣ OΔHΓΕΣ
Σaε EUXAPIOTOU ΜΟ ΕΤΙΑΕGATE ενα ατό τα προίντα μας . Γα VA ΕασφαλιοεTE TIG KAΛΥEPEÇ ΕΤΙΟΥOΕI C A TÓ TIG KOUζΙVECS μας ..
· DiaBaote ME TPOOxN To EYXepidio OoNiyw XpNc KAI ouvtnpnnc TIOKpatate OTA xepia oac. To EYXepidio OoNiyw TepiExeI Omaavtkec OoNvieg CIOAOPouv OTO tpoTIO EYkataaOns TNS OuaKeun, TVN XpON KIOU vouTpnon autnc ts Kouzivac. DiATnpne To EYxepidio OE ONeIoo aopaaec TPOKeJeEvov VA TO OuBouAEUEOT OTOTE XpeiaoteI.
-
TnV TEPITIWON TIOU Oa TPOAUHOETe N OoOeTe TNV OuaKEUn ThetaTEITE VA TnpaOwOeTE KAI TO EYXeiPioO odnyiw,ETOI EaQpAlZeTE TIV METAOPA TOW PAnpoopoiW TIOU apOpouv TIV EYkataOaON KAI TIG OXETIkeC ME TIV XpOnN TNS OuaKEUns OdyieC.
-
Evosn oukeun bioketai oE aeitoupyia oes oEwteipkcs ETTKAPAEIEC EVAI TOLU cOTc: aTPOeUYETe VA epxote OE tAaPn ME auta TA OJEA. TIV TIPWTOpA AEIToupyia n ouokun mTOpei va TAPaei avaOuuaeis eO uupwdi: oavauuiaeic autc sDev ivai ETIKVduce. Zmuouauoume va aqnoete tvkouziva oE aeitoupyia xwiCiOKEUN yia eva diwpo.
1.1.XPHESYMBOAΩN
Tia nTv kaAUTEpn katavONAn aKoALouOeI n eTIeHnyon TwV ouMBoaw V Tou exouv xpoiIOToINeOe auto to yexEpiio.

IIInpoopiecs OxetikecmuEeMaata aovaleias
πλnpoφopieσ Κεικες με την προστασία tou περβαλλοντος

H ouakeun autn Tlnpoi Tc TpOdiaypaes CEE yia tnv xpoTov Oikiakwv Suokewuv

poox, Tioavotnta klaonc.

IávTeç aTotpOπnKλiOng.
1.2. ΔΗΛΩΣΗ ΣΥΜΒΑTΟΤΗΤΑΣ
司 江 :Ta mepn tns ouakeun tsou mTopei va eAovv 6E TAPN M TPOPIA PAnpouv Tnv UTPio8.89/109 Odyia TnC E.E KAI TO N.Ko Diatayma 108 TNS 25.01.92.
H ouakeun eivai ouubetaTn me To TnepiexoEv oWv utapio. 89/336/EE,73/23/EE obnyie ts Eupwntaikns evwons otixouov onpepa. EtinpopoOeTa dnawetai otni n oukeun TTnpoi Tc utapio 93/68 yevikecs odnyie syia Tc nektpiKec ouokuec kai Tt s Tpotttoinoeic tou akolouonov.
1.3.YIIOAEIEEIZE OEMATA AΦAΛEIAZ
H Kouziva autn TpETe va xpoiOIOIEiTai ATOKIeTiky ia To mapeipepaayntou. OTOIAoHTOTE diaqopetikn xpno, n npon Tns kouzivaac wC eepaotpac, evkuovie kivuvo.
- O kataokeuaotns dev pepei kaia euvyn yia tuxov znuies Tou mtopei va Tpokanouv atto n evdeeviyev, aavtaouevni aoloyiotn xphon ts oukeunc.
H xpi nan iia oikakns attaiei tnv npnan opioeuvw kavovwv. Eav n ouakeun ontaoei n xaalei péttei va biakoyete tn vV aeitoupyia tou,va biakoyete tn patoxni nlektpiknc evpyeias,va atoopuyete va eIthetae o eTTAPn paiztou kai va eAthe OE aepn eTApn je TeXvikot to Kevtpo TExvikns UTOOTNIgns Gias Srvice.
Xpnoiotoiite yavia otav tpokeita va byaaleTo qaynto aTTO pOupvo.
-AtnpTe Tnv ouakeun kaapn yia loyouc aoaaleiac kui uivicns. Ta UTOLOITTA wv TPOpuw kai To AITOC mTtpei va TTPOKAeouov owiia.
-AtoupakpuveTe Touc atouc Tou exouv oxnuaioe i Etnaw oTo kaTakipiv to aoie
-περιμενετε VA KpuωσεI TO KATTÁKI TIPIV TO KλείσΕT
MnyBaZeTe Ta xepia oac avaueo aotouc mevtoseoedcs nTnOptac Tou oupvou. Mny aqVETa Tnaiia va TnAnoiacov.
Bεβaioθeite oI áoI oi eTIIOYEi λeIToupyiac βpiKovTai OTNV ΘeON Off tav n oukeun δev xρnoiμotioeiraI.
To ouptapi 0epuotheaouos ts Kouzivas xpnaiuei ia tvn pfua5n kevw okeuw n yia va diatnpei zetot to qaynto.
Mny tottotheite meoa otov theofoalao eupkcta avtikeeva,ekpntikn a n atopputavtikna mnu tottotheite vaiiov oakouc ,xapti, upaouativec TTETOTEC KATI.
Xpnoiopoioieite aTOKeoiTikKa okeun avEektikKa otic uynAeS 0epuokpaioec.MnV xpnoiopoioieite eUFAeKTA ulika.
Eivai Egaipetiké Etikivduvo va TpOTTOIHOETe n va DOKIaOeTe va TPOITOTIOHOETe TaTexVIKA xapakTpiTIKA tnsoukeunc.
Ibiaitepn Tpooox n aataeital ooo tyaviTe : mnu atouapkuveote atto tyn ouakeun.
Houkeun eivai Bapia .Piooexe otav tvy etakiveite
OTAV n ouokeu n bioketai e λeitoupyia H tnapaywn θερμo aepa εivai quio loyikn. Mny φpáζεTE touc aywyouc αερiau o ts ouokeuç.
Eav 0o muayiepeue xutheta paaynto n tiotaiiec ato liotn pteetmueta to Tepac Tou mayiepeiaoc va kaatapoe aieow tsv ouokeu yia va atopuyete to oxmuio duapeotuv oawv n kai avaipaleic.
Piv aTouakpuvete Ta Okeun aTIO Tc EOTIEC MEIOTe N KAEIOTe TIV Evtaon Tns EOTiac.
H Eykataaon kaThe nAekptiKns Oaukeunc TpoUTotheTnV Tnponn epiikwv Baoikwv kavovv:
Atopeuyete nV xpnoTnolmuTpiQw, Tpooapuoyewv kai Taaavteac. Mny tpaBate to kaawio nEeKtpikns TApoxn yia va aToouvdeoeTe Tnv ouokeuñ.
Mny akoumuTATE NTV OuaKeun MEBpeyEv a npya xepia nTria.
Eav To kaWio nIeKtpiKns TApoxns TApouoiacei OOpes TpETeI VA TO AVIKATAOTnoTeAeOwC.
Eav θέλετεν ανικαταιοῦτετο το καλώδιο ἡλεκτρίκης εύργειας ακολουθείοτε τις κατω συγίες.
H avtikataaon Tou kaawoiu TpTei va yivei ato emuipo Teviko Tuv Kevtpw vexvikns uioanpiGias Service Beaiowte ot ta uik avtikataaon Gta evai yynoia avtaalakikka.Kawlaia napoxn ta akoloutheta xapaktnpiotika HO5RR-F,H05VVF,H05V2V2-F mTropei va xpoiioTboov ia nTv avtikataaon Tou apeuou kawdiou Tapoxns nsc ouakeunc.
Mny aTouakpuveote aTIO TIV Ouaokeun ITOPOKpuoaeI.

O kataokueaotc dev pepi kaia euovn yia tyn aqpaanl
Leioupyia tsouakeunc epoov dev npnouv o iio
Tavw kavoec aqpalia
1.4.XPH\SIMEZ Y\POAEIEEIE
Oλa Ta kaṭrakia kai oi επισμαλtομενες επιφανεiες ἡ οιτιγαλί μπιρείν αφαipεθουν γιαν διεύκολυνθείο καθαρισμός touς.
H Tnapouoia evoc kattakiou navw aTnTv oukeun npootateuei nTv ETTiavieia twv eotiwv aTnTnv oKovn . Mny xpnoiopoIOeite To kattaki via allo oKoTIO.
ENIISHMANsH (yia touc tuntouc yuaivo kaTaki).To yuaivo kaTaki efoosov kTe0ei o uynn thepuokpaoia mTopei va otaoe1.
Piv kIeTe To KATraki BepaiwOeite Oti oi eotie eivai EKTos λeitoupyias.
Myn xnpoiopoieite okeun e npapopwpuevo n avoioyevn Tpuéva
KaaiotεeTlueAocTo ykpiλkai To tauioulovnczomegaiv aTOn Tyn npwnxnpn
Eav xpooiotoeite atoppuattvika o tpi e a toopuyete va yekaoet E T avw ota maia kai otov eepoootatn.
Bεβαιωθείτοι οι οχάρες του φούρνου ἐχόνιν τοῦτηθείσωτα
-Avayte TnV Eotia TTIV TOITIOEtnoEe ETTAVW Oe autn To okeuoc (Oa avayei TIO EUKOla EOTIEC Uypaepiou)
Bεβαιωθείτε οτή φλόγα των καυστήρων εἰναι σμοίομρφη.
Mny kaUTTETOTOV OUPV0e aouivoxapTO.
2. EΓΚATAΣΤΑΣH
H ykataoantn tsoukeun tspeie va yivei atio iEikoevo Teyviko.
H Eykataaotaan TcS dev Bapuvei Tov kataoakeuaotn. H Eyyunon Tou ouvoduei Tnv ouakeun dev apopa ales TPO Oeilovtai e KaN n Lavthetavnykataaon n otyn un npnon Tuv oyviw Eykataaotaans ,xphons kalitoupyiac.
Oi obnyiec yekataaotaong aapopoov touc etayveaatiec texvikooc oi otoio oepiaiovva ticakolouhnoouu e tne
H lavθaμενη εγκαταση ηις συοκεύς μιτορείν α τροκαλεοει ζημείς σε πράγματή ατομα. O kataσκεuaστός δεν φερεί καρία ευθύνη για βλάβες σε πρόωτη πτράγματηου προλκηθκαν ατό αυτή την αίπα.
ENIeHMANs : PpETTE va ETIIAEETE ME TPOOxN TOV Xwpo Tou Oa EykataoTaTheta n OuaKeun .H OuaKeun TpETTE va EykataoTaTheta i e Xwpo Kaia Eaepiofovo.
Atoouvdeote nvy ouakeun aTo nTv npoxn peuatoC Tpv aTo kaE epyaia atokataotaonc , Eykaataon n tteMaon otnv ouakeun.
H IeIoupyia iac OuaKeunc aepiou napayei 8epmuotnka kai ypaia oTo xwpo Ekyataoataon ts.BeBaiwtheta tO i Xwpoc TNS couziva cEaepicetai atoteleouatika: oovtiote wote o aywyoie eaepiouva trapauevouv avoiktn nykataoietoe uXaviouoc Eaepiouo (Ecaepiotnpes).H ouxyns Ieoupyia ts OuaKeunc mtopei va attairey vye Kyaataaon tpoo0tou mXaviou eaeipouu auenuevnoxuc tou uipotamcvou eaepiotnpa.
-Ппiv Evkataotnaete TnV Oaokeun Bebaaitheite OTa TeXViKa yapaktnpiTikau Tou diktouu Tnapoxns nAektpiKns Evpyeiaac AvtATOKpivovTai otis Tpodiaypapec tsOaokeun.
H ouokeanovtpeievaouvdethetaeouootmaegaeipioououkeuwTou AetoupoyuVkauoiioiaapopetiko atioekeloTou aeitoupye n ouokean.
Mny tottotheite Tny ouokueun kovta oE eupkcta ulik.(ETnTTaa-Kouptivec KAI).
Eav n ouakeun exei totothein thei taww oae baoon atnpie ng ptei va baowite ot edv utpexiv kiovuvoc vaiotpnoei ao tvbao.
2.1. KATAAANHANTHA XOPOY EKATAA TAH OIKIAKON ΣYKEYON
TnV OWTN LEITOUPYIA TNS OUKEUNCS O XWPOCSOTOV OTIOIO 8yKATAOaTei TPEIe VA DlAthei OUsTnmu EITAPKOUC QuaIKOU EEAepioou yia TnV aTOUAPKUVON Twv aeipivv Tns KaunS.
H poŋ tou aépa TIPETEVA EEAασφλiεTai ATIO YKpiIεC TOTTOθETnμΕVεC Θην Eξωτeρικ ἡπίράVEIA TOU ToiXou.


Tia Tnv Dileevan Tou aepa Tuv ouakeuwv Tou diaetouv mxavioo oaxapaleiac nTc phoyac, n Touh nTc oxapac Eaepiou TpETe i v evai 100cm2. Tia maovtea Tou h dveiaetouv mXavioo oaxapaleiac n Touh nTc oxapac Eaepiou TpETe i v evai 200cm2 (Tnpoeite va xnpoiotoinoTe Tepioootepe c atro ia oxape)
EKKevwonrwv aepiwv tskaun
-Ta kauaaepia Tc KOUcivac TpEITe va ONDyouvTa aTEuOeiac 0TO TepiBalov, n eaw iaKaTvo6xou ouv6d6eEvns e eva aywyo (Eikova1)
Eav 1uapxie nduvatotntya ykataotaonc iaac kattvoaoov,tpetteva ykataohtaeEvavnAeKPTIOEgApriOnpaeEvtoioh eEv aTAPaBOpwote ta aepia tng kaoucn sa odnyouvua EeO.(Eikova 2)
HIOXUCTOEgAepiTnpIeVAEgOpaIcIynAALaynTOUaepaTNS KOUVAC3-50pocTynwpa.


Oi oxapec egaepioou péttei va eivai etoi totoeetnevec wote va umv eivai duvatov va qpayouv ato kaia pua evupa ,ivai kalutepa va totoeetnoov kovt aTO bntdo. Oi oxapec egaepioou dve npettei va totoeetnoov o e onmuio otou diepxovtai aa aepia kaounc n KAITVOC.
-Eav dEv eivai duvatov va eykataoTaOou oxapcE xepiaou oTo Xwpo Tnou 0a EkyataoTnoTe Tnv oukeun, O attapaitntoc Eepioos MTOpei va Eaopaloo Domegaatio apkei ma yivai XwpoC OTou n TAPOUOIA TOAepa MTOpei va Ekyuov Kivduvo.
2.2. TONOOTHsH

H ouokeuéxéixoxediataeibaoei tns utotheang otoiyeitovikec ETiavieic epyaiae dev oia eivai ynloTepa ato tvv etiavaceia twv eotiwuayepaatoC.
Houδεσαφρα atοκλειθία σε δικτοῦς 220-240 V.
-Mεταύ φαοης ἡμεταύ φαοης και ouδέτερου
Σύνδεοη σε πίνακα με ἐξόδο ασφάλειας 10/16 Amperes

-Eav xpeiaotei va avtikataohtnoTe To kAkwio nAekptipnT apoxns 0a TpeTE va XpnaIoutoinoe aallo avtiatoixn diatounc KAI Tpobiaypawv, n avtikataoTaon Tou kAwoiu TpeTE va yivei ano Egoaiobotnevo TPOC TOU TEVIKO TWV KEVTPOW TEVIKNC UTOOTNIgN CT AOETAYeMaia TeVIKO.
Papoxn -iatoum kawoiou ouvdeo nC TE TO biktuO paoxns Evepyies
| Movrélo (kW) | Iσχύς δικτύουν | Ονμαστική Iσχύς A | Διατομή καλωδίου |
| 2.3 kW | 220 - 240 V | 9.1 A | 3 x 1.0 mm² |
| 3.5 kW | 220 - 240 V | 15.9 A | 3 x 1.5 mm² |
| 4.0 kW | 220 - 240 V | 18.2 A | 3 x 2.5 mm² |
2.6. Σ'YNΔEΣH ME TO YΓPA'EPIO
H ouvdoan me to uypaepio péttei va tnpei ta otavapt kai tny iououo a vuo0eia
TnV Tiow epiia Tns ouokueu cttapxei iia etiketa etravw otny otoia avaypaovtai ta oioxieia Tou apopouv otny epyoataiakn pubmuian tnc ouokueu. Beaiomegaite otx npoiotoeite tov tutno uypaeipou Tou avaypaeetai otnv etiketa.Eav o tutoc tou uypaepiou evai diapopetikos akoloueiote tic odnyiec Tou avaypaovtai otny napaypao puthetaionc oe allo tuTTO Uypaeipou.
Tia va exete ta kautepa atotelaeouata kai elaxioutn katavalwon, Bbetaiomegaite ot n Tieon tou uypaepiou avtoioxei otny avaypapoeyn OTnv ETketae ta xapakntpiotiká tnc ouokeuç. Eav pTei va xpnoioutoiote Uyaepio e diaopopetikn Tieon tha Ptei va xnpoiutoiote eva puthetain Mtopeite va xpnoioutoiote evav TIOI npoiTic Tpoadiyapacg GPL.
Tia va exete ta kautepa atotaleoata kai elaxiTo n katavalwoan, Bbetaiomegaite ot n Tieon tou uypaepiou avtioxie otnv avaypapoevn OTny etiketae ta xapaKTIPOIOTIKa TNS ouKEuNc. Eav TPetTEIva xpnoioutoinoente Uyaepio Te dipopetikn TIOE a TIPETe va xpnoioutoinoente eva puthetaipn pontou ottoio a ToTIOBETeTeNTAVW MTOpeite va xpnoioutoinoente Evav TTPOIPOI TIC PpOdiaypapcLPG.
Σνδεση με Στερό ἡύκαμπιθο μεταλλίκο σωλήνα.
H TnapoXn Tou uypaepiou mTPOe i va yive i e eva EIOIko EukauTTO OwAnva atto Inox, ouoowva e TIC IOXUooEg TpOoiypapec. Ze autn Tnv TepiTTwn oevxpeiaCetai va eTAKivnoTe TNV ouakeun. O ouvdeoicos EIayuync eivai Gc1/2
Σνύδεοι με εύκαμτιση ανελαοτιό μη μεταλλίος ωλήνα
Eav n BaIbida uypaepiou Bioketai oe onueio Eukolo otnv TpObaon 6tav TPETEIva tvn avolcete h kleeote MTOpeite va xpoiJOTIOHOE Evav eukamTTO omnaVra Tou vAIIpoiTv anXouoia voOpTeia. Oomegaac autocnpETIEVAOTEPWKe KaAe eva pakop.
-ObnyieCs ouvdeoans tou eaoTikou oWlambda.
Mia kai o eaaotikoc oawlvac 0a tio to qoupvo, dve pentei va ektiethai oeepokpaoic eeyalutepec twv 30o C.
-To mkoTou 8v TpETeVA uTTepaive to 150cm
- EV πeTIv a EKtiEeai o atpuOus
- πέπεινα εῖαι τολίσμένος, καμτιύλος ἡντωμένος.
- TpETeIva epxTei oE eTn p a n KOTTIKA avTEIeVA
-πρεπεινειαεύκολοςσην προσβαοη ωοτεναελέγχεται TAKTIKA η κατασταοητου
- O ωλήνας πρέπεινα ελέγχεται για την φθόρά τακτιὰ
- PpEeIe va eLeyXoue oTI eV ePaviciKoipata,OTaOipata Oneia Kaeva KATA uNkoC n OTA akpa TOU.
To uliko npetie va diatnpei tyn eaaotikotnta tou, dev npetie va eivai Tolu oKAnpo
paKoP TpEITeVAUTAPXouVixnOkoupiac
Σε καθε περιπτωπ πρεπεν αντικαθίοτatai καθε πέντεχρόνια.



Metayevkataoan tsouakeun elevyia tuxov diappon ota oneia ouvdeonc me tn v Bontheia oattouvovpu. MnyxnpoiotoeiE loya via va eelyeTe tuxov diappon aepiou
2.7.METATPOINH AIEITOYPΓIAE ΣΕ ΔΙΑΦOPETIKA EΙΔΗ ΑΕPIOY
H puOuiion twv ouokueuw v Tou EITovTai TpETe i va yivei ato ETTayyEuaia
AkooubeioTe TIC TIO KATW Ooyniec EAV BELaTe VA METATpeuTe TIV puOthiN TNS OuaKeunC SE diaFopetIKo EIDoc Uypaepiou ATO EKEVO TIOU EEXI PUOHTe EPyoTAAIAK.
Ouokuec evai puoioueves ia aepio quirok oepio tow otiov ovovoeaoc eiv kauivopikos (1).Eaun t npovayovoean mtopeite va trootheet evaooatai (3) ueuvipokotuo.
Pouian n avtikataoan twv mTEK.
-Aqaipeote TIG oxxapeS
Apaiaeote ta kattakia twkauotnpw kai touk kaountpe
Apaiaeote ta uTEK ME TnV BOnTeia Evoc KLeiDiou 7mm Kai BiOwTe TO katalAnAo uTEK Tov OToIO Ta avaypapetai OTov IVaKa OTIC 3 TELeutaiec oElaDEs Tou yExeiDiou OOnyiv Avaloya Me Tov tTO aepiou Ttou XpnoiIOToinaTe.
- Etnavaabete me nvy avitotpoxn eipia tic thio traw evyaoic yia va tototheetae ta eapntuata tou apapeoate ot ney theou.
Póthiún tou stand-by
Tia va puθμioεTe to stand-by
Puroan stand-by yia kouzivecs xomega iynxavioo aovaleiacyia kouzivec meunxavioo oovaleiackai nktpo avaplexns.
-Περιστέψετο τεληλουγα μρθμιας του καυστηρα εως σότου η ενδειξην α εἰαινικρή φλογα-αφαίρεστετον επιλουγε. -Eav n αλλαγη αφρορα: ατό φυσικό αέρio σε LPG (προττάνίο, βόιαύν), περιστέψετε ην βίδα του by-pass τυν βαλβδων του αερίου προς τα δεξία με ητην βόŋθεια ενός κατοαβίδιου κατά μία περιστρόρή.
Eav n alayn evai ato LPG (TPOIATVIO,BOUTAVIO)e quioK oepio, TPIOTPpeT NTBiaout-pasuBV BAIIBWU t aepio TPoc taipotepa me TYN BonBcEvOC KATOABIDU, eXpvi va Exye foAoya MIKPOPTen kato 14
Στο τέλος της ρύθμιασς τοῦθετείσειον εἰπλογέα στην θέαπου.
•Eλεγετην μρθμιαπη περιστέρονος γρήγορα τον επιλογεα μρθμιαπις του καυστηρα αἰτό το μεγιοτο στό Ελαχίοτο. Εφάσου έ φλόγα δεν σβήσει n μρθμιαπε εἶνι σωπή.
Tia oukeucou naiotou uynxavioa oopaleiac tpeitei e Tnv Bontheia evoc katoaibiou va pbiotee TNBida toun bioketai OTov etilovea tou avitioixou kaotnpa. Tnv tpiittwn ouakeuwv e xiepokivntn avaplexn ia va yivei npuian tpteei va apaipoeene Tnv ETTKVAIcKouicVAC, to kattaki kai tnv laupida puoiang.

TnV pUoJiOn OTNv EApXoiTn POn Tns 8epuOoTaIKnc BavVac, nETIIpAveia,TO KATTAKI KAI TO TPOoTAeUTIOK KALUMa TTpeTIe VA aqaipEoUV.

Oópvoaεpiou
-AtioapkuveTe to TPOoTaTEuTIKO kATIaKOTNvTTaTnTg OUsKEUc (EK.3)
-Atouakpuveteovipooapouyotaouekaou (EK.4)
AITIOJAKPVETAE TAUKEK ME TNYBONIEIA EVOC KAEIIOU 7mm,ETA BIDWOTTO ITEK TOU AVTIATOIXO tO AEPIO ME TO OTIOO tO AIEIOTUPYNEI N OUAKEUN (BAETTE TIC 3 TEUEUTAECE sEAIDEC TOB BIAIOU oDNIUIV) (Eik.5)
-Meta tvtoTtoTetnoTou vevou TKEK,ETavaLabeTe ME Tnv avTioPooN oEipac TIO TAVU Epyoiec yia va toToTOeTnOeTe TA EapntmuTa Tou apaiaoeaTe OTNV BcOn TouC.
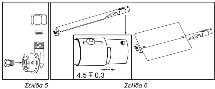
- O kaʊṭnþaʊ πòu avɪtioɪxī e œ φοικό aépio kai aépio πpɒttaviou /Boutaviou éχεi ðáσtaəŋ μεταú 3,5±0,3mm (εικ.6)

Afbeelding 3


Afbeelding 4

2.8. ΔIAΣTAΣΕΙΣ ΘΞ ΣΥΞΚΕΗΞ
| 50 x 60 | 60 x 60 | |
| 丫ψος (mm) | 863 | 850 |
| Πλάτος (mm) | 510 | 598-600 |
| Βάθος (mm) | 600 | 600 |

2.9. ΓENIKA XAPAKTHPIΣTIKA K ΠΕΡΑΦΗ THΣ ΣΥΣKEYHΣ
AutoTo EyyEpiio TEPiExei Odyies Tou apopouv ola ta movteLa. MepiKa OTOIxia MTOpeiv aun apopouv OTNV OaKeun OaC.
1- Eπiφávia μayεipéμatoc
2-Πινακας ελέγχου
3- Θεροθάλαμος
4- Μόρτα φούρνου (Εμπρόσθια πόρτα)
5-KaTaki aTó Tzαi n μεταλλo
6-Bonθητικός καύοτηρας
7-Kauotnpes nuiataeis
8-Tayexia
9-Apiotepn oxapa
10- oxapa
11- EπIoayεις ρuθμiσεως καυοτήρων
12- Eπλογεας θερμοστάτη φούρνου
13-Πλκρο αναφλεξης ἡ Πλλκτρο ανεμισήρα
14- Eπλoyεα Λμππηρα
15- Eπλογέας Xρονδιακόπτη

1-EtiapaviayepaatoS
2- IVaKaελEyxou
3- Θερμοθάλαος
4- Πόρτα φούρνου(Εμπρόσθια πόρτα)
5-KaTaki anTo tcai n eTaaloo
6-Bonθητικός καυσήρας
7-Kauotnpes nuiataxieis
8-Taxεiεs
9-MaTI
10-Apiotepn oxapa
11- oxapa
12- Eπλογεις ριθμίσεως καύστηρων
13- Eπiλογεας ηλεκτρικόμ ααιού
14- Eπλογεας θερμοσταπη φόρνου
15-Πλκρο αναφλεξης ἡ Πλλκτρο ανεμισήρα
16- Φτεινή ενδειξη

1- Entépávia yapeipémuatoc
2- IVaKaç ελέγχou
3- Θερμοθάλαμος
4- Πόρτα φούρνου (Eμπρόσθια πόρτα)
5-Kattaki aTó
Tcαμi n μεταλλo
6-Bonθηtikos kauoTnpac
7-Taxelia
8-λεκτρικό ματι
9-HKtpiko uTH
10-△εiαxapa
11- Eπιλογεις ρυθμίσεως καύστηρων
12- Eπιλογείς
ηλεκτρικό ματιό
13- Eπιλογέας θερμοστάτη φούρνου
14-Πλκρο αναφλεξης
πΠλκτρο ανεμισήρα
15-ΦwTeivn Evδεiξη

1- Eπiφávia μayεipéμαotos
2- Nivakacελέγxou
3-Oερμθαλαμo
4- Πόρτα φούρνου
(Eμπροσθια πόρτα)
5-KaTaki aTo tZaui n etaal
6- HλEKTPiKo μaTI
7-HλEKTPiKo μaTI
8- Eπλογεις ηλέκτρικου ματιό
9- Eπλογεας θερμοστάτη φούρνου
0-ΦwTeivn EVDεiŋ

1-ApaipoeTIGxapcTpaBwTacTIGTPOCTNVKATEUuvon Tou iy TaBtAN (EITE KATWTepw)
2- Tia va kaθapiσετις Μχαρες μΠορείε εΙte va tις βαλετε ΘΟπλυντηρι πιατων εΙte va χρησιμοποίσε τένα ηρό σφουγαρί, Εξασφαλίσοντας ὄτι Εχούν Ετέγνωσει Εντέλως.
3-Metα aTRO Tn diδiKaσia Kaθaipou EYkataoTnOte Tc σxapεs aKoλouθωντaç TnV aTioTpoρη σεipá.

3. XPHESH TQN KAYETHPQN AEPIOY
3.1. ΑΕΙTOYPΓΙA TQN KAYΣTHPQN TH ΕΠΙΦANEIAΣ MΑΓEIPEMATOΣ
O1 Etnioyeic Tou puθμiζouv Touc kauoTnpeC βpiKovTai OTOV TIVAKa με ta xεipiotnpia

Θεση εκτός λειτουργίας
Otau n evdeiign m Tnv teiao Tou eTiloyea koitae to TraveA,pioketai oE eoN ektoC aeitoupyiac (kEoiT),n BaaBida aepiouivai kEoiTn kai ngloya oBnye.
Méviort poraépiou
PiotevETNILOyEA Tou KauOTnpa Kai TEPiOtpyeTe Tou TPOc Ta apiotepa wote To onueioe Tnv TLITOA VA Otauataoei MTPoota oTo EIKovioioe TnV eYaln foya. Se auto To onueio n fooya eiva otnv Eeyiotduvatn Evtaon Kai n baalidaou aepiou evteawc aoiktn.
A Elambdaoi npaiepiou
H Evtaon tnc φλoγa μtlopei va μikpuvei πepiortpeovtaosv Ettioya μe tpotto tou to Μημεio μe tvelita ova σαμatnoεi μtpoσa oTo εkoviδio μe tvn μikpn φλoγa. Ε auto to Μημεio n φλoγa εiva oTny eλaxiθη Evtaon kaŋ βalβia dou αεριou εpikwcaoviktni.

A.-Kanaki kauotnpa
B.-Kauotnpas
C.-Hλεκτρόδι
D.-MTEK
E. a kauotnpa
F.-MnXaviOoC aovpAaIaS
Avaqa kauotnpw
Kauotnpesotiwuayepaatos
AvuTE TOV KAOTnpa TIPV TOTOEETNOET ETTAVW TO OKEUOC MAYEIpaTOC
Tα μοντέλa του ἐχουν αυτόματη ανάφλεξη πρέπεινα πίεσετε οτιλήκτρο μετο σύμβολo της στιπθας.
Piéote Tov ETNILOVÉA TIOU AVIOTOIXE OTOV KAUOTnpa KAI TEPIOTpeyTE TOV
μexpi TIVN EVDEIGN ΜE TO EIKOVIDIO TNG ΜEYALNG φλoγaC. Piéote TO TIIHKTPO TNC
avapAEENC. 2TA MovTEA TIOU N AVAPAEEN YIETAI ΜE TO VETNILOVÄ, TIÉOTE TOV
ETNILOVÉA TIPIEPTPOEVTOCTOV μexpi TO ONUEIO TIOU UTIAPXΕI TO EIKOVIDIO ΜE TO
aOTEPaK:TO NλEKTPODIO θA EEPYOTIOINθΕ ΕΑEaO. Oλa T λΕKTPODIA θa
EVEpyTOINBOUV Evω θα AVaEiO A KAUOTnpa CTOS OTTOIO δIOXETEUETAI aEpio
(o KAUOTnpa TIOU AVIOTOIXE OTOV ETNILOVÉA TIOU TIEZETE).
Kauotnpesqoupvouypaepiou
To TTNKTPO TIPTEI VA TIECTAI YIA TEPIOOTPO aTTO 15^ .Eav mTa aTTO 15^ o KAUOTnpaoc EVEAveuATAEUeOepwOte To TNIKTPO KAI AVOITE TNY TIOTA TOU FOUPVou KAI TEPiEVETe TouaXIOtov 1 AEITTO PIV EVAdoKiaoaeTe VAvaueTo VOFpvo. STa UTOLOiTMOVTELa n avapLeGyivETAI autOpata ME TTV BoTHeia TO EITILoea puOmuGon TO FOUPVou.
Avaμμa με το χέρι (διακοπήρεύματος)
TToTeIeIOe mia loya (oTnIpO/avantnpa) kovTa oToV kaUOTnpa.
ENIISHMANSH
Av o kaovipac tou poqvouδev avayε,apnoε va πepaεi εva λεπτο kai gavaδokμασε.
Piote tov etiloyea Tou avtiotoixei oToV kaotnpa kai Tepiatpeyte tov exptnEvdeiqn To EikovioTnCevayac.Eav O kaotnpac dev aavei e Tnv Tpwtn dokun, gavaokmuote Tieovta Tnv Aoya TepiaoTePO.Otav o kaotnpac avapei putheta Tnv Evtaan nTc pfoyac.
Eav meta atio eTavaeIaImaevc doKieC o kauotnpac dev avapei
elEyTe evo kaountpac kai to kataki tou eivai oWota otnv thean touc.
Tia va diakoyete tvn pou ton Tou aepiou TEPiOTpeyte Tov ETILOyea TPOs ta
dexi (kivon n deiktwv poLoyoiu).Eav o kauotnpac 01noei atio tuXao
yeyovoc apnoTe va Tepae I eva letto PPiv gavaodokipae Te v tov
avayete.
Mepiéc oukeués Kouçivac évai eotlioevε μe mxavioa oφáleiac (βλETTE oxetikéikova, F.-MxaviooC aφáleiac), σe autn Tnv TepiTTwn To oBnoiPo ts φóyac suvoδεuetai kai ano diakottn otny po n Tou aepiou.
AiaotaoioIoyon (Min-max) 8iaqetpou UTOdoxns OKeuov.
| Καυστήρας | Ελάχιστη δίαιμετρος (mm) | Μέγιστη δίαιμετρος (mm) |
| Μέγάλος καυστήρας | Ø 240 mm | Ø 280 mm |
| Μεσαίος καυστήρας | Ø 180 mm | Ø 240 mm |
| Μικρός καυστήρας | Ø 120 mm | Ø 180 mm |
| Υπερ ταχύς καυστήρας | Ø 240 mm | Ø 280 mm |
3.2. XPHESH TQN HAEKTPIKQN MATIQN THE ENIΦANEIA Σ MAFEIPEMATOΣ.
IepioppeTov EIIayoea Otnv ΘeON Tou aVTIOIXei OTN V epuokpaia Tnou EITHueite.
H i I E I N I U y i O A V T O T O X I O T a T I a a v I K a auto 0 a apxioi va 0eepaivetai.
Στο Σερας του μαγειρεματος,περιστρεψτε του επιλογέα στην θεοήσηθ"0"(εικόνa 2).Mην αφησετε το μάτι αναμμένοχωρίς Κεκύος.Η εύγισηθ διαμετρος του σκεύους δεν μιπορείνα ξεπερνά τα 14cmό και έβαση πρετείνα εἰναι επιπίδη. Me auto to tρότο ἡνθεκτική επένδυαύη του ματιού στην θερμοκρασία θα σκληρύνει. Γία του καθαρίσμό του ματιού χροσιμοποίεισε ευλβεμένο μαλακό παι και απιoppuṭavικό. Mην αφαρείτε UΤΟλείμματα φαγητου αἰτό τα μάτia με αίχμŋρά ανικείμενα ἀλλα σκληρά uλία (συματάς).
Apoou kaopiaeTo mati avayTe To yia epiKa deutepoAeTTa yia va oTeyvwoei.Mnv aHveteTo mati avamevxwpic Okeuoc.

Afbeelding 9

Afbeelding 10
| Pùθμση(θέση) | Iοχύς(Watt) | Iοχύς(Watt) | Iοχύς(Watt) | Περιγραφή | |||
| 0 | 0 | 0 | 0 | Εκτός λεῖουργίας (off) | |||
| 1 | 100 W | 135 W | 175 W | Zέσταμα φαγητού | |||
| 2 | 180 W | 220 W | 220 W | Μαγείρεμα σε χαμηλή θερμοκρασία | |||
| 3 | 250 W | 300 W | 300 W | Μαγείρεμα σε χαμηλή θερμοκρασία | |||
| 4 | 500 W | 850 W | 850 W | Μαγείρεμα,Tηγάνισμα,Bράσιμo | |||
| 5 | 750 W | 1150 W | 1150 W | Μαγείρεμα,Tηγάνισμα,Bράσιμo | |||
| 6 | 1000 W | 1500 W | 2000 W | Μαγείρεμα,Tηγάνισμα,Bράσιμo | |||
KataaannoTnTa oKEuWv.
Ta qapbi 0keun exouv meyalutepn etepavntk etipaveia me aotetaleoata to paynto va yapeueetai tno ynpova. Xpniatoite okeun twv otoiw n diaqutoc kaluntte i oln tn votia eaiowtheiTWC o Tpuhevac tou kceuouc kalutte i oln tn vtpaiveia nCOTiAc.Eav o Tpuhevac tou kceuouc iivai liyo tio yaloc atto ty pexpavtki etipaveia xoumeyjtn evpeyiakn ekutalauean kai to paynto yapeueetai tno ynpova atto ot ie kkpoc okeuc.H diaotaon wovkewu npetieva ivival avayoyn ts nooontac tou paoyntou tuo tpokeitai va yapeyeet, me auto to tpoto dev exeilizei to paynto .Mnv xpniatoite okeun mikpndsiaotaans idiaitepa otav to paynto exe iollau uypa. Eav xpniatoite nelu mya kceun ia paaynta tou yapeuovta ynpova (loukavika) to paynto 0kaolnei ka ta utloitaou patyoutou 0a napaeivouk ollnvea ettvw 0to okeuoc otav 0a abiaote. Sken me kataki Ka fopues ylaukavaivai evdeiyeves otav tpokeitai va yane TLAPAEIVA TLOUK.OKaahpiocns ttpievaceiaat OAKeyn caxapan kclomegaic vivetai tlou duokola.Auto eivai idiaitepa onmuvtko otav yineve Ta panyo n xpniatoite nTv xutpa oe uynles eepuokpaoies.Mnu attonakpuveote atto tv nuakeun otav autn bpiaekatae ae letoupia ,miv




Afbeelding 11



Afbeelding 12
aipvETa maia 0e aeitoupyia xwpi ckeuoc tavu n e adeio okeuoc.
Ta Kpiri npia Tnou aokouoov Oa oac Boonnoouv va EtniEeTe Eva owoTo OKeUoc:
To okeuc eivai owto tav :
Exi Bapoc.
Kaalntie eveLwO oln Tnv 0epuaivoevn ETIpaveia n Eiva IyO eyaIutepa aTTOV 0epaivoevn EITiPaveia.
H eTnIpaVEIA TO TUNeVA PPETEVA EIVAI EVTEALG eTTIEON WOTe VA ePAPITETAI ETAVO tNv 0epuavovev nTIIpAveia TNC EOTiAc viati diaqopetika :Meipak ONeia TO qayntou mTPOEVA ZcotaBouv Evw aMeivouk Kpua EaIiAC TNV avoioyevoC kataovunC TNC 0epuotntac 0TO TUNeVA TO AKEUOC.To OUVExEvakateJA TO qayntou ooo yapeUEtai Eivai atapaitno otav O TUNeVAC TO AKEUOC EAVI LEITOC. H KATAOVUN TNC 0epuotntac YivEtai TIO ATOTEAEQUATKA OTAV TO AKEUOC EXI TAUX TUHEVA.
Tia nTv nIeov aToteleaeuatikn agiotoinon Tuv nAekptikwv maWv ME tvn iKoPepn katavalawon xpoioutoieE okeun ME txu Ka eTTIEBO TUHcEvA. H diapetoc Tou TUIeva Tou OKEUOC TPETTE va Eivai oOia n TapaATIA Oeivn TNC otias pTeuKPoTeN.O TUIHEVAC TPETTE VA evai OTyVoc KA TO TTrepiexoevo Tou oKeuVC u vnu OExEALCEI. Mny apVETe ETAVOW Ota mAtia Adeia OKeUN, mV npVETe Ta mTAe OEIToupyia Xwipc OKeUoc.
4. XPHESH TQN KAYETHPQN AEPIOY
4.1.XPHEN TOY KPIA FOYPNOY

HAEKTPIKO ΓKPIΛ: Xρηση με κλειστή πόρτα και MONO
ΓKPIA AEPIOY: Mtopei va xpnaioutointheta i e avoiktn tropta ME TPOOTATEUTIKO TIAIOVA exei Eioaxtheta katoTov TTivaKa EeYxou, OTWc 6ixvei n EIKova.
To ynoiio oTo ykpiI divei ouvtoa eva podaloo xpwma oTo qaynto .AvaLoya me To eIDoc Tou qayntou Tou TPOKEiTai va mayeipepes Ee TIOpeite va puOIOEe To ykpi AINV avTIOAOH EOn. XEDov Ola Ta qaynta MTOpei va ynOou vTo ykpi EgaPeitai to poLo KpEatoC kai epiKa aTTaxa Kpeata.
Aλειγτε με λάδι το ψάρι και το Κρέας που προτίθεσθενα ψήσετε στό γκριλ.
Otav ynvete oTo ykpiTOTIOteiote eva taayaki eLiyo vepo ia va naevesTe Touc xuouc etoi aTTOPOyETnVOnmuOpYia KaTvou Ka duapeotwv OoWv KAI Tov Kivduvo avaAeIg.
To ynoi oTo ykpiEvdeikvutai ia koumatia kpeac, mptitcfoec, oI OTIOE cEv TIPETIE va eivai nolu xovtpes ,Koupatia aT O KUVyI, Toulaia ,yapia kai epika laxavika ottwc meLITcavec, VTOATEC, PpEoka kolokuaikia ma zi ME oubeta kiaa ato yi.
Aaowote to yapi TPIV TO TOTIOEETNOE TE ATEUeOIEAC KATW ATTO YKPIA. PPOoOte OALAtI OTO KPeAc META TO MAyeipepa, aLAtIOTe TO EOWTEPIKO Tou yapiou TTIV TO TOTIOEETNOE TE OTN OXapa.
Avaloya me to taoos tou yapiou n tou kpeatos Tou TPOKEITAI va
ynae peuthetaiote tvn atoataon ts oxapac aT0 to ykpi. H owtn
puthetaian ts atoataonc eivai poutotheon yia to ooioppo
yno diapopetikka to eWTEPIKO tha Kaei Evw to eowtepiKO tha evai
omega.
Atoopuyete nvy dnoioupyia duapeotwov oumw kai kattvas toTTOeTuVtac eva taayaki e duo TOnpia vepo eo aTo otio 0 Ta TeI to AIOc kai OJ Wmoiouqayntou.
To ykpiI μTIopeiE va to xpnoIOTIOInOeT E KAI YIA VA TOOTApTe T WU i n σavtouitc kai va ψnOeTE MepiKa φpOuTa OTIWc avava, MTAVaV, mHa. ΠροoxN Ta φpOuTa δεν πPéTTειva Ελθouv Ε ΕΠαφN Μ e TA ΘερμavTiKa OTOIXEA.

Ppoooxn Mny kaunTTETe TOTc TIG eoWTEPIKcE TIIAPAEVEs TO foovou ME aIoumuVoxapro. H oukyevtpwn Tg EepoTnTac mTopei va kataotpeei To oupvo n To paYntoaC.

Evou o oupvo ts KOUcivas Bioketai e Aitoupyia to kattaki Tuv EotiwuayepaatoTtpeTie va Tapauei aovikto
4.2. HAEKTPIKO ΣOYPNOΣ
| OEŞH | ΠΕΙΓΑΦΗ ΛΕΙΤΟΥΡΙΑΣ |
| F | ΛεΙΤουργία |
| °C | Θερμοκρασία |
| ∅ | Διάρκεία μαγειρέματος |
| ○ | Φούρνος εκτός ΛεΙΤουργίας |
| ↔ | ΛεΙΤουργία της σούβλας και θέρμανοη του γκρίλ |
| ○ | Λαμπήρας |
| . | Θερμαντικό στοιχείο γκρίλ |
| . | ΛεΙΤουργία γκρίλ και αερόθερμου (ανεμισήρας) |
| . | ΛεΙΤουργία αερόθερμου |
| . | ΛεΙΤουργία θερμαντικό στοιχείου oροφής και αερόθερμου |
| . | ΛεΙΤουργία θερμαντικών στοιχείων βάσης και αερόθερμου |
| . | ΛεΙΤουργία θερμαντικών στοιχείων βάσης-οροφής και ανεμισήρα |
| . | ΛεΙΤουργία θερμαντικό στοιχείου βάσης και oροφής |
| . | ΛεΙΤουργία θερμαντικό στοιχείου oρoφής |
| . | ΛεΙΤουργία θερμαντικό στοιχείου βάσης |
| . | Xεροκίνητη λειΤουργία |
| PIZZA | Πισα |
4.3. YINOAEIEEIEI ΛEITOYPTIA ΠIA TON HΛEKTPIΚΟ ΦOYPΝΟ
Klaosrporos I rouyias
H θερμοτητα παράγειαι από τα θερμαντικα σωματα του βρίακονται στην oφορη και στον τιθμένεν της συακεύης. Kata kavova n μεσαία θεοι Εεῖαι n πλεον ευδεδιγεύνην vi n το μαγείρεμα .Eáv θέλετe vα ψησετe περισότepo to ἀτανώ μερος n ητυ βασηου του φαγntοῦ τοῦτεισίοτe φαγntó στην ηπλότερη n στην τιθχαμήλ σχάρα.
TpnoosAeiopyiaa to aepo0epuo.
To qaynto syvetai ooiopopa eTov eepo aepa Tou kuklopopei ooiopopa e Tnv bonthetaia tou aveiotnpa Tou piokeTai tottoetnevo s 0eowtepiok nTn TTatns Tns OoKEuNc.
Me auto to tpoTIO aeitoupyiac oac divete n duvatotnta va ynvete tauroxpova diapopetikata tata ta otioia exete totoBtneoi otc oxapec tou ooupvou. Me autn tvN aeitoupyia mtopeite va atrouueete paaynta va attooteipwote doxieia paayntu, va etoiiaote opotnia poutw kai va apubatwaete ppouta kai javitapia.
4.4. IIA NA ΨHΣΕTE ΠΙΤΣΑ
· Puθμiσe to θερμοσταπ στην μέγισην θερμοκρασία
-Проэгамау TE to foúpvo yia 15'æπTTa (20 λεπTTa εáv éxETe xpovo)
-ToTIOtheTeIeOT eN OxapaOemu aTO tG duo xaunLec theoic
Iapkeia ynojmuoc 20 aeTTa Tepitou
4.5. ΠPOETOIMAZIA ΓΑΥΚΩΝ (TOYPTEΣ)
Ipoθερμανετe tov φούρνο τουλαίσον για δέκα λεπτά πριν to xροηιμοτοίησε. Mny avoivετε Νγι πόρτα σός ψηνεται Κέκι γιαίδεν θα φούκωσει (to iδio ɪαχúει για ἀτι ᵋει μayía kai ta σουφλέ), γιαί Ακύμα του κρύου αέρα του Μα μιτει avoivoytac Σν Πόρτα θα διακόμει ζν διαδίασια Ιςζύμωσις του λυκόuύ έ φayntou. Mπορείνε vα ἀξεγξετε κατα πόσο Το KÉIK ᵋει ηπθει επαρκως πίεοντa μεσα μia oδοντολυφίδΑ . Eav Byáζοντac Σν εἰναι στέγνη συμαίνει ὄτο το λυκό ᵋει ψηθει καλ. Mny δοκιμασετε πριν παρελθουν τα 34 Στροβλεπόμενης διαρκείας Ψησιματος.
Xpnoia tins yia kala anoreleouparata
Eav n EeWtepiKn ETTiPavEia Tou paayntou exei ynthei (Tapeixpwma) aalaa to eowteipko evai uDapec ouvexioe To nnooi o xaunloteon eoepokpia.
-Eav n EeWTePiKn ETIpAveia exE OTEYwOeI TpETei VA OvEXIOE To ynoiMo oE yNoIaTePn eepoKpaia via iKpOtepo xpviokdoTma.
4.6. ΨΗΣΙΟ KPEATOΣ
H ikpote np TIOOTa KpatoC Tou MTOpeite va npoTe OTo foOpvo eivai 1 kg. Eav bokmuotcva npoTe kiptoepn TIOOTa o opvocO a"Ecpaei" to Kpaeac. Eav theeT to Kpaeac va npoTe oE afoC xpoiotnoieote Aiyotepo AIToc. Eav to Kpaeac exei liyo AIToc dev xpeiaetai va to aaleiwte me laodi. Eav mOvo to eva MPoc eivai AITapop yupote to ato etanov to liuMEvo LITOc oA dIATPaeoi oAo to Kpumati. Ta kokkiva Kpeta TIPETe va napaeeiovuv EKTOS uyeiou ia wpa TTIV npOouv.AV tioTtneTo Kpaeac ato to uuyeo oTo foOpvo To Kpaeac thyivei oKlnpo Egantiac tsdiapopac Thepuokpaoic.Mnv alatioeTo Kpaeac Tpiv ano to payieipema idiaitepa v npotiTe va XnpoiotnoieTe to YkpiA yiato a apudawtei kai thxaoi ta uypa tou. PootheTe alati OTO npTo Kpaeoc mvo meta nTv meon ts diapkeia c npaiatoc
-ToTIOOETEIOTE TO Kpeac TPOU Tpoketai va ynoe TE e eva TAtu npxotai.
· / / a i e uynla toixuata deTpeTei va xpnoiotioovtai viat Tapeptobizouv tnv diaxuaon ts ΘepoIntac. TOnToeTeiote To kpea o EvavthetaKIO CTIG uynlcs Thepuokpaoies Okeuos n atteuethia cto ykpiA. TOnToeTeiote KATW ATTO Tn oxapa eva taqi YIA TNV oulloyn TwV ZomegaV.
Pooothe Tc oaltoe aTn npv apx n av 0 paynto dev tha ynei ia
muayao xpviko diatnma, diapopetikav to paynto Tpnetie va
muayeputeia ia yeaulepto xpviko diaotma Tpootheote nTv oaltoa
tny TEleutaia mio npa.
4.7. ΨΗΣΙΜΟ ΨΑΥΙΟΥ
Papia mikpns diataoans mtpei va npouv oTo poupvo oTnv meyiotn
tepokpaia ato tvn apx nexpi to teLo .Ta yapia metpiou eyeethouc
tpetieva npouv otnv meyiotn tepokpaia otnv apx n kai meta tpettei
va meiwote nTv evtaon ts cepukpaiaoc. Ta neayou neyehouc sapia,
ynovtai oe xanl aneupokpaia ato tvn apx n ec to teLo. EeyEe To
deltau Tou aapiou oTo etavw npoc yia va bbaiaowte iTo exei ngei kaia.
Tia va eiote oiyoupoi oTo to yapix exi npoei elEyEe To avoivma tnc koaiac
To npuevo npapiexei aotpidepopo mat xpomega.BeBaia auto dev apopao tv
oolomokai tnTvTeopopa.
4.8. MAΓEIPEMA ME THN ΣOYBΛA
H Ooβλa aTIOεIaI aTO μIA TEPovN,δU OIIPOUvεKai EVA KpεμaOtpo γIa TnV ΘπiEη Tns OouβλaC.
-Obnyiesxprnoews
Apaipote ola ta eapntmuata tou eotaiouv to opuvo
TtooTeiote to a ta'i oToV TtUthetava Tou foOpvou n otyn xaunawepn bao on tnpns.
Tepeewote To kpeaKaIa Kevtpapiaevo TE TIO DU TIPOUVE
Oηλukωte nV σουβλα Οτν UTTOδoXn TTO UU TAPxε ΠΤN TIIATN TOU φουρvou KAI TOTIOθETEIOTE ΑγKIOtpo ΠΤN UTTOδoXn TTO βρικΕTα ΠΟ ΜεΠροσθio Μερος ΣΟρφής ΠΟ φουρvou ,KAI ΕΤΕPΕωTe ΤΟ ΜεΠροσθio Μερος ΣΟιβλας.
Otau mayeipéute ME tvouβlaev xpeiaetai va TPOeepaiveTov opuvo.
EvdekTIkiδiapKEIAyapeipémuoc avaloya μe To iioos Tou ynevete.
| Διάρκεία μαγείρέματος (min) | ||
| Eiδος τροφής | Φουρνος Αγραερίου | Ηλεκτριός φούρνος |
| Μοχάρι (1kg) | 25/35 | 20/30 |
| Αρνάκι,Αρνί (1kg) | 35/45 | 30/40 |
| Μοχαράκι,πουλερία (1kg) | 65/75 | 60/70 |
| Xοίρινό(1kg) | 60/70 | 65/75 |
4.9. MINUTENZÄHLER

Abbildung 13
Tia va eIiAeEeTe Tnv diApkeia
LeiToupyiac Tou XpovDiakOITn,TOV
TIepiOtpepetai MEXPI Tnv avTiOToxN
EvEiEi. Me Tnv npoO ToC
TPOpypaMaIOuEvNc DIAPKEIAc
LeiToupyiac n OuaKeun EKIIeMe eva
nxNTkoOnma.2BnotEVpOvO
Puθμιοι Tŋε Evδεξησ Tŋε Ωρα
| ΛΕΙΤΟΥΡΙΑ | ΕΝΕΝΑΚΟΙΗΗ | ΑΝΕΝΑΚΟΙΗΗ | ΤΙ KANEI | ΣΕΤΙ XYPHEIMEYΕ | |
| Xρονοδιακόπηης | •Κρατήσε πίεσμένο το πίλκτρο με to καμιανάκι Επείσετης •Πέλεσε το πίλκτρα συμεύσετης γγίαν εἰπίλεξετητην διαρκεία. •Ατελευθερώτε το πίλκτρα | •Οταν παρέλβει o χρόνος ενα Μητικό Θα σας ενημερωεία. Πήεζοντας to πίλκτρο μιθρείετε to διακόψετε toν έχο διαφορετικα θα σαματησει μόνος του Υ | •Παράγει έλητική εἰδοτοίηση γγίν Μην παρέλευθητης. Π •Γαν α δείετη πόσος χρόνος αὐμεύνει γγία Μαγείρεμα πίεδετο το πίλκτρο με οκαμιανάκι | •Σας επιπρέτειν αν χροσιμοιοίησετο ρολόι Κσι συακεύς σανξυνητήρι. | |
| Xειροκίνηην λειίουργία | •Πέσετο το πίλκτρο •Επίλεξετην το τόρτο Λειούργίας με Ψόν εἰπίλουγία λειίουργίων | •Περισρέψετε το επίλουγεα στην θέση “O” | •Σας επιπρέτειν αν λειίουργίας η συακεύς | •Na μαγείρεψετε. | |
| Διάρκεία Μαγείρεματος | •Kρατήσε πίεσμένο το πίλκτρο τούν υνοδιακόπην •Πέσετο το πίλκτρα συμεύσετης γγίαν εἰπίλεξετητην διαρκεία •Ατελευθερώτε το πίλκτρα •Επίλεξετην το τόρτο Λειούργίας με Ψόν Φόβθεία Μαγείρεμα θέση θεύνηση θεύνηση θεύνηση θεύνηση θεύνηση θεύνηση θεύνηση θεύνηση θεύνηση θεύνηση θεύνηση θεύνηση θεύνηση Τ | •Οταν παρέλβει o χρόνος Θα σβήσει autόματα. Εάν θέλετεν α διακόψετε autόματα vδιακόντας wν λειουργία Στην συακεύς vδιακόψετε Φείσετο Φείσετο Φείσετο Φείσετο Φείσετο Φείσετο Φείσετο Φείσετο Φείσετο Φείσετο Φείσετο Φείσετο Φείσετο Φε⁄η Φ | •Σας επιπρέτειν αν λειίουργίας η συακεύς •Na μαγείρεμα συμεύσετα Στην συακεύς •Na σβήσει πόσος χρόνος éχει περάσει πίεζοντας Φείσετο Φείσετο Φείσετο Φε⁄η Φ | •Οταν παρέλθει o χρόνος •λειουργίας η συακεύς Φε⁄ην autóματα ευώ tαυτόχρονα εγα ηχπικό σύμα ευνμερωνει γγία Τελος τούκλου | |
| Ολοκλήρωση κύκλου μαγείρεματος | •Kρατήσε πίεσμένο το πίλκτρο END. •Πέσετο το πίλκτρα συμεύσετης γγίαν εἰπίλεξετητην διαρκεία •Ατελευθερώτε το πίλκτρα •Επίλεξετην το τόρτο Λειο见过 με Ψόν Φόβθεία Μαγείρεμα θέση θεύνηση θεύνηση θεύνηση θεύνηση θεύνηση θεύνηση θεύνηση θεύνηση θεύνηsigma | •Διακόπή της Αλειουργίας στην προκαθρισμένη ψαρ. •Γαν α διακόψετe χερούνησα την λειουργία πρέτειν α επαναφέρετε Φείνηση θεύνηση θεύνηση θεύνηση θεύνηση θεύνηση θεύνηση θεύνηση θεύνηση θεύνηση θεύνηση θεύνηση θεύνησeta | •Σας επιπρέτειν αν χρόνος •Γαν α δείετη πόσος χρόνος eχει περάσει πίεζοντας •Γαν α δείετη πόσος χρόνος éχει περάσει πίεζοντας •Γαν α δείετη πόσος χρόνος eχει περάσει πίεζοντας •Γαν α δείετη πόσος χρόνος eχει περάσει πίεζοντας •Γαν α δείετη πόσος χρόνος eχει περάσει πíεζοντας •Γαν α δείετη πόσος χρόνος eχει περάσει πíεζοντας •Γαν α δείετη πόσος χρόνος eχει περάσει πíεζοντας •Γα′ν α δείετη πόσος χρόνος eχει περάσει πíεζοντας •Γα′ν α δείετη πόσος χρόνος eχει περάσει πíεζοντας •Γα′ν α δείετη πóν Φεύνηση θεύνηση θεύνηση θεύνηση θεύνηση θεύνηση θεύνηση θεύνηση θεύνηση θεύνηση θεύνηση θεύνηση θεύνŋ •Γα′ν α δείετη πόσος χρόνος eχει περάσει πíεζοντας •Γα′ν α δείετη πóν Φεύνηση θεύνηση θεύνηση θεύνηση θεύνηsigma | •Autη ήλειουργία χρσιμοιοίεις σε Ϊυδυσμό Με ιυν λειουργίαεπιλογίας μαγείρματος. Φχ εάν Φαγητό πρέτει Φε⁄η Φε⁄η Φε⁄η Φε⁄η Φε⁄η Φε⁄η Φε⁄η Φε⁄η Φε⁄η Φε⁄η Φε⁄η Φε⁄η Φε⁄η Φε⁄η Φε⁄η Φε⁄η Φε⁄η Φε⁄η Φε⁄η Φε⁄η Φε⁄eta vα Επιαμοι Οτίς 12,30 πρέτει : vα Επιαμοι Οτίς 10 πρότον λειουργίας, Tην διαρκεία μαγείρματος 45' kai v είναι ἀτομο Οτίς 12,30 πρέτει : vα Επιαμοι Οτίς 10 πρότον λειουργίας, Tην διαρκεία μαγείρματος 45' kai v είναι ἀτομο Οτίς ομανητό. | •Σας επιπρέτειν αν χρσιμοιοίεις •Ωασιμοιοίσει στην θέση •Ωασιμοιοίσει στην θέση •Ωασιμοιοίσει στην θέση •Ωασιμοιοίσει στην θέση •Ωασιμοιοίσει στην θέση •Ωασιμoι Οραγίας •Ωασιμoι Οραγίας •Ωασιμoι Οραγίας •Ωασιμoι Οραγίας •Ωασιμoι Οραγίας •Ωασιμoι Οραγίας •Ωασιμoι Οραγ½σι •Ωασιμoι Οραγ½σι •Ωασιμoι Οραγ½σι •Ωασιμoι Οραγ½σι •Ωασιμoι Οραγ½σι •Ωασιμoι Οραγ½σι •Ωασιμoι Οραγ²σι •Ωασιμoι Οραγ²σι •Ωασιμoι Οραγ²σι •Ωασιμoι Οραγ²σι •Ωασιμoι Οραγ²σι •Ωασιμoι Οραγ²σι •Ωασιμoι Ορalpha •Ωασιμoι Οραγ²σι •Ωασιμoι Οραγ²σι •Ωασιμoι Οραγ²σι •Ωασιμoι Οραγ²σι •Ωασιμoι Οραγ²σι •Ωασιμoι Οραγ₂σι •Ωασιμoι Οραγ₂σι •Ωασιμoι Οραγ₂σι •Ωασιμoι Οραγ₂σι •Ωασιμoι Οραγ₂σι •Ωασιμoι Οραγ₂σι •Ωασιμoι Ορalpha •Ωασιμoι Οραγ₂σι •Ωασιμoι Οραγ₂σι •Ωασιμoι Οραγ₂σι •Ωασιμoι Οραγ₂σι •Ωασιμoι Οραγ₂σι •Ωασιμoι Οραγ²σι •Ωασιμoι Οραγ²σι •Ωασιμoι Οραγ²σι •Ωασιμoι Οραγ²σι •Ωασιμoι Οραγ²σι •Ωασιμoι Ορ αγία •Ωασιμoι Οραγ²σι •Ωασιμoι Οραγ²σι •Ωασιμoι Οραγ²σι •Ωασιμoι Οραγ²σι •Ωασιμoι Οραγ²σι •Ωασιμoι Οραγ⁻²σι •Ωασιμoι Οραγ⁻²σι •Ωασιμoι Οραγ⁻²σι •Ωασιμoι Οραγ⁻²σι •Ωασιμoι Οραγ⁻²σι •Ωασιμoι Οραγ⁻²σι •Ωασι μαγα •Ωασι μαγα •Ωασι μαγα •Ωασι μαγα •Ωασι μαγα •Ωασι μαγα •Ωασι μαγα •Ωασι μαγα •Ωασι μαγα •Ωασι μαγα •Ωασι μαγ α •Ωασι μαγα •Ωασι μαγα •Ωασι μαγα •Ωασι μαγα •Ωασι μαγα •Ωασι μαγα •Ωασι μαγα •Ωασι μαγα •Ωασι μαγα •Ωασι μαγa •Ωασι μαγa •Ωασι μαγa •Ωασι μαγa •Ωασι μαγa •Ωασι μαγa •Ωασι μαγa •Ωασι μαγa •Ωασι μαγa •Ωασι μαγa •Ωασι μαγα •Ωασι μαγα •Ωασι μαγα •Ωασι μαγα •Ωασι μαγα •Ωασι μαγα •Ωασι μαγα •Ωασι μαγα •Ωασι μαγα •Ωασι μαγ a •Ωασι μαγ a •Ωασι μαγ a •Ωασι μαγ a •Ωασι μαγ a •Ωασι μαγ a •Ωασι μαγ a •Ωασι μαγ a •Ωασι μαγ a •Ωασι μαγ a •Ωασι μαγ α •Ωασι μαγ a •Ωασι μαγ a •Ωασι μαγ a •Ωασι μαγ a •Ωασι μαγ a •Ωασι μαγ a •Ωασι μαγ a •Ωασι μαγ a •Ωασι μαγ a •Ωασι μαγa •Ωασι μαγa •Ωασι μαγa •Ωασι μαγa •Ωασι μαγa •Ωασι μαγa •Ωασι μαγa •Ωασι μαγa •Ωασι μαγa •Ωασι μαγ a •Ωασι μαγ a •Ωασι μαγ a •Ωασι μαγ a •Ωασι μαγ a •Ωασι μαγ a •Ωασι μαγ a •Ωασι μαγ a •Ωασι μαγ a •Ωασι μαγ •Ωασι μαγ a •Ωασι μαγ a •Ωασι μαγ a •Ωασι μαγ a •Ωασι μαγ a •Ωασι μαγ a •Ωασι μαγ a •Ωασι μαγ a •Ωασι μαγ a •Ωασι μαγ b •Ωασι μαγ a •Ωασι μαγ a •Ωασι μαγ a •Ωασι μαγ a •Ωασι μαγ a •Ωασι μαγ a •Ωασι μαγ a •Ωασι μαγ a •Ωασι μαγ a •Ωασι μαγ.a •Ωασι μαγ a •Ωασι μαγ a •Ωασι μαγ a •Ωασι μαγ a •Ωασι μαγ a •Ωασι μαγ a •Ωασι μαγ a •Ωασι μαγ a •Ωασι μαγ a •Ωασι μαγ c •Ωασι μαγ c •Ωασι μαγ c •Ωασι μαγ c •Ωασι μαγ c •Ωασι μαγ c •Ωασι μαγ c •Ωασι μαγ c •Ωασι μαγ c •Ωασι μαγ c •Ωασι μαγ a •Ωασι μαγ a •Ωασι μαγ a •Ωασι μαγ a •Ωασι μαγ a •Ωασι μαγ a •Ωασι μαγ a •Ωασι μαγ a •Ωασι μαγ a •Ωασι μαγ s •Ωασι μαγ s •Ωασι μαγ s •Ωασι μαγ s •Ωασι μαγ s •Ωασι μαγ s •Ωασι μαγ s •Ωασι μαγ s •Ωασι μαγ s •Ωασι μαγ s •Ωασι μαγ a •Ωασι μαγ a •Ωασι μαγ a •Ωασι μαγ a •Ωασι μαγ a •Ωασι μαγ a •Ωασι μαγ a •Ωασι μαγ a •Ωασι μαγ a •Ωασι μαγ S •Ωασι μαγ S •Ωασι μαγ S •Ωασι μαγ S •Ωασι μαγ S •Ωασι μαγ S •Ωασι μαγ S •Ωασι μαγ S •Ωασι μαγ S •Ωασι μαγ S •Ωασι μαγ s •Ωασι μαγ s •Ωασι μαγ s •Ωασι μαγ s •Ωασι μαγ s •Ωασι μαγ s •Ωασι μαγ s •Ωασι μαγ s •Ωασι μαγ s •Ωασι μαγ S •Ωασι μαγ S •Ωασι μαγ S •Ωασι μαγ S •Ωασι μαγ S •Ωασι μαγ S •Ωασι μαγ S •Ωασι μαγ S •Ωασι μαγ S •Ωασι μαγS •Ωασι μαγ S •Ωασι μαγ S •Ωασι μαγ S •Ωασι μαγ S •Ωασι μαγ S •Ωασι μαγ S •Ωασι μαγ S •Ωασι μαγ S •Ωασι μαγ S •Ωασι μαγ •Ωασι μαγ S •Ωασι μαγ S •Ωασι μαγ S •Ωασι μαγ S •Ωασι μαγ S •Ωασι μαγ S •Ωασι μαγ S •Ωασι μαγ S •Ωασι μαγ S •Ωασι μαγ a •Ωασι μαγ a •Ωασι μαγ a •Ωασι μαγ a •Ωασι μαγ a •Ωασι μαγ a •Ωασι μαγ a •Ωασι μαγ a •Ωασι μαγ a •Ωασι μαγ L •Ωασι μαγ L •Ωασι μαγ L •Ωασι μαγ L •Ωασι μαγ L •Ωασι μαγ L •Ωασι μαγ L •Ωασι μαγ L •Ωασι μαγ L •Ωασι μαγ L •Ωασι μαγ S •Ωασι μαγ S •Ωασι μαγ S •Ωασι μαγ S •Ωασι μαγ S •Ωασι μαγ S •Ωασι μαγ S •Ωασι μαγ S •Ωασι μαγ S •Ωασι μαγ L •Ωασι μαγ L •Ωασι μαγ L •Ωασι μαγ L •Ωασι μαγ L •Ωασι μαγ L •Ωασι μαγ L •Ωασι μαγ L •Ωασι μαγ L •Ωασι μαγL •Ωασι μαγ L •Ωασι μαγ L •Ωασι μαγ L •Ωασι μαγ L •Ωασι μαγ L •Ωασι μαγ L •Ωασι μαγ L •Ωασι μαγ L •Ωασι μαγ L •Ωασι μαγ l •Ωασι μαγ L •Ωασι μαγ L •Ωασι μαγ L •Ωασι μαγ L •Ωασι μαγ L •Ωασι μαγ L •Ωασι μαγ L •Ωασι μαγ L •Ωασι μαγ L •Ωασι μαγ s •Ωασι μαγ s •Ωασι μαγ s •Ωασι μαγ s •Ωασι μαγ s •Ωασι μαγ s •Ωασι μαγ s •Ωασι μαγ s •Ωασι μαγ s •Ωασι μαγ L •Ωασι μαγ L •Ωασι μαγ L •Ωασι μαγ L •Ωασι μαγ L •Ωασι μαγ L •Ωασι μαγ L •Ωασι μαγ L •Ωασι μαγ L •Ωασι μαγ a •Ωασι μαγ a •Ωασι μαγ a •Ωασι μαγ a •Ωασι μαγ a •Ωασι μαγ a •Ωασι μαγ a •Ωασι μαγ a •Ωασι μαγ a •Ωασι μαγ R •Ωασι μαγ R •Ωασι μαγ R •Ωασι μαγ R •Ωασι μαγ R •Ωασι μαγ R •Ωασι μαγ R •Ωασι μαγ R •Ωασι μαγ R •Ωασι μαγ R •Ωασι μαγ L •Ωασι μαγ L •Ωασι μαγ L •Ωασι μαγ L •Ωασι μαγ L •Ωασι μαγ L •Ωασι μαγ L •Ωασι μαγ L •Ωασι μαγ L •Ωασι μαγ R •Ωασι μαγ R •Ωασι μαγ R •Ωασι μαγ R •Ωασι μαγ R •Ωασι μαγ R •Ωασι μαγ R •Ωασι μαγ R •Ωασι μαγ R •Ωασι μαγ r •Ωασι μαγ r •Ωασι μαγ r •Ωασι μαγ r •Ωασι μαγ r •Ωασι μαγ r •Ωασι μαγ r •Ωασι μαγ r •Ωασι μαγ r •Ωασι μαγ r •Ωασι μαγ R •Ωασι μαγ R •Ωασι μαγ R •Ωασι μαγ R •Ωασι μαγ R •Ωασι μαγ R •Ωασι μαγ R •Ωασι μαγ R •Ωασι μαγ R •Ωασι μαγR •Ωασι μαγ R •Ωασι μαγ R •Ωασι μαγ R •Ωασι μαγ R •Ωασι μαγ R •Ωασι μαγ R •Ωασι μαγ R •Ωασι μαγ R •Ωασι μαγ R •Ωασι μαγ S •Ωασι μαγ S •Ωασι μαγ S •Ωασι μαγ S •Ωασι μαγ S •Ωασι μαγ S •Ωασι μαγ S •Ωασι μαγ S •Ωασι μαγ S •Ωασι μαγ R •Ωασι μαγ R •Ωασι μαγ R •Ωασι μαγ R •Ωασι μαγ R •Ωασι μαγ R •Ωασι μαγ R •Ωασι μαγ R •Ωασι μαγ R •Ωασι μαγ a •Ωασι μαγ a •Ωασι μαγ a •Ωασι μαγ a •Ωασι μαγ a •Ωασι μαγ a •Ωασι μαγ a •Ωασι μαγ a •Ωασι μαγ a •Ωασι μαγ r •Ωασι μαγ r •Ωασι μαγ r •Ωασι μαγ r •Ωασι μαγ r •Ωασι μαγ r •Ωασι μαγ r •Ωασι μαγ r •Ωασι μαγ r •Ωασι μαγ a •Ωασι μαγ a •Ωασι μαγ a •Ωασι μαγ a •Ωασι μαγ a •Ωασι μαγ a •Ωασι μαγ a •Ωασι μαγ a •Ωασι μαγ a •Ωασι μαγ m •Ωασι μαγ m •Ωασι μαγ m •Ωασι μαγ m •Ωασι μαγ m •Ωασι μαγ m •Ωασι μαγ m •Ωασι μαγ m •Ωασι μαγ m •Ωασι μαγ m •Ωασι μαγ M •Ωασι μαγ M •Ωασι μαγ M •Ωασι μαγ M •Ωασι μαγ M •Ωασι μαγ M •Ωασι μαγ M •Ωασι μαγ M •Ωασι μαγ M •Ωασι μαγ M •Ωασι μαγ m •Ωασι μαγ m •Ωασι μαγ m •Ωασι μαγ m •Ωασι μαγ m •Ωασι μαγ m •Ωασι μαγ m •Ωασι μαγ m •Ωασι μαγ m •Ωασι μαγ a •Ωασι μαγ a •Ωασι μαγ a •Ωασι μαγ a •Ωασι μαγ a •Ωασι μαγ a •Ωασι μαγ a •Ωασι μαγ a •Ωασι μαγ a •Ωασι μαγ n •Ωασι μαγ n •Ωασι μαγ n •Ωασι μαγ n •Ωασι μαγ n •Ωασι μαγ n •Ωασι μαγ n •Ωασι μαγ n •Ωασι μαγ n •Ωασι μαγ n •Ωασι μαγ a •Ωασι μαγ a •Ωασι μαγ a •Ωασι μαγ a •Ωασι μαγ a •Ωασι μαγ a •Ωασι μαγ a •Ωασι μαγ a •Ωασι μαγ a •Ωασι μαγ u •Ωασι μαγ u •Ωασι μαγ u •Ωασι μαγ u •Ωασι μαγ u •Ωασι μαγ u •Ωασι μαγ u •Ωασι μαγ u •Ωασι μαγ u •Ωασι μαγ u •Ωασι μαγ a •Ωασι μαγ a •Ωασι μαγ a •Ωασι μαγ a •Ωασι μαγ a •Ωασι μαγ a •Ωασι μαγ a •Ωασι μαγ a •Ωασι μαγ a •Ωασι μαγ d •Ωασι μαγ d •Ωασι μαγ d •Ωασι μαγ d •Ωασι μαγ d •Ωασι μαγ d •Ωασι μαγ d •Ωασι μαγ d •Ωασι μαγ d •Ωασι μαγ d •Ωασι μαγ a •Ωασι μαγ a •Ωασι μαγ a •Ωασι μαγ a •Ωασι μαγ a •Ωασι μαγ a •Ωασι μαγ a •Ωασι μαγ a •Ωασι μαγ a •Ωασι μαγ p •Ωασι μαγ p •Ωασι μαγ p •Ωασι μαγ p •Ωασι μαγ p •Ωασι μαγ p •Ωασι μαγ p •Ωασι μαγ p •Ωασι μαγ p •Ωασι μαγ p •Ωασι μαγ P •Ωασι μαγ P •Ωασι μαγ P •Ωασι μαγ P •Ωασι μαγ P •Ωασι μαγ P •Ωασι μαγ P •Ωασι μαγ P •Ωασι μαγ P •Ωασι μαγ P •Ωασι μαγ p •Ωασι μαγ p •Ωασι μαγ p •Ωασι μαγ p •Ωασι μαγ p •Ωασι μαγ p •Ωασι μαγ p •Ωασι μαγ p •Ωασι μαγ p •Ωασι μαγ a •Ωασι μαγ a •Ωασι μαγ a •Ωασι μαγ a •Ωασι μαγ a •Ωασι μαγ a •Ωασι μαγ a •Ωασι μαγ a •Ωασι μαγ a •Ωασι μαγ y •Ωασι μαγ y •Ωασι μαγ y •Ωασι μαγ y •Ωασι μαγ y •Ωασι μαγ y •Ωασι μαγ y •Ωασι μαγ y •Ωασι μαγ y •Ωασι μαγ y •Ωασι μαγ a •Ωασι μαγ a •Ωασι μαγ a •Ωασι μαγ a •Ωασι μαγ a •Ωασι μαγ a •Ωασι μαγ a •Ωασι μαγ a •Ωασι μαγ a •Ωασι μαγ e •Ωασι μαγ e •Ωασι μαγ e •Ωασι μαγ e •Ωασι μαγ e •Ωασι μαγ e •Ωασι μαγ e •Ωασι μαγ e •Ωασι μαγ e •Ωασι μαγ e •Ωασι μαγ a •Ωασι μαγ a •Ωασι μαγ a •Ωασι μαγ a •Ωασι μαγ a •Ωασι μαγ a •Ωασι μαγ a •Ωασι μαγ a •Ωασι μαγ a •Ωασι μαγ i •Ωασι μαγ i •Ωασι μαγ i •Ωασι μαγ i •Ωασι μαγ i •Ωασι μαγ i •Ωασι μαγ i •Ωασι μαγ i •Ωασι μαγ i •Ωασι μαγ i •Ωασι μαγ a •Ωασι μαγ a •Ωασι μαγ a •Ωασι μαγ a •Ωασι μαγ a •Ωασι μαγ a •Ωασι μαγ a •Ωασι μαγ a •Ωασι μαγ a •Ωασι μαγ A •Ωασι μαγ a •Ωασι μαγ a •Ωασι μαγ a •Ωασι μαγ a •Ωασι μαγ a •Ωασι μαγ a •Ωασι μαγ a •Ωασι μαγ a •Ωασι μαγ a •Ωασι μαγ 8 •Ωασι μαγ 8 •Ωασι μαγ 8 •Ωασι μαγ 8 •Ωασι μαγ 8 •Ωασι μαγ 8 •Ωασι μαγ 8 •Ωασι μαγ 8 •Ωασι μαγ 8 •Ωασι μαγ 8 |

Ppoox:Meta tynv Ekyataotaan TnC OoKeun TpTei va puthetae Tnv wpa, to ibio TpTei va kavete meta ato kae biakotni peuatoC. Meta ato diakotni peuatoC atnv oboyn Tou pooyiou avaoobnvei n evdeign 00
- Na kpatnóte πieoévo tov xpvovbiakointTIMER kaio πλnkpto END (▶ n |▲)
-Puθμiσe TnV ωρα Με TnV βοθεια Tωv πλκτρων
-ATTEUθερωTEaTtλκτρα.
PpOoOxN: o pOuPoC λeIToupyEi n xeIpoKivnTa U n με πpOeTIIoyn Tns ωpac λeIToupyiaç.
Σημειωηι Σε Σερικα μοντέλα τα σύμβολα ⊥ ηΔεχουν αντικατασταθεί από + και -
Tia tov xεipokivnto πopypaμaioμo tou xpvouétpou με 5 πλκτρα, πεστε taúxpova ta πλκτρα «XPONOMETPO (TIMER)» και «TEAO∑ (END)».
TIMER END


4.13. ΠΙΝΑΚΕΣ ΜΑΓΕΙΡΕΜΑΤΟΣ
Bapoc yia noio o e otaiko oupvo e aveuiotnpa (ypaupia)
| Báρος gr | Eiðos φaγntóu | Παραδοσιακό μαγείρεμα | Μαγείρεμα με ανεμιστήρα | Διάρκεια (λεπτά) | Σημειώσεις | ||
| KEIK & ΓΑΥΚA | Θέση σχάρας | Θερμοκρασία (℃) | Θέση σχάρας | Θερμοκρασία (℃) | |||
| Zúμη με κτιπητά auγα | 2 | 180 | 2 (1 & 3) | 160 | 45 - 60 | ||
| Zúμη | 1 | 180 | 2 (1 & 3) | 160 | 20 - 35 | ||
| Mírpá kék | 2 | 180 | 2 (1 & 3) | 160 | 20 - 30 | ||
| Cheese Cake | 1 | 175 | 2 | 150 | 60 - 80 | ||
| Mηλόπια | 1 | 180 | 2 (1 & 3) | 160 | 40 - 60 | ||
| Στρούντελ | 2 | 175 | 2 (1 & 3) | 150 | 60 - 80 | ||
| Táρτα με μαρμελάδα | 2 | 180 | 2 (1 & 3) | 160 | 45 - 60 | ||
| Mερίδες kék | 2 | 180 | 2 (1 & 3) | 160 | 15 - 25 | ||
| Mτιακότα | 2 | 180 | 2 (1 & 3) | 160 | 10 - 20 | ||
| Kék με κρέμα | 2 | 100 | 2 (1 & 3) | 100 | 90 - 120 | ||
| ΨΩMI & ΠΙΤΣΑ | TOTθετείοτε ο Στάνω σε ταψάκι | ||||||
| 1000 | Αστρο Ψωμί | 1 | 200 | 2 | 175 | 45 - 60 | κάτω από ο γκρίλ. |
| 500 | Ψωμί από κριθάρι | 1 | 200 | 2 | 175 | 30 - 45 | |
| 500 | Σάντουίζ | 2 | 200 | 2 (1 & 3) | 175 | 20 - 35 | Ψήνετε με κειστό φούρνο |
| 250 | Πίσα | 1 | 220 | 2 (1 & 3) | 200 | 20 - 35 | |
| ZYMAPIKA | |||||||
| Μακαρόνία | 2 | 200 | 2 (1 & 3) | 175 | 40 - 50 | ||
| Με λαχανία | 2 | 200 | 2 (1 & 3) | 175 | 45 - 60 | ||
| Mírpá ζμαρία | 2 | 200 | 2 (1 & 3) | 175 | 35 - 45 | ||
| Λαζάνία | 2 | 200 | 2 | 175 | 45 - 60 | ||
| KPEAΣ | |||||||
| 1000 | Μοσχάρι υητό | 2 | 200 | 2 | 175 | 50 - 70 | Ψήνεται στο Γκρίλ |
| 1200 | Ψητό χορίνό | 2 | 200 | 2 | 175 | 100 - 130 | Ψήνεται στο Γκρίλ |
| 1000 | Μοσχαράκι γάλακτος στο φούρνο | 2 | 200 | 2 | 175 | 90 - 120 | Ψήνεται στο Γκρίλ |
| 1500 | Ροσμπίφ Αγγλίκό | 2 | 220 | 2 | 200 | 50 - 70 | Ψήνεται στο Γκρίλ |
| 1200 | Μτούτακι Αρνίσιo | 2 | 200 | 2 | 175 | 110 - 130 | Mπούτι |
| 1000 | Κοτόπουλo | 2 | 200 | 2 | 175 | 60 - 80 | Ολόκληρο |
| 4000 | Γαλοτούλa | 2 | 200 | 2 | 175 | 210 - 240 | Ολόκληρο |
| 1500 | Πάπια | 2 | 175 | 2 | 160 | 120 - 150 | Ολόκληρο |
| 3000 | χήνα | 2 | 175 | 2 | 160 | 150 - 200 | Ολόκληρο |
| 1200 | Κουνέλι | 2 | 200 | 2 | 175 | 60 - 80 | Σε τεμάχια |
| ΨΑΙΑ | |||||||
| 1000 | Ολόκληρο Ψάρι | 2 | 200 | 2 (1 & 3) | 175 | 40 - 60 | 2 Ψάρία |
| 800 | Φέτες ψαρίου | 2 | 200 | 2 (1 & 3) | 175 | 30 - 40 | 4 φέτες |

\SHEMIEQH:
1)Σπγν διαρκεία ηησιματος δεν συμπεριλαμβάνεται o χρόνος προθερμανούς του φούρνου .Προθερμαίνετο το φούρνο touλαχιστον για 10'
2)Yπoδηλωνει ην θέοι Σχαρας για ταυτόχρον ψησιμο πλέον του εύς φαγητού
3)Oλa Ta φaynta ψyovvta με ην πόρτa tou φούρvou κλεισή.
| Eiðoc φayntóu | Ποσότητα | Ψήσιμο στο Γκρίλ | Διάρκεια Ψησιματος(λεπτά) | |||
| Μερίδες | Βάρος | Θέση σχάρας | Θερμοκρασία (°C) | Επάνω θέση | Χαμηλή θέση | |
| Μοσχαρίσια μπριτόλα | 4 | 800 | 4 | max | 10 | 8 |
| Σπιλομιπρίζόλες | 4 | 600 | 4 | max | 12 | 8 |
| Λουκάνικα | 8 | 500 | 4 | max | 10 | 6 |
| Τεμάχια κοτόπουλου | 6 | 800 | 3 | max | 30 | 20 |
| Διάφορα υπητά | 4 | 700 | 4 | max | 12 | 10 |
| Επιδόρτια με γάλα | 4 | 400 | 4 | max | 13 | 10 |
| Φέτες ντομάτας | 8 | 500 | 4 | max | 12 | -- |
| Φέτες ψαρίου | 4 | 400 | 4 | max | 8 | 6 |
| Κοψίδια | 6 | --- | 4 | max | 12 | -- |
| Τοστ | 4 | --- | 4 | max | 8 | -- |
| Φέτες ψωμίου | 4 | — | 4 | max | 2-3 | 1 |
5. KAGAPIEMO THI NOPTA TOY FOYPNOY.
Mny apnveTe Ta Tiaia va kavouv TIS epyaiecs ouvtnpnnc ka Kaepaipou tnsouokeuinsxwpiyn ETTBaeyn Evna
Tia aIIOTeAeOaTIKO kaOapioo Tns TIOptac Tou ooupvou, eivai OKOTIIPO va Tnv apaipoeTE aKoLouWvTac Tc odnyiec Tnou aTneIKoviOVTai OTO dIiavo oxnua.
AvoiTe TnV TnOpta EvtelwC, TEPIOTpeyTe Ta ayKIOtpa Tou Kpatouv Touc bpaxiovecs kata 180°. Avaonkwote Tnv TnOpta EwS 30°



ApaipoeTnV npota Byaovtac noupTa aTo nTv eoan Tns.
Tia va επινατοῦθετησετ Νγν Σόρτα κάντε τα πίου με Σην αντίοτροφη σειρά.
Tia va avikaraaotnoetov laantnpa tou oou
πρεπεινασομυδεοετην συακεύη από το δικτuo ηεκτρική ενέρειας,να εξβίδωσετο το καλμμα της πλαφονίερας,να φαρεσετονλμππίρα καινοναντικατόσετε με αλλο ανθεκτιόσις υψηλες θερμοκρασίες.
ΓαTov kαθαρισμό ηης συοκεύς μην χρησιροτοίεις ατμό ἡ συοκεύς ατμου.

5.1. KATAAYTIKO Σ AYTOKA Θ APIZOMENO Σ ΦOYPNO Σ
-Mepiká movtela εivai εpodiaouéva με εidikeç autokaθaipóμeves Επiavieç, Σε autn Tnv TEPiTTwon o φoúpvoc δev attaite kaθapiao μεTO xépi.
Ia va eivai o kaapiooC aToteeouatikoc n tEvduon TpeTei va eivai trowos.
H Tnapouoia meyalns nnootntac liouc mtopei va papei touc Tnpouc kai va TnapeuTIOBIOEi Tnv diaikocia autoka aipioou. H IKavotnta autoka aipioou mtopei va atokataoTaOe i av Aetoupynoue to foupvo adEio yia eva 10eTTTO-20eTTTO.
-Eav Tnapola auta oi Etnipaveiec eivai liyiaouvec evtova, n ikavotnta autoka aipioou mtopei va atokataota the av apaipoeoue to litoc me eva maakof navi n eva oovkyaki me zetoto vepo. OLe os autokataaipizoeve ctnipaveies exouv diapkeia zwns Tepiou 300 wpc aeitoupiaac. Meta ano auto tnv diapkeia xnpancs TpETe i va atikataotaohuv.
6. YINHPEZIEZ TEXNIKHZ YINOETHPIEHZ & ENIAYSH NPOBAHMATQN
Eav n kouziva aeitoupyei Tpiiv kaéoet To Kevtpo texvikns UTOPIENCS:
Bbaiwthe otnouakeun eivai owoTa ouvdeepevn e To diktuo TapoxhSc evpveia
H por rou aepiou dsv ivai oTaepn
-Eλεγξτασημειαποακολουθούν
OITeC OTo KaTaki Tou KauoTnpa Eivai EeUeEpeC?
OpuθmuotnCπieoansλeitoupyékavoviká?
-Eavivetai xphon mToukakac exeiaepio? HbaBida aopafalacivaoiKT?
Eav eipavioi TpoBna otic aaiidc aepiou aneuvtheta et eva Eekevo kvtpo texviKns UTOOTnpiGns.
Fupw aT6 TIV SuokEun unapxI uPomegaiaepiou
Eλεγξτασημειαποακολουθούν
MπIwS exTe aepnσe i avoiktn nβaβiδα εpiou?
Hawna ouvdeoans meyn npoxivai eKaan kataaon?
MnV xnpoiuioite φóya via va avixvúoeté diappo n aepiou.
O ooupvoS 8ev 8eotaivei
-Eiavoi EniloyeiCOTnOWOTNtEonlambdaoupyiac?
H diapkeia maayepmuos eivai aouvnio taeyaaln
× E E E E Ei Tn Owotn 0epuokpaoia?
Byaivei kaTvo6 aTo o foUpvo
Eivai oKoTIIpo va kaOaIcEte To qOpvO meta atro kAeXpnoJ.Eav dEv exTe aTIOaKpUvei To AITOS IOU QeuVEI aTO Kpeac TIOU maYepueTAl, TIV eTIOeVn QopApou Tha XpNoiOTOnIOeTe To qOpvo 0 Ta 0uyn0ei Mi duOapeoTn Mupwdi Ka 0 Ta pax0e KaTIVoc.(BLeTTnv OxETIK n Toov KaOaipioToPapaypapo)
To tou a
-MTIOpei va kAnke o laaPTtnpac. Diabote OxETIKn TAPaypafo yia va aAALaeTe Tov laaPTtnpa.
-Eav npola auta o pfoupovos ouvexiciv a nvy leitoupyei ETIKoivwvnote ME TO PAnoiTepeo KevTPO TExVikns UTOOTnpiGc avapepovtac to movteLo kai ToV apiOTo paaywns.
7. IIA THN IPOEIA TOY IEPIBAANTO

Autn n ouokeun exei eTionmuavOe ioupwva m Tnv eupwtaikn obnyia 2012/19/EE oxetiká m Ta aTIOBNTa nEeKtpioku kai nEeKtpovikou EoITIAOu (AHHE). Ta AHHE TepiexoupuToyovec ouoe (Tou mTOpévi a TpokaLaeouv apvtikec eTITIWOWeIc oTO TepiBaALov) kai B aOIKa OOTATIKa (Tou mTPOpuV v a ETTAVaxpnoiotoinoov). Eivai onuavtikn n ETIBoLn
εξεδικευμένης επεξεργασίας των ΑHΕ, προκειμένουν α φαρεθούν καιν διατεθούν καταληλαόλοιο μύτοι, καιν ανακτηθούν καιν ανακυλωθούν ὄλa τα Αιλία.
Oi 10wTeC mTOpov va diaPapatiaouv oavtio polo diaqaiOvta otA AHHE dev dniuypouv TepiBaIaovtio zntma. Eivai 1daitepw osnavtiova aokouoohoueipoi baoikovavoe:
-TaAHHE v0a eepyaotouv oikakacnTaa
- Ta AHHE θa παραδθουν στα χετικα συλογής τα στοία διαχερίζεται O ὄμος ἡ γεκεριμένες εταρείς. Σ επολές χωρες, στην ατόρριψη μεγαλων AHHE, μτορείνα διατεθέι μαζη n αποκομίŋ oikiaκών ατορριμμάτων.
- otav ayopacete mia vea ouakeun, n taaia a tropei va etiotpapei oto liavotwnlntn Tou 0a Tne uanleEe iowepav e avioioxia eva TPOc eva, efoov autoc o eoTIAIOGc ivai 1oobuvamou tuTou kai eTTIEI cic idec aeupyiec me tov ppoopepevo EOTLIO
-BHIMAHHE: UpeT n npinexaTe My chTn moKe da ce HapoeT no BpeMe Ha ynoTpeBa. Tp6Ba da ce 36yBa DOKOcBaHe Do HapraBauTe eIeMeHTN.
-Дeца под 8 -тбиша Вьзрасгбвда се Дьржддал�уда, освен akо He ca noД noctогн He nДЗОр.
-урет може да се ИЗПОЛТВА от Deца hab 8-юшнв Вьзрст, кakTo и OT ЛИца с hamaleн ФиЗческ, CEH3OPHN ИПИУМСТВЕНСПОБ"HOTN INI TAKINBA 6e3 HeOxOIMNЯ OINT I NO3HAN, aKO TE CA HAD3INPABAH INI ПОДРбно ИНСТPyKТИРан ИТХОСН 6e3ОпАСнТа YNOTpeBa Na UpeDA N CBp3AHNTe C Hero рисКовe.
-Deuata He 6bva da ce octabrt da cn irpaart cypea.
-Почиствано и подрьжkaраз на урда на He SFBa Да се ИЗБьршва OT Deca 6e3 NaДзор.
-BHIMAHINE: Be3Ha3OpHO OCTaBeH TnraH C Ma3HnHa IIN OIno Bbpy KOTIOHa MOKe Da 6bIe pNCKOBaHo N da IOBeIe Do nOxap.
- HNKOFA He ce OIITBAIte Da n3racnte noXap c BODa, a n3KIOUcTe ypeDa n oKpInTe PnAmbKa, HAnp. c KaNaK IINI pOITIBONOJXapHO OdeAINO.
ΕύκολοΕγχειρίδιο