CCG6503PW - печка CANDY - Безплатно ръководство за потребителя
Намерете безплатно ръководството на устройството CCG6503PW CANDY в PDF формат.
Questions des utilisateurs sur CCG6503PW CANDY
0 question sur cet appareil. Repondez a celles que vous connaissez ou posez la votre.
Poser une nouvelle question sur cet appareil
Изтеглете инструкциите за вашия печка в PDF формат безплатно! Намерете ръководството си CCG6503PW - CANDY и вземете отново електронното си устройство в ръце. На тази страница са публикувани всички документи, необходими за използването на вашето устройство. CCG6503PW на марката CANDY.
РЪКОВОДСТВО ЗА ПОТРЕБИТЕЛЯ CCG6503PW CANDY
-Използваite само пенирьчана за този мдел Фурна Temпература сонда.
-He n3noJ3BaIte npOuNCTaUka npI noUHCTBaHcTe Ha ypeJa.
-Pa3IyTInTe TeHocTn Tp6Ba Da ce NouchTt OT Kana Kapei OTBapHeTo My.
-Повьхнocтпа Н КOTLOHInTe TрябВа Да се Oхлади ПpeДи 3aТваряНe Ha KaNaKa.
-BHIMAHHE: BHMaBaiTe da He ce CTnHe Do TOKOB yIap - ypeTbT Tp8Ba Da e N3KJIoueH npi NODMeHReTo Ha lamnata.
-Ako ypeIbT Ce NocTaBn BbyPxy 6a3a, Tp8Ba Da CE B3eMaT MepKn Da He Ce NODXITb3He OT HeJ.
-Heo6xOIMO e BbB qHKcnpaIoo TO ONPBOOJaBaHe Ja Ce OCNpyn CpeDCTBO 3a N3KJIIOUbaHe Ha 3axpaHbAHeTO C pa3dJIeJHe Ha KOHTaKTa BbB BCNUK IN3BOJN, KOET Da OCNpyra Ba IbJIHO N3KJIIOUbaHe npn YCNOBnHa CBpbXHaPpeJKeHne OT KATEOprr III, B CbOTBETCTBnE C npaBNaT a 3a ONpOBOJaBaHe.
-Инстукципту укзват кабьт{Tип Кбел Да ce n3рл3Вa, KaTO ce Има пpeдВID TemnepaTpyaTo OТЗад Наурда.
-Ako 3axpaHbAunrT Ka6e n e NOBpeH, ToI Tpr6Ba Da ce NOpMeH cBc CneuaJIeH Ka6e IIN KOMnJIeK, PpeIOCTaBraU Ce OT pON3BOUNTeIy IIN HEROB cepBn3eH areHT.
-BHIMAHHE: 3a da ce n36erHe eBeHTyaJIHnpyck OT HeBOLHO 3aDeIcTbaHe Ha TepMaJIHn IpeKbCBAu, ypeTbHe bHa da ce 3axpaHb OT BbHIHO ppeBKLIOUBaIoo YCTPOIcTBO OT PoJa HA TaIMeP, HTNo PbK Da Ce BKIOUBA KbM eJ.Bepira, KOrTO peIOBHO CE BkLIIOUBA N3KIIIOUBA OT YCTPOIcTBOTO.
- "BHIMAHINE: Вьншнite часту може за се наогорецгл ри ултpeбага на грпа. МалкITE Deца Трава за се дьржат далач".
-уретгггдддддддддддддддддддддддддддддддддддддддддддддддддддддддддддддддддддддддддддддддддддддддддддддддддддд徳пснггггггггггггgnggnggnggnggnggnggnggnggnggnggnggnggnggnggnggnggnggnggnggnggnggnggnggnggnggnggnggnggnggnggnggnggnggnggnggnggnggnggnggnggnggnggnggnggnggnggnggnggnggngg. cpega. Прочтete уka3aHnIyraТпрди MOHTnpaHTo ИИи yNtpe6bata Ha ypeia.
"Yka3aHnraTa Ca BaIiDnI CamO aKO CmBOnbT Ha IbpxKaBaTa Bn e O6o3Haueh Bbpyx ypeDa. Ako TaKbB CmBOn JIINCBa Bbpyx ypeDa, Tp6Ba Da ce HappaBn CnpaBkA C TexHnuecknte Yka3aHnry, KbJeTo Ue HamePte Heo6XODIMTe INCTpyKcNIOTHOCHO MOINΦnKaζnraTa Ha ypeDa B CbOTBETCTBnE C ycNoBnraTa 3a yIpOTpe6a B CbOTBEThaTApbXaBA".
-
"Преши монтыка поверете далп мecтнite усюья (eCTeCTBOTO Ha ra3Ta И налганeto) ca CbBMecTUMN Cурда";
-
"ycNoBnIyTa 3a peryIipaHe Ha ypeHa ca o6o3NaueHbBypXeEtIKeTa (iIN Ta6JIkata C daHHN)";
-
"ypebT He e Cbbp3aH KbM eBaKyauHNOy UcToiCTBO 3a Bb3PiameHIMn IpOdykTn. Tp6Ba Da ce MOHTnpa N CBpbXe B CbOTBETCTBHe C TeKyuIte INHCTaJaUOHHn Hape6n. Oco6eHO BHMaHne Tp6Ba Da ce obbpHe Ha I3NCKBaHnraTa 3a BeHTnlaucnHa ypeDa".
-уnotpe6aTa Ha ra3OBn rOtBapckn ypeDi cIb3daBa ropeuHa n Bnara B CTAraT, B KOrTO ca MOHTnpaHn. KuxhraT a Tp6Ba Da e do6pe npoBeTpena. IpbXTe eCTeCTBeHnte BEHTnlaUHOHn OTBOPn OTBOpeHn INn MOHTpaJte MEXAHNUHO BEHTnlaUHOyCTPOIcTB0 (MexAHnueH a6copbApOp). IpoDbJIxNteJHnata N INHTeh3NBHa ynoTpe6a Ha ypeDa MoKe Da n3nCKa DoIbJIHnTEJHo npoBeTpRaHe, HAnpIMep OTBapReHTo Ha npo3opeu, INn IOHNTH3NBHa BEHTnlaUaY, HAnpIMep YBeJInuAbaHe CTeNEHTa Ha MEXAHNuHn a6copbApOp, aKO nMa TaKbB.
IPEyPPEXJDEHNE: Heo6xoJIMO e da MOHTnPaTe Cta6NJN3aTOP, 3a da IpeIoTbPaTNTe N3KJIIOUBAHe Ha ypeJa. BnKTe INcTpykCUNITE aH cTpaHnca 142 B HAcToATo pBkoBOdCTBO.
1.ОБЦИ YKA3AHЯ
Блардам Ви че n36рахтеш син OT haшптеш рорукт. 3a ha- doбрп рezуптати преловамe:
-Пючete BнмATEHToBa ynbTbaHe 3a pa6Ota:TO cbNbbpKa baxKn nHCTpykUm 3a nHCTaInpaHe, ynoTe6a n cepBn3 Ha neKkaTa 3a rotBeHe. PaoWypata 3a 6bJeuN BnPocn.
BcnyaHa npoaj6a Hn TpaHCBpHa ypeDa,TOBa ynTBAHe Tp8bA da ce npdae3aedHO C ypeDa 3a npabnHOp npedaBaHe Ha INΦopMaunraTa 3a IHCTanaunynotpe6a Ha ypeNa nCbODBeHTNte Yka3aHn.
- BCNUKIN DoCTbHnI Yactn ca ropeuN KOrato ypeDa pa6oTn, BHIMabaIte Da He rN DoKOChTe. Korato BKNIOBATE neyKaTa 3a IIpbBn IbT, MoKe Da ce OTdeJI MInPn3JIN DmM KOIT o 6e3OnaceH
-Пренильные вда оставлесуката заразочи 2 уca паразни.
1.1 CIMBOJIN N3IPOJ3BAHIN B YIbTBAHETO
3a no-JeCHO n3noJI3BaHe npOyTeTe NOrCHeHnETo Ha CmBOnIte n3noJI3BaHN B yNbTBAHeTO.

MEPKI 3A B630PACHOCT
MEPKI 3A OPA3BAHE HA OKOIHATA CPEDA

TO3N UPE D E CbIJIACYBAH C EU E.E.C.INPEKTKBITE

BhImaHHe, Bb3MOxHo e HaKJaHЯHHe.

OrpaHnUHTeJI npOTnB yIap B cTeHaTa.
1.2. CbflACHOCT C DnPEKTHBNTE
Bcnu kn yactn, kOnTO mOrat da BCbIaT B KOHTaKTC xpaHa ca B cbIaChOCT c npabInata Ha EEC DnpeKTuBn 89/109. UpeDa e cbIaCyBaH C Ebponecknte DnpeKTuBn 73/23/EEC, 89/336/EEC n 90/396/EEC, 3amEnHe n c 2006/EC, 2004/108/EC n 2003/55/EC n DonbLnHeHnTa. To3n ypeD e cbIaCyBaH c 93/68 TepaHa DnpeKTuBa NdoBlnHeHra Ta.
1.3. MEPKIN 3A BE3ONACHOCT
- EJektpnueckata Neuka 3a rotBehe Tpr6Ba da ce n3non3Ba caMo 3a ZeIgTa 3a KOrTo e npOn3BedeHa, a NMeHNo: 3a rotBeHe Ha xpaHa. BcKaO n3non3BaHe 3a dpyr n cen, np. KaTo oToPJInteH ypeD e HnPaBnIHn O Kpne pNCK 3a 6eOsnacHOCTTa Bn.
-ПОНЗВОДИТЕЛУН HOCN OTROBOPHOC 3a NOBpeДи пri Нелравилно HENO3BOLEHO И HECbBEcTHO ИЗПОЛЗВАн.
-Прии n3ползвае на To3и урел Тгябва д ce СпаЗВат Няkon Oснobн npabuila. Ако урета ce NOВpeДи ИПи He pa6OTn павилно, ИЗКЛЮчete ro, ИЗkapай Te UePcena OТ КОТаКт, И се obaTe Ha cepВиЗнЯ ueHTbp.
-To3n ypeI He e npedHa3NaueH 3a n3no13BaHe OT Iuca (BkI. Deua) c HamaJIeHa fN3UeCKa, CetNBHa m MeHTaJHa cNoC06HOCT INIHEONITHN, OCBEN aKo He e pOd Haad3Op Ha Iuca OTROBaprui 3a T8xHATA6e3OpacHOCT. - Naɪŋkʌdəte Deuata n He nɔsboJraBæte da cn irpaTc ypeja.
-Φypnata npn paobota ctaba Mhoro ropeua, oco6eNo CTbKnoto Ha Bpaata. He no3BolnaTe deuata da ca B 6bn3ocT do ypeda koroTo e BKJIOUeH.
BnHaHn 3nOJ3BaIe pIbKaBUN, KOraTO BaIe XpaHa OT neKkata.
-Подьрkaи Te ype Da nCT CbO6pa3Ho 6e3Onap Hoc T n 3dpaBOCBHn npuHH. OcTaTbU n ot XpHa n Ma3HNH Moat da npeDn3BnKaT noxap.
-He cnaarTe pKaTa Mekdy fypHaT a I roHaT a Yact Ha neKaTa.
Pase Te deaTa HactpaHn.
-Уверете се чь BCИЧКИ KОПЧЕТа сиЗКЛЮЧЕни КОТо He ИЗПОЛЗВATEураза.
-KeMdxKeTo nOd cypHaTa cIyKx 3a cKlaInpaHe Ha npa3Hn CbdoBe nn Da nOdbpxaTe XpaHaTa TOnJa.
-He cnaarate 3anaBn, ekcnlo3NBn INI npyr MaTePn, KaTo HauJIOHOBn TOP6uKn, xapTnA, dpexn BueKMeDxKeTO.
-ИЗПОЛЗВайтсамоOrHeONOpHn cБДове. He ИЗПОЛЗВайтлесно 3апалIMN BeUcBCTBa.
-Опасно eда поменяte Илида ce onntbaTeда ПоменятExapakТериctNKITEHaурда. - Oco6eHOBHMaHHe HuyKHO KOraTo NbpxKe, He octaBnTe neKaTa 6e3 Na3Op.
- YpeBt e TeKbK. BnMaBaIte, KOraTo ro npenrcaTe.
-OTdJIeHTo Ha ropeu Bb3dyx e HopMaIHO, KOraTO yPeDa pa6oTn. He 3aTbAprrte BEHTnInTe Ha neKata.
He ce npenopbUba n3noJ3BaHe Ha aJaanTepn pa3KIOHNTeJI.
He nbpnaite ka6eIa 3a da n3KJIIOUHTe ypeIa ot KOHTaTa
*He dokocba Te neukata c MOKPN INN BJIaXH N pIe.
*Ako OCHOBnna Ka6eI e NOBpeH Tp6Ba Da ce NODMeHn:
Bb3MOxHO e Da octaHaT Ma3Hn NtHa No ypeDa, KOrATo CnAraTe XpaHa 3a PnIroTBAHe IJN KOrATo NpEmecTBaTe XpaHa C MHOrO TeUHOCT mMa3Hotn. NouchTe OCTaTbCHTe BeDnHa, Da He Cb3DaBaT HEnpIyTHa MInP3Ma IJN da NoJIenHAT NO ypeDa.
-Korato n3non3BaTe eJekTpueeCKn ypei Tp8Ba Da cna3BaTe OCHOBHn npabuHa:
*Korato cmeHare Ka6ena cIeBaiTe INHCTpyKunTe nocouHen noDoJy:
*Смянatable Рразбва Да наразви сл. Тхни К. Използайтсамо OTориран Серви з увеше се, чу слагате оригинални и Нови чаки.
*Ako e HnyxH O npemaxheTe ka6eNa I rO cmeHeTe c H05RRF, H05VVF, H05V2V2-F TnI.
KabelbT mMa KaPauNTeT 3a eIeKTPnueckn TOK HxKeH 3a pa6Ota Ha ypeDa.
He octabaite ypea 6e3 haad3op,dokaTo ce oxlaam.
BHIMAHNE: Ypea n HerOBITE OTkpNTu cactn CTabat ropeu nIO Bpeme Ha ynoTpe6a. PaseTe OT DOKOCBAHe Ha HarpBaunTe enemEnT.
- Deza noid 8 roDHH TpR6Ba da cTOrT dAneU ot ypeDa nn da ca noid noctoHnHO h6nOHeHne.
- Ypeda moke da 6bde n3non3BaH ON Deca HAD 8 roDInn N OT LInca C HamaJeHn F3Nueckn N yMCTBeHN B3MOxHOct N NN C HamaJIeHa peCNTOPHa YyCBtBNTeJIHOCT, CbIoo Taka N OT LInca C JINCA Ha cBOTBTeH ONIT N 3HAHNA, CAMO aKO ca Ha6IIOdaHn NNN HcTpyKTKnPaHn KAK Da n3non3BaT yPeda 6e3onacHo, pa3bpaAkn OnaHOCHTNE CBbp3An cyNOTpe6ata.
-ДeцаТеНтябБдЯИграТСуpeда.
BHIMAHHE:ToTBeHeTO Ha Ma3HNH NInpeKTHO Bbpxy KOTNoHa MOKe Da6bDe OAnCHO M0Ke Da npEdu3BnKa nOxap.
- HNKOHa He ce OIITBaIte Da n3rACnte ORbHc BODa. N3KJIouche Te ypeDa n PokpniTe PnAmbUnte, HApPmEp C KaNaK UIn npOTnBOJOnOJapHO OeJaIO NIN Kbprna.
BHIMAHHE: Onachoct ot npeudn3BnKBaHe Ha noxap: He cbXpaHbAaTe npedMeTn Bbypxy ropeaTa NOBbpxHOCT.
BHIMAHHE: Ako nobbpxhocTt e hanykaHa, n3kJIuOte ypeDa 3a da ce n36berHe onachocTt o TeneKTPnueckn ydap.
- П Врeme на Изпоглбанею hypeда тояста ropeц.ИЗбгваite BCЯКОДOKOCBAнe Ha HargraBaUnTe eIeMeHTN BbB Фурнata.
BHIMAHHE:IOCTbHnHTe yactn MoT Da cTaHt ropeu nI O Bpeme Ha n3noJI3BaHe. Deuata Tpr6Ba Da cToT daJeU OTypea.
-Изпалзвашитемпатугшлпренихи за ташифуна.
- Ppr pa6ota He ce BrIeXdAaTe npOdbJxHtEnHO B xanoreHHnTe JAMNI.
- PNEДУПЕХДECHHE: 3a npeДиЗВане ot HapaняВанe рпс cnlyан HO BKJIQUHBAHe, ypeDa He Tpr6Ba DA ce CBp3Ba C BbHJHo BKJIQUHBAso yCtpoiCTBO, KaTO TaIМep, IJIN Da CE BKJIQUHBA B rpyna, KORTo peRyJnPHO Ce BKJIQUHBAu3KlUOVA.
- INPEДУПЕЖДЕHNE: ДостьнITE част могат да с rapeши ри ИЗПОЛЗВАНЕТо на грпILA. Децata Травба дa StOTЯдалeч OTуразда.

При НеспаЗване на Teзи ИНСТРУКЦИnpОИЗВODИТЕЯ He rapaHTира 6e3OпаСHOCCTTа на урEDA.
1.4 NOJEAHN CbBETN
- BCNUKn KanaU, emaJIpaHn JIN CTbKJIeH NOBbpXHOCTN MoRat Da CE DEMOHTpA73 aNOJIeCHO NOUICTBaHe.
Ako Baunr ypeimama ropeh kanak to e 3a da npednau nIOTa OT npaxdokaTo He n3noJI3BaTe neKkata uJIN 3a 3aunTOn OT n3nBaHe Ha MacNo IO Bpeme Ha rotBeHe
-He n3noI3BaIte kanaKa 3a dpyra ceJ.
BHIMAHHE! (3a moJeTIe CbC CTbkJIeH KanaK) CtbKJIeHn KaNAKoMe Da ce cuynn aKO ce n3naHa Ha npekaJIeHa TOnJIInHa. BnHarnpOBepTe daJI N KOITIOHnTE Ce NCKLIooHn PpeDn Da 3aTBoPHTe KaNaka.
-He n3noI3BaIte DeΦopMpaHn IJIHepaBbNcBIOBe.
-Почисте peшшкata и tabata 3a сбиране Ha Ma3HnHa ПпдппьрOTO ИМ ИЗПОЛЗВАнe.
-Korato n3noI3BaTe cnpeIOBE 3a NOUcTbaHe He npbckaiTe no TepMOCTatau peotaHa.
-Поверета пади радутoberte ввь счрна за павино noctавен.
-3anaTe Ra3OBnTe KOTJHOH IpeDn Da NOcTaBnTe CbDa 3a rotBeHe.
-Повере te KOTJOHnTe ДдлnpaBUNHO pa6OtaT
-He 3aBbAitte yactnte Ha cyphhata C anyMHHeBO foJIno.
2.ИHCTAJINPAHE
Инстларанeto Tрбba DA ce Haprabи OT KBaIINФицарно texHnuecko liue. Пpon3BOdnteЯ Hma 3aJbLjKeHne 3a TOBa. Ako nOMOsa OT npOn3BODnteЯ e 3a OTcaHЯBaHe Ha DepeKtn pIn He npabuJIen MOHTaK TOBa He E BkJIIOyeHO B rap aHcIraTApnMOHTaK cna3BaIte INCTpyKUnTe. HnpabUNHa MoHTaK MOne Da hapuShi 6e3oNaCHOCTTa Ha Xopa, JxIBOTHN i NmUyecTBo. Ppon3BOdnteЯ He HOCN OTROBOPHOCT 3a TOBa.
BHIMAHHE! Tp6Ba Da BHNMaBATE KbIe ige MOHTnpaTe ypeDa. Tp6Ba Da r MOHTnpaTe B NOCTOHHo IPOBE TpRABaUc Ce IomeuHne.I3KnIOUeTe OT KOHTAKTa IpeDi MOHTaxa N IOnpaBAka. IpeDi NoCTabAHe,To Ha ypeDa IPOBePeTe XapakTepnCTNKITE Ha eJN.3axpaHbaHeTO n daJIIN ypeDa e npabNJHO n CbODBeTHO IOCTaBeH.
-Урета He Трава Да Се монтура В бинзов на Лесно заливаши се Матерни (мебели,Завеси и др.)
2.1. MECTOПОЛЖЕНЕ HA YPEДA
-Тябва да Имдостаьунно ВентILAциь в саята заради n3 grapяпуп ра STИ павилно pa6OTeHe на Neчкata.
Bb3dyxbT Tp6Ba Da Habn3a npe3 OTBOpnte 3a Bb3dYx Ha acnpaTopa Ha BbHsHInTe CTeH.


-OTbOpnte 3a Bb3dyx Ha acnnpatopat Tp86Ba Da nma pa6oTna pIooi Hau-MaKo 100 cm² 3a npitok Ha Bb3dyx, 3a ypeDn C o6e3onaceH ypeD 3a Obrh. A 3a anapatnte KOINTO HmAT o6e3onaceH ypeD 3a Obrh TOBa PONe3No poctpaHCTBO Tp86Ba Da 6bDe Hau-MaKo 200 cm² (EDINHua nn MyPTN ckapa MoKe da ce n3POn3Ba)
Emucua Ha u32opehume 2a306e
-3ropeHnte ra3Obe OT roTbeHTo Ha anapaTa Tp6Ba Da ce n3nyckaT dIpuKeTHo Habb nn ype3 Tpb6a Cbpb3aHa c KOMnH. (Chmka 1)
-Ako e HeBb3MOxH0 Da ce nHCTaInpa Tpb6a, B cTeHaT Ta Tpa6Ba Da ca NOCTaBN HeeNEKTPnueckn BeHTnIaTOP 3a N3TeIgIHe Ha Bb3DyXa IIN Da ce OTBOpn IpO3OpEu. (ChIMka 2)
-BeHTnlaTOpbT 3a n3TeTnIHe Ha Bb3dYxa TpI6Ba Da IMa KaNaIuTET 3a npOBeTpRaHe Ha Bb3dYxa 3-5 naTn Ha vac.


Te3n acnnpatopn Tp6Ba da ce KOHCTpyu npaHn TaKa Da He 6bDaT 6n3o Do Dbete cTpaHn n No3nOHHpaHn No-6n3o Do TabaHa. AcnpatopbT He Tp6Ba da ce noCTabr Nae KaHAnTe H3 KOnTO MNHaba N3ropeHnra3 nDmM.
-Ako e HeBb3MOxHO da ce nHCTaJInpa acnnpaTopa 3a BeHTnlaCnna Ha Bb3dUyxa BCTaTg KaDeTo e NocTaBeH anapata, Heo6xoDmNra Bb3dyX MOKe CbIIO Taka da ce cnpoBeTe OcBceDNHaTcTaar KOrTO He e CnAJIHr ININ CTaR KbDETo MOKe Da IpeDn3BVka ONaCHOCT.
2.2. NO3NIZOHINPAHE

UpeBt e npoeKtnpaH c ndeTa, ye CbOTBeTHnTe pa60THN IOBbpxHOCTN HMa Da ca HaD BnCOuHaT a Ha rotBapckaTa IOBbpxHOCT.
2.3. HAFJIACRHE HA KPAUYETATA
BaunbTypeiHa OCHoBaTa Kpaeta KOnto MoarTa da Ce HargnacrT
Kpaayetata Morat Da ce Haflacrt NooJeHNo C nOmoa Ha n3TeTnHe KoEt o rapaHTnpa CbBbPseHNO HnBeJInpaHe Ha neKaTa, Taka Ye TeuHOCTIe BcDObETe Da cXOpN3OHTaJHi.
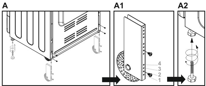
Peaynpaumcce kpaema u konelua



- MakcimajnHa Ta BucOuHa Ha neyKaTa ige 6bJe 868 MM npiФИKcIpaHe Ha npEiHITe KpaHeta 3aIHNTe KOJIeIua Ha 4Ta Dynka.
- 3aДнITE KОЛELIа TРЯБа Да ce ФИКСИрAT Ha 2Тa ДУПКА (СИМКА A1) 3a CTaHДAPТHa BИСоЧина. Тaka CTaHДAPТHaTа BИСоЧина щe 6ьDE 850 MM.
Peaynpaumce cKaepema

2.4. EJEKTPNUECKO CBbP3BAHE
IeKnte 3a roTBeHe MoarTa da ce npOn3BExkDaT c nIe6e3 eJekTpueckn Ka6en.
CbP3BaHTo Ha Ka6ena Tp86Ba Da ce HnpaBn OT Otopn3npaH cepBn3 CneDbaKn CneDnHTe INCTpyKuN:
JaN KanaunTeHa crpaata OTROBAPr Ha KOHCymaunaTa Haype?
Даи eелктуонстадацята e 3a3eMeHa? Baшиг Тдом Тряба ДИma павино 3a3eмяBaHe, пи Лпca Ha takoba Консултуарite ce c Textнik И OTCTpaHete np6nema.Даи контakta спд мотда напechкata e lecho Doctbпeн?
3a da cBbpxTe ypeDa KbM en. MpeKaTa n3noJ3BaIe Ka6en n 1e9cen.
He npenopbuybame n3noJ3BaHe Ha pa3KnOHnTeJI.
3eIeHO-JbTnA Ka6eH He Tpr6Ba Da 6bJe 6JOKuPAn B 6eCenA.Ka4Bbata Xnua e 0a3a (KoDInpAn c"L" Ha neKata) H BnHaRn Tpr6Ba Da e Cbbp3aH C 0a3aTa Ha UeNcena Ka6eBt Tpr6Ba Da ce NoCTaBn Taka Ye Da He 6bJe N3IOXeH Ha TempePaTypa nobucoka ot 50^
Korato eJektpnueckna Ka6eI Tpr6Ba da ce cMeHn,TPra6Ba da ce n3non3Ba cbOTBeTeH Ka6eI CbrraCHO cnlaTa Ha ToKa. 3eJeHOxblTata Knuca Tpr6Ba da 6bJe Hau-MaNko 2 CM no-DbIra OT dpYrnte DBe.
IpoBepete HarpBaTeIne Taka Ye Ie BkIIOHTe 3a 3 MInH. cIeD KaTo Cte CBbPShIJn C INHCTaJInpaHTo.
Използваite ТрьбаТa (2) Даденса anapata 3a пиродангa3 Ипи Индустрисп рponибedingra3.

NeuKa HauJaCeHa 3a LPG
Cbata Tpb6a MoKe da ce n3non3Ba 3a Hndyctpncn npn3BedeH ra3n LPG. Cnoxete Tpb6ata (1) 3a LPG
Hacmpouka u npomraHa ha pa3npbckeaume IpomraHa pa3npbckeaume
-ИЗкарааутpeшеткпт.
-ИЗкайтEkOTЛОнITE.
-Изкарайе раэпьсвачиke kato n3noJ3Bate 7 mm Кнюч, сд.TOBa OTBnHTe correct injector n36paH oT tabenata 2ВCBrJaNCHOT ra3Ta KoYTo ue n3noJ3Bate.
CJIeM MoHTaX Ha HOBInTe pa3npbckBaU cnacBaIte CbIuTE CTbIKN B O6paTeH peI.

HacTpoKa Stand by
-3aBbPTeTe KOHTPOHInTe 6yTOHN 3a KOTJIOHInTe Ha N03nZmaNbK OfBN Hn N3kapaTe.
-Ako npomraHa Na OT MeTaN KbM npoan-6yTaH (LPG), 3aBbptTe B nocoka Ha CTrpeKnTE Ha YacOBnka 3aBbptTe BeHTnJa Ha fnhalHo.
-Ако помяната OT (LPG) пponан-бутан Кьм Метан, 3abpteTeобразно на CTpeЛКITE на.YacOBHnKOT, cБайпас на BeHTиla дOKATO NO-Majko HINBO на ПламьКОТ OCTaHe.
CneHaHJIacHHeTo, BbPHeTe 6yToHInTe O6paTHo.
-Пюовере Таглесяп.TаКУ 6БрЗО 3aВБТИЕ 6уToHa 3a KOTLOHHTE OT MaKcIMyM Ha MInHIMyM. Ako Orьн He ce nI3rACn 3HaUN Ye HAcTPOJkAte e B peД.

- 3a nactpoika ha tepmoctata kanaka i naheia trpa6ba da 6bdaT OTCTpaHEH.

Ta3ObaΦyphna
-Премaxhte задnia Кадak (Фигра 3)
-Ппэрхете Инжекторniaадгтер (фигура 4)
- PIpemaxhHeTe INHKeTOpHTe C NOMOuTa Ha 7 MM raeuehen KJIIOU, cIeJ KOETO NOCTaBeTe TOUHHa INHKeTOp CnopeD TINHa HA I3N0J3BaHaTa ra3(ΦIrpya 5) IN3NoJ3BaIKn Ta6NtAcaTa C BnOBeTe KaterOpnn Ra3 (NocLeJeHNte 3 cTpaHnCn OT To3n HapbYnK).
CneDbaiTe rohpHte CTbNkB o6paTeH peD cNeiHCTaJInpaHToHa HJKeKTopa 3a da npNKJIIOHTe npoceca.
- OTbopa ha Дюза та e 4.5+-0.3 MM 3a приронна ra3 и поганьутан(фигура 6)

qhuaypa 3


qhuaypa 4

quaypa5
phiaypa6
| Котлон | Мин. Дniaмтър(mm) | Мас. Дniaмтър(mm) |
| Голям Котлон | Ø 240 MM | Ø 280 MM |
| Средни - Котлони | Ø 180 MM | Ø 240 MM |
| Малки - Котлони | Ø 120 MM | Ø 180 MM |
| УЛTPA Малки-Котлони | Ø 240 MM | Ø 280 MM |
- BbHnHaTa qact Ha nIaMbKa e no-ropeuca OT bTpeHata qact. Bbpxa Ha nIaMbKa Tp86Ba da DOKOCBa DbHOTo Ha cbIOBete. IIaMbznte, KOITO n3JIN3at N3BbH CbIOBete BOJrT Do n3JINsHa KOHCymaunHa ra3.
- Fa3oBHTe KOTJIOHn 3a pa3JInKa OT eNEKTHUeCKNte He ce HUJDArT O TcBDoBe C paBHNbHa. ПIaMbTuNte DOKOCBaT OCHOBaTa Ha cBDoBeTe pa3PpeDJIeRNI TOJIINHaTa paBHomepHo.
-Почи hyma hykda OT cneuaan3npaHn cbdoBe 3a ra3OBn KOTNOH, cbdoBe n3pa6oTeH N TbHbK MaTePnAn npedeBaT TOJIInHaTa NO-bp3O OT Te3n HapabeHn ONo-PlbTeH MaTePnAn. - Hяков часи наханataMoratда ce 3aToPJIЯТДOKATOdpyrInTe OCTaHATCTUdeHINopaДи HepaBbHomepHOTo pa3npeDeneHne Ha ToPJIiHaTATA NOcCbda.3aTOBaNoCTOaHHOTo pa3bPkBaHe Ha xpaHata nOBvpeMeHa rotBeH e Heo6xOdmoB CcluYaHTe KOraTO cbDoBeTe ca cNoDe6eNoDbHo.
- Ⅲπολ3BaHéTo Ha MHorO MaIKN CbДоBe He e npenopbYuTEnHO. ΜιρOKN CbДоBE C HnCKN CTeHn Ca NO-ПОДXOДЯUZ 3a NO-eΦeKTHBNO 6bP3O rOTBeH E BcpaBHeHne C MaIKNTe NII DJIbIb6OKNte CbDObE.
He moke da ce cbkpaTn BpeMeTo Ha roTBeHe ype3 n3noI3BaHe Ha MaIKn CbDOBe BbypXy roJAM KOITIOH. ToBa Ie DOBeE eINHCTBeHO Do 3aY6a Ha ra3. Bbnpekn TOBa CbD c Kaapan E Bn CnecTn eHeprna BpeMe.
3.2.N3I0JI3BAHE HA EJEKTPNUECKN KOTJIOHNI
BkIIOHETe 6yToHa Ha No3nIzHr Heo6xOdInHa 3a KOTnHa. JAmnata HNdkaTOp 7e Ce BkIuHr N KOTnHa 7e 3aNoUHe Da ce 3aTOnJI. Korato npNKIOHHTe C rTOBHeTe, BbPHeTe 6yToHa Ha "0" No3nIzHr (Fngya 2). He octabaiTe KOJIOHa BkIuChen 6e3 Da nHa cBd Bbpy Hero. BaxKn Ca DNAmETbPa Ha OCHObATA Ha cbDa. MaksmaHnna DNAmETbp Ha OCHObata e14 cm n OCHObata Tp8Ba Da e rJaKa.
OcTabete KOtIHOa Da 3arpee 3a 5 MmN npedn da Noctabnte CbdoBte. N3non3BaIte BnaXHa Kbpna 6e3 npenapat 3a Da nouchnte KOtIHOa. He dpackaIte c HOK n octpr npedmetn. BkIOHete KOtIHOa 3a HAKoJIko cekyHn cIeJ nouchCTbaHeTo 6e3 da cIarate CbD.

| Позиця | Мошист (Вати) | Мошист (Вати) | Оьшениe |
| 0 | 0 | 0 | Off |
| 1 | 100Вт | 135Вт | Греene |
| 2 | 180Вт | 220Вт | Готваене на Ниска TemпераТура |
| 3 | 250Вт | 300Вт | Готваене на Ниска TemпераТура |
| 4 | 500Вт | 850Вт | Готваене, П ecеенe, Варене |
| 5 | 750Вт | 1150Вт | Готваене, П eceенe, Варене |
| 6 | 1000Вт | 1500Вт | Гotваене, П eceенe, Варене |
N36bpaHe Ha CbdoBe 3a rotBeHe
POMHeteYeNo-ROLEMITEcBDOBEIMATNO-ROJMAIPOU3a 3aTOnJIHe.ToBaIeNOMOTHEdrotBNTeNo-6bp3oCno-MaJIKN CbDOBE.BINAHnI3NON3BAuTEcBDOBeCnpABUNHINpONOPUIN3a rotBeHeHaXpaHa.3aDa npEDOTBpATte3arapAHe HeI3NON3BaHTe PpeKaJIeHO MaIKNCbDOBE3aPnIROTBHeHaMaIKO KOnIOueCTBO XpaHa.
I3noJI3BaIte roJIeMn CbIOBe 3a roTBeHe H xpaHa, KOn6acn, N TeUHOCTN.
CbdoBe ckanak ca 3a npednoHTaHne.

qubypa 11

qhuaypa 12
ToBa e n3KJIIOHTeJIHO BaxHOb npn NaCTepuHaPe HxpaHa npn BvCOKN Tempeatypn. He octaBaiTe KOITIOHInTe 6e3 HaI3Op KOrato HarnMaT CbD BbPxy Hero.
PpOBepeTe CbOTBcTBnETo Ha CbDOBeTe CbrrJaCHO cIeHnTE Kpntepnn; CbIOBte Tpr6Ba Da ca TeKKn. Tpr6Ba n3zraNo da NOKpNBat NOBpXHOCTa Ha KOtJHO,MOKe Da ca No-rotEmn Ho He n No-Majkn OChOBata Ha CbDa Tpr6Ba Da e NeeAnHo rJaKa n Da CbOTBcBA Ha KOTJHOHa.
-3a Han-do6po n3no13BaHe ha eNeKtpnueckn KOTIOH n da neCTnte eheprna, n3no13BaIte camo cbdoBe c paBa hOchOba. Pa3mepa Ha cbdoBeTe Tp8Ba Da e NOTuEHaKaBb C rOJeMnHaTa H KOITIOHa.
4.1. CKAPA

EJEKTPNUECKN IPNI: N3noJ3Ba ce CAMO cbc 3aTbopeHa Bpata.
ГАЗОВ ГИЛ: Може да ceизползва пи OTворена Враза, HO Трябва дa NOCTавITE рpoTeКТOP по КСНТРОннЯ панен, кakTo e nOKa3aHo Ha ФИгураза.
Дьржete Вратata Na NeчkaTа OTBOPeHa NIOCTaBeTe NpeДиЗИТЕ Na KOHTpOJIHATA Ta6ena 3a Ra3OBITE KOTLOHn.
·Ha ckapata ce nonyuaba MHoro 6bp30
kafeHnKAB ZBt. B 3aBNCIMoCT OT KOJIuYeCTBOTO XpaHa MoKeJa CMeHInTe POn3nCInTe. POnTn BCEkn BnD XpaHa MoKe Da 6bJe IpiRTOBHeHa NcIeHNHaNuH:
-Mecoto n pmbata konto ige npiroTBaTe Ha cka pa npedbapuTeJIHO nHaamaxkete COnIO.
CJIOKTe Taba IOd ckapata 3a cb6bupaHe Ha Ma3HnHa, CInTe BOda 3a da n36eRheTe HnpeTHa Mnpu3Ma u 3arapAne.
-Čkapata e noДхODЯша 3a rotBeHe Ha napYeTa MECO,ПрIMeRHO CTekOBe, KOnTO He ca npeKaJIeHo TBHKn,ПиЛeTe, рИБа,няКоN BnIOBe 3eIeHcyu. (Пр Лук, ДOMaT, пATлaДжан Идр.) 3 a eДно C Mecoи рИБа. Habaxete рИБаТСОп NOВРЕМЕ HA rotBeHTo.
-PactoHneTo OT ckapata 3aBnCOn OT de6eHHata Ha MeCOTO nPb6ata.Ako pactoHneTo e npabnHIO, NOBbpxHOCTa Hma Da N3ropn a BtpeuHocTt ue 6bJe npabuHNO n3neheHa.
-MoKe Da non3BaTe cKaPaTa 3a TocToBe, 3a NeueHe Ha XJIb6 n CaHDbuN KAKTo N 3a HJKOn PINOObE (BaHaHn, rpeiNppyt, aHaHac, JbIKN). PINOObETe He Tpr6Ba Da ca B KOHTaKT C HaprTaTata Yact.

Hnkora He nocTaBaIte anymnHeBO oJIno no BbTpseHaTaNbpyHocHa cyphata.AkymyInpaHaT aTOpHaMoKe Da HABpeN Ha cyphata Nln Ha xpaHaT.

Iokato fynkunnte Ha cyphata ce n3nbJHBaT,ropHaTa yacthanlnoataatp6Ba da 6bJeotBopeHo noJIOxHne
4.2. EJEKTPNUECKA ПECHKA
| Позица | Функции на песьатуа |
| F | Функции |
| °C | Temпегатура |
| ♀ | Врeme 3a Говеи |
| ○ | He e Вьв Функции |
| ←→ | Вклочete наgreватора на скагатуа |
| ♀ | Ламма |
| ♀ | Harpebaел на скагатуа |
| ♀ | Harpebaел на скага и вентilatedTop |
| ♀ | ВentilatedTop |
| ♀ | Еlementот на горно ггейеи |
| ♀ | Еlementот на долно ггейеи и вентilatedTop |
| ♀ | Еlementот на долно и горно ггейеи и вентilatedTop |
| ♀ | Еlementот на долно и горно ггейеи |
| ♀ | Еlementот на горно ггейеи |
| ♀ | Еlementот на долно ггейеи |
| ♀ | Рыно |
| PIZZA | Пица |
4.3.ENEKTPNUECKA PECHKA INPEДNOXEHNY 3A IOTBEHE
Tpaduuzuaohn0zombene
ToJInHaTc ce reHepupa od rOpHnTe n DoHNHe HarpeBaTeJI. OCHOBHO c npenopbUba cpeHnra paft. B cnuyaJe NCKaTe rOpHaTa IIN DoHNATA NOBpXoCT Da ce roTBn PO Dblro CNoKeTe Ha rOpHnI INI DoHNRA paft.
KoHBeHcUOHaNo 20mBHe (cmonbJ8b3dyx)
-Xpahata ce roTbn C ropeu Bb3dyx KoITo dyxa BbB cyphata c nOMOa Ha BeHTnlaTOP NOCTaBEH Ha BbTpEwHaTa CTeHa Ha neKaTA. Bb3MOxHO e Da rotBNTe NOBcye JCTN EHNOBPeMeHHo NOCTaBeHn Ha pa3JIuHnTE paTOBe 6IarOdapeHne Ha TOnIIra Bb3dyx BBb cyphata.
To3n TIN pypna e noDxOJaN 3a pa3Mp3raBaHe Ha xpaHa. Cbto Taka MoKe Da Ce N3noTBA 3a KOHceBpuAne, CyueHe Ha IIOdoBe I _ n
4.4. TOTBEHE HA ПИЦА

ЛеснаИнструкция