CCG6503PW - Fogão CANDY - Manual de utilização gratuito
Encontre gratuitamente o manual do aparelho CCG6503PW CANDY em formato PDF.
Questions des utilisateurs sur CCG6503PW CANDY
0 question sur cet appareil. Repondez a celles que vous connaissez ou posez la votre.
Poser une nouvelle question sur cet appareil
Baixe as instruções para o seu Fogão em formato PDF gratuitamente! Encontre o seu manual CCG6503PW - CANDY e retome o controlo do seu dispositivo eletrónico. Nesta página estão publicados todos os documentos necessários para a utilização do seu dispositivo. CCG6503PW da marca CANDY.
MANUAL DE UTILIZADOR CCG6503PW CANDY
Instruções De Segurarca 61
1. Consideracoes Gerais 62
1.1. Simbolos Usados Neste Manual Do Utilizador 62
1.2.Declaracao De Conformidade 62
1.3.Sugestoes De Seguranca 62
1.4.Sugestoes Uteis.. 62
2.Instalacao 63
2.1.Ambiente Onde O Equipamento Deve Ser Colorado 63
2.2. Posicionamento 63
2.3.Ajuste Dos Pés 63
2.4.Ligaçao Eléctrica 64
2.5.Fogoes Com Cabo Elcctrico 64
2.6.Ligaço Do Gás 64
2.7. Conversao Para Diferentes Tipos De Gás 65
2.8. Dimensoes Do Equipamento 65
2.9. Aspecto Geral E Definicao Do Equipamento 65
3. Utilizar Queimadores 66
3.1. Utilizar Queimadores A Gás 66
3.2. Utilização De Placas Eléctricas 67
4. Utilização Do Forno 68
4.1.Grelhar. 68
4.2.Forno Eléctrico 68
4.3.Forno Elctrico Sugestoes Para Cozinhoar 68
4.4.Cozinhoar Pizza 68
4.5.Cozinho Balos 68
4.6.Cozinhoar Carnes 68
4.7.Cozinhoar Peixe 68
4.8. Cozinhoar com Espeto Rotativo 69
4.9. Utilização Do Conta Minutos 69
4.10. Utilização Do Programador De Fim De Cozedura 69
4.11.FornoAGas 69
4.12. Utilização Do Programador Eletróico 69
4.13. Tabelas De Cozinhados 70
5. Limpeza E Manutenção 71
5.1. Forno Catalitico Com Auto-limpeza 71
6. Centro De Assistencia E Detecao De Problemas 71
7. Proteção Do Ambiente 71
OJABJEHNE
RU
IpaBnla TexHnKn Be3onacHOCTn. 72
1.Obuue CBeDeHn73
1.1.CmB0JIbI,HcnoJIb3yEmIe B DaHHom PyKOBODCTBe. 73
1.2.DeknapauncooTBeCTBn73
1.3.MepbIpeoctopoxhoctn 73
1.4.IoJIe3HbIe CoBeTbI 74
2.YctaHOBka 74
2.1.ПOMESEHNE,BKOTOPOMYCTaHaBnBaetcIITa. 74
2.2.Pa3meHne 74
2.3.PerynipoBbKa BbICOTb HOKeK 75
2.4.ПоdkноченkeКЗпкtrpoceTn 75
2.5.IIITbI,IOCTaBnReMbIe Be3 Ka6eIaTAnHra 75
2.6.Подсоедине Га.. 75
2.7.IpehexoHaIpyrueTnblFaza 76
2.8.Pa3MepblI.. 77
2.9.ObuBnIbN KOMnoHEnTbI PJIHTbI 77
3.ИспльзованеКонфорok 78
3.1. IcnoIb3OBAHnE Ra3OBbIX KoHΦopOK, PaCnoIoxeHHbIX CBepxHa PIInte ....78
3.2.ИспοльзоваимеЗелкгчеснПлитOK,PacnoLOженьхСверхуHaПлпTe.79
4.ИспобьзованеДуховки... 79
4.1.PnirroTOBJIeHnePiuHaTpIe 79
4.2.Pyka YnpaBHeHnaJIeKtpnueckoI dyXOBKn.. 80
4.3.COBetbOTHOCHTeBHO PpHrTOBHeHnI Piu.. 80
4.4.Пригоровене Пиць ..... 80
4.5.IpurotoBHeHne KeKcoB I NipoXhbx.. 80
4.6.PniroToBneHne Mca 80
4.7.IpriroToBnIeHnePbI6bl 80
4.8.ПригоровскиеHaBepTele 80
4.9.IcnoIb3OBAHne TaMepa 80
4.10.IcnoIb3ObaHne TaIeMepa OkoHuaHna BpeMeHn PnpiroTOBHeHn8...81
4.11.ГазоваяДуховka 81
4.12.ИспобьогиЕЗлкронногIporpaMaTopa 81
4.13. Ta6nla PeXmOB PpIrToBJIeHnI Piu.. 82
5. Ynctka N OcbnykBaHne 83
5.1.DyXOBKa C KataJIInTnueckm CamooOnuOOnMcI ToKpbHTneM 83
6. HaxoXdHne N UcTpaHHe HeNCpabHocTe, CepBnchbIeHTp....83
7.Oxpana Okpykaioe Cpebl 83
SPIS TRESCI
PL
2.6. COLLEGAMENTO AL GAS
AVISO: Durante a sua'utilisation, tanto o aparecido, como os componentes acessíveis do mesmo ficam muito quentes. Evite sempre tocar nos elementos de aquecimento.
- Mantenha as crianças de com menos de 8 anos afastadas do aparelho, excepto se estiverem a ser supervisionadas por umadulto.
- Este electrodométrico pode ser utilizado por crianças com oito anos ou mais e por pessoas com capacidades fisicas, sensoriais ou mentalais diminuções, ou que não disponham da experiencia e dos conheçimentos necessários, desde que lhes tenham sido dadas instruções sobre a utilização do aparecido por uma pessoa responsavel pela sua segança, ou que outilizem sob sua supervisão.
- Nunca deixe as crianças brincarem com este aparelho.
Crianças sem supervisao nao devem nem limpar, nem manter este aparelho
AVISO: Nunca deixe a plac sem vigilancia sempre que a utilizear para confecionar alimentos com gorduras, caso contrario corre o risco de incendio.
- NUNCA utilizeágua para extinguir um incêndio; deslgue o aparecido e, em seguida, abafe a chama com uma tampa ou uma manta anti-fogo.
- AVISO: Perigo de incência: nunca utilize as superficies de cozedura para arrumar objectos.
- Durante a utilização, o aparecido fica quente. Evite sempre tocar nas resistências instaladas no interior doorno.
- AVISO: O exterior e as partes acessveis podem fazer quentes durante a operacao doorno. Mantenha as crianças preocupas afastadas.
- Nunca utilizeiros abrasivosnem esfregoes de metal para limpar o vidro da porta do forno; se o fazer, o vidro pode ficar riscado e acabar por se partir.
- O[fundo da gaveta pode ficar quente.
- Desligue oorno antes de remover a proteção; conclusão a limpeza, nunca se esqueça de voltar a montar a proteção, de acordo com as instruções.
- Use exclusively a sonda tírmica recomendada para esteorno.
- Nunca utilize umsystema de limpeza a vapor para limpar este aparelho.
- Remova sempre eventuales liquidos derramados da tampa antes de a partir.
- Espere sempre que a placar arrefeça antes de baixar a tampa.
AVISO: Antes de substituir a lampada, e para evitar sofrer choques electricos, certifique-se sempre de que o aparecido está desligado da corrente.
- Se o fogão for colocado sobre uma base,deer a partir das medidas necessarias para fazer que possa escorregar dessa base.
- Um meio para desligar da alimentacao eletrica tendo um disjuntor em todos os pôlos que proporcione desligamento completenessob condições da categoria III de sobrevoltagem, deve ser integrado na instalacao eletrica de fixaçao de acordo com os regulamentos sobre as instalacoes electricas.
- As instruções tém de indentar o tipo de cabo a serutilizando, tendem consideração a temperatura registada na superficie traseira do aparelho.
- Se o cabo de alimentação estiver danificado, tem de ser substituído por um cabo ou Conjunto especial, que pode ser obtido muito do fabricante ou do seu的服务 de assistência técnica.
CUIDADO: Com vista a evaporar perigos resultantes da reposicao acidental do disjuntor temico, este aparecido não pode ser alimentado a partir de um comutador externo como, por exemplo, um temporizador, nem pode ser ligado a um circuito que sera regularamente ligado e desligado pela Empresa abastecadora de electricidade.
- "Este aparecido tem de ser instalado de acordo com as normas e regulamentos em vigor esole pode serutilizzato num local bem ventilado. Leia as instruções antes de instalar ou deutilizar este aparecido."
- "Estas instruções são são validas se o aparecido tiver o símbolo do País. Se o aparecido não tiver o símbolo do País, tem de consulitar as instruções和技术icas, quando entrainá as instruções necessarias para modifier o aparecido de modo a ficar em conformidade com as condições de utilizesçao no País".
- "antes de proceder à instalação, certificque-se sempre de que o aparecido está regulado para as condições de distribuição locais ( tipo e pressão do gás)";
- "as regulações a realizar neste aparecido está指示ando na etiqueta (ou na placar de CHARACTERisticas)";
- "este aparecido não está ligado a um dispositivo de evacuação dos produits da combustão. Este aparecido tem de ser instalado e ligado de acordo com os regulamentos de instalação e ligação em vigor. Deve ser prestada uma atençao muito especial aos requisitos aplicáveis à ventilação".
"Autilização de umorno ou foggao a gás dá azo à produção de calor e de humidade no compartmento em que está instalado. Certifique-se sempre de que a cozinha é bem ventilada: Maintain as aberturas de ventilação natural abertas ou instale um dispositivo mecânico de ventilação (exaustor mecânico). Umautilização intensa prolongada do aparecido pode tornar necessária uma ventilação adicional, como, por exemplo, a abertura de uma janela, ou uma ventilação mais eficaz, augmentando, por exemplo, a velocidade do exaustor".
CUIDADO: quando o grelhador está a ser utilizes, as peças e componentes acessiveis podem ficar quentes. Mantenha as crianças preocupas afastadas.
AVISO: Para fazer a inclinação do equipoamento, devem ser instalados meios de estabilização. Por favor, consulta as instruções na网页 142 destemanual.
1. CONSIDERACões GERAIS
Obrigado por ter escolhido um dos outros produits. Para tirar o melhor parte do seu fogão, recomendamos que:
-
Leia cuidadosamente as notas neste manual: contentagem instruções importantes sobre como instalar,'utilizar e manter este fogão em segurar. Mantenha this folheto num local seguro para fácil referencia futura.
-
Em caso de vendu ou transferência do equipamento, este manual deve ser entrega emAGO com o equipamento para garantir a transferência correcta de informação sobre a instalação/utilização do equipamento e dos avisos relacionados.
-
Quando o fogão é ligado pela primaira vez, pode emitir fumes com cheiro acido este fumo é inofensivo, sugerimos que tenho o fogão ligado durante 2 horas estando vazio.
1.1. SÍMBOLOS USADOS NESTE MANUAL DO UTILIZADOR
Para uma melhor compreensão, os símbolos abaixo são utilizados nestemanualdoutilizador.

Informação de segurarca
Informação sobre Proteçao Ambiental

Estequipmentestamconformidadecomas directivasdaEU E.E.C.
Cuidado, possibidade de se incliner.

Correias anti-queda.
1.2. DECLARATION DE CONFORMIDADE
Todas as peças que podementrar em contacto com utensilios alimentares está em conformidade com as provisões da Directa 89/1 09 da EEC. O equipamento está em conformidade com as Directivas Europeias 73/23/EEC, 89/336/EEC e 90/396/EEC, substituidas por 2006/EC, 2004/1 08/EC e 2003/55/EC, e emendas subsequentes. O equipamento está也是非常 em conformidade com as Directivas Gerais 93/68 e emendas subsequentes.
1.3. SUGESTÖES DE SEGURANÇA
-
O foggão está deu ser usado para a finalidade com que foi conhebido: está deu ser utilizesdo para cozinhar alimentos. Qualquer outras aplicacoes como, por example, meio de aquecimento, é improprieria e este modo perigosa.
-
Os fabricantes não podem ser responsabilizados por qualquer dano provocao pela utilização impropria, Incorrecta ou não razoavel.
- Quando utilizes qualquer equipamento eletrico, deve seguir algumas regras tíbasicas. Se o equipamento avariar ou falhar, deslue-o e deslue que与发展u da corrente, não Ihe toque, contacte a assistencia Tecnica autorizada.
- Utilize sempre luvas para retirar os alimentos doorno.
- Mantenha sempre o seu equipamento limpo, por razões de segurar e de saúde. Gordura e resíduos de alimentos podem causar incéndios.
- Remova sempre eventuales liquidos derramados da tampa antes de a partir.
- Espere sempre que a placar arrefeça antes de baixar a tampa.
- Não insira a sua não entre oorno e as dobradiças superiores. Mantenha as crianças longe.
"CUIDADO: quando o grelhador está a serutilizzato, as peças e componentes acessveis podem ficarquentas. Mantenha ascriancas��enhas afastadas". - Assegure-se que todos os botões está na posicao OFF quando o equipamento não está a serutilrado.
- Agaveta doorno serve para armazenar tabuleiros vazios ou para manter os alimentos quentes.
- São coloque materiais inflamáveis, explosivos ou de limpeza, tais como sacos de plácico, papel, esfregões, etc. na gaveta.
-
Utilize apenas recipientes e panelas resistentes ao calor. Não utilize materiais inflamáveis.
-
É perigo so modificar ou tentar modificar as propriedades do equipamento.
-
Tenha particular atençao quando frita para nao deleixar o equipamento abandonado.
-
O equipamento é pesado. Tenha dificuldado quando o desloca.
-
A emissão de ar quente é normal quando o equipamento está em等功能amento. Não feche os ventiladores doorno.
-
Podem ocorro algunos salpicos no equipamento quando colocar alimentos no equipamento ou quando ou quando retire alimentos com gordura ou agua em excesso. Limpe estas resíduos imeditamente depuis de cozinho, para fazer odores desagradáveis e possíveis fogos.
-
Reduza a chama ou desligue os bicos antes de retiring as panelas.
AVISO! São produzidos calor e humidade na area one os equipamentos que queimam combustiveis gasosoes sãoutilizados. Deve tomar especial atencao sobre o correto arejamento do ambiente: se a ventilacao natural for inexistente ou insufficiente devestalar uma ventoinha extractor. Se tiver dudas contacte a · Assistencia Autorizada da CANDY para obter aconselhoamento.
-
Quando utilizes qualquer equipamento eletrico deve seguir algumas regras基本情况:
-
Não é geralmente boa ideia'utilizar adaptadores, varías fichas para varías tomadas e extensoes electricas.
*Ñão puxe pelo cabo para tirar a ficha da tomada.
*Não toque noorno com mãos ou pés molhados ou humidos.
*Se o cabo estiver danificado, deve ser substituído imeditamente
*Quando substitui o cabo, siga as instruções abaixo:
*A substituição do cabo deve ser efectuada por tecnicos提供优质os. Utilize aspenas um centro de assistencia aprovado para reparacoes e assegure-se que são realizadas aspenas peças originais.
*Quando for necessário, remove o cabo de alimentação e substitua-o por um do tipo H05RR-F, H05VVF e H05V2V2-F. O cabo tem a capacidade de corrente eletrica necessária para o produit.
-
Verifique periodicamente o tubo flexivel de gás.
-
O tudo de entrada de gás devem ser mantido longe das partes quentes do forno e não deve estar em contacto com o forno. Pode mover o conector de entrada de gás para a esquerda ou para a direita do forno. Depoisessa modifica, verifique a existência de possíveis fugas de gás com uma sabonária.
-
Depois de ligar o tubo de gás ao conector, aperte-ofirmamente com una bracadeira. Tenha particular atençao com as fugas de gás: verifique com uma sabonária.
-
São abandone o equipoamento antes de arrefecer.

Se as instruções acima não foram cumpridas, o fabricante não pode garantir a segança do cozinheiro.
1.4. SUGESTÖES UTEIS
- Todas as tampas e superficies de esmalte ou de vidro podem ser desmontadas para facilitar a limpeza.
- Se o seu equipamento tem uma tampa superior, está desenhada para proteger o fogão contra poeiras quando não está a funciona ou para evitar os salpicos durante o cozinho.
- São utilize a tampa para outras finalidades.
ATENÇAO! (Para modelos com tampa de vidro) A tampa de vidro pode partir-se se for exposta a um aquecimento excessivo. Verifique sempre que os bicos estão desligados antes de fechar a tampa. - São utilize panelas deformadas ou desequilibradas.
- Limpecretuidosamente o grelhador e o tabuleiro de recolha de gordura antes dautilização inicial.
- Quando utilizes sprays de limpeza, não borrife sobre os aquecedores nem sobre o termóstato.
- Certifique-se que as prateleiras doorno está colocadascorrectamente.
Ligue o bico antes de colocar o recipiente por cima para acelerar a ignicao. - Verifique se o bico tem uma chama normal.
- São tape partes doorno com folha de-alúnio.
2. INSTALLAÇAO
-
A instalação tem de ser effectuada por pessoal qualificado. O fabricante não tem urgência de aeffectuar. Se o service do assistência do fabricante for的需求ário para rectificar falhas emergentes da instalação Incorrecta, esta assistência não se encontrar ao abrigo da garantia.
-
Devem ser seguidas as instruções de instalação para pessoal profissional qualificado. A instalação Incorrecta pode fazer danos ou ferimentos em pessoas, animais ourens. O fabricante não pode ser responsabilizando por eles danos ou ferimentos.
AVISO! Deve ter cuidado sobre o local onde o equipamento é colocado! Só pode ser instalado numa sala continuamente ventilada. -As ligações electricas devem ser sempre desligadas antes de qualquer reparacao, instalacao ou 修改ação.
"Autilização de umorno ou fogo a gás da azo à produção de calor e de humidade no compartmento em que está instalado. Certifique-se sempre de que a cozinha é bem ventilada: mantenha as aberturas de ventilação natural abertas ou instale um dispositivo mecânico de ventilação (exaustor mecânico). Umautilização intensa prolongada do aparelho pode tornar necessáriaumaventilaçãoadicondional,como,porexample,aaberturade uma janela,ouumaventilaçãomais eficaz,aumentando,porexample,a velocidade do exaustor".
- Antes de positional o seu equipoamento, verifie as propriedades do fornecimento de energia (tipoe gas, pressao do gas) e certifique-se que o seu equipoamento está regulado em conformidade.
- Este equipamento não deve ser ligado ao Sistema de exaustão de qualquer equipamento que funciona com除外 combustível.
- O equipamento não deve ser instalado perto de materiais inflamáveis (por example mobiliário, cortinas, etc.)
- Se o fogão for colocado sobre uma base,deeráayar todas as medidas necessarias para fazer que possa escorregar dessa base.
-
Estas grelhas devem ser construudas de modo a não poderem ser fechadas de nenhum dos lados e devem ser posicionadas de preferência perto do chão. As grelhas não devem ser colocadas ao longo dos canais através dos quais passam os gases de combustão e os fumos de exaustão.
-
Se for impossível instalar ventoinhas de ar com grehas na sala onde o equipamento está instalado, orar necessario pode ser fornecido)?sem a partir de uma salaAdjacente,deso que nao sera um quarto de dormir ou uma sala onde a corrente de ar pode causar perigo.
2.2. POSICIONAMENTO

O equipamento foi concebido na suposição de que as bancadas de trabalho adjacente não serao mais altas do que a superficie superior do fogão.
2.3.AJUSTEDOSPES
2.1.AMBIENTE ONDE O EQUIPAMENTO DEVE SER COLOCADO
- O equipamento não deve ser colocado numa base
- Deve existir ventilação de ar natural suficiente na sala para que a combustão do gás do equipoamento funciona correctamente.
- O fluxo de ar deve entrada através de ventiladores de ar com grelhas nas paredes exterioriores.


- As grehas de ar devem ter uma�� transversal 100 cm2 para a passagem de ar e para equipamentos com um dispositivo de seguranca de chama. Em equipamentos sem dispositivo de seguranca de chama, esta�� transversal delve ter 200 cm2. (Pode ser usada uma ou mais grehas)
Emissão de Gases da Combustão
- Os gases de combustão dos fogões devem ser libertados directamente para o exterior ou atraves de um tubo de proteção ligado a uma chamé ou um escape (Figura 1)
- Se for imposível instalar um tubo de proteção, deve ser instalada uma ventoinha electrica de extracção numa parede ou janela comagemação para o exterior (Figura 2)
- As ventoinhas de extracao devem ter uma capacidade de renovacao do ar da cozinha de 3-5 vezes por hora.


Pés ajustáveis erodas

A


B

C
- O seu aparelho possui pés ajustáveis nos cantos inferiores do seu chassi.
- A alta maxima do fógão sera de 868mm, fixando os pés ajustáveis frontais e colocando as rodas traseiras no 4^ buraco.
- Os pés podem ser ajustados individualmente com o auxilio de uma chave para garantir que oorno está perfeitamente equilibrado e nivelado, para que todos os liquidos e panelas estejam na posão horizontal.
- As rodas traseiras devem ser fixadas no 2^ buraco 2 (A1oto), alta padrão. Assim, a ALTERA padrão está de 850 mm.
Pés ajustáveis

2.4. LIGAÇAO ELECTRICA
- Os fogões podem serpresentados com ou sem cabo de energia. A ligaçao do cabo deve ser efectuada pelo service Autorização de acordo com as instruções seguides.
- A ligação eletrica deve ser efectuada de acordo com as normas e regulamentos em vigor. Antes de efectuar a ligação eletrica, verifique o segunte:
- A capacidade das ligações eletricas e os fusíveis de segurarça do edificio são suficientes para suportar a cargo do equipamento? (Verifique a informação das etiquetas autocolantes)
- A LINHA DE FONcimento eletrico tem uma ligaçao à terra de acordo com as normas em vigor? Deve existir uma ligaçao à terra apropriada na sua casa. Se não existir uma ligaçao à terra apropriada na sua casa, peça a um técnico especializzato que resolves this problema.
- A tomada ou o interruptor multipolar está num local fácilmente alcancável(before o instalação do equipamento?
-
Deve ser ligada uma ficha de acordo com as normas ao cabo de alimentacao e o cabo deve ser inserido numa tomada segura.
-
Deve ser utilizo um interruptor multipolar entre o equipamento e a LINHA ELECTrica se for necessaria uma ligation elettrica direta ao equipamento. (Deve estar em conformidade com as normas e delve ser apropriadoparaacarga)
- O fio de terra verde-amarelo não deve ser interrompido por um interruptor. O cabo de fase castanho (do conector codificado com "L" noorno) deve ser sempre ligado à fase da LINHA principal.
- A LINHA DE ALIMENTacao deve ser posicionada de modo a que não fique exposta a temperatasuras superiores a 50^ C.
- Quando o cabo de alimentação tiver de ser mudado, deve ser realizado um cabo com uma coisa transversal apropriadna para a entrega指示。
O cabo de terra verde-amarelo deve ser maior coisa de 2cm do que os cabos de fase e neutro. - Verifique os aquecções ligando-os durante 3 minutos, depuis de ter conclusão a ligação.
-
O fabricante não aceitará responsabilité por danos emergentes devido à não conformidade com normas de segurarca
-
Se um equipamento não estiver equipado com um cabo de alimentação e uma ficha, ou com outros meiros para desligar da alimentação, precisa de umaSeparateda de contacto em todos os pôlos que permit a desconhecao total em condições de sobretensao de categoria III, e as instruções devem indicar que devem ser incorpados meios para desligar na cablagem fixa de acordo com os regulamentos de ligação.
2.5. FOGÖES COM CABO ELECTRICO
- Aligação é exclusivamente realizada com tensões de 220-240V Entre fases ou entre fases e neutro.

A eventual substituição do cabo de alimentação deve ser efectuada por um Serviço de Assitência Pós-Venda ou por um Engenheiro acordado, o cabo de alimentação deve ter caracteristicas similares ao original
Normas/Secções de Cabo de Alimentação:
| Potência nominal (kW) | Tensão Nominal (V) | Corrente Nominal (A) | Cabo de Alimentação |
| 2.3 kW | 220 - 240 V | 9.1 A | 3 x 1.0 mm² |
| 3.5 kW | 220 - 240 V | 15.9 A | 3 x 1.5 mm² |
| 4.0 kW | 220 - 240 V | 18.2 A | 3 x 2.5 mm² |
2.6. LIGAÇAO DO GÁS
- O gás deve ser ligado ao equipamento de acordo com as normas e provisões em vigor.
- Quando o equipamento sai de fabrica, está regulado para o tipo de gás indicado na etiqueta autocolante perto da admissão de gás na parte deTRS do equipamento.
- Certifique-se que está a usar o gás indicado na etiqueta. Se for um tipo de gás diferente, sina as instruções no capítulo sobre a conversão para temas de gás différents.
- Certifique-se que a pressão de fornecimento de gás é a dada na tabela abaixo para encontrar a maior eficiência e o menor consumo. Se a pressão de gás for分娩e, deve ser uso um regulator de gás apropriadna admissão de gás. É permitida a Utilização de um regulator de gás em conformidade com as normas de LPG.
- Certifique-se que a pressão de abastecimento de gás é o que consta naabela de categoria do tipo de gás, (nas ultimas 3 páginas das instruções do'utilizar), a fim de alcantar a maior eficiência e menor consumo. Se a pressão do gás for分娩e, deve serutilizando um regulator adequado na entrada de gás. Autilização de um regulator de gás deve estar em conformidade com as normas permitidas para o GPL.
Ligaçao com um Tubo de Metal Rígido ou Flexivel
- O fornecimento de gás pode ser ligado por um tipo de aço flexível apropriadó de acordo com as normas de segurarca em vigor. Neste caso, não existária necessidade de deslocar o equipamento. O conector de admissão de gás do equipamento é 1/2.
Ligaçao com um Tubo Flexivel não-metálico
- Se a ligação de gás estiver numa posicao onde possa ser ligado e desligado sempre que necessário, pode ser uso um tubo flexivel em conformidade com as normas em vigor. O tubo flexivel deve ser fixado firmamente com uma braçadeira.
- O tubo flexivel pode ser ligado do segunte modo:
- Dado que o tubo flexivel irá ser colocado por detrás doorno, não deve ser exposto a temperatas superfiores a 30^ em qualquer punto.
- O comprimento não deve ser superior a 150 cm.
- Não delve estar exposto a vapor.
- Não são permitidas dobras, curvas ou tensão.
- Deve ser protegido contra objectos apiados ou cortantes.
- Deve estar acessvel para permitir inspecções periodicas.
- O tubo flexivel deve ser verificado do modo seguido para conservar a sua protecao ao longo do tempo:
- Verifique se não existem rachas, cortes ou pontos queimados nas extremidades do tubo.
- O material deve manter a sua flexibilidade. Não é permitida uma rigidez excessiva.
- Não deve existir ferrugem nas braçadeiras.
- Deve ser substituído nunca(before de 5 anos de'utilisation.



Verifique todas as ligações em relacion a fugas com uma sabonária(before de conclusir a instalação. Não use uma chama para ver as fugas de gás.
2.7. CONVERSÉO PARA DIFERENTES TIPOS DE GÁS
Para os fogões abaixo indicados, os ajustes tem de ser efectuados por um técnico qualificado.
Siga os passos indicados abaixo para converter o equipamento da configuração de fábrica para um tipo diferente de gás.
Os fogões são ajustados como NG e o tipo de ligação é cilindrico (1). Para uma ligação com mangueira do tipo NG, o adaptor da mangueira (2) pode ser fixado ao adaptor cilindrico com vedante.
Para a ligação LPG, o adaptor da mangueira LPG (3) pode ser fixado ao adaptor cilindrico com vedante.

Ajustes e alteracao de injectores Alteracao de Injectores
- Remova as grelhas.
- Remova os espalhadores dos queimadores e os queimadores.
-Remova os injectoresutilizandouma chave de 7mm eaparafuse depos o injector correcto
- Siga os passos acima pela ordem inversa(before de conclusir a montagem do novo injector.
Ajuste standby
Ajuste standby para fogões sem dispositivos de segança e com dispositivos de segança e botão de igniação
- Rode o botão de controlo do queimador para a posicao da chama mais很小 e remove o botão.
- Se for necessária a conversão de gás natural para LPG, rode o parafuso bypass das valvulas de gás no sentido dos ponteiros do relógio com uma chave de parafusos às sua posção final.
-
Se for necessária a conversão de LPG para gás natural, rode o parafuso bypass das valvulas de gás no sentido oposto ao dos ponteiros do relógios com uma chave de parafusos às obter a menor chama possível.
-
Depois de conclusir o ajuste, insira os botões de novo.
-
Verifique o ajuste rodando rapidamente o botão de controlo do queimador do maior para o minimo. Se a chama não se apagar, significa que o ajuste está correto.
- Para dispositivos de segurança, a configuração de chama estável pode ser feita com o parafuso no corpo da valvula. Se existir ignicao no botão para a configuração de chama estável, a tampa superior e o painel tem de ser removidos.
- Para a definição de chama estável da valvula com termosto, a tampa superior e o painel tem de ser removidos.



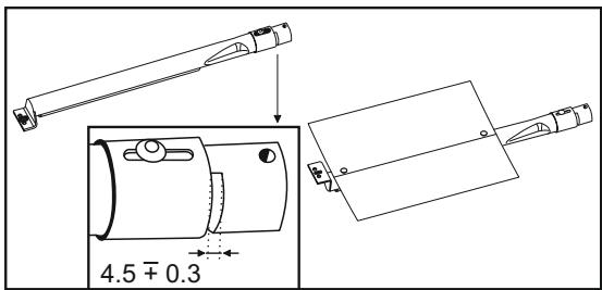
Forno a Gás
- Remova a cobertura traseira (Figura 3)
- Remova o adaptordo injector (Figura 4)
- Remova os injectores'utilizando uma chave de 7 mm, e aparafuse depuis o injector correto selecionado naanela de categorias de tipo de gás (últimas 3 páginasneste manual de utilizesd) de acordo com o gás a serutilrado. (Figura 5)
-
Siga os passos acima pela ordem inversa(before de conclusir a montagem do novo injector.
-
A abertura do queimador é 4,5+ 0,3 mm para NG e LPG (Figura 6)

Figura 3


Figura 3

Figura 5

Figura 6
2.8. DIMENSOES DO EQUIPAMENTO
| 50 x 60 | 60 x 60 | |
| Altura (mm) | 863 | 850 |
| Largura(mm) | 510 | 598-600 |
| Prof. (mm) | 600 | 600 |

2.9. ASPECTO GERAL E DEFINIÇÃO DO EQUIPAMENTO
Este Manual do Utilizador for desenhado como guia para various modelos. Algumas propriedades mentionadas在此 manual podem não existir no seu equipamento.
1- Topo do fogão
2-Painel de controlo
3-Gaveta
4- Porta doorno(frontal)
5-Tampa metálica ou de vidro
6- Queimador auxiliar
7- Queimadores rapiados (semi-rapiados)
8- Queimadores ultra-rápidos (Rápidos)
9- Queimadores semi-rápidos
10-Grelha esquerda
11-Grelha direita
12-Botoes de controlo dos queimadores
13- Botão do termóstato doorno
14- Botão de igniação ou botão do ventilador
15- Botão da lampada
16- Botão do temporizador
17-Rodas
18-Pes roscados

1- Topo do fogão
2-Painel de controlo
3-Gaveta
4- Porta doorno (frontal)
5-Tampa metálica ou de vidro
6- Queimador auxiliar
7- Queimadores rapiados (semi-rapiados)
8- Queimadores ultra-rápidos (Rápidos)
9- Placa electrica
10-Grelha esquerda
11-Grelha direita
12-Botoes de controdo dos queimadores
13- Botão de controlo da placá eletrica
14- Botão do termóstato doorno
15- Botão de igniação ou botão do ventilador
16-Lampada de sinal
17-Rodas
18-Pes roscados

1- Topo do fogão
2-Painel de controlo
3-Gaveta
4- Porta doorno (frontal)
5-Tampa metálica ou de vidro
6- Queimador auxiliar
7- Queimadores rapiados (Semi-rapiidos)
8- Queimadores ultra-rápidos (rápidos)
9- Queimadores semi-rápidos
10-Grelha direita
11-Botoes de controlo dos
12- queimadores
13- Botão do termóstato doorno
14- Botão de igniação ou botão do ventilador
15- Botão da lampada

1- Topo do fogão
2-Painel de controlo
3-Gaveta
4- Porta doorno (frontal)
5-Tampa metalica ou de vidro
6- Placa electrica
7- Placa electrica
8-Botao de controlo da placaréctrica
9- Botão do termóstato do forno
10-Lampada de sinal

REMOÇÃO E LIMPEZA DAS GRELHAS LATERAIS
1 - Retire as grelhas de metal puxando-as na direcção indicaçaWhile, the seta is already in the center of the room.
2 - Limpe as grelhas, lavando-as na máquina de lavar loça ou com uma esponja molhada, secando posteriormente.
3 - Após o processo de limpeza, instale as grelhas, fazendo o movimento no sentido inverno.

Os botões que controlam os queimadores está localizados no poinel de controlo.

Figura 7
Posicao Off
Quando o botão é rodado de modo a que o 'ponto' aponte para o painei, encontrar-se na posicao Off e a valvula de gás está fechada e a chama apaga.
Fluxo Maximo de Gás
Prima o botão do queimador e rode-o para a esquerda até que o 'ponto' aponte para o símbolo da chama.
A chama está no máximo esta posicao. Nesta posicao a valvula de gás está Completely aberta.
Fluxo Minimo de Gás
A chama pode ser diminuía rodando o botão para que o 'ponto' aponte para o símbolo da chamarens. A valvula está parcialmente aberta e o queimador está baixo

A-Tampa do Queimador
B - Queimador
C - Eléctrodo
D - Injector ( Jet )
E Corpo do queimador
F Dispositivo de segurarca
Ignião dos Queimadores
Queimadores a Gás
O queimador tem de ser aceso antes de colocar um recipiente.
Nos modelos com ignião automática, deve ser premido o botão com a 'faisca'. Prima o botão que controla o queimador que pretende acender e rode-o para a esquerda até ao símbolo da chama grande. Prima o botão de ignião. Em modelos com ignião atraves dos botões, prima e rode o botão que controla o queimador que pretende acender até ao símbolo da estrela; o eletrodo sera aktivado automaticamente. Todos os eletrodos são activados automaticamente e o queimador para o qual o gás é fornecido (relacionado com o botão que é premido) acenderá.
Queimadores a Gás do Forno
Não delve manter premido o botão durante mais do que 15 segundos. Se o queimador não acender(before de 15 segundos, solte o botão e abra a porta do compartmento e/ou aguarde pelo menos 1 minuto antes de tentar de novo. Nos outros modelos o gás é acaso atraves dos botões de controlo.

Figura 8
Assegure-se que o gás está realmente après esta etapa. Se não houver chama, repita o procedimento.
Depois da ignicao, ajuste a chama para o tamanho pretendido.
Igniãomanual(seaelectricidadenãoestiverdisponível)
- Segure numa chama (um fósforo ou um isqueiro manual a gás) jusqu'à do queimador.
AVISO! Aguarde 1 minuto entre dias tentativas de ignicao.
- Prima e rode o botão do queimador que pretende acender às vezes comigo. Se o queimado não acender às vezes comigo, meus ossos me lembram para alegre. quando o queimador estiver aceso, ajuste a chama para o nível pretendido.
- Se o queimador não acender(before de varías tentativas, verifique a posicao correcta do queimador e da sua cobertura.
- Rodo o botão no sentido dos ponteiros do relógio para a posicao "O" para fechar o fluxo de gás. Se o queimador apagar acidentalmente, aquearde pelo menos um minuto antes de o tentar acender de novo.
- Alguns fogoês tem um dispositalo de segurarca da chama (consulte a figura acima, dispositivo de segurarca F). Se a chama apagar, o fornecimento de gás é cortado automaticamente
Diámetros minimo e maior das bases dos recipientes:
| Queimador | Diàmetro min.[mm] | Diàmetro máximo.[mm] |
| Queimador Grande | Ø 240 mm | Ø 280 mm |
| Queimador Médio | Ø 180 mm | Ø 240 mm |
| Queimador Pequeno | Ø 120 mm | Ø 180 mm |
| Queimador ultra-rápidos | Ø 240 mm | Ø 280 mm |
- A superficie exterior da chama está mais quente do que a parte interior. As pontas das chamas devemtocar no fundo do recipiente. As chamas que saem de fora do recipiente poder causar umconsumo desnecessario de gás.
- Os queimadores de gás, ao contrário dasplacedes electricas, não precisam de recipiententes de fundo liso. As chamas tocam na base do recipientente conducindo completeness o calor.
- Embora não exista necessidade de recipientes especials para queimadores a gás, os recipientes feitos de material fino conduczem o calor mais depressa do que os de material mai grosso.
- Alguns alimentos podem ser aquecidos quando outros ficam frios devido à distribuição irregular do calor debaixo do recipiente. Deste modo, é necessário mexer continuamente os alimentos cozinhados no caso de recipientes com fundo fino. O calor é distribuído de muitas mais eficaz e uniforme com recipientes mais grossos.
- Autilização de recipientes muito poucoicos não é recomendada. Os recipientes maiores de boa perfeito são mais adequados para encontrar um cozinho mais eficaz e mais rápido do que os recipientes tãocem esfundos.
- Não consigue encURTAR o tempo do cozinhoando utilizeando um recipienté muito sobre um queimador grande. Assim irá apenas desp renderçar gás. No entanto, um recipienté com tampa poupa energia.
3.2. UTILIZAZão DE PLACAS ELECTRICAS
Rode o botão para a posicao da temperatura pretendida da placeléctrica. A luz indicaora da placacende e a placacomea aaquecer.
Quando o cozinhoado terminar, rodo o botão para a posicao " O". (Figura 10). Não deixe a placé electrolytica ligada sem um recipiente sobre ela. O diamétro e a base do recipiente que utilizes são Essentialsais. O diamétro minimo da base do recipiente é de 14 cm e a base delve ser lisa.
Deixe a placá aquecer durante 5 horas antes de colocar o recipienté na primaira vez que a utilizes. Isto irá permitir aquecer o revestimento resistente ao calor da placá endurecido devo ao calor.
Utilize um pano molhado e um detergente para limpas as placas electrolyticas. Não remove resíduos de alimentos da placça com uma faca ou qualquer除外 objecto aguçado.
Ligue a placar durante algunos moments para a secar(before de a limpar. No entanto, nunca deve ficar mais do que algunosMomentos sem um recipiente em cima.

Figura 9

Figura 10
| Posicao | Potência (Watt) | Potência (Watt) | Potência (Watt) | Explicação |
| 0 | 0 | 0 | 0 | Desligado |
| 1 | 100 W | 135 W | 175 W | Aquecer |
| 2 | 180 W | 220 W | 220 W | Cozinhoar a baixa temperatura |
| 3 | 250 W | 300 W | 300 W | Cozinhoar a baixa temperatura |
| 4 | 500 W | 850 W | 850 W | Cozinhoar, Tostar, Ferver |
| 5 | 750 W | 1150 W | 1150 W | Cozinhoar, Tostar, Ferver |
| 6 | 1000 W | 1500 W | 2000 W | Cozinhoar, Tostar, Ferver |
Tenha presente que os recipientes maiores tem superficies de aquecimento maiores. Isto iráaabdar a cozinhar mais depressa os alimentados do que superficies de aquecimento maisPEGUENAS.
Use sempre tamanhos proportionais à quantidade de alimentos a cozinhar. Para fazer salpicos, não utilize recipientes muitoPEGUENOS, especialmente os alimentos que muitos liquidos. Se utilizescerrecipientes muito grandes para alimentos cozinhadosrapidamente, os molhos e os liquidos irao color e os residuos ficarao pegados ao recipientedepos de estar vazio. Os recipientes fechados e os tabuleiros ou formas de cozedura sando sueridos para cozinhar doces. Os salpicos de acucar e sumos de um recipiente aberto podem fazer colados à superficiei e são dificieis de remover.


Figura 11
Figura 12
- Isto é especialmente importante para recipientes realizados para cozinhados tostados ou pressurizados a alta temperatura.
- Não abandone os queimadores sem um recipiente ou com um recipiente vazio.
- Verifique a adequacao dos recipientes dos cozinhados em referencia aois criterios segunte;
- Devem ser pesados.
- Devem cobrir completeness a superficie do queimador; pode ser um peuiores, mas não mais preocupos.
- As bases devem ser Completely lisas e assentar bem na superficie de cozinho.
- Para tirar o melhor parte dasplacedeslectricas e para minimizar oconsumo de energia,devem serutilizadas bases lisas.O tamanho dorecipientedeverpraticamente o mesmo diametro daplaca,eunamcenor.A base do recipiente deve estar seca e devem ser evitados osalpicos.NaoDeveIxdarrecipientesvaziosnasplacas,easplacasnão devem ficar ligadassem umrecipient.
4. UTILIZAZão DO FORNO
4.1. UTILIZAR O GRELHADOR

GRELHADOR ELECTRICO: Utilize APENAS com a porta fechada
GRELHADOR A GÁS: Pode ser utilisé con a porta aberta COM o pailen protetor inserido sob o pailen de controlo, conforme na imagem.
Grelhar da rapidamente aos alimentos um tom castanho enriquecido. Dependendo da quantidade dos alimentos, pode ligar o grelhador
em diferentes posições. Quase todos os alimentos podem ser cozinhados debaixo do
grelhador excepto carne magra e rolos de carne.
A carne e o peixe que vao ser grelhados devem ser untados primeiro com azeite.
Coloque um tabuleiro de recolha liso por boaixo durante o grelhado.
Coloque alguma agua no tabuleiro para fazer cheiros desagradáveis e para fazer o fogo provocado pela gordura.
Grelhar é preferido normalmente para cozinhoar carne como, por exemplo, bifes que não-sejam muito grossos, varías peças de carne, às de caça, peixe, algunos vegetais (por exemplo, courgettes, beringelas, tomates, etc.) em espetadas com carne e peixe.
Unte ligeiramente o peixe antes de o colocar sob o grelhador.
Adicione sal na carne(before de a cozinhar, salgue o peixe antes de o cozinhar.
A distência do grelhador irá depender da grossura da carne ou do peixe. Se a distência for avaliada correctamente, as partes exteriores não se queimam e interior não ficu cru.
Évite odores desagradáveis e fumo provocadosPelos pingos de gordura emolhos deitando 1-2 copos deágua no tabuleiro de recolha de gordura.
Pode también utiliser o grelhador para tostar, torrar pão ou sanduiches, por exemplo, e también para cozinharURTas (bananas, uvas ou fatias de ananas, maças etc.). No entanto, a fruta não deve entrada em contactos com os elementos de aquecimento.

Nunca cobra as paredes interiores ou ouve doorno com folha de alimentio. O calor acumulado por danificar o esmaltado doorno e a sua refeicao.

Enquanto as funções doorno está em execuição, a tampa superior da mesa de trabalho deve estar em posicao de aberto.
4.2. FORNO ELECTRICO
| Posicao | Função do Forno |
| F | Função |
| °C | Temperatura |
| ♀ | Relógio |
| ○ | Sem funcimento |
| ←→ | Ligar o espeto e o grelhador |
| ♂ | Lâmpada |
| … | Resistência do grelhador |
| ♀♀ | Resistência do grelhador e ventoinha |
| ♀♂ | Ventoinha |
| ♀♂ | Elemento superior de aquecimento e ventoinha |
| ♀♀ | Elemento inferior de aquecimento e ventoinha |
| ♀♂ | Elementos superior e inferior de aquecimento e ventoinha |
| ♂♀ | Elementos superior e inferior de aquecimento |
| ♂♀ | Elemento superior de aquécimento |
| ♀♂ | Elemento inferior de aquécimento |
| PIZZA | Manual |
| Pizza |
4.3. FORNO ELECTRICO SUGGESTOES PARA COZINHAR
Cozinhados Tradicionais
O calor é gerado a partir dos aquecções superior e inferior. Geralmente, a prateleira na posão intermedia é preferível para cozinhar. No entanto, se as superfícies de topo ou do fundo dos alimentos tiverem de ser mais cozinhadas, coloque-a na prateleira superior ou inferior.
Cozinhados de Conveção (com Ventoinha)
Os alimentos são cozinhados atraves da distribuição uniforme de ar pre-aquecido enviado para oorno com a ajuda da ventoinha localizada dentro da parede traseira doorno.
É possével cozinho varíos pratos simultaneamente em不同类型 prateleiras gratas ao calor distribuído uniformemente dentro doorno.
Este tipo deorno é muito muitoutil para descongelar alimentos.
congelados.Pode serutilizado muitopara esterilizar enlatados,
preparrar xaropes de fruta e desidrarar frutas e cogumelos.
4.4. COZINHAR PIZZA

- Regule a temperatura doorno para o maior.
-15-20 min de tempo de pré-aquécimento
- Coloque o tabuleiro numa das posições mais baixas
-20 min de tempo de cozedura.
4.5. COZINHAR BOLOS
A menos que sera indicado de outras mode, pré-aqueça oorno durante pelo menos 10 minutos antes de o'utilizar. Não abra a porta doorno quando cozinha bolos porque pode não subir (bolos ou pratos com fermento e soufflés). A corrente de ar frio entra noorno evitando que subam. Pode vericifar se os bolos está antes prontos,inserindo uma palinha na massa. Se a palinha estiver seca quando a puxa para fora, significa que o bolo está bem cozinho. Não o fazer até que tenha passado pelo menosTRS quartos do tempo.
Tenha presente as seguiates sugestoes
Se a superficie dos alimentos estiver bem cozinhada mas se por dentro estiverem crus ou parcialmente crus, devem ser cozhados durante mais tempo a uma temperatura inferior.
Por及其他方面,se a superficie dos alimentos estiver muito seca, devem ser cozinhados a uma temperatura mais elevada durante menos tempo.
4.6. COZINHAR CARNES
- A quantidade minima de carne a cozinhoar no forno é 1 kg. Caso contrário, a carne ficará muito seca.
- Se pretende carne bem passada, utilizeiros gordura. Se a carne tiver pouca gordura, não é necessario'utilizar oleo. Se um lado da carne for mais gordo, colque este lado para cima. A gordura derretida ira engordurar suficientemente a parte inferior. A carne vermelha deve ser retirada do frigorico bajo些 1 hora antes de cozinhar.
- De outras modo a carne pode ficar dura devido à diferência de temperatura. Não use sal antes de cozinhar, especialmente quando greha carne. O sal irá secar o sangue e os liquidos da carne, evitando consequentemente o tostado da parte superior da carne.
- Adicione sal à carne grelhada apenas depuis de ter passado metade do tempo do cozinho.
-Cologne a carne a grelhar num recipiente largo e pouco dato. - Os recipientes fundos agem como um esculo contra o calor. A carne pode ser colocada noorno num recipiente resistente ao calor ou directamente no grelhador. Insira um tabuleiro de recolha de gordura / molho por boa do grelhador. Os molhos devem ser adiconados no inico se os alimentos forem cozinhados durante um periodo de tempo curto, embora está melhor adiconar molhos na ultima meia hora se os alimentos forem cozinhados durante um periodo de tempo mais longo.
4.7. COZINHAR PEIXE
Os(PCPO)do(PCPO)ao fim.Os peixes de tamanho medio devem ser cozinhados a temperatura maxima no inicio e(before a temperatura.
deve ser reduzida lentamente.Os peixes maiores devem ser cozinhados a baixas temperaturas do(PCPO)ao fim.Verifique o corte no fundo o peixe para saber se está cozinhado corretoamente. Para saber se o peixe está grelhado corretoamente,verifique o fundo do peixe.A cor (para peixe grelhado)Deve ser branca mate uniforme. Este nao é o caso do salmo e da truta.
4.8. COZINHAR COM ESPETO ROTATIVO
O fogão está equipado com um espeto rotativo metalico, com dois garfos e um gancho usados para apoiar o espeto.
Instruções de'utilisation:
-Retire todos os acessórios doorno;
-colocar tabulero com profundidade no fundo doorno ou na ultima prateleira
-espete a carne no espeto rotativo de forma a esta ficar centrada nos dois garfos;
- Fixar o espeto rotativo no buraco da unidade localizada na parede do fundo, em seguida, pendurar o gancho de suporte na unidade localizada na parte frontal superior da cavidade doorno e ao redor da ponta do espeto rotativo.
O pré-aquecimento não é necessário com espeto rotativo.
Tempo de cozedura recomendado na posicao de espeto rotativo.
| Tempo de cozedura | ||
| Tipo de alimentio | Forno a gás | Forno Eléctrico |
| Bife (1kg) | 25/35 | 20/30 |
| Carneiro, Borrego (1kg) | 35/45 | 30/40 |
| Veado, Aves (1kg) | 65/75 | 60/70 |
| Porco(1 kg) | 60/70 | 65/75 |
4.9. UTILIZACAO DO CONTA MINUTOS
Figura 13 Para seleccionar o tempo desejado, rode totalmente o botao no sentido dos ponteiros do relógio e em seguida volt a rodar no sentido inverso, até ao tempo desejado. No fim do tempo selecionado, sera emitido um sinal sonoro durante algunos segundos.
4.10. UTILIZACAO DO PROGRAMADOR DE FIM DE COZEDURA

Figura 14
Este controlo dá-lhe a possibilitadede escolher o tempo de cozedura quepretende,desligando automaticamente o forno uma vez terminado o tempo selecionado (max. 90 min). Uma vez terminado o tempo selecionado oprogramador volta a posicao 0 e um sinal sonoro informa que o forno se desligar automatamente.
Oorno apenas funciona para(before de seleccionar o tempo ou com o programador na posicao (simpilo ).
4.11. FORNO A GÁS

Figura 15
A temperatura do forno e o aquecedor pode ser selecionados rodando o botão do forno até ao;nível de temperatura pretendido. O intervalo do termostoamento do forno é 140 - 265^ Para a funcao de aquecimento mas baixa, rode o botao para (一 ) ,e para grelhar rode o botao para (一 )
Alguns fogões tem dispositivos de segança de chama nos queimadores. Se a chama apagar, o fornecimento de gás é cortado automaticamente
4.12. UTILIZACAO DO PROGRAMADOR ELECTRONICO
| FUNÇÃO | COMO ACTIVAR | COMO DESACTIVAR | O QUE FAZ | PARA QUE SERVE |
| DESPERTADOR DE MINUTOS | •Prima e Maintainha o botão •Prima os botões para definir o tempo pretendido •Solte todos os botões | •Quando o periodo de tempo terminar é Activado um alarmé auditivel (este alarmé irá parar sozinho, no entanto pode ser parado imeditamente premindo o botão) | •Emite um alarmé no fim do tempo definido. •Para confirmar quanto tempo falta, prima o botão | •Permite-lhe utilizear oorno como relógio de alarmé (pode ser activado com ou sem a operação doorno) |
| FUNÇÃO MANUAL | •Prima o botão •Defina a função de cozinhado com o selector de funções doorno | •Rode o selector de funções doorno para a posicao "O" | •Permitte-lhe operar oorno | •Para cozinhar as receitaspretendidas |
| TEMPO DE COZINHADO | •Prima e Maintainha o botão TIMER ou •Prima os botões ↑↑ para definir a duração necessária do cozinhado •Solte todos os botões •Defina a função de cozinhado com o selector de funções doorno | •Quando o periodo de tempo terminar oorno seraDSLigado automaticamente. Se pretende parar o cozinhado mais cedo, rode o selector de funções para 0, ou defina o tempo para 0:00 (TIMER e os botões▲▼) | •Permitte pré-definir o tempo do cozinhado necessário para a receita escolhida. •Para confirmar quanto tempo falta, prima o botão TIMER. •Para alterar/mudar o tempo pré-definido, prima os botões TIMER e▲▼ | •No final do tempo definido do cozinhado, oorno sera desligado automaticamente e está emitido um alarmé audível. |
| FIM DE COZINHADO | •Prima e Maintainha o botão END •Prima os botões ↑↑ para definir a hora em que pretendeDSLigar oorno •Solte todos os botões •Defina a função de cozinhado com o selector das funções doorno | •Na hora definida oorno seraDSLigado. ParaDSLigar manualmente, rode o botão selector doorno para a posicao "O" | •Permitte-lhe definir o tempo final do cozinhado •Para confirmar o tempo pré-definido, prima o botão END •Para modifier o tempo pré-definido, prima os botões END+▲▼ | •Esta função é usada típically com a funcao "tempo de cozinhado". Por exemplo, se um prato tiver de ser cozinhado durante 45 minutos e tiver de estar pronto às 12:30, selecione simplementmente a funcao pretendida, define o tempo de cozinhado para 45 minutes e o tempo de final de cozinhado para 12:30. •O cozinhado começará automaticamente às 11:45 (12:30 menos 45 mins) e irei |
Definir a hora correcta:

AVISO: a prima operação a efetuar(before o forno ter sido instalado ou a seguir a um corte de electricidade (isto pode ser reconhecido se o éra piscar e quando for shown) é definir a hora correcta. Isto é efectuado:
-
Prima e mantenha os botões TIMER e END (|▶ e |<)
-
Defina a hora com os botões
-Solte todos os botões
ATENÇÃO oorno funciona aspenas se for definido em funcão manual ou tempo pré-definido.
N.B.: nalguns modelos os símbos 📁 são substituções por + e -
Para programar um programador com 5 botões, para a função manual, pressione simultâneamente os botões "TIMER" e "END".

4.13. TABELAS DE COZINHADOS
Métodos de Cozinhados Tradicional e com Circunya de Ar; Pesos (Gr). TIPO DE ALIMENTO Método Tradicional de Cozinhado
| Peso (Gr) | TIPO DE ALIMENTO | Método Tradicional | Método de Circulation de Ar | Tempo de Cozinhado (Minutes) | NOTAS | Posicao da prateleira | ||
| BOLOS E SOBREMESAS Massa com ovos batidos Massa Pequenos bolos Bolo de Queijo Tarte de Maçã Strudel Tarte de geleia Pequenos bolos Biscoitos Bolos de creme | Posicao Da Prateleira | Tempera-tura (°C) | Posicao Da Prateleira | Tempera-tura (°C) | Figura 16 | |||
| 1000 500 500 250 | Pão branco Pão de centeio Sanduiches Pizza | 1 | 200 | 2 | 175 | 45 ~ 60 | Dento doorno fechado em pratos 8 peças num tabuleiro sob o grelhador | |
| 1 | 200 | 2 | 175 | 30 ~ 45 | ||||
| 2 | 200 | 2 (1 e 3) | 175 | 20 ~ 35 | ||||
| 1 | 220 | 2 (1 e 3) | 200 | 20 ~ 35 | ||||
| PASTAS Macarrão Com vegetais Pequenas pastas Lasanha | 2 | 200 | 2 (1 e 3) | 175 | 40 ~ 50 | |||
| 2 | 200 | 2 (1 e 3) | 175 | 45 ~ 60 | ||||
| 2 | 200 | 2 (1 e 3) | 175 | 35 ~ 45 | ||||
| 2 | 200 | 2 | 175 | 45 ~ 60 | ||||
| CARNES Carne assada Porco assado Vitela assada Rosbife Borrego Frango Peru Pato Ganso Coelho | 2 | 200 | 2 | 175 | 50 ~ 70 | Cozinhoar no grelhador | ||
| 2 | 200 | 2 | 175 | 100 ~ 130 | Cozinhoar no grelhador | |||
| 2 | 200 | 2 | 175 | 90 ~ 120 | Cozinhoar no grelhador | |||
| 2 | 220 | 2 | 200 | 50 ~ 70 | Cozinhoar no grelhador | |||
| 2 | 200 | 2 | 175 | 110 ~ 130 | Perna | |||
| 2 | 200 | 2 | 175 | 60 ~ 80 | Completo | |||
| 2 | 200 | 2 | 175 | 210 ~ 240 | Completo | |||
| 2 | 175 | 2 | 160 | 120 ~ 150 | Completo | |||
| 2 | 175 | 2 | 160 | 150 ~ 200 | Completo | |||
| 2 | 200 | 2 | 175 | 60 ~ 80 | Em partes | |||
| PEIXE Peixeinteiro Filetes | 2 | 200 | 2 (1 e 3) | 175 | 40 ~ 60 | 2 Peixes | ||
| 2 | 200 | 2 (1 e 3) | 175 | 30 ~ 40 | 4 Filetes | |||
NOTA:
1.Os tempos do cozinho não incluem o pré-aquecido. Pré-aqueça oorno durante circa de 10 instantos é especialmente aconsehado para bolos, pizzas e pães.
2.Indica posições do tabuleiro para cozhar various pratos simultaneamente.
3. Todas as operacoes de cozinho devem ser executadas com a porta doorno fechada.
| TIPOS DE ALIMENTOS | QUANTIDADE | COZINHAR NO GRELHADOR | TEMPO DE COZINHADO (Minutos) | |||
| N. DE PEÇAS | PESO | POSICÇÃO DA PRATELEIRA | TEMPERATURA (°C) | SECCÇÃO SUPERIOR | SECCÇÃO INFERIOR | |
| Bife | 4 | 800 | 4 | max | 10 | 8 |
| Costeleta grelhada | 4 | 600 | 4 | max | 12 | 8 |
| Salsichas | 8 | 500 | 4 | max | 10 | 6 |
| Partes de frango | 6 | 800 | 3 | max | 30 | 20 |
| Grelhada mista | 4 | 700 | 4 | max | 12 | 10 |
| Sobremesas leite | 4 | 400 | 4 | max | 13 | 10 |
| Fatias de tomate | 8 | 500 | 4 | max | 12 | -- |
| Filetes de peixe | 4 | 400 | 4 | max | 8 | 6 |
| Escalopes | 6 | --- | 4 | max | 12 | -- |
| Tostas | 4 | --- | 4 | max | 8 | -- |
| Fatias de pão | 4 | — | 4 | max | 2-3 | 1 |
Figura 16
5. LIMPEZA E MANUTENÇA O
- Antes de todas as limpezas e manutenções:
- AVISO: Nunca deixe a placá sem vigilência sempre que a utilizes para confecionar alimentos com gorduras, caso contrário corre o risco de incêndio.
- Deslique a tensão de alimentação.
- Desligue a valvula de gás para sua segança. Se o forno estiver ajustado para gás natural, desligue a valvula do gás natural.
-Se oorno estiver quente, aguarde até que tenha arrefecido. - Limpe as superficies esmaltadas com agua quente com sabão ou produits demarca adequados. Nunca utilize pós abrasivos que podem danificar as superficies e arruinar a aparência do fogão. É muito importante limpar oorno sempre que for usage.
- Use detergentes e esfregões metalicos abrasivos nas grelhas de aço inoxidável.
- As superficies de vidro, tais como o topo, a porta doorno e a porta do compartmento de aquecimento, devem ser limpas quando estiverem frias.
- Os danos causados por uma falha em relacion a esta regra não está cobertos pela garantia.
- Pode limpar os queimadores e as tampas dos queimadores com agua quente e detergente. Não os canais de gás dos queimadores podem ser limpos com uma escova. Certifique-se que os queimadores está月至些 segos antes de os recolocar nos seu suportes. Verifique o posicionamento correto do queimador.
- Limpe periodicamente os electrados de ignicao dos fornos com ignicao automatica. Isto ira evaporar problemas de ignicao. Verifique frequentlymente se os canais de gás dos queimadores não está bloqueados por resíduos de alimentos, etc.
- Seque a tampa superior com um pano seco para evitar os efeitos prejudiciais da agua, oleo e vapor Criado pelos alimentos cozinhados.
- Não utilizeiros abrasivos, esfregões de metal,panos asperos ou produits químicos e detergentes que possam danifican permanente o revestamento catalítico.
- É boa ideia'utilizar tabuleiros de assados fundos para alimentos gordos tais como peças de carne, etc. e colocar um tabuleiro sob o grelhador para recolher a gordura exceedente.
Limpar a Porta do Forno
- Para limpar correctamente a porta doorno, é aconselhavel remove-la, tal como é indicado abaixo. Abra a porta totalmente, rode 180^ osinous braços da dobradiça. Fecha a porta parcialmente 30^ . -Remova a porta levantando ligeiramente{nessa posicao. Para recolocar a porta, siga os passos acima por ordem inversa.

Figura 17
Para substituir a luz interior
- Desligue o fornecimento de energia e desenrosque a lampada.
- Substitua por una lampada identica que possa所提供ar temperatas mucho elevadas.
- Nunca use vapor ou um vaporizador na limpeza.

Figura 18
5.1. FORNO CATALYTICO COM AUTO-LIMPEZA
- Estado disponívelis painés especials com auto-limpeza revestidos com uma cobertura micro-porosa em algunos dos modelos. Se estiverem instalados, o fornão não precisa de ser limpo manualmente.
- O revestimento deve ser poroso para que a auto-limpeza sera eficaz.
-Salpicos ou gordura em excesso pode bloquear os poros e assim prejudicar a auto-limpeza.Esta capacidade de auto-limpeza pode ser reposta ligando oorno fazio durante um(Maximo de 10-20minutos). - Se as paredes doorno estiverem tao cheias de gordura que o revestimento catalítico ja nao funciona, remove a gordura em excesso com um pano macio ou esponja embarbida em agua quente.
- Todos os revestimentos catalíticos actualmente no mercado tíme uma duração aproximada de 300 horas. Devem ser assim substituções deposite de和地区 de 300 horas.
6. CENTRO DE ASSISTÊNCIA E DETECÇÃO DE PROBLEMAS
- Se oorno não está a functionar, antes de contactar o service de assistência, recomendamos:
- Deve verifies se o forno está ligado correctamente à electricidade.
A entrada de gás éanormal
-Verifique o seguin:
- Os orificios do queimador está entupidos?
-
O regulador de pressão está a functionar correctamente?
-
Se estiver a utiliser um tubo, existe gás no tubo? A valvula está aberta?
- Se detector algo fora do normal com as valvulas de gás, contacte um electricista qualificado ou um centro de assistência autorizzato.
Existe um cheiro a gás onde o equipamento está localizzato
-Verifique o seguin:
-A valvula de gás ficou aberta?
- O tubo de gás está na posção correcta e em boas condições? Se suspeitar de uma fuga de gás, não utilize uma chama para verficar.
O fornão não aquece
- Os botões de controlo doorno está na posicao correcta?
O tempo do cozhado é muito longo
Foi seleccionada a temperatura correcta?
Sai fumo doorno
- É aconsehlável limpar o forno(before do cada'utilização. Se a gordura que salpica quando cozinha carne não for limpo, éra fazer um odor desagradável e fumo na vez seguinte que utilizez oorno. (Consulte o capítulo Limpeza e Manutenção)
A luz doorno não acende
- A luz pode estar a falhar. Para Mudar a lampa, consulte a págrain relacionada.
- Se verificou o referido acima e oorno Continuing a não funcional correto, contacte o service autorizzato mais proximo para pedir assistência
- Modelo e Nível de Produção (PNC ou ENR).
7. PROTEÇÃO DO AMBIENTE

Este aparelho está classificado de acordo com a Direita Europeia 2012/19/UE relativa aos Resíduos de Equipamentos Elétricos e Eletrónicos (REEE). Os REEIn incluem substâncias polentes (que podem provocar acontecções negativas no meio ambiente) e componentes Basics (que podem ser reutilizados). É importante que os REEEM sejam submetido a tratamenti
específicos, a fim de
remove e eliminar corretamente todos os poluentes e recuperar e reciclar todos os materiais.
Os@cidadao individualmente podem desempenhar um papel importante no sentido de garantir que os RREE nao se tornam num problema ambiental; e essential seguir algumas regras bicas:
- Os REEe não devem ser tratados como lixo dométrico.
- Os REEE deverao sercretgues nos pontos de recolha relevantes geridospelo municipal ou porempresas registadas.Emmuito paises, no caso de grande REEE,poderao existir serviços de recolha ao domicilio.
- quando compra um novo aparelho, o antigo pode ser devolvido ao经商çante que terá a obrigação de o transporte gratamente numa base de um-para-um, desde que o equipamento sera de tipo equivalente e tenha as mesmas funções que o equipamento fornecido
ПРавида TEХнки БE3ОпАСHОCTИ
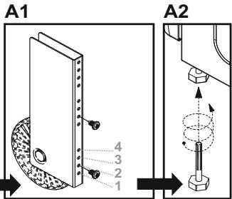
1-Coloque o seuorno no local deutilização e realize os ajustes da sua altera e nível.
2-Determine a medida H e Y como indicado na figura e marque a parede na qual o forno sera fixado. (Figura A)
3- Fixe o dispositivo de montagem em parede (no saco de service) na parede usinga uma bucha e parafuso (nao fornecidos). (Figura B)
4-Empurre o forno para trase e faça com que dispositivo de instalacao encaixe na ranhura na parte de trás doorno. (Figura C)
A dispositivo de instalacao funciona quando inseridao 20mm dentro da sua ranhura.
RU Pn yctaHOBKe 3eKtPnpn6opa cIeUyTe HHeKePnPBeDeHHo npoaceType.
1- NocTabbTe 3JleKTPoPnB6Op B MeTo eRTo EKcNlyaTaaun N BbICTaBtTe NO BbICote n ypOBHIO.
2- OnpeJeHnY, KaK noka3aHo Ha pucyHke, n cdeJaTe COOTBeTCTBvUoJne OTMeTKn Ha CTHe, K KOtopoB 6ydt KpeNITbc 3JIeKTPopnp6Op. (PncyHokA)
3-Пикpenite hacteHHoe KpeJIeHne (BXoIIT B KOMnIeKT) K cTeHe c nOmoIbIO duObeIy I wpypa (B KOMnIeKT He BXoIaT). (PncyHOK B)
4- NaKIOHInTe 3JIeKtPOnpNi6Op Ha3aI N BCTaBbTe KpeIJIeHne B n3aHa 3aINeI CTHeK eJLeKtPOnpNi6Opa. (PncyHOK C)
KpeIeHne 6yIeT yHKUHOHPOBaT TOnbKO,ecn erO BCTaBtB nazHa rIy6uHy 20 MM.
O fabricante não sera responsavel por qualquer imprecisão resultante de erros de impressao ou de transcricao contidos esta publicacao. Reservamos o direito de efectuar modifications nos produits de acordo com o necessario, incluindo interesses de consumo, sem prejudicar as caracteristicas relacionadas com segurarou funcoes.
RU
IpoH3BODHTeJIb He Hecet OTBETCTBEHHOCTH 3a OEnaTkn H HeTOUHOCTn NpeBOda, KOtOpbIe MOrY BCTpeTITcB DaAHNO6poHope. MblOCTabNReM 3a C6oBn IpaBO BVCHOTb N3MeHeHnB KOHCTpyKzIO U3dEJIy Pn yCNoBn, YTO 3TN N3MeHeHnHE yXyDuaHOT EKcnPnytauOnHbIe XapaKTePncNTKN n 6Be3OpNaChOCTb N3dEJIy
ManualFácil