CCG6503PW - Fornuis CANDY - Gratis gebruiksaanwijzing en handleiding
Vind de handleiding van het apparaat gratis CCG6503PW CANDY in PDF-formaat.
Questions des utilisateurs sur CCG6503PW CANDY
0 question sur cet appareil. Repondez a celles que vous connaissez ou posez la votre.
Poser une nouvelle question sur cet appareil
Download de handleiding voor uw Fornuis in PDF-formaat gratis! Vind uw handleiding CCG6503PW - CANDY en neem uw elektronisch apparaat weer in handen. Op deze pagina staan alle documenten die nodig zijn voor het gebruik van uw apparaat. CCG6503PW van het merk CANDY.
GEBRUIKSAANWIJZING CCG6503PW CANDY
Veiligheidsvoorschriften 106
1. Algemene waarschuwingen 107
1.1. Symbolen in deze gebruikershandleiding 107
1.2.Conformiteitsverklaring 107
1.3. Veiligheidsvoorschriften 107
1.4.Nuttige tips 107
2.Installatie 108
2.1. Omgeving waarin apparaat moet worden geplaatst 108
2.2. Plaatsing 108
2.3.Afstelling van voetjes 108
2.4.Elektrische aansluiting. 109
2.5.Fornuizen metvoedingskabel 109
2.6.Gasaansluiting 109
2.7. Conversie voor verzillende typen gas 110
2.8.Afmetingen van het apparatus 110
2.9. Algemeen uiterlijk en definitie van het apparaat 110
3. Gebruik van branders 111
3.1.Gebruikvan gasbranders 111
3.2. Gebruikvan elektrische kookplaten 112
4. Gebruik van de oven 113
4.1.Grillen 113
4.2.Elektrische oven 113
4.3.Kooksuggesties voorelektrische oven 113
4.4.Pizza bakken 113
4.5. Taarten bakken 113
4.6.Maaltijdenbereiden 113
4.7. Vis bereiden 113
4.8.Gebruikvandraaispit 114
4.9.Gebruikvan minutentimer 114
4.10. Gebruikvan timervooreinde bereidingstijd 114
4.11.Gasoven 114
4.12. Gebruikvan elektronisch programma 114
4.13.Kooktabellen 115
5. Reinging en onderhoud 116
5.1.Zelfreinigende katalytische oven 116
6. Klantenservice en probleemoplossing 116
7.Milieubescherming 116
NEPIEXOMENA
GR
O8nyieo Asigmaiaoi 117
1. i O8nyieo 118
1.1.XpnoI 0 118
1.2. 118
1.3.YTIOEiEio Σ Ε Θεμata Aσφαλεiaσ 118
1.4.XpnoiueoYIOeEio 118
2. Eykataaotaon 119
2.1.KataaIaaIotnTaXwpou EykaataoTaanO Iokaawv Suokeww .119
2.2.ToiooTeTnO 119
2.3.puθμiση Tωv Πδιων Στηριξησ 119
2.4.Haektpikn SuovdEoN 120
2.5.Kouziva Poun SuvoeduTAto Kaawio Tpooosiaa 120
2.6. M To Yypaepio 120
2.7.MetatpoTnAeitoupyiao AiaopotikaEiOaPiou 121
2.8. Diaotaaeio Tno Suokueu . 121
2.9. i Xapakntpiotika K Pepiypaqtno Suokueuna... 121
3. XpnoT Twv Kauotnpwv Aepiou 122
3.1.AeitoupyiaTwvKauotnpwTtoEttipavaeiaoMayepaato 122
3.2.Xpnon Twv Hktpikw MAtiw TTo Etipaviaa Mayepaatoa.. 123
4. XpnoT Twv Kauotnpwv Aepiou 123
4.1. XpnoTou KpiAΦoupvou. 123
4.2.HaektpikoOΦoupvOo 124
4.3.YTIOδEIXIεIσ ΛΕIToupyiα Γι Tov Hλεκτρικo ΦΟρνο 124
4.4. _ Na Piioa 124
4.5. Ipoeioiaia Iaukwv (touptεo) 124
4.6. Ψησιμο Kρεατοσ 124
4.7. Ψησιμο Ψαρίου 124
4.8. Mayειρεμα Me Tην Σουβλα 125
4.9.Minutenzahler 125
4.10.Benutzung Des Timers Für Backzeitende 125
4.11.Gasbackofen 125
4.12. Bedienung Des Elektronischen Programmierers 125
4.13. IVaKaεσ Mayεipεματοσ 126
5. Kaθαρισμοσ Νη Πορτασ Tou Φόρνου. 127
5.1.KataaIukoAurokaaapioevooΦoupvoo 127
6. Ytnpeoe TeXvikno YtooTnpiEo & Etnluon PpoBmaTuW 127
7. Tα Tny Pnστασια Tou Περβαλλοντοσ... 127
CbDbPjKAHNE
BG
INHCTPYKUN 3A BE3OPACHOCT. 128
1.ObuynyKA3AHnI 129
1.1.CIMBOJIN3IPOJI3BAHINB YIbTBAHETO. 129
1.2.CbJIACHOCT C DnPEKTHBNTE 129
1.3.MEPKIN3ABE3OJACHOCT. 129
1.4. NOLE3H N CbBETN 129
2. INHCTAJIIPAHE 130
2.1.MECTOIOJIOXEHNE HA YPEDA. 130
2.2.I03NIOHHPAHE 130
2.3.HAFJIACRHE HA KPAUYATA 130
2.4.EJEKTPUeCKO CBbP3BAHE 131
2.5. ПЕЧКСЕLEKTPUECKI KABEL. 131
2.6.CBbP3BAHE CΓA3 131
2.7.IPOMEHn3A PA3JIuYEn TINIgA3 132
2.8.PA3MEPA HA YPEDA 132
2.9.ObuX XAPAKTEPNCIKI IN DEΦHINLJIHA UPEDA...132
3.I3IIOJI3BAHE HA KOTIOH 133
3.1.I3IIOJI3BAHE HA Ia3OB KOTJOH 133
3.2.I3IPOJI3BAHE HA EJEKTPNUECKN KOTJIOHNI 133
4.I3IPOJI3BAHE HA ΦYHKUJIA 134
4.1.CKAPA 134
4.2.EJEKTPNUECKA PUEKA 135
4.3.EJKETPNUECKA PEEKA IPEIIOXEHN 3A TOTBEHE 135
4.4.TOTBEHE HA NIIUa 135
4.5.IeueHE HA TOPTI 135
4.6.IeueHE HA MECO. 135
4.7.IeueHE HA PnBa 135
4.8.TOTBEHE C BbPTaC CE 136
4.9.N3IPOJ3BAHE HA TAIIMEPA 3A MHNUTI. 136
4.10.I3IIOJI3BAHE HA TAIIMEPA 3A KPAH HA IOTBEHE.136
4.11.ΓA3OBAΦΥPHA. 136
4.12.N3IPOJ3BAHE HA EJEKTPOHHHI PPOPAMATOP. 136
4.13. TABEJA 3A FOTBEHE 137
5. NOUHCTBAHE I IOIDPbJxKA 138
5.1.ПОИСТBAHEHA ПЕЧКATA3AГOTBEHE 138
6.CEPBn3EH UENTbP I PNOBJEMN. 138
7.ΓPINA3AOKOLHATA CPEIa 138
GAS CATEGORY TABLE 139-140-141
SAFETY INSTRUCTIONS
WAARSCHUWING: Het apparaat en de bereikbare delen worden heet tijdens het gebruik. Zorg ervoor dat u de warmingselementen Niet aanraakt.
- Kinderenjonger dan 8aar nicht bij het apparaat laten mits onder continue toezicht.
- Dit apparaat kan op een veilige manier worden gebruikt door kinderen van 8aar en ouder en personen met verminderde lichamelijke, zintuiglijke of geestelijkke vermogens of gebrek aan ervaring en kennis als zij onder toezicht staan of worden geinstrueerd over het gebruik van het apparaat.
- Kinderen nieten met het apparaat lately spelen.
- Schoonmaak en onderhoud Niet door kinderen latent doen zonder toezicht.
WAARSCHUWING: Onbeheard koken op een kookplaat met olie en vet kan gevaarlijk zijn en+kunnen brand als gevolg hebben.
- Probeer NOOIT een vuur met water te doven, maar zet het apparaat uit en dek de vlam af met een deksel of blusdeken.
WAARSCHUWING: Gevaar voor brand; bewaar geen items op de kookplaat.
- Tijdens het gebruik worden het apparaat heet. Pas op dat u de verwarmingselementen in de oven nicht aanraakt.
WAARSCHUWING: Onderdelen konnen heet worden. Houjonge kinderen op afstand.
- Gebruik geen agressieve schuurmiddelen of scherpe metalen schrapers om de oven glazen deur schoon te make, aangezien zich hunkrassen op het oppervlak, tevens kan dit een barst in het glas veroorzaken.
- De onderkant van de lade kan aan de binnenkant heet worden.
- De oven要去uitgeschakeld worden voordat u de beveiliging verwijderd, deze要去ervolgens geplaatst worden zoals aangegeven in de handleiding.
- Gebruik alleen de aanbevolen temperatuursmeter voor deze oven.
- Gebruik geen stoomreiniger.
Gemorst vuil要去hetopen van de deksel worden verwijderd. - Het kookopppervlak要去 afgekoeld zijn voordat u de deksel sluit.
WAARSCHUWING: Verzeker u ervan dat de kookplaat uitgeschakeld is voordat u de lamp gaat verrangen ivm een electrische schok.
- Eine Vorrichtung zur Trennung von der Stromversorgung mit einem Kontaktabstand in allen Polen, die vollständige Trennung gemäß den Bedingungen der Überspannungskategorie III erfüllen, muss entsprechend den Verdrahtungsregeln in die Festverdrahtung integriert sein.
- De instructie vermeldt het type van de kabel dat moet worden gebruikt, rekening houdend met de temperatuur van deijkenkant van het apparaat.
- Als het snoer beschadigd is, moet het worden verrangen door een special snoer verkrijgbaar bij de fabrikant of service center.
LET OP: Om een gevaar als gevolg van onbedoeld resetten van de thermische beveiliging te voorkomen,要去 dit apparaat Niet worden gevoed via een externe schakelaar, zoals een timer, of aangesloten worden op een circuit dat regelmatig worden in-en uitgeschakeld.
- Dit apparaat要去 written geinstalleerd in overeenstemming met de geldende voorschriften en mag alleen gebruikt worden in een goed geventileerde ruimte. Lees de instructies voor het installereren of gebruiken van dit apparaat.
- Deze instructies zichen alleen geldig wonneer het land symbool verschijnt op het apparaat. Als het symbool Niet verschijnt op het apparaat, is hetoodzakelijk te verwijzenaar de technische instructies die zullen voor de nodige informatiezorgemet betrekking tot een wijziging aan het toestel.
"zorg voorafgaand aan de installmentie dat de lokale distributie voorwaarden (aard van de gas-en gasdruk) en de aanpassing van de applicatie compatibel zich""; - """ de aanpassing van de voorwaarden voor dit apparaat zijn vermeld op het etiket (of typeplaatje) ";
- "Dit apparaat is nicht aangesloten op een verbrandingsproducten evacuatie apparaat. Het worden geinstalleerd en aangesloten in overeenstemming met de huidige installmentie voorschriften. Bijzondere aandacht worden geschonken aan de relevante eisen ten aanzien van ventilatie.
- Het gebruik van een gasfornuis resulteert in de productie van warmte en vocht in de ruimte waarin deze is geinstalleer. Zorg ervoor dat de keuken goed geventileerd is. Houd bestaande ventilatiegaten open of installeren een mechanische ventilatie-apparaat (afzuiigkap). Aanhoudend en intensief gebruik van het apparaat kan een beroep doen op extra ventilatie, bijvoorbeeld het openen van een raam, of meer effectieve ventilatie, bijvoorbeeld verhoging van het niveau van Mechanische ventilatie indien aanwezig.
LET OP: Toegankelijke onderdelen können het sein wanner de grill in gebruik is. Jonge kinderen dieren weggehonden te worden.
WARNING: Damit das Gerät nicht umkippt, ⇒n Stabilisatoren installiert werden.itte beachten Si die Anweisungen auf Seite 142 dieser Anleitung.
Hartelijk dank dat u een van once producten heeft gekozen. Om optimaal gebruik te konnen make n van uw fornuis, raden wij u het volgendeaan:
- Lees de opmerkingen in deze handleiding zorgvuldig: deze bevatten belangrijke instructies voor het verilig installereren, gebruiken en onderhonden van dit formuis.
Bewaar dit boekje op een veilige plek zodat u het ter referentie kunt gebruiken.
-Mocht het apparaat worden verkocht of worden overgedragen, dan要去 deze handleiding met het apparaat worden meegeleverd om juiste overdrecht van de informatie over installmentie/gebruik van het apparaat en de bijbehorende waarschuwingen te garanderen. -Aile toegankelijkde onderden zijn heet wanner het apparaat worden gebruikt. Raakdezeelementen nietaan. Wanner hetformuis voor de eerste koer wordt ingeschakeld, hunnen scherp ruikende dampen ontstaan. Deze zich ongevaarlijk. Het is raadzaam hetformuis twee uur leeg ingeschakeld te lately.
1.1. SYMBOLEN IN DEZE GEBRUIKERSHANDLEIDING
In deze gebruikershandleiding worden de onderstaande symbolen gebruikt.

Veiligheidsinformatie
Informatie over milieubescherming

Dit apparaat voldoet aan Europese EEG-richtlijnen.
Pas op, omvalgevaar.

Alle onderdelen van dit apparaat die in contact kuren=komen met voedsel, voldoen aan de Europese richtlijn 89/109/EEG. Het apparaat voldoet aan de Europese richtlijnen 73/23/EEG en 89/336/EEG, verrangen door 2006/95/EEG, 2004/108/EEG, 2003/55/EEG enaaropvolgende amendementen. Het apparaat voldoet tevens aan 93/68/EEG enaaropvolgende amendementen.
1.3. VEILIGHEIDSVOORSCHRIFTEN
- Gebruik het fornuisuitsluitend voor de toepassing waaroor deze is ontworpen: het bereiden van voedsel. Elk ander gebruik, bijvoorbeeld als verwarming, vormt onjuist gebruik van het fornuis en is dan ook gevaarlijk.
- De fabrikant is nicht aansprakelijk voor schade als gevolg van een verkeerde toepassing van dit apparaat of van onjuist of onredelijk gebruik.
- Neem bij de omgang met elektrische apparaten alttijd de volgende standaardregels in acht. Als het apparaat defect raakt of Niet meer werk, haalt u de stekkeruit het stopcontact, raakt u het verder Niet aan en neemt u contact op met de geautoriseerde service.
Tijdens het gebruik worden het apparaat heet. Pas op dat u de verwarmingselementen in de oven Niet aanraakt.
-Draag algtd handschoenen bij het verwijderen van voedsel uit de oven. - Houd het apparaat om veiligheids- en gezondheidsreden.altijd schoon. Veten voedselresten konnen leiden tot brand. Plaats uw hand Niet tusen de oven en de scharnieren van de bovenklep. Houd kinderenuit de buurt.
- Zorg dat alle knoppen in de UIT-stand staan wonneer het apparaat nicht worden gezbrukt.
Gemorst vuil moet voor het openen van de deksel worden verwijderd. Het kookoppervlak moet afgekoeld zijn voordat u de deksel sluit. - De ovenlade is bedoeld voor de opslag van lege schalen of om voedsel warm te houden.
- Plaats geen brandbare, explosieve of reinigingsmaterialen, zoals nylon zakken, papier, doeken, enzovoort in de lade.
-
Gebruik uitsluitend hittebestendige potten en pannen. Gebruik geen brandbare materialen.
-
Het wijzigen (of poging tot het wijzigen) van de kenmerken van het apparatusat kan gevaarlijk zijn.
- Let met name goed op wonneer u aan het frituren bent:That het apparaat Niet onbeheard.
-Het apparaat is zwaar. Ga voorzichtig te werkkals u het verplaatst. - De uitsstoot van het eule luchtijdens gebruik van het apparaat is normaal.
- Sluit de ventilatieopeningen van de oven nooit af.
Bij hetplaatsen van voedsel op of in het apparaat of wanneru voedsel verwijdert met overtollig vet of water, kan er op het apparaat worden gemorst. Verwijder dergelijkke resten direct na het koken om onaangename geurontwikkeling en möglichke brand te voorkomen. - Verlaag de vlam of schakel de brandersuit voordat u pannen verwijdert.
- Neem bij het gebruik van elektrische apparaten als tijd de volgende standardregels in acht:
Gebruikgeen adapters, verdendozen en/ofverlengsnoeren. Trek nooit aan het netsnoor om de stekker uit het stopcontact te halen.
Raakde oven nooit aan met natte handen of voeten.
U moeteen beschadigde voedingskabel onmiddelijkvervangen.
Neem bij het verwangen van de kabel de onderstaande voorschriften inRCT:
*Alleen een gekwalificeerde elektromonteur mag de kabel verrangen. Reparaties mogen alleen met de originele reserveonderdelen worden uitgevoerd bij een erkende serviceworkplaats.
'Vervang de voedingskabel alleen door een kabel van het type H05RR-F, H05WF of H05V2V2-F. De kabel要去 het vermogen hebben om de voor het product vereiste elektrische stroom te leveren. - Controller de flexibele gasaansluitingspijp regelmatig.
- De gasinlaatslang moet UIT de buurt van hete onderdelen van de oven worden gezhonden en mag Niet in contact komen met de oven. U kunt de aansluiting van de gasinlaat waar de linkerkant of de rechterkant van de oven verplaatsen. Na een dergelijkke aanpassing moet u met een zeepoplossing controleren op een mogelijkgaslek.
Nadat de gaspijp op de verbinding is aangesloten, moet u deze met een klem stevig vastzetten. Let met name op eventuele gaslekken: controllerer hierop meteen zeepoplossing.
-Laat hetapparaat Niet onbeheerd acheer voordat het is afgekoeld.

Als u zich nicht aan de bovenstaande instructies houdt, kan de fabrikant de veiligheid van hetfornuis nicht garanderen.
1.4. NUTTIGE TIPS
-Alle kleppen, geëmailleerde of glazen oppervlakken kennun uit elkaarworden gehaal voorgemakkelijke reiniging. Als uw apparaat een bovenklep heeft, is deze ontworpen om het bovenblad te beschermen gegen stof wanner het nicht worden gebruikt of om het morsen van olie te voorkomenijdens het koken.
- Gebruik de klep Niet voor andere doeleinden.
WAARSCHUWING! (Modellen met glazen klep) De glazen klep kan breken wanner deze worden blootgesteld aan overmatige但它. Controleer altijd of de branders uit zich voordat u de klep sluit. - Gebruik geen misvormde ofuit evenwicht zijnde pannen.
- Reinig de grill en de vetopvangbak zorgvuldig voordat u deze voor de eerste keer gezruikt.
- Wanneru reinigungssprays gebruikt, moet u nooit op verwarmers of op de thermostaat spuiten.
Zorg dat de ovenplaten correct worden geplaatst. - Steek de brander aan voordat u de pan eropzet voor snellere ontbranding. Controller of de brander een normale vlam heeft.
- Dek ovenonderdelen nicht af met aluminiumfolie.
2. INSTALLATIE
De installmentie要去 worden uitgevoerd door gekwalificeerde vakmensen. De fabrikant is Niet verplicht om de installmentie uit te voeren. Als de hulp van de fabrikant worden ingeroepen om problemen te verhopen die zich ontstaan door verkeerde installmentie, vallen deze werkzaamheden nicht onder de garantie.
Neem de installmentievoorschriften in acht en schakel gekwalificierde vakmensen in. Onjuiste installmentie kan materielle schadeveroorzaken of letsel aan mens endier. De fabrikant kan nicht aansprakelijk worden gesteld voordergelijke schade of dergelijk letsel.
WAARSCHUWING! De locatie van het apparaat moet zorgvuldig worden overwogen! Het kan uitsluitend worden geinstalleerd in een ruimte die continu wordt geventileerd.
Het gebruik van een gasfornuis resulteert in de productie van warmte en vocht in de ruimte waar deze is geinstalleer. Zorg ervoor dat de keuken goed geventileerd is. Houd bestaande ventilatiegaten open of installieren een mechanische ventilatie-apparaat (afzuigkap). Aanhoudend en intensief gebruik van het apparaat kan een beroep doen op extra ventilatie, bijvoorbeeld het openen van een raam, ofmeer effectieve ventilatie, bijvoorbeeld verhoging van het niveau van Mechanische ventilatie indien aanwezig.
Elektrische aansluitingen要去en algtd worden losgekoppeld voorafgaand aan reparatie, installmente of aanpassing.
- Voordat u het apparaatplaatst, moet u de eigenschappen van de energietoevoer controeren (gastype, gasdruk) en ervoor zorgen dat het apparaat waarop worden afgesteld.
- Dit apparaat要去en worden aangesloten op het uitlaatsystem van apparatuurdie andere brandstof gezruikt.
-Het apparaat要去 nicht worden geinstalleerd in de buurt van brandbare materialien (zoals meubels, gordijnen, enzovoort).
-Het apparatus mag Niet op een draagvlak worden geplaatst.
Voor goede werkung van het apparaat moet er voldoende natuurlijke
luchtventilatie zijn in de ruimte voorgasverbranding.
- De luchtstroom要去 door de getraliede luchtventilatieopeningen in de buitemuren lopen.


Luchtgrills要去en een profiel hebben van 100~cm^2 voor luchtdoorstroming en voor apparaten met een vlambveeligingsmechanisme. Bij apparaten zonder vlambveeligingsmechanisme is een profiel van 200~cm^2 vereist. (Een ofmeer grills hunnen worden gebruikt.)
Emissie van verbrandingsgassen
- Verbrandingsgassen van fornuizen要去en rechtstreeks worden afgevoerd via deuren of via een kap die is aangesloten op een schoorsteen of rookkanaal (afbeelding 1).
- Als het Niet möglich is een kap te installereren,要去 een elektrische luchtververser worden gemonteerd in een muur of in een venster dat maar buiten leidt (afbeelding 2).
- Elektrische luchtverversers moeten het vermogen hebben de keukenlucht 3-5 koer peruur te verversen.


-
De grill要去 Zo worden geplaatst dat deze aan beiden kanten nicht kan worden gesloten en bij voorkeur zichbij de vloer. Grills mogen nicht langs de kanalen worden geplaatst waardoor verbrandingsgassen enuitgestoten gassen lopen.
-
Als het möglich is getraliede ventilatieopengen aan te brengen in de ruimte waar het apparaat worden geplaatst, kan de benodigde lucht ook worden aangevoerd vanuit een naastgelegen ruimte, mits dat geen slaapkamer is of een kamer waar een luchtstroom gevaar kan opleveren.
2.2. PLAATSING

Het apparaat is ontworpen onder de veronderstelling dat het aang renzende aanrechtbladen Niet hoger zich dan de hoogte van het fornuisoppervlak.
2.3. AFSTELLING VAN VOETJES
U kurz de voetjes iederafzonderlijkf^Kstellen meteen moersleutelom ervoor te zorgen dat de oven waterpas staat, zodate de vloeistof in pannen horizontaal staat.
regelbare voetjes en wieltjes

A


B

C
Het apparaat heeft afstelbare voetjes in de benedenhoeken van de behuizing.
- De maximale hoogte van het fornuis is 868 mm en kan worden bereikt doorde
afstelbare voorvoetjes en achefterwieltjes in het vierde gat teplaatsen. - De weiterwieltjes moeten in het tweede gat worden geplaatst (afbeelding A1) voor de standardhoogte. De standardhoogte is 850 mm.

regelbare voetjes
Fornuizen zijn verkrijgbaar met en zonder voedingskabel. De kabelaansluiting要去en uitgevoerd door een geauthoriserde monteurvolgens de onderstaande instructies.
De elektrische aansluiting要去 worden bewerkstellig volgens de toepasselijkne normen en richtlijnen. Controller erest de volgende zaken voordat de elektrische aansluiting worden gemaakt:
- Is het vermogen van de elektrische aansluiting en de veiligheidsontstekers in het gebouw voldoende voor de belasting van het apparaat? (Controller het etiket met informatie.)
Is de elektrische voedingsleiding voorzien van een aardaansluiting die voldoetaan de toepasselijkne normen? «Uwhuis要去 zichoorzien van een geschikte aardaansluiting Als dit Niet het geval is, moet u een geauthoriseerde technicus dit probleem lately oploussen.
- Bevindt het stopcontact of de multipolige schakelaar zich op een goed bereikbare locatie nadat het apparaat is geinstalleerd?
- Er要去 een stekker aan de voedingskabel worden gemonteerd en de kabel要去 in een veilig stopcontact worden geplaatst.
- Er moet een multipolige schakelaar worden gemonteerd:tussen het apparaat en de elektriciteitsleiding als een rechtstreekse elektrische aansluiting met het apparaat nodig is. (Deze要去 aan de normen voldoen en geschikt zichn voorde belasting.)
- De groen/gele aardingskabel mag Niet worden voorzien van een schakelaar. De bruine fasekabel (van de met 'L' gecodeerde aansluiting op de oven)要去 algonder worden aangesloten op de faseleiding van de stroomtoevoer.
- De elektriciteitsleiding要去 worden geplaatst dat deze nicht worden blootgesteld aan temperaturen hoger dan 50^ C
Wanner de voedingskabel要去 worden verrangen,要去 dit worden gedaan door een kabel met een profiel dat geschikt is voor het aangegeven vermogen. De groen/gele aardingskabel要去 onceveer 2 cm longer zijn dan de fase- en de neutrale kabel.
- Controller de branders door deze gedurende 3 Minutes te lien branden nadat de aansluiting is voltooid.
- De fabrikant is nicht verantwoordelijk voor schade als gevolg van Niet-nalevingvan de veiligheidsnormen.
Bij eenrechtstreekse aansluiting op de vaste bedrading moet er een voorziening+zijn tot uitschakeling van het voedingsnet in de vorm van een contactscheiding in alle polen die volledige uitschakeling garanderen volgens overspanningscategorie III in navolging van de bedradingsvoorschriften.
2.5. FORNUIZEN MET VOEDINGSKABEL
Aansluiting is uitsluitend bedoeld voorspanningen van 220-240 V Tussen fasen of tussen fasen en neutraal.

- Eventuele verranging van de voedingskabel要去 worden uitgevoerd door de serviceafdeling of door een geauthoriseerde monteur. De kabel要去 worden verrangen door een kabel metdezelfde of gelijke kenmerken als die van de oorspronkelijke kabel.
Vermogens/voedingskabels:
| Nominaal vermogen (kW) | Nominale spanning (V) | Nominale stroom (A) | Voedingskabel |
| 2.3 kW | 220 - 240 V | 9.1 A | 3 x 1.0 mm² |
| 3.5 kW | 220 - 240 V | 15.9 A | 3 x 1.5 mm² |
| 4.0 kW | 220 - 240 V | 18.2 A | 3 x 2.5 mm² |
2.6. GASAANSLUITING
Het apparaat moet op het gas worden aangesloten volgens de toepasselijkke normen en richtlijnen.
- Toen hetapparaat de fabriek verliet, was het afgesteld op het gastype dat staat aangegeven op het etiket bij de gasinlaat op de achterkant van hetapparaat.
Zorg dat u het Gastype gebruikt dat op het etiket staan aangegeven. Als het een ander type gas betreft, volgt u de instructies in het hoofdstukover conversie waar andere gastypen.
- Zorg dat de gastoevoerdruk overeenkomt met wat is aangegeven in de tabel Gascategory (laatste 3 paging's in deze gebruikershandleiding) om maximale efficientre en het laagste verbruike garanderen. Als de gasdruk Niet overeenkomt,要去 een gasklep worden aangebracht op de gasinlaat. Het gebruik van een gasklep die overeenkomt met de normen voor LPG is togetstaan.
Aansluiting op vaste of flexibele metalen pijp
- De gastoevoer kan worden aangesloten op een flexibele roestvrij stalen pijp volgens de toepasselijke veiligheidsnormen. In dit geval is het Niet nodig het apparaat te verplaatsen. Degasinlaataansluiting van het apparaat is Gc ^1 A
Aansluiting op flexibele Niet-metalen pijp
- Als de gasaansluiting zich op een locatie bevindt waar deze kan worden in- en uitgeschakeld, kan een flexibele pijp worden gebruikt in navolging van de toepasselijkne normen. De flexibele pijp要去 stevig worden vastgezet meteen klem.
- De flexibele pijp kan als volgt worden aangesloten:
Aangezien de flexiblepijp achter de oven zal worden geplaatst, moet deutsche nooitworden blootgesteld aan temperaturen hoger dan 30^ - De lenghte mag Niet groter zichn dan 150 cm.
- De pijp mag Niet worden blootgesteld aan stoom.
- De pijp mag Niet youwen, knikken of worden belast.
- De pijp moet worden beschermd gegen scherpe of suntige voorwerpen.
- De pijp要去 toenagankelijkzijn voor periodieke inspectie. •De flexibele pijp要去 als volgt worden gecontroleerd op slijtage: •Controller of op of bij de uiteinden van de pijp barsten, scheuren of brandplekken aanwezigল.
-Het materiaal moet zich flexibilititeit behouden. Overmatige onbuigzaamheid is Niettoegestaan. - De klemmen mogen geen roestvorming vertonen.
- De ijp moetin elkgeval na 5jaargebruikworden cervangen.


Controller alle aansluitingen op lekken met een zeepoplossing nadat de installmentie is voltooid. Gebruik geen vlam om te controleren op gaslekkern.
Voor de onderstaande fornuizen is schriftelijk afstellingoodzakelijkdooreen gekwalificeerde monteur.
Volg de stappen hieronder om het apparaat te converteren van de fabrieksinstelling的那一nde instelling vooreen ander Gastype.
Fornuizen zijn afgesteld op aardgas en aansluitingstype is cilindrisch (1). Bij slangen voor aardgasaansluiting kan de slangadapter (2) worden gemonteerd aan de cilindrische adapter metafdichting.
Bij slangen voor LPG-aansluiting kan de LPG-slangadapter (3) worden gemonteerd aan de cilindrische adapter met afdichting.

Injectors afstellen en verwisselen Injectors verwisselen
- Verwijder roosters.
-Verwijder branderdoppen en branders. - Verwijder injectors met een moersleutel van 7 mm en monteervolgens dejuiste injector uit de tabel Gascategory (laatste 3 paging's in deze gebruikershandleiding).
Volg de bovenstaande stappen in omgeekerde | volgorde nadat de neue injectoris gemonteerd.
Stand-by-aftelling
Stand-by-aftstellung voor fornuizen zonder beveiligingsmechanismen, met beveiligingsmechanismen en metontstekingsknop
- Zet de bedieningsknop van de brander op de stand voorkleine vlam en verwijdderde knop.
- Als conversie van aardgasaar LPG nodig is, draaith de schroef van de gaskleppen meteen schroevendraaier rechtsom naarde uiterste stand.
-
Als conversie van LPGaar aardgas nodig is, draait u de schroef van de gaskleppen met een schroevendraaier linksom totdat een Kleinere vlam van 114 groote is bereikt.
-
Na de afstelling planta u de knappen weir terug.
- Controller de afstelling door de bedieningsknop van de brander snel van
de maximale waar de minimale stand te draaien. Als de vlam blijft branden, is de afstelling juist.
Bij beveiligingsmechanismen kan de pilotvlamafstelling worden uitgevoerd met de schroef op het klephuis. In geval van een ontstekingsknop voor pilotvlamafstelling moeten bovenblad, bovenklep en paneel worden verwijderd.

- Voor pilotvlamafstelling van dethermostaatklep moeten bovenblad, bovenklep en paneel worden verwijderd.


Gasoven
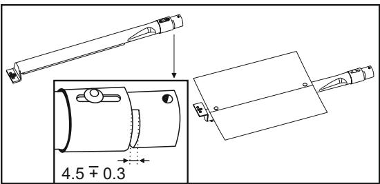
- Verwijder achterklep (Afb. 3). - Verwijder injectoradapter Afb. 4).
- Verwijder injectors meteen moersleutel van 7 mm en monteervervolgens de juiste injectoruit de tabel Gascategory (laatste 3 pagina's in deze gebruikershandleiding).Afb.5.)
- Volg de bovenstaande stappen in omgekeerde volgorde nadat de neue injector is gemonteerd.
- Brandertussenruimte is 4,5 + 0,3mm voor aardgas en LPG Afb.6).

Afbeelding 3


Afbeelding 4

Afbeelding 5

Afbeelding 6
2.8.AFMETINGEN VAN HET APPARAAT
| 50 x 60 | 60 x 60 | |
| Hoogte (mm) | 863 | 850 |
| Breedte (mm) | 510 | 598-600 |
| Diepte (mm) | 600 | 600 |

2.9. ALGEMEEN UITERLIJK EN DEFINITIE VAN HET APPARAAT
Deze gebruikershandleiding is van toepassing op meerere modellen. Enkele van de kernmerken die in deze handleiding worden genoemd, zich möglichst Niet van toepassing op uw apparaat.
1- Bovenblad
2-Bedieningspaneel
3-Lade
4-Ovendeur (voorstdeur)
5-Metallic of glazen bovenklep
6-Hulpbrander
7-Snelle Brander (Semisnelle brander)
8-Ultrasnelle Brander (Snelle brander)
9-Semiselle brander
10- Linkrooster
11-Rechterrooster
12-Bedieningsknuppen branders
13-Knopthermostaatoven
14- Ontbrandingsknopof ventilatieknop
15-Lampjeknop
16-Timerknop
17-Verstelbaar voetje
18-Vast voetje

1- Bovenblad
2-Bedieningspaneel
3-Lade
4-Ovendeur (voorstdeur)
5-Metallic of glazen bovenklep
6-Hulpbrander
7-Snelle Brander (Semisnelle brander)
8-Ultrasnelle Brander (Snelle brander)
9-Kookplaat
0- Linkrooster
11-Rechterrooster
12-Bedieningsknoppen branders
13-Bedieningsknop kookplaat
14-Knopthermostaatoven
15- Ontbrandingsknopof ventilatieknop
16-Signaallampje
17-Verstelbaarvoetje
18-Vastvoetje

1-Bovenblad
2-Bedieningspaneel
3-Lade
4-Ovendeur (Voorste deur)
5-Metalen of glazen bovenklep
6- Sudderplaatje
7-Snelbrander
8-Kookzone
9-Kookzone
10-Rechter Pandrager
11- Knoppen gasbrander
12-Knuppen elektrische zones
13- Knop thermostaatoven Ontstekingsknop of
14-ventilatieknop
15- Indicatielampje

1- Bovenblad
2-Bedieningspaneel
3-Lade
4-Ovendeur (Voorste deur)
5-Metalen of glazen bovenklep
6-Kookzone
7-Kookzone
8-Bedieningsknoppen Zones
9-Knop thermostaatoven
10- Indicatielampje

Verwijderen en reinigen van de zijlingse roosters
1 - Verwijder het rooster door ze stevig UIT de hengsels in derichting van de pijlen te trekken.
2 - Reinig de roosters in een vaatwasser of met een vochtigespons en droog ze daarna.
3 - Na het reinigingsproces installeer de roosters in omgeekerde volgorde.

3. GEBRUK VAN BRANDERS
De bedieningsknoppen van de branders bevinden zich op het bedieningspaneel.

Afbeelding 7
Uit-stand
Wanneer de knop zo worden gedraaid dat het symbol van een punt in de richting van het paneel wijst, staat在哪e in de Uitstand. De gasklep worden gesloten en de vlamGaat uit.
Maximale gastroevoer
Druk op de branderknop en draai deleze maar links totdat het Symbool van de punt in de richting van het symbool van een große vlamwijst. De vlam staat nu op de hoogste stand. De gasklep staat volledig open.
Minimale gastroevoer
De vlam kan worden verkleind door de knop zo te draaien dat het symbolism een punt in de richting van het symbool van eenkleine vlam wijst. De brander za laag branden.

A-Brander deksel
B-Brander
C-Elektrode
D-Injector (jet)
E-Brandervoet
F-Beveiliging
Branders ontsteken
Fornuizen met gasbranders
De brander要去 worden ontstoken voordat er een pan op wordt gezet. Op modellen met vonkontsteking要去 de ontstekingsknop worden ingedrukt. Druk op de knop van de brander die u wilt ontsteken en draai deze maar linksaar het symbol van een groe vlam.Druk op de ontstekingsknop. Bij modellen met ontstekingsknoppen drukt u op de knop van de brander die u wilt ontsteken en draait u deze hier het symbol met een ster.De elektrode wordt automatisch geactiveerd. Alle elektroden worden automatisch geactiveerd en de brander waarnaar gas wordt geleid wordt ontstoken.
Gasoven
De knop要去 minimaal 15 seconden worden ingedrukt. Als de brander na 15 sec. nog Niet is ontstoken, waar de knop los, open de deur van de ovenen wacht tenminste 1 minuut voordat u een(AP) poging waagt.

Afbeelding 8
Controller of het gas inderdaad brandt na deze stap. Als er geen vlam is, herhaalt u de procedure.
Na ontsteking stelt u de vlam in op de gewenste grotte.
Handmatige ontsteking(wanneer geen elektriciteitbechikbaar is)
Houd een vlam (een lucifer, aansteker of kaars) bij de brander.
WAARSCHUWING wacht 1 minuut totdat u een poging tot
ontsteking doet. Druk op de knop van de brander die u wilt ontsteken en draai deze maar het symbool van een grote vlam. Als de brander Niet direct bij de eerste poging worden ontstoken, probeert u het opnieuw en houd u de knop iets longer ingedrukt. Wanner de brander is ontstoken, zet u de vlam op de gewenste stand. Als de brander na meertere pogingen nog Niet is ontstoken, controleert u de juiste stand van de brander en de branderkap. Draai de knop waar de 0"stand om de gastoevoer af te sluiten. Als de brander per ongeluk nicht更是 brandt,要去 tenminste 1 minuut wachten totdat u deze weeer ontsteekt. Sommige fornuizen zijn voorzien van een vlambeveiliging (zie afbeelding F). Als de vlam uitgaat, worden de gastoevoer automatisch afgesloten.
Minimale en Tmaxiale diameters van bodems van pannen.
| Brander | Min. Diameter [mm] | Max. Diameter [mm] |
| Grote Brander | Ø 240 mm | Ø 280 mm |
| Gemiddelde brandei | Ø 180 mm | Ø 240 mm |
| Kleine brander | Ø 120 mm | Ø 180 mm |
| Ultra snelle brander | Ø 240 mm | Ø 280 mm |
-Het buitenoppervlak van de vlam is heter dan het binnenoppervlak. De toppen van de vlammen moeten de onderkant van de pan raken. Vlammen die buiten de pan reiken, resulteder in onnodig gasverbruik.
- In gegenstelling tot elektrische kookplaten zijn voor gasbranders geen pannen met vlakke bodem vereist. Vlammen die de onderkant de pan raken, geleiden de hitte volledig.
- Hoewel er voor gasbranders geen sprecciale pannen hoeven te worden gezebruikt, geleiden pannen van dunner materiaal de hitte sneller dan pannen van dikker materiaal.
- Sommige delen van het voedsel konnen worden verwarmd verwijl andere delen koud blijven als gevolg van oneevenwichtige warmte distributie onder de pan. Daarom moet het voedsel bij gebruik van pannen met een dunne bodemijdens het koken continue worden geroerd. Bij een dikke bodem worden hitte evenwichtiger verspreid.
-Het gebruik van zeerkleine paffen word afgeraden. Bredere, lage paffen zijn geschikter voor efectief en snel koken dan kleine, diepe paffen.
- U kunt de bereidingsstijd Niet verkorten door eenkleine pan te gebruiken op een grote brander. U zult op die manier alleen gas verspillen. Het gebruik van een pan met deksel bespaard energia.
3.2. USE OF COOKTOP ELECTRICAL PLATES
| Posite | Power (Watt) | Power (Watt) | Power (Watt) | Uitleg |
| 0 | 0 | 0 | 0 | Uit |
| 1 | 100 W | 135 W | 175 W | Verwarmen |
| 2 | 180 W | 220 W | 220 W | Koken bij lage temperatuur |
| 3 | 250 W | 300 W | 300 W | Koken bij lage temperatuur |
| 4 | 500 W | 850 W | 850 W | Bakken, braden, koken |
| 5 | 750 W | 1150 W | 1150 W | Bakken, braden, koken |
| 6 | 1000 W | 1500 W | 2000 W | Bakken, braden, koken |
Geschiktheid van pannen
Houd er rekening mee dat grotere pannen grotere verwarmings oppervlakken hebben. Hierdoor worden het voedsel sneller bereid dan bij pannen met een Kleinere verwarmingsoppervlakten. Gebruik alsijd pannen met de juiste grotte voor de hoeveelheid voedsel die要去 worden klaargemaakt. Gebruik geen zeerkleine pannen om spatten te voorkomen, met name bij voedsel met veel vloeistof. als u zeer grote pannen gebruikt om snel voedsel kaar te makez, zullen vlees en vloeistof blijven plakken. Het gebruik van gesloten pannen en schalen worden aangeraden bij het koken van zoet. Gespat suiker en sap kan blijven plakken op deplaat en is moeilijk te verwijdersen.

Afbeelding 11

Afbeelding 12
Dit is met name van belang bij pannen die worden gebruikt voor braden of op hoge temperatuur koken.
Laat de branders Niet onbeheerd awhile zonder pan of met een lege pan. Controller de geschiktheid van kookpannen aan de hand van de volgende criteria:
1) Ze要去en zwaarijken,
2) ze要去en het volledig opppervlak
bedekken; ze mogen wel iets te groot maar nicht te Klein zich.
3) de bodem要去vlak zijn en goed op het kook oppervlak passen. * voor optimaal gebruik van elektrische kookplaten en om het energieverbruik te minimisieren, moeten alle pannen met een glasse, vlakke bodem worden gebruikt. De grootte van de pan要去 zoveel möglich overeenkomen met de diameter van de kookplaat en nooitkleiner zijn. De bodem van de pan要去 droog zich en morsen要去 worden vermeden. Lege pannen mogen Niet op de kookplaten blijven staan en de platen mogen Niet aan blijven staan zonder dat er een pan op staat.
4.1. GRILLEN

EL KTRISCHE GRILL: Gebruik UITSLUITEND met gesloten deur
GASGRILL: Deze kan worden gebruikt met open deur MET de paneelbeschermer onder het bedieningspaneel gestoken, zoals in de afbeelding.
Wanner u voedsel grift, krijgt het snel eendiepbruine kleur. Afhankelijk van de hoeveelheid voedsel kunte de grill instellen op diverse
standen. Praktisch alle voedsel kan onder de grill worden bereid, met uitzondering van zeer mager wild en rollade.
-Vlees en visdatum wiltgrillen, moet eerst Licht met olie worden bedekt. Gebruik een vetopvangbak bij het grillen. Giet wat water in de bak om onaangename geuren te voorkomen en om te voorkomen dat vet vlam vat.
- Grillen is met name geschikt voor het bereiden van stukken vlees, bijvoorbeeld steaks, die Niet te dikijken, stukken vlees van verschillende grotte, gezogelte, vis, bepaalde groenten (courgette, aubergine, tomaat, enzovoort) in combinatie met vlees- en visproducten op spiesen.
Brenglicht olie aan op de vis voordat u deze rechtstreeks onder de grill plaatst.
Voeg na de bereiding zout toe aan vlees; breng zout aan in de opening van de vis voorafgaand aan bereiding.
De afstand tot de grill is afhankelijk van de dikte van het vlees of de vis.
- Als de afstand goed is ingeschat, zullen de buitenkanten nicht verbranden en blijft de binnenkant nicht rauw.
- Voorkom onaangename geuren en rook als gevolg van druipend vet/saus door 1 of 2 glazen water in de vetopvangbak te giieten.
- U kunt de grill ook gebruiken om te roosteren (geroosterd brood, enzovoort) en om bepalde fruitsoorten te bereiden (banaan, grapefruit-of sinaasappelpartjes, appels, enzovoort). Fruit mag darüber nicht in contact komen metde verwarmingselementen.

Dek de binnenwanden of de bodem van de oven nooit af met aluminiumfolie. Geaccumuleerde ditte kan het email van de oven beschadigen en uw maaltijd bederven.

Wanneer de ovenfuncties worden gebruikt,要去 de bovenklep van de bovenplaat open staan.
4.2. HORNO ELECTRICO
| Positie | Ovenfunctie |
| F | Fuanción |
| °C | Temperatuur |
| ◎ | Bereidingsstijd |
| ○ | Niet in gebruik |
| ←→ | Draaispit/grillverwarmer |
| ○ | Lampje |
| · | Grillverwarmer |
| ⊗ | Grillverwarmer/ventilator |
| ⊗ | Ventilator |
| ⊗ | Bovenste verwarmingselement/ventilator |
| ⊗ | Onderste verwarmingselement/ventilator |
| ⊗ | Bovenste verwarmingselement/onderste verwarmingselement/ventilator |
| · | Onderste en bovenste verwarmingselement |
| · | Bovenste verwarmingselement |
| · | Onderste verwarmingselement |
| ® | Handmatig |
| PIZZA | Pizza |
4.3. KOOKSUGGESTIES VOOR BEREIDINGSTIJD
Traditionele bereiding
Hitte worden gegenereerd door de bovenste en onderste verwarmers. Over het algemeen heeft de middelste positie de voorkeur. Als de bovenkant of onderkant van het voedselECHter meer moet worden gebakken,plaatst u het op de bovenste of onderste plaat.
onvectiekoken (met ventilator)
-Het voedsel worden bereid door evenwichtig verspreide voorverwarmde lustcht die in de oven worden geblazen met een ventilator die zich in dechterkant van de oven bevindt.
- U kurz mehrere gerechten tegelijk bereiden op verschillende platen dankzij de evenwichtig verspreide womte in de oven.
- Dit type oven is ook zeer geschikt voor het ontdooien van bevroren voedsel. De convectoroven kan ook worden gebruikt om ingeblikt voedsel te steriliseren, fruitsiroop te bereiden en vruchten en championnst te drogen.
4.4. PIZZA BAKKEN

- Stel thermostaatin op maximum.
Voorverwarmtijd 15 min. (20 min. indien möglichk).
- Plaats de schaal in een van de twee onderste posities.
-Bereidingstijd 20 min.
4.5. TAARTEN BAKKEN
-Tenzij anders worden aangegeven, moet u de oven ten minste 10 minutes voorverwarmen. Open de ovendeur Niet wanner u taarten bakt, anders zullen deze Niet rijzen (taarten of gerechten met gist en souffles). De stroom Koude lucht die de oven inkomt, zal het rijzen verhinderen. U kunt nagaan of taarten maar�loor een prikker in het deeg te steken. Als de prikker er droog uitkomt, is de taart�k. Controleerditpasnadatdriekwart van de bereidingstijd is verstreten.
Houd de volgende tips in gedachten
- Als het oppervlak van het voedsel gaar is maar de binnenkant nog (gedeeltelijk) rauw, moet u het langer latent staan bij een lagere temperatuur.
- Als het oppervlak van het voedsel te droog is, moet u het korter op een hogere temperatuur bereiden.
4.6. MAALTIJDEN BEREIDEN
De minimale hoeveelheid vlees die in de oven kan worden bereid, is 1 kg, Anders wordt het vlees te droog.
Als u doorbakken vlees wilt, moet u minder vet gebruiken. Als vlees een Klein beetje vet haeft, hoeft u geen olie te gebruiken. Als eén kant van het vlees vet is,plaatst u die kant maar boven. Het gesmolten vet za vuldoende+zijn voor het onderste stuk. Rood vlees moet ten minste eén uur voorafgaand aan bereiding uit de koelkastworden gehaal.
- Anders kan het vlees te taai worden als gevolg van het temperatuurverschil. Gebruik geen zout voorafgaand aan de bereiding, met name Niet als u vlees grilt. Zout trekt het bloed en de sappen UIT het vlees, waardoor de buitenkantvan hetvlees Niet goed worden geroosterd.
- Voeg pas zout aan het vlees toe nadat de helft van de bereidingstijd is verstreken.
- Plaats het te roosteren vlees in een brede, ondiepe pan.
Diepe pannen vormen een schild gegen de warmte. Het vlees kan in de oven worden geplaatst in een hittebestendige pan ofrechtstreeks op de grill. Plaats een vetopvangbak onder de grill. U moet in het begin saus toevoegen bij voedsel met een korte bereidingsstijd. Bij voedsel met een langere bereidingsstijd is het raadzamer sauzen gedurende het LASTe half uur toe te voegen.
4.7. VIS BEREIDEN
Kleine vissen können van begin tot eind worden bereid op maximale temperatuur. Middelgrote vis要去 in het begin op maximale temperatuur worden bereid, waarna de temperatuur langzaam要去 worden verlaagd. Grote vissen要去en van begin tot eind op lagere temperaturen worden bereid. Controller de opening aan de onderkant van de vis om na te gaan of deze goed is klaargemaakt. Controller de opening aan de onderkant van de vis om na te gaan of deze goed is gegrild. De kleur (van gegrilde vis)要去 effen matwitzijn. Dit is nicht het geval bij zalm en forel.
- Het fornuis is voorzien van een metalen draaispit, twee vorken en een
haakdie de spit ondersteunt. - Gebruiksinstructies:
-Verwijder alle accessoires uit de oven.
-Zet de diepe pan op de bodem van de oven ofop de laagste plank. - Steek de draaispit door het vlees,ussen de twee vorken.
- Bevestig de draaispit in het gat in de onderste wand en hang de haak in het gat aan de voorkant van de ovenruimte en rond de rand van de draaispit.
Voorverwarmen is nicht nodig met de draaispit.
Aanbevolen bereidingsstijd bij gebruik van draaispit
| Bereidigungstijd (min.) | ||
| Soort voedsel | Gasoven | Elektrische oven |
| Lams-/schapenvlees (1 kg) | 25/35 | 20/30 |
| Kalfsvlees/gevogelte (1 kg) | 35/45 | 30/40 |
| Varkensvlees (1 kg) | 65/75 | 60/70 |
4.9.USO DEL MINUTERO

Afbeelding 1
U=kunt de bereidingstijd instellen door de knop eenmaal geheel door te draaien en verrolgens de index op de gewenste tijd te plaatsen. Wanner de tijd is versteken, za het alarm enkele seconden hoortbaarzijn.
Hiermee kunt u de gewenste bereidings-tijd instellen (max. 90 minutes). De oven wordt automatisch uitgeschakeld nadat de ingestelde tijd is verstreten. De timer telt af van de ingestelde tijd tot de O-stand en schakelt automatisch uit. Bij normala gebruik van de oven stelt u de timerinopde -stand Als u de oven wilt instellen, mag de timer nicht in de O-stand staan.
4.11. GASOVEN

Afbeelding 15
De oventemperatuur en de verwarmer kuren worden geseleerd door de ovenknop op het gewenste temperatuurniveau te zetten.
De oventhermostat haeft een bereik van: 140-270°C.
Sommige fornuizen haben een vlambeveiligingsmechanisme in de branders. Als de vlam uitgaat, worden de gastoevoer automatisch afgesloten.
| ACTIVEREN | ACTIVEREN | UITSCHAKELEN | WERKING | DOEL |
| MINUTEN-TIMER | •Houd knop ingedrukt •Druk op de knoppend of om de vereiste tijd in te stellen •Laat alle knuppen los | •Wonneer de ingestelde tijd isverstreken,wordt een alarm geactiveerd (deze stopt vanzelfaar kan ookdirectworden gestoet door op knop te drukken | •Activeert een alarm nadat de ingestelde tijd is verstreken. •Om na te gaan hoe lang de bereiding nog duurt, drukt u op knop | •Hiermee Aunt u de oven gebruiken als wekker (kan worden geactiveerd met of zonder gebruik van de oven) |
| HANDMATIGE FUNCIE | •Druk op knop •Stel de kookfunctie in met de oven-functionieknop | •Zet de ovenfunctionieknop op stand O | •Hiermee Aunt u de oven bedieren | •Voor het bereiden van de gewenste gerechten |
| BEREIDIN-GSTIJDTIJD TIJD | •Houd knop TIMER ingedrukt •Druk op de knoppen of om de vereiste bereidingsduur in te stellen •Laat alle knuppen los •Stel de kookfunctie in met de ovenfunctionieknop | •Als deijd isverlopen, wordt de oven automatisch uitzeschakeld. Alsude bereiding eenderwilt stoppen,zet u de functie-knop op 0 of stelt u deijd in op 0:00 (TIMER en knuppen) | •Hiermee Aunt u de vereiste kooktijd instellen voor het gekozen recept. •Om na te gaan hoe lang de bereiding hoe lang de bereiding nog duurt. •U Aunt de ingesteldeijd wijzigden door te drukken op TIMER | •Nadat de ingestelde bereidingsstijd is verstreken, wordt de oven automatisch uitgeschakeld en is een alarm hoorbaar. |
| EINDE BEREIDINGS-TIJD | •Houd knop END ingedrukt •Druk op de knoppen TAIOM detijd in te stellen waarop de oven moet worden uitzeschakeld •Laat de knuppen los •Stel de kookfunctie in met de ovenfunctionieknop | •De oven worden op de ingesteldeijd uitzeschakeld. U aunt handmatig uitschakelen door de ovenfunctionieknop op stand O te zetten | •Hiermee Aunt u het einde van de bereidingsstijd instellen •Controler de ingesteldeijd door op ENDtedruken •Wijzig de ingesteldeijd door tedrukken op END+ | •Deze functie worden doorgaans gezrukt met de functie 'bereidingsstijd'. Bijvoorbeeld: als het gerecht in 45 minuten wordt bereid en klaar要去en om 12:30,selecteert u de vereiste functie,stell u de bereidingsstijd in op 45 minuten en de eindtijd van de bereiding op 12:30. •De bereiding start automatisch om 11:45 (12:30 minus 45 minuten) en loopt door tot de ingestelde eindtijd van de bereiding. De oven zal dan automatisch worden uitzeschakeld. WAARSCHUWING! Als eindtijd van de bereiding is geleeteerd zonder de duur van de bereiding in te stellen,begint de bereiding direct en stopt nadat de ingestelde bereidingsstijd isverlopen. |
Dejuisteijd instellen:

WAARSCHUWING: de eerste handeling die u moet uitvoeren nadat de oven is geinstalleed of na een stroomonderbreking (herkenbaar aan het knipperende display en weergaven van), is het instellen van de juisteijd. Dit doet u als volgt: Houd TIMERen END-knappen (▶en▶) ingedrukt
-Stel hijd in met knoppen
Laat alle knoppen los
LET OP De oven werkt alleen in de handmatige modus of als eenijd is ingesteld. NB: Op sommige modellen worden de symbolen verwangen door +en- .

Om een timer met 5 knappen te programmeren, druk voor de manuele bediening terzelfdertijd op "timer" en op "end".
4.13. BEREIDINGSTABELLEN
Traditionele bereidingsmethode en bereiding met hete lucht; gewicht (gr) SOORT VOEDSEL Traditionele bereidingsmethode
| Gewicht(gr) | SOORT VOEDSEL | Traditionelebereidings-methode | Bereidingmethemethode | bereiding-stijden(minuten) | OPMERKING | ||
| TAARTEN EN DESSERTS | Plank-positie | Tempera-tuur (°C) | Plank-positie | Tempera-tuur (°C) | |||
| Deeg met geroerd ei | 2 | 180 | 2 (1 en 3) | 160 | 45 - 60 | ||
| Deeg | 1 | 180 | 2 (1 en 3) | 160 | 20 - 35 | ||
| Kleine taarten | 2 | 180 | 2 (1 en 3) | 160 | 20 - 30 | ||
| Kwarktaart | 1 | 175 | 2 | 150 | 60 - 80 | ||
| Appeltaart | 1 | 180 | 2 (1 en 3) | 160 | 40 - 60 | ||
| Strudel | 2 | 175 | 2 (1 en 3) | 150 | 60 - 80 | ||
| Confituurtaart | 2 | 180 | 2 (1 en 3) | 160 | 45 - 60 | ||
| Kleine taarten | 2 | 180 | 2 (1 en 3) | 160 | 15 - 25 | ||
| Koekjes | 2 | 180 | 2 (1 en 3) | 160 | 10 - 20 | ||
| Slagroomtaart | 2 | 100 | 2 (1 en 3) | 100 | 90 - 120 | ||
| 1000500500 | BROOD EN PIZZAWit brood | 1 | 200 | 2 | 175 | 45 - 60 | In de gesloten ovenopschotels, 8 stukkenop schaalOnder de grill |
| Roggebrood | 1 | 200 | 2 | 175 | 30 - 45 | ||
| Sandwich | 2 | 200 | 2 (1 en 3) | 175 | 20 - 35 | ||
| DEEGGERECHTENMacaroni | 2 | 200 | 2 (1 en 3) | 175 | 40 - 50 | ||
| Met groenten | 2 | 200 | 2 (1 en 3) | 175 | 45 - 60 | ||
| Kleine pasteien | 2 | 200 | 2 (1 en 3) | 175 | 35 - 45 | ||
| Lasagne | 2 | 200 | 2 | 175 | 45 - 60 | ||
| 1000120010001500120010004000150030001200 | VLEESRosbief | 2 | 200 | 2 | 175 | 50 - 70 | Bereiden op grill |
| Geroosterd varkensvlees | 2 | 200 | 2 | 175 | 100 - 130 | Bereiden op grill | |
| Geroosterd kalfsvlees | 2 | 200 | 2 | 175 | 90 - 120 | Bereiden op grill | |
| Rosbief (Engelse stijl) | 2 | 220 | 2 | 200 | 50 - 70 | Bereiden op grill | |
| Lam | 2 | 200 | 2 | 175 | 110 - 130 | Bout | |
| Kip | 2 | 200 | 2 | 175 | 60 - 80 | Geheel | |
| Kalkoen | 2 | 200 | 2 | 175 | 210 - 240 | Geheel | |
| Eend | 2 | 175 | 2 | 160 | 120 - 150 | Geheel | |
| Gans | 2 | 175 | 2 | 160 | 150 - 200 | Geheel | |
| Konijn | 2 | 200 | 2 | 175 | 60 - 80 | In stukken | |
| 1000800 | VISHele vis | 2 | 200 | 2 (1 en 3) | 175 | 40 - 60 | 2 Vissen |
| Filet | 2 | 200 | 2 (1 en 3) | 175 | 30 - 40 | 4 Files | |

Afbeelding 16
OPMERKING:
1) De bereidingstijden zijn exclusiefvoorverwarming. Verwarm de oven circa 10 minuten voor, met name bij het bereiden van taarten, pizza en brood.
2) Geeft schaalposities aan bij het bereiden van meerdere gerechten tegelijk.
3) Alle bereiding moet plaatsvinden met gesloten ovendeur.
| SOORT VOEDSEL | HOEVEELHEID | BEREIDING MET GRILL | BEREIDINGSTIJD (minutes) | |||
| AANTAL STUKKEN | GEWICH | PLANK- POSITIE | TEMPERATUUR (°C) | BOVENSTE DEEL | ONDERSTE DEEL | |
| Biefstuk | 4 | 800 | 4 | max | 10 | 8 |
| Gegrilde lamskotelet | 4 | 600 | 4 | max | 12 | 8 |
| Worst | 8 | 500 | 4 | max | 10 | 6 |
| Kipstukken | 6 | 800 | 3 | max | 30 | 20 |
| Mixed grill | 4 | 700 | 4 | max | 12 | 10 |
| Melktoetjes | 4 | 400 | 4 | max | 13 | 10 |
| Tomatenpartjes | 8 | 500 | 4 | max | 12 | -- |
| Visfilet | 4 | 400 | 4 | max | 8 | 6 |
| Sint-jakobsschopen | 6 | --- | 4 | max | 12 | -- |
| Toast | 4 | --- | 4 | max | 8 | -- |
| Boerhammen | 4 | — | 4 | max | 2-3 | 1 |
5. REINIGING EN ONDERHOUD
Voorafgaand aan reiniging en onderhoud:
- Schoonmaak en onderhoud Niet door kinderen lately doeen zonder toezicht. Schakel de stroomtoevoer UIT.
- Sluit de gasklep af voor uw eigien veiligheid. Als de oven is afgesteld op
gebruikvan aardgas, sluit u de aardgasklep.
Als de oven heet is, wacht u totdat undeze is afgekoeld.
- Reinig@emailen oppervlakken met warm zeepwater of geschikte merkproducten. Gebruik nooit schuurpoeders die oppervlakken können beschadigen en het uiterlijk van hetformuis verpesten.
-Reinig de oven altijd na gebruik.
- Gebruik reinigingsmiddelen en schuurpads voorde roestvrij stalen grills.
-
De glazen oppervlakken, zoals de bovenkant, de ovendeur en de deur van het verwarmingscompartiment,要去en worden gereinigd wanner deze koud+zijn. Schade als gevolg van het Niet naleven van deze regel worden Niet door de garantie gedekt.
-
U kunt branders en branderkappen reinigen met heet water en reinigingsmiddel. De gaskanalen van de branders+kennen worden gereinigd met een borstel. Zorg dat de branders droog zich voordat u ze weer terugplaatst. Controllerje juiste plaatsing van de branders met name bij het bereiden van taarten, pizza en brood.
- Reinig regelmatig de ontstekingslektroden van ovens met automatische ontsteking. Hierdoor voorkomt u ontstekingsproblemen. Controller regelmatig of de gaskanalen en branders eventuele zich geblokkeerd door voedselresten, enzovoort.
- Veeg de bovenklep af met een droge doeok om schadelijke efecten van water, olie en stoom afkomstig van het vereidde voedsel te voorkomen. -Gebruik geen schuurmiddelen, metalen schuursponsjes, scherpe voorwerpen, ruwe doeken of chemische (reinigings)producten die de katalytische laag permanent+kennen beschadigen. -Gebruik bij voorkeur diepe braadsledes voor vetrijk voedsel zoals vlees-enkipbebouten enplaats een opvangbak onder de grill om het overmaat aan vet op te vangen.
Ovendeur reinigen
Voor grondige reiniging van de ovendeur is het raadzaam deze te verwijderen zoals hieronder aangegeven.
Open de deur volledig en draai de twee klemmen op de scharnierarmen 180^ . Sluit de deur deels (30^) . Verwijderde deurdoor deze op te tillen. Volg de bovenstaande stappen in omgeekerde volgorde om de deur terug teplaatsen.

Afbeelding 17
Het binnenlampie verrangen
Schakel de stroomtoevoer uit en verwijder het lampje.
Vervang deze door een identiek lampje dat bestand is wegen zeer hoge temperaturen.

Afbeelding 18
5.1. ZELFREINIGENDE KATALYTISCHE OVEN
Bij sommige modellen zijn speciale zelfreinigende afdekplaten verzrikjgbaar waarop een microporeuze coating is aangebracht. 'Als u deze afdekplaten gebruikt, hoeftu de oven Niet handmatig te reinigen.
- De ovenbekleding moet poreus zijn, anders werkdt de zelfreinigende functie Niet.
- Een overmaat aan vetspatten kan de porien blokkeren en de zelfreinigende werkung verstoren. U kurz het zelfreinigend vermogen herstellen door de lege oven circa 10-20 minutes op de maximumstand in te schakelen.
- Als de wanden van de oven zo dik met vet zich het bedekt dat de katalytisatielaag Niet meer werkkt, verwijdert u het vet met een zachte doek of spons met heet water. Alle in de winkel verkrijgbare katalytische ovenbekledingen gaan circa 300 uu rree. Na circa 300 uu moet u deze verrangen.
6. KLANTENSERVICE EN PROBLEMEOMPLOSSING
- Als de oven nicht werkt, is het raadzaam het volgende te controleren voordat u het servicecentrum belt:
- Controller of de stekker van de oven correct is aangesloten op het stopcontact.
Gastroevoeris abnormaal
- Controleer de volgende zaken:
Zijn de gaten van de branderverstopt? - Werkt de drukregelaar goed?
- Als u een pijp gezruikt: bevindtzich gas in de pijp? Staat de klep open? Als u iets vreemds merkt aan de gaskleppen, neemt u contact op met een gekwalificierde elektricien of een geauthoriseerd servicecentrum voor hulp.
Er is een gasgeur waarneembaar nadat het apparaat is geplaatst
- Controleerde volgende zaken: -Staat er een gasklep open?
- Staat de gaspijp in dejuiste positie en is deze in goede staat?
- Als u een gaslek vermoedt, moet u geen vlam gebruiken om dit te controleren.
De oven wordt Niet warm
Staan de bedieningsknoppen van de oven in dejuiste stand?
De bereidingsstijd duurt te lang
Is dejuiste temperatuurgeselecteerd?
Erkommenrookuitdeoven
Het is raadzaam de oven na elk gebruik te reinigen. Als vet dat bij het bereiden van vlees is gespat Niet wordt verwijderd, za dit resulteren in een onaangename geur en vindt er rookontwikkeling plaats wanneer u de volgende keer de oven gebruikt. (Zie het hoofdstuk Reiniging en onderhoud.)
Het ovenlampje gaat Niet branden
- Mogelijk is het lampje kapot. Zie de betreffende paging voor instructies voor het verwisselen van hetlampje.
- Als u de bovenstaande zaken heeft gecontroleerend en de oven toch nog Niet maar behoren werkkt, neemt u contact op met het dichtst bijzijnde servicecentrum voor hulp. •Model en productienummer (PNC of ENR).
7. MILIEUBESCHERMING

Dit apparaat is gemarkeerd volgens de Europese norm 2012/19/EU inzake Afval van elektrisch en elektronisch apparatuur (WEEE). WEEE bevat zowel verontreinigende substanties (die negatieve gevolgen op het milieu+kunnen hebben) en basiscomponenten (die hergebruikt+kunnen worden). Het is belangrijk om WEEE aan bepaalde behandelingen te onderwerpen om alle verruilende onderdelen te verwijderen en op
juist wijze afstand van te doeon, en alle materialen te herstellen en te recyclen.
Particulieren können hier een belangrijkke rol in spelen door te zorgen dat een WEEE geen milieukwestie worden; het is essentieel de volgende basisregels te volgen:
- WEEE mag Niet als huishoudelijk afval worden beschouwd.
- WEEE要去 worden overhandigd aan relevante inzamelpunten die worden beheerd door de gemeente of door geregistreerde bedrijven. In veel landen bestaat er voor grote WEEE een ophaaldienst.
- Als u een新模式 apparaat koopt, kan het oude bij de leverancier worden ingeleverd, welke het gratis bij u要去 afhalen op een eén-opéén basis, zolang het apparaat van soortgelijk type is en bezelfde functies heeft als de geleverde apparatuur.
O△HΓIΕΣ AΣΦΑΛΕΙΑΣ
PPOsOXH:Kata nV diapkeia aoupyia c n oukeun kai oI pooaioe c TIIpaviec eepauivotai. Mny akoumuTATE n OoKEuñ
Paiia expi 8 etuv dve npetie va anoiaouv th ouokeun xwipc tnv eonntia evnlaika
H xpnon nns ouokueun cnto piaidia naiikac meyaalutepnc twv 8 etwv ,atoa u e iomegaevn kivntikn ,vontkn kai aann ikavotnra n atoua xwpic tpoyeoteepn emteipia kai yywn oitoupyiac ts osoukeunc ediKec ,muopei va yivtai mvo katw aTTOV TNI BLEyN atouou TPOU ta EITIILTEI KAI ta kathetaynei.
Mny aqnvete tataiaiava taiouv me tn ouakeun
Mny aqnvete Ta Tiaidia va kavouv TiC epyaoiec ouvtnpnongkai kaapioou Tns ouokueunxwpi Tnv EiBAAeyn Evnlaika
PPOsOXH! Mny aTouapkuvote aTTO Tnv ouokun otav ayepuee TAYNTa Tlouoia oE AITapa n TnyaviZeTe
Eav apTnAeI I nV bokmuoTe va Tnv oBnoTe vepo. diaKoptye Tnv 1oupyia Tns oukeunc kai kaLuyTE TIG eVa KaTaki n Eva mN EUFAkTO UpaOma.
IPOZOXH:KivduvoC Tupkayiac! Mny aqnvTe avtkeiEvva eTavw OTNV eTia ayepmuToC.
- Katá tyn δiaprkeia λεitoupyiας η συοκεύν θερμaivειαι Εξαρετικά. Mny ακουμπάτε τα θερμavτικό στοιχείαστον θαλαμο tou φούρνου.
IPOsOXH: Ta eupavn kai ukoan s paoaon s oieia tns oukeunc mTpei va utepeapauv kata nV diapkeia tns leitoupyia ctns.Mnv ahpve ta piaia va pnoiaouv tn oukeun.
- TiaTov Kaθapiσοτης Σιακεύνις δεν πρέπειν αχροσιμοποίεις,ξυσήρία, λειαντικές Οωσίες ἡύρματάκι Kaθapiσούν γίαν τα Kaθapiσετε Πγν γυλίνη πόρτα του φούρνου,τα Αλίκα autá μπόρείν αγδαρουν τήν επιφάνεια και ντροκαλέσουν το θρυμματισόμο του γυλίου.
O thalaoos tou ouptapiou kato to fooupvo mtopéi va utepεpμavéi.
- Διακόψτε Νν λειούργία του φούρνου πριν αφαρέσετε Τ Ππροτατευτικό καλμμα .Μετά τον καθαρισό τοῦθετείοτε Τ καλμμα σην θέση του ακολουθώντας τις ὅηγίες ἔγκαταστασής.
XpnoioutoieTeepoKataaAynoYia xpnoan oqupvo.
Mynxnpoiotioite Kaatapiotikéç unxavc atou, yia tov kaatapioo tns ouokun.
- AttojakpuveTe Touc atouc Tou exouv oxnpatioe i ETTAVW OTo KATTAKI PPIV TO avoiEeTe.
- Περιμένετενα κρυώσει TO KAΤΑKI TTπΙV TO Kλείσετε.
PPOOXH:πριν δokiασετενααλαξετεTov λαμππηρα φωτισμού της συοκεύς,βεβαιωθείεότι η συοκεύν βρίσκεται εκτός λειτουργίας.
Eav n ouokeuun exei totooetnthetai eTavw oe Baoon otnpiignt péttei va a i w i t e OTI dev utapxikivuoc va yloiortnoi atto Tny baoon.
- Σύμφωνα με τούς κανονισμός καλωδιώεων, στο καλώδιο εγκατάσταόης πρέπεινα ενομαιωθεί ενα μέσο ατοσύνδεος ατήο το δικτuo ρεύματος που επιπρέπειδiaxωρισόμτων επιαφών σε ὄλους touc πόλους παρέχοντας πλήρη ατοσύνδεος uπό συνθήκες uπέρτασός ρεύματος katηγορίας III.
- Σις Μόνηες σύνδεος πρέπεινα αυγράφεται το εἰδος του καλωδίου σύνδεος με τήν παροχήνλεκτρίκης εύργείας, του πρέπεινα χρησιμοποίθείλαμβάνοντας ἄτόψιν τήν θερμοκρασία που μπορείνα αυαπήŋχθείσην πλάτη τής συσκεύς.
Eav to kaawio ouvdoanc me nvy npoxn nAekptiknc evepyiaac eupaviiz eopoc petie va avikataoatae i aio ao no aTTO EIOKO 0ET TPO Biathevtai aTTO aonueia TexviKncs Eutnpctnoans Gias Service.
PPOXH: Ppokéiévou va aTTOpeuxθé i n Tuaia εVεpyoToiOnn Tou θερμoδiakóTTn aσφaλεiac, n OuaKεu n autn δev TTpeTTe i va TpOpoδoTeiTa i éω EξωTEPIKO u, oTiwC xpvOδiakóTTn n va OuvδEθε i σδiktuo Tou OTIOIoU n TpOpoδoσia kai n δiakOTTn Tns TpOpoδoσiac yivetai autóμata.
H ouokeuun autn TpETe i va Eykataotaote uupwva e Touc IOXuovTEc kavovioouc aTOKaIOTiKa o Xwp Toun Egaepizetai kaA. Diabaote TTPOEKTiKa TIG OdyieC TPIV DOKIaOeTe va EykataoTnoTe n va AIEIToupynoeTe Tnv ouokeuun.
- OI obnyiec autec apopouv ota kpatn twv onloiWv to uuBoAo avaypapetai otnv ouokueun. TepiTTwon TTou OTNV ouokueun dev avaypapetai to uuBoLo tnc xwpac tha pnte i va avaZntnoTe TExVikec odnyiec TTou _ aoc kaOboynnoov OTIC TPOITTOINoeic kai OTIC TPOUToHoeic eIToupyiaC TNS ouokueuc OTNV ouykekpiEvn Xwpa.
- Pniv atto tnv EykataoTaon BébetaiωtheiTe oTo T to diktuo Tnapoxng kai oi Tpoiaaypaegcs Tou Ktnpiou (Eidoc aepiou kai Tiieon aepiou) kai n puθmuion tsg oukeunc eiva oumbata. Oi npapaeTpoi puθmuion tsg oukeunc avaypapovtai OTNV Etiketa μe ta xapaktnpiotika.H oukeun δev eiva ouvdepevn μe mxavioμo ataywync twv aepiw kaunc. H ouvdeon kai n EykataoTaon μe tov mnxaviouo Εaepioouo TpétTEI v A IApoi Tnv ioxouova vmotheoiα . Epiotatai n Tpooxh otnv tnpon Twv Tpoiaaypaawv Eaepioou.
H leitoupyia iaç oukeuçáepiou tapáyéi θερμótnτa kai uypaσia oTo χwpo éykataoTaonç
tns.BeaiwTe 0ti o xwpoc tnC kouzivaac eaepiZetai aTnoteAeouatika: povtioTe wote o aywooi eepioouva Tnpaevouv avoiktn n EykataoTeIOte mXavioouc eepioou (Eeepiotnpes). H ouvxnc Ieitoupyia Tns OuaKeuNCS MTOpei va aTaite Tnv EYkataoTaon TTpOoTeou mXavioou Eeepioou ,auEnmuyn IOxuc Tou uphiTAmEvou Eaepiotnpa.
NL Pas de volgende procedure toe bij hetplaatsen van uw oven.
1- Plaatswoven op+zijn gebruikspositie en maak de hoogte- en uitlijnaanpassingen.
2-Bepaal de H-en Y-afmetingen zoals is aangegeven in de afbeelding en markeer de wand waar de oven aan bevestigd zal worden. (Afbeelding A)
3- Bevestig de wandmontagebevestiging (in de servicezak) op de wand met gebruik van de plug en schroef (niet meegeleverd). (Afbeelding B)
4- Duw de ovenaar achteren en vergrendel de bevestiging in de sleuf aan de achterkant van de oven. (Afbeelding C)
De bevestiging zit goed als dele 20 mm diep in de sleuf worden gestoken.
GR Akoouohte tynapakatw diakia kata ntooetan tou oovouac.
1-TOnoTeTnTo foOpvo oac stn Theon xponc kal npaymuToonuOnTe tic puOioeic tou wc npoc to Uosoc kal nV eniune6dtnta.
2- IpoosbiopioTe tic daotaeic H kai Y onwoc aivetai otyn ekova kaonmuadsete tvtoxo otoo ofoovoc. (Ekova A)
3-TOnoTehtote oTo vToEApTmaOtepeWOnc (PpioKetai OTO oakoulaki Oepic) xpoiouonoiwvtac eva ounat kui a biia (Eev npexetai). (Ekova B)
4-2πρωξετο φούρνο πος τα πισω και κάνετο το εξάρτημα στέρεωσηςν απερασει στην εγκοίη στην πιδω πλεύρα του φούρνου. (Eikóva C)
To EApntma oTepewocn OaLeitoupyei onwoc npoBaeetai otav exe iioaXei oE aBooc 20 xla. meo aOnv evkonntou.
BG Pn noctabHeTo Ha ypHaTa cIeBaTte cIeHnTa npOeDypa:
1-ПoctabeteфурнataHaMaTOTO,KbIeToSeceN3NoJI3BaиЯHnBEnIpaIte.
2- OnpeJeIe MeKn H n Y, KaKTo e o6o3NaueHo Ha fInypaTa n MapKnpaTte cTeHaT, Ha KoYTo 1e ce 3aKaun yPpHaT. (NInypa A)
3-MontnpaTte noctabKaTa 3a cTeHa (B cepBn3HaTa TOp6uHa) KaTo n3no3lbate uΦT n BnHT (He ce npedocTbA). (Hnrgya 5)
4- 6N36yTaIte ΦypHaT a Ha3aJ KaTO NOCTaKaTa 3a CTeHata Tpe6Ba Da ce HameCTn B OTbopa OTaD HaΦypHaTa. (ФИгураВ)
Ioctabkata yhkuonHpa kOrato e nbxHaTa 20 MM B OTbopa.
GB
De fabrikant is Niet aansprakelijk voor eenige onnauvkearigheid die hetgevolg is van drukfouten of transcriptiefouten in deze brochure. Wij behouden ons hetrecht voor zo nodig, ondermeer in het belang van een gunstiger verbruik, vvizigingen aan producten aan te brengen, zonder dat dit gevolgen haeft voor de kenmerken ten aanzien van veiligheid of functionering.
GR
O kataaekuaatc h 1vai uteuhuoc yia otoiahntote avakpiieia tou mtopei va tpoekuue ato nTv EKTUTWON npaaotikacpalaata TIO pEIOA TO qulalio. O kataaekuaatc diatnpei to dikaiwma va tpoei e TPOITOTIOINeCOTA TPOIovta otav auto aattiteitai, poc to ouqepov twv Katavaawv eoov dev thyiv ta xapaktniptikacnau apopouv tvn aopaaleia nTn leitoupyia
BG
PpOIm3BODInTeJIeKlApnpaYe Ca Bb3MOxHn rpeXKn npi neaTeHeTo n pReBoJa Ha Ta3n 6poUpya. 3aana3BaMe npabaTa 3a noo6peHna H npodykTa 6ez PpOMraHa h OCHOBHnTe XpaKTEpIcTNI.
SimpelGids