CCG6503PW - плита CANDY - Бесплатное руководство пользователя
Найдите руководство к устройству бесплатно CCG6503PW CANDY в формате PDF.
Вопросы пользователей о CCG6503PW CANDY
0 вопрос об этом устройстве. Ответьте на те, что знаете, или задайте свой.
Задать новый вопрос об этом устройстве
Скачайте инструкцию для вашего плита в формате PDF бесплатно! Найдите своё руководство CCG6503PW - CANDY и возьмите своё электронное устройство обратно в руки. На этой странице опубликованы все документы, необходимые для использования вашего устройства. CCG6503PW бренда CANDY.
РУКОВОДСТВО ПОЛЬЗОВАТЕЛЯ CCG6503PW CANDY
ПЕДУПЕЖДЕНЕ: Бытов Элькторпбор и сю оTKрьтbie част bo Время paBOTbI MOrут harpeBaTcЯdo ВсICOKО Temператypы. Собл�дайе OCTорожность, He doTPaRnBaI TeCbdo HIX.
-Дети моложе 8 Лет He Должны пибліжаться КсытOBOMу пибору 6e3 потуного надзopa.
-ДанныIM 6byTOBbIM 3NeKtpOnpnpOOM MOrTy NOIb3OBaTcRdTeN CTapSe 8 JET, a TAKKe IIOuC HApUSeHHbIMnФИЗУССКIMN ИПИ YMCTBeHbIMN CNoCObHcTЯM NII C OTCyTcTBnE M HAnIeJaxeero ONbITa B TOM cIpyae,ecNl OHN HAXODYrTcPoi Na6JIouDeHnEM IN PpOINHCTpyKtUPOBaHbI OTHOcHTeJIbHO 6e3OpAChORo IcNoJIb3OBaHnRA 6bITOBOrO pIn6opa,a TAKKe,ecNl OHN OCBeIDOMJIeHbI O6 IMeIoUxXcR ONaCHOCTrX.
- He pa3pe7aaiTeJeTAmIgpaTbC6blTOBbIM np6bOpom.
- Unctka n o6cnykubAHne 6bITOBORO np6opa He dJONKhbl BbIIOHrTbcra DeTbMn 6e3 HaI3Opa B3POscNbIX.
PNEyIpyEKeHHe: PnroToBJIeHne NnIa Na BapOChNo IOBepXHOCTN C nCnoJIb3OBAHNem Knpa NJIa MacJa 6e3 NaJIeJkaUe I npICMOtpa MoKet 6bITb ONaCHbIM IN MOKET pINBeCTN K NOxApY.
- HNKOДA He nbIaIteCb nOraCnTb pIaMЯ BOdoB. BbIKHouHTe 6bITOBoJ 3JIeKTPoPnPbOp, nHaKpoIe pIaMЯ KpbIshkoJ, nJIa OrHeCTOnKOI TKAhblU.
- ПРЕДУПЕЖДЕНЕ: Onachocь B03rogаня: He ИстпьзуITE Варочию NOBepxHOCb ДЯххеня Ha HejпрдмETOB.
- 6bITOBOI npIBOp BO BpemraaboHarpeBaOTcdo BBICOKo TemnepaTpybl. CoBIOdaTe octopoxHoCTb, He DToParINBaIteCb DO 3JIeKtpOHarpeBaTeIbHbIXJlEmeHTOB, paCNOLOXeHHbIX BHyTpNInei.
ПЕДУПЕЖДЕНЕ: OТкрытbie частnbуго олесью вовога bo Время erо paBOTbI Moryt harpeBaTcЯdo ВсICOKО Temператуbl. He pa3peшaite podхODITb KHeMy MaJIeHbKIM DeTAM.
He nOJIb3yIteCb IJRA YNCTKIN CTeKJIaHHoN DBePcbl Neu a6pa3NBbIMN YNCTaUIMN CpeDCTBAMN N OCTpbIMM MetaJIInueCKIMN cKe6kAmn, TAK KAK OHN MOrY T IOUAPAanT bIOBExHOCTb, UTO, B CBOU OUepeDb, MOKeT PpNBecTN K pactpeckBaHnIO CTekJa.
BHytpenHnXnHnIOBepxHOCTb BbIDBnXnHOraIuKa MoXeT HArpeBaTbcr Do BbICOKoTemnpaTpybl.
- Пара сятуем оррахдени песь должна быт bыкюуета. Посл e bыногеня чистkn оррахдени должно bыт bустановлесно на мecTo, кak haicapno винструкци.
- IcnoJIb3yIte TOnbKO TaKoI DaTUnK TemNepaTpybl, KOTOpBIn peKOMeHIOBaHДJIЯ 3ToI NeuN.
- He noJIb3yI TeCb I dIa YIcTkn IaporeHepaTopoM.
-пегд OTкрьванем ИЗ Крьшки Следует удалит b c Hee политю кидков.
-пени за крсы ванем Крсыдаму Варочноьерхон IOCTbIHyTb.
ПРЕДУПЕЖDEHNE:Чтоби ИЗбжать пожени злелкгчесКIM TOKOM,пегд замен Лamны поверпte,чTo 6ытOBон Злелкгponрюбор ВьIKluон.
- ecn 6bITOB0J 3JIeKTPoPnp6Op yCTaHaBnIBaETCa Ha OCHOBaHm, TO HeO6XODIMO pInHrTb COOTBETCTBYIOUne MEpbI dIg TORO, YTO6bl OH He MOr COCKOJIb3HyTb C OCHOBaHn.
CpeDCTBa OTKJIouHnO T OCHOBhIX ZePeN PiTaHnY, y KOTOpbIX eCTb 3a3Opbl MExdY 3amblKaIOUIMM KOHTaKTAmn Ha BCex POnIocax, ObecneuBaIOUme NpHoe OTKJIouHnE B YcNOBmX IpeHaPjRKeHn KaTeOpmII, DoJxHb MoHTnpoBaTbcr B UcEB B COOTBeTCTBnC nPaBUNAMN 3JIeKTPOMHTaJa.
B INHCTpykun DoJxhen 6bItb yka3an Tnnp 3JIeKtpoShhya. PpN 3TOM DoJxHa yUHTbBaTbcra TempepaTypa 3aHnei CTeHKn 3JIeKtpoPnp6opa.
B cnlyae noBpeJeHnna shHpya nHTaHnna OH doJxhen 6bItb 3ameHeH cneuaJIbHbIM shHypom nTaNnra, KOTOpbI MOxHO npnoobpctny npOn3BOIDTeJIy IIny aReHTa IO texo6cnyKuBaHIO.
BHIMAHNE: UTo6bI n36exaTb ONaCHocTn, CB83aHHO Co CnyaHbIM c6pOCOM yCTpoiCTBa TeJIIOBOI 3aIITbI, daHHbI 6bITOB0 3JIeKTPoPi6Op H He DoJxKeH 3aIITbIBaTbcS cype3 HapyXHbIe nepeKJIIOUaIOUe yCTPOiCTBA, HApPIMep, TaIMep, INI dpyrOe yCTPOiCTBO, KOTOpOE peYJЯrPHO BkJIIOUaET N BbIKJIIOUaET 3JIeKTPoPi6Op.
-Даньий битовий пибор должень устанавлваься в COOTBETCTBUN C DeiCTBYUOMNпразвлами, И толькВ Xopoшо поветрпьаemьхnomeшия. Перед установский ини NGIOBJ3OBAHnEM bITOBORO пибора пpoчтite NHCTpyKciu.
-Данная ИНСТРУКЦЯ ИМeelТСИЛТОЛБКВТOMСЛЧАE,ЕСИНHAбITOBOMПиБОpeIMeETCIMBOJCTPANHbI.ECINTAKOROCIMBOJIa HET,TO HeO6XODIMO OБрATNTCBK TEXHnueCKOMY OINCAHINO,B KOTOPOM CODEPKaTcHNeO6XODIMBIE INHCTpyKUINOTHCINTeLbHO MOnDΦNkAuzIN ПиБOPaBcBTOBTCTBmCUCNBAyATAuINB DAHHOCTPAnHe.
"peed BblnoHneHem yctahOBKn npOBepbTe, YTO MeCThble ycIOBnpaCnppeJeHnra (TIN ra3a n daBHeNe ra3a) nperyInpOBKn np6opora coBMeCTmbl dpyr c dpyrom";
"ucnoBnpeyunpoBOKdIaHHoro6bITOBOROpnp6opa yka3aHbHa npJbike (IINB nacnopTHoTabnUke)"
"DaHbIb6bITOBoI np6Op He nOcOeDInHeK BbITJxKPe npOyKTob CropaHn. OHdoJxH6bITb yCTaHOBJeH N pOdkNooH B COOTBETCTBmC DeiCTByUoUmm IpabuImAm N oDKLIOUeHn. Heo6xoDIMO obpaTntb Oco6oe BHMaHne Ha Tpe6oBaHn OTHOCHTeNbHOBEHTINLAuzn".
- "Экплуатуся ra30ов пintы сорpoхдаетсь blydeleHem tenla n BnaB KOMHaTe, rde yctaHOBneHa pNTa.
Y6eHNTecb B TOM, YTO KxHJXOHOBHTINHPyETc: OTBepCTnE cTcTBENHOBHTINJIaCnI He DoJXhbl 6bITb 3aROpOKeHbI, INN yCTAHOBtE MEXAHUeCKoe BEHTINJIaCIOHHOE UcTPOiCTBO (BbITJkka). Iprn npoDOnJXnteJIbHOM n HHTehCNBHOM NcPONBJ3OBAHm Neu MoKET NOTpe6oBaTbcr DOJONHInTeJbHaB EHTINJIaCnI, HApPIMep OTKpbIBaHne OKHa, INN 60Jee 3oQfKeTNBHaB ABEHTINJIaCnI, HApPIMep, YBeJIuHcHeNpOIN3BOJNTeJbHOCTN BbITJkKn (ECNJ OHa NCNOJIb3YeTc).
BHIMAHHE: PnncnoB3OBaHn rnpna HapxHbIe deTaN MoYr HArpeBaTbcr Do BbICOKo TemnepaTpybl. He pa3pewaTe DeTm NODXODNTb K Neu.
OCTOPOXHO: BO n36eXaHne OTKNoHEny yCTpoiCTBa OT BepTnKaIbHOJ OOn DoJIxHbI 6blTy UcTaHOBJeHbI CpeiCTBa CTaBnI3aU. CMOTpIte HNCTpyKuIN Ha cTpaHnce 142 daHOro pyKBOdCTBa.
1. OBUNE CBEDEHNA
БларпьмВасяпкуншeroидени.Чтоби ICПОьвсВе BO3MOxHOCTN Baшew HOBOI ППТы, СпдуET BHMATENBHO npочесьдадноe pykoBoDCTBO.
BHHMaTeIbHo IpoUHTte pyKOBoDCTBO, B HEm CoEepKntcBaXHaN HOpMaun OTHOCHTeJIbHO 6e3OpaCHOyCTaHOBKn, EKcPJIyaTaUN N o6CJyKnBaHnI PInTbI. CoxpaHnTe 3TO pyKOBoDCTBO, UTo6blO6paaTbcra K Hemy B 6byuem.
Bcnyae npodajn pntbI dpyromy BnaJeIbCy, nIepeBo3Kn ee Ha dpyroE meTo, daHHOe pyKOBOCTBO DoJXHO 6bITb nepeDaHO BMecTe C pINToN.
- Пи по ВКЛЮЧЕн И ПЛNTы МОжЕ ВДДЕЯТСДБИС
- He npяТьМ 3aIaxOM. 3TO HOpMaJIbHoe YBLeHne, И ВДДЕЯTOПСД 百IM YBЛЯJOТСЗ 6e3BpeДHBIMN. B 3TOM CNYaepeKOMeHdYETcR BKЛJOHTb NpCTUO PJIITy Ha 2 Yaca.
B cootbETCTBm n Tpe6obAHnmaMn FeedepaJIbHoro 3aKoHa N261-Φ3 OT 23.11.09 n PocTahOBnHeHem PpaBInTeBJCTBa PΦ N2 1222 ot 31.12.09r., HacToaIeN ToBAP cA6XeH eNfOpMaueH na PyccKom J3bIke o KIacce 3HepReTnueckOe 3ΦΦeKtNBHOCTn B VNDe CneuaJIbHOH 3TNKeTkn, KOtOpaa DoJKNha 6blTb PaMeueHa Ha IInZeBOu qACTn pIn6bopa B MeCTe npOdaJx nOTpe6ntenlam.
1.1.CNMBOJIbI,NCPOJb3yEMbIEB DAHHOM PYKOBOdCTBE
Дллушero NOHIMANЯпрдставнHoB DаHHOM pyKOBODCTBe INΦopMaци Длг ВыIDeJIeHЯ INΦopMaци ИСПОЛьЗИТССLEДУЮШМСИВOLАМИ:




Информая OTHOCHTьно Мер 6e3OиаCHOCTI
HOpMaun OTHoTbHO OxpaHb OkpykaHcI cpebl
3TOT 3JIeKTpOpiN6Op COOTBETCTByET Tpe6oBaHnA M DInpeKtNB EbponeiCKoro 3KOHOmUneCKoro COo6uIeCTBa
-Дя поключеня кэлькторсети 220-240В.Подключенефаафааинфаа-HeiТраль.

IocneDyUoJiaa 3aMeHa npOBoJa DoJIxHa OcyuJeCTBnTbCra TOnbKO cepBnCHbIM ZeHTpOM IIN ABTOPiBaHbIM CneUaJIInCTom. IpOBoD dONJKeH 6blb 3aMeHeHa npOBoD C TexHnueckmXapakTePncTnKaMn, NdeHTNuHbIMn PpeBdIyUeMy.
HomHaJIbHbIe 3NaYeHnCeYeHn npoBODnKOB Ka6eJnTaNHe:
| HOMINAJIbHЯ MOUCHOCTb | HOMINAJIbHoe HaIIpJXeHne | HOMINAJIbHbI TOK | KaIbeJb ПИТаHЯ |
| 2.3 kBt | 220 - 240 B | 9.1 A | 3 x 1.0 MM2 |
| 3.5 kBt | 220 - 240 B | 15.9 A | 3 x 1.5 MM2 |
| 4.0 kBt | 220 - 240 B | 18.2 A | 3 x 2.5 MM2 |
2.6. NOДСОЕДИVENHENE ΓA3A
IodcoeHHeHne ra3a K pInTe DoJXHO BbINOHNrTbcB CCTporOM COOTBETCTBnC DeiEChTBUOUMN PpaBUNaM N HOpMaMn.
- Ha 3aBoJe-n3rOToBnTeJe pIITa 6bIa OtperyNIpObaHa dIra pa6oTbHa rae, TIN KOtOporo yka3aH Ha 3tIKeTke, PpIKKJIeEHHO prdOM C BnYcKnHbIM nATpy6kOM dIg Ra3a, KOTOpBI paCnOIOKeH Ha 3aHHe CTOPOHe IJIHTbl.
Поберът,чTo Bblncnoь3уete ra3,TnKOTOPoro yka3aH Ha 3TNkETke. EcInncnoь3yembl ra3 He COOTBeTCTByeT yka3aHHOMy Ha 3TNkETke,obpatntecb Knaparpafty "Ipexod HaДpyrne Tnblra3a".
PpOBepbTe, yTo daBHeHne ra3a COOTBeCTByeYka3aHHOMy B Ta6JIuIe (nocLeJeHnE 3 cTpaHnUbi IHCTpyKUn). 3TO Heo6xOJIMo DIA NOCTUNKeHnMaKcImaJIbHOJ 3ΦΦeKTUBHOCTN, pIn MmHMaJIbHOM Notpe6JIeHN.
Iodcoedunehe 2a3a c nomoubjo Jecmko uu u6ko Memaiuuecko mpy6bl
-Подсоeинehне ra3a может 6bIb BынонHeO C nOMоцью rng6kOурби n3 НржавeJOSei CTaJIи, OTbeauJOSei Tpe6OBaHnЯm cTaHdapTOB no 6e3oJacHOCTn.Тakoe родсоeинehнe ra3a nCNoJb3yETcR, ecnВ dajbHeNшeM He hyxHo nepeDbIrataB pInity. B pInite nCnoJb3yOTcR ra30BbIe coeDINHTeIN G 1/2 (ra3OBaer pe3b6a 1/2 duimMa).
I O o c e o u H e H u e a 3 a c I O M O u, b u 2 u 6 K o 2o HememaJIuueckozo wlaH2a
- Ecni DonjHa o6ecneuBaTc B03MOXHOCTb NpeeBnraTb Pnnty, To nIPOJCOeINHeHr Ra3a MOxHO IcPONb3OBA Tb I6Km IShaHr, OTBeuaOUs Tpe6oBaHnIaM DeiCTByUOux npaBnI HopM. I6Km ShaHr DOnjKeH 6bIb HaDexKHo 3akpenIeC nOMoIbX OmyTa.
-Подсоeинене ГбкогошпангаКПЛNTe BbINOJHЯETcA,KAK OПИСАН HИХe.
-TaK kak n6kni shnaHr pacnonaraetc 3aDn pInTbI,To OH 6ydet POnDBepratcbraBO3dEiCTBnIO TempepaTyP bIe 30^
-Динhaшланга должна 6bItb He 6oJee 150 cm.
-卍nahr He doJxhen noBepraTbCRA Bo3deIcTBIO npa.
-He donyckaetca nepere6aHne nHaTaeHne 7naHra.
-He DoIoxHo 6bItb KOHTaKToB UJIaHra C OcTpblM INpeImTaMn.
K ShlaHry DonJxH o6cneuBaTbcra CbO6oHbI DoCTyn BblONHeHnpeNIOuHuecknx npOBepOKero COCTOHN.
-Heo6xOJIMO nepiOnuYeCK npOBepaTb coCToHne ng6koTo 7nHa, kaK OINcaHO HnKe.
HaIJnAHre He IOnXHO 6bITb TpeuH, nope3OB nIOdropeBux MeCT.
-Ⅲnahr dOJIxKeH ocTaBaTbCra n6Km. He dOnyckaetc rO TBePdBaHne MaTePnaJa, n3 KOTOPOro n3rTOBNeH ⅢnHaR.
HaXOMyTax, KOTOpbIMN KpeINTCa ⅢJaHr He DoJxHo 6bITb pKaBcHbI.
-ⅢJnahrdoJIkeHINcnoJIb3ObaTbcra He 6oJe 5JeT.



Iocne BbIOpHHeHnIOCoEInHeHnra3a npOBepbTe BCE coeHNHTeIN c NOMOJIbU MbJbHOro pactBpa. He IcNoJIb3yIteДЯnpOBePKuTeueK ra3a pIamr.
2.7.IPEXOD HAДPyrHTE TINbI ΓA3A
Дяпсявая пintы на дугов тин ra3а дожныбьт bblonHeHbОпсанны Нжке ретулpoВК (БыпогнюТСКBAлфицрobavHHbIM TeXHkOM).
IynepebOda nIHTbHa dpyroT ra3a Heo6xOIMOB bInOJIHITb OINCAHHbIE HIXe Oepaun.
ПлNTы Oтergyнрованы дя paбOTы Ha пирогнom ra3e, И NCПОьБ3уETсЯ UNHDPчecкий-coeINHTeJb (1).ДлЯ NOДCoEДИНЕп�шlaнra ПОДЧИnpИрOнOro ra3a K UNHDPчecKOMy coeINHTeILO Mожет NCПОьБ3OBaTbcЯпөрхODнКшlaHra (2)cynlnotHTeNbHoi npOKJaKDо.
Длп подсоевиньшалга подчсхижногу Heфтяногу ra3a K цлиндрочecOMу-coEDINHTeJIH MОжET 6blTь подсоевинь пөрөхдннкшалнга схижногу Heфтяногу ra3a (3) c улnotнельнорpoКлдко.
PeaynpoeKa u 3aMeHa opcyHOK 3aMeHa opcyHOK
-
CHIMMTE peWeTkn.
-
CHIMMITE KOJIpaKIN KOHOpOK IN KOHOpKN.
- BbIbeHnTe fOpcyHKn, IcNoIb3yJ dIy 3TOrO KlnOu Ha 7 MM, IV BBeHnTe HUxHbIe fOpcyHKn B COOTBETCTBnC TINOM IcNoIb3yEMoro r3a (CM. Ta6NlCy TInOB r3a, IpeDCTabJIeHNHyIO Ha IocJeDnHex 3CTpaHnIax DaHHOrpyKOBoDCTBa).
-После установки HOьвix Форсунок соберпг КОнфорки, Вьюнов ONИССHAHьIE ВьΙΙse ONEpaцINВ OБраTHОДСЕДОВАТьHOCTN.
PeaylupoeKa MUHmAbIbHOzO nnameHu KOHΦOpku
PeeyuupoKa MuHMaJIbHO2O pIaMeHu KOHΦOpKu dJIy pIum 6e3 ycmpoucmea 3auumbl om nozacAHua pIaMeHu, a maKke c ycmpoucmeamu 3auumbl om nozacAHua pIaMeHu, u C KhoKou 3axueahua pIaMeHu
- YctaHOBInTe pykky peryIaTopa nIamaHn KOHΦOpKn B NIOJKeHne MmHImaJIbHOro nIamaHn, a 3aTeM CHIMITE pykky peryIaTopa nIamaHn KOHΦOpKn.
- Ecnn Tpe6yETcBbIOnHnTb nepexoD co CxKJKeHHOrO HeΦTnHO r3a Ha npnpOHyB ra3,TO nobepHnTe 6aIpaChbY BnHT r3OBbIX KJIanaHOB Do ynpaNo YacobO CTpeNke, IcnoNb3yJnA STORo OTBePTKy.
- Ecnn Tpe6yetc BbINOHNITb nepexoC co CxNKeHHoro HeTARHO
ra3a Ha npnpoDhbl ra3, TO NOBopauHbaIte 6aIIpaChb BnHT ra3OBbIX KlaIaHOB NO yacBOI CTpeIke Do TEX nop, Noka Bbcota nnIaMeHN He 6yDet paBa 6 MM.
- Послевылоченя зто ретулировки установпесуну.
-Пюоверыpeгуларовky,бьICTpo nepeBEДя руку PeryIaTopa ПlaMaHи 3 NOJIOKeHn

MaKcImaJIbHOrO pIaMeHn B NOJoxeHne MInHMaJIbHOr OPiameHn. EcI npI 3TOM pIaMn He rachet, To peryInpOBKa BbINOJIHeHa npaBnIBHO.
B pIITax, cIa6KeHbIX yCTpOINCTBOM 3aIHTbO IT NORACAHN pIaMeHN, peryIINPOBKa MInHMaJIbHOrO pIaMeHN MoKET 6bITb BblONHeHa C NOMOsbIO BnHTa B Kopnyce KlananaHa. EcIn pIITa cIa6KeHa KHOKNo 3aXnraHn pIaMeHN, TO dJa BBIOINHeHN peRyIINPOBKn MInHMaJIbHOrO pIaMeHN Heo6xOdImo ChrTb KOHOpKn, BepXHIOU KpbIiKhU nPaHeNb.

- Ecni nIiTa cHa6Jea KnaIaHOM TepMoCTaT, TO IJIy BbIOnJIHeHnpeRyIInPoBKn MInHMaJIbHOrO PIIaMeHN Heo6XoIIMO ChrTbKOHΦOpKn, BepxHIO KoBIuKU NpaHEnb.

Газовая Духовka
- CHIMMTE 3aHIOKpbIiKy (pnc.3)
- Chmnte nepexoHnK φopcyHKn (pnc. 4)
- BbIbePhnTe opcyHky, nCNoJb3yJ dJa 3TOr KJIou Ha 7 MM, N
BBePHTe HxKhIe 0pcyHKn B COOTBETCTBm C TINOM
NcNoIb3yEmoro r3a (CM. Ta6nUy TINOB r3a, npeIcTaBneHnyo Ha nocIeHNx 3 cTpaHnuaX daHHoro pyKoOIOCTBa) (pnc.5)
-После устоановки HOBOI Форсунки, ВьлОЛнИВ ONИСАНHBLE Bыше onepaци в образноюватьhoe.
-Дпя пиюдноу ratаи скнженьто Heфтаяно rata 3a3op ropeken paBeH 4,5 ± 0,3 MM (pnc.6)

puc 3

Puc 4

2.8. PA3MEPbI PJIITbI
| 50 x 60 | 60 x 60 | |
| Выковая (mm) | 863 | 850 |
| ШирINA (mm) | 510 | 598-600 |
| Глубина | 600 | 600 |

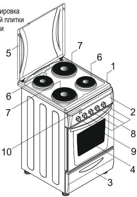
2.9.ObuN BnI N KOMNOHEThbI PJIHTbI
HactoIeepykoBODCTBO NpIb3OBaTeIHaIncAHO DnI HeCKOJIbKnx MoJeIe. IIO3OMy HekOTOpIe FyHKUIN, Yka3aHHbIe B DaHHOM pykoBODCTBE, MOrTy OTCyTCTBOBaTb B BaSeI PIIInTE.
5-CTeknHaHnaIInMeTaanHueckaBepxHraKpbliuKa
1-Pa6oay noBepxHocbI pIITbI
2-Панель ураленя.
3-BbIDBnKHOJIK
4-Доверда духовки (певедая деврca)
6-ManeHbKa KOhOpka
7-Бовьшая конфорka
8- YIbTpa 6bIcTpBIX KOHdopok
9-CpeHnKa KOHOpka
10- Lébarpeeetka
11-Правая peu
12- Puykny npapBneHnA
(perynipobknnpameH) KOHΦopok
13- Puyka Tepmoctata DyxOBKN
14-Khonka3axirahan
TJAMEHN JIN KHONKA
BbIKIOUaTeJIa BEHTIJIaTOpA
15-KhONika BbIKIOUaTeTnA
JAMMbI OCBEueHnB DyXOBKe
16-Pyka yctahOBKn TaHMepa
17-HoKka c KOJIeCNIKOM
18-BINHTOBARHOKKa

1-Pa6oay noBepxHocTb nIITbI
2-PaHEnb ynpabJeHHN
3- BbIDBnKHOJnK
4-Дверцадуховки (nevредядверца)
5-CTeKJIHHaI INI MTeJIINueckaBepXHra KpbIIka
6-ManeHbKa KOHΦopKa
7-BoJIbSaJ KOHOpka
8- Ynbtpa 6bICTpbIX KOHΦopOK
9-3JIeKtpnuecka nnTka
10-Левая ршета
11-празвая ршета
12-Pyukn ynpablenen (peynpobkn npaemen) konhopok
13-Pyuka ynpablenia (perynipobka MOUHOCn) 3JNEKTPnuecko PJIINTKN
14-PyUka TepMoCTaTa dUxOBKn
15-KhONka 3aXnirahnna PJIaMeHH
16-ИнданkaTopnaламночka
17-HoKka c KOJecnKOM
18-BuHToBaHooKa

1-Pa6o7aNoBepXHOCTbIJIITbI
2-Panenb ynpablennna
3- BbIDBnKHOJnK
4-DiberpaDyXOBKn (pepeHnra Dberpa)
5-CTeKJIaHnHaIJIMMeTaNInueckaBepxHЯKpbIuKa
6-MaJIeHbKaKoHΦopka
7-BonbuaKoHΦopka
8-3JnEkrpueckra pIITka
9-3JnEkrpueckraan
10-Правая ршетka
11-Pyukn ynpablenia (peynipobkn nIpaMeH) KOHOpok
12-PyUKNynpaBJIeHnpepyIINPOBka MOUHOCTN)JNEKTPuYeCKOJIITKN
13- Pучka tepmoctata duxobkn
14-KhONka 3aXKrAHHa IIaMeHn
15-Индікагорна Лампочka

1-Pa6oaynoBepxHOCTbIITbI
2-PaHeIb ynpabVeHnna
3-BbIIBNXHONIaIK
4-Дверцадуховки(neperнядевца)
5-CTeKJIHHaIIMMeTALIIueckaBepXHpaKpbIuKa
6-3JIeKtpuYeckaI pIITka
7-3JnEeKTPnueckaanTka
8-Pyukn ynpablenia (pepyinpoBka MOUHOCTN) 3NeKtpnuecko PInTkn
9-Pyuka Tepmoctata duyxobkn
10-Индикаторналамночka

Demontaxn oucnctka MetaJIInuecknx HappaBIAIOxN.
1 - Chmnte MeTaJIHueCKne HAnpaBJIIOUeNE NOTaHyB INX B HAnpaBJIeHN yKa3aHHbIX CTpeNkAMn Ha pucyHke.
2-Pon3BeDInTe OunchkTy MetaJIInueecknX HnPaBraIOuNX NOMbI INx B nocydomoueHoi MaunHe IIN OunchTb Prn NOMOuIN BnaxHOH r6Kn. PocuySnTe MetaJIInueeckne HnPaBraIOuNe nocLe OunchkN.
3 - После очирtenустановпесmetашишевке наразвлишке Вобразим поядke.

3.ИСПОЛьЗOBAHNE KOHФОPOK
3.1.ИСПОЛьЗOBAHNEГАЗOBыIX KOHФОPOK, PACПОЛЖЕHHыIX CBEPXY HA ПЛNTE
Prykny npablenia KoHofopkamn paacnoIoxeHbHa naheIny npablenia.

puc 7
3akpbItoe noloxhene
Korda pyka ynpablenya yctanabnBaetcB noIooKeHne, npi KOTOPOM CIMBOI "TOCA" HAXODNTc HAnpOTNB MetKN Ha paHeNy npablenya, klaapan B liHNPiOaHr3a 3akpbBaETc, n PJIaMraTachET.

MaKcImaJIbHbI paCXoJra3a
Haxmnte ha puky ynpableny n yctaHObnte ee B noIonoXeHne HnnpOTNB CnmbOJa "BbICOKoe PnAmr". B 3TOM noIonoXeHn BbICOTA PnAmEH NBlraTcmaKcMaJIbHoN. KOrda pyUka ynpableny haxoHTcB 3TOM noIonoXeHn, KlaPahn B IINHn IOnaun Ra3a NoJIHOCTbIO OTKpbIT.

MnHmAbhBpacXoDra3a
BbICOTy pIaMeHn MOxHO yMeHbWntb C nOMoUb YoCTaHOBKn pyuN ynpabLeHn B nIOJoxHe H3KOrO pIaMeHn. B 3tOM pIoJoxHeHH KJIanaH B JINHN POnaH ra3a OTKpbIT He NOnHoCTbU, HIIaMn KOHOpKn 6yJeT Hn3KIM.

puc 8
A-KpbliuKa KOHΦopKn
B-KoHΦopka
C-PoJxHraUuIeN3JIeKtpO
D-ΦopcyHka
E-Kopnyc KOHΦOpKn
F-YCTPONCTBO3aUNTbIOTNORACAHINJIAMEHNI
3aKmraHne ra3OBbIX KOHΦoPOK nropeNoK
3aXnraHne ra3OBbIX KOHΦopOK, paCNoIoxKeHHbIX CBepxHa nJIInTe
KoHΦopKn DoJIKNbI 3aJnraTbcr DO TORO, KaH NaH NHMN 6ydet yCTaHOBnEHa nocya C nIeI.
Дязхигань конфорok в пл transit, Chабжehньх похигалци'm 3лжктpoдом, Нжно нажать Кногу, обознayеную СИМВОЛOM "ИСКР".
Haxmnte pyuKy uynpablenen yn KOnΦopKn, KOtOpU bbl XOTNe 3aXeYb, n NOBepHnTe ee B NIOJoxEHe "BbICOKoe PnAmra". Haxmnte KHONkY NODxirAHn PnAmEH. B MoDeIax C abTOMaTHuecknM NODxIRAHnEM PnAmEH C NOMOUsb OpyKn Unpablen HnPamHeM Haxmnte pyuKy uynpablenen yn KOnΦopKn, KOtOpU bbl XOTNe 3aXeYb, n NOBepHnTe ee B NIOJoxEHe "3Be3doUka". Iocne 3TOr6 Bydet ABOTMaTHueckn NODaBaTbcra HanpJxKeHne Ha BCE
IOnJxNraHouIe 3JIeKTPoIbI, N Ta KOHΦOpKa, Ha KOTopyIO Naaetcra Ra3 (pyuKa HaxaTa I NOBepHyTa), 6yEdT3aXnRaTbcr.
3aKraHne ra3OBbIX rOpelOK BdyXOBKe
KhONka 3axnraHnna PnAmEHn He DoJnxHa HaxOHTbcB HnKaTOM nOLOXKeHNbOone 15 c. EcnB TeueHne 15 c PnAmn He 3aRopenocb, OTNCTNTe KHOKNy 3axnraHnna PnAmEHn, ToKpOte DxyOBky n/nn CdeJaTe npay3e He MeHee 1 MmHytbl, nepeD Tem Kaq NOBTOPTb PnOblTKy 3axYe b ropEnk. B DpyrInx MoDeIax NpOxNRaHne ra3a BbINOJIHReTCn NOMOsbIO pUyekUnpaBJeHn PnAmHeM.

| Конфорka | Минималовский Диамер, MM | Мakсималовский Диамер, MM |
| Бочьшая конфорka | Ø 240 MM | Ø 280 MM |
| Срешия конфорka | Ø 180 MM | Ø 240 MM |
| Маленька Конфорka | Ø 120 MM | Ø 180 MM |
| Ульты застры Конфорok | Ø 400 MM | Ø 280 MM |
-TeMnepaTypa BepuHbI pIaMeHb BbIe, Yem BHyTpri pIaMeHb. BepuHa pIaMeHb DOnkHa KacatbCra dHa nocydbi. BbIXoD pIaMeHb 3a npedeJIb IHa Nocdy IbnpuBOOIT K6ecNoJe3HOMy paCXoDoBaHIO ra3a.
-ⅡЯгазовix ПЛNTВ OТПИЧЕ OTДЕКТРИСЕСКИX ПЛNT He Tpe6yETcO63aTeьно ИСОЛБЗOBaTb NOcUd C ПLOCKIM ДHOM. Пламя,Κасалшеся дна NOcUdbl, ПONHOCTbI NOpepaet CBOE TEJIIO.
• XOTIAI RA3OBbIX PIIINT IHE Tpe6yeTcR CNEUaIbHaN A NOCyda, NOCydaC TOHKMn CTEHKAMn INPOBOJNT TEJILO JIyUHe, YEM NOCyda C TOJICTbIMNCTEHKAMn.
-Hekotopar qacTb nIiun MoKet HArpeBaTbcra, a HeKotopar qacTb nIiun MoKet octabTaC XOnIOHn I3-3a HepaBHOMepHO r pacpdeJeHn Tepla no Dny Nocybl. IIO3tOMy pRn HCIOJIb3OBAHN NocSybl C TOHKIM DNOM NiUy BO Bpemr PnIroTOBLeHnne O6XoDmO NOCToHHO nepemeuBaTb. B nocye c TonctbIM dHOM tenlo paCppeJeTcB 6olee paBHomePBO.
-He pekomeHdyetc nCnoJIb3ObaT bOeyb MaIeHkyU nocyu. Hn3ka nocya c 6oIbIIM dIaMaTePOM dHa oBeceNeuBaET 6oJee 3ΦΦeKTHBHO e 6oJee 6bICTpoe nprirotOBHeHna NIIu, yem 6oJee rIy6okar nocya c He6oJIbIIM dIaMaTePOM dHa.
BbI He MoKeTe UMeHbWntb BpEma PnIrTOBHeHn IuN, INCNoJIb3yMaIeHbKyU Nocdy Ha 6oNbWOn KOHΦOpKe. 3To pInBeJET TOnbKO KIIuHempyacXoOBoAHnIO ra3a. JIpy 3KoHOMn 3HeprnpeKoMeHdyeTcNcNoB3OBaTb Nocdy C KpbIuKoI.
3.2.ИСПОЛьЗОВАнUE 3ЛЕКТРИЧЕСКИX
ПЛИТOK, PACNOJOXEHHbIX CBEPXY HA ПЛNTE
UcTaHOBnTe pyKu ynpaBneHn B NonoXeHnE, COOTBeTCTByIOoee HxKHo Bam Tempeatype HarpReBa 3JeKTPnuYeCKO PnNTKn. 3aRopaetc HndkatoPna JAmNoUcKa 3JeKTPnuYeCKO PnNTKn, IN BKIoYaeTc 3JeKTPnuYeCKa PnNTKn. Pocne OkoHuaHn npRoTOBHeHn PmUyCtAHOBnTe pyKu B NonoXeHne"O"(Pnc.2).He BKJUohayTe3JeKTPnuYeCKO pONLTky6e3yTaHOBJIeHHoHaHeINocSybl. COoTHoWSeHne Mekdy DnAmETpOM 3JeKTPnuYeCKO PnNTKn IN dNaMeTpOM DnHa NocSybl YABIeTcOeHbBaxHBIM. DnAmETp DnA NOcybl He DoJXeH nPeBbIaTb 14 cm, IN DHO NocSybl DOJXHO 6bITb PnOCKM.
Pn nepBOM BKNIOUeHm NITb DaIte Nopabotatb 3NEKTPnueCKO nITke 63 yCTaHOBHeHHo Ha Hei NocydbI B TeueHne 5 MNHT. 3TO HeoXoIMO DnToro, YTO6bI 3aTBepdENo JapocToKoe NOKpblTne 3NEKTPnueCKO nIITkn.
ДлячпснлгкрчеснхлгпOKИСПОЛьзуITEТКанБ,СМоЧЕНУВ чисьем pactворе. He ydaJIЯтE CЗлгкрчеснхлгпOK OCTaTKN ПИШСПОМОSUHJOHЖANJINДРУГNXOCTpbIX,TBepДБИХпpeДМETOB.
IocneicTKn3eKtpueeCKoINlNTKNBkLIOHTeeHaKopoTkoEBpemr, yTO6bIBBCyUHTb.HeocTabJrTe3NeKtpueeCKyIOJIITkyBKnIOUeHHoH naJIITeNBHOEBpemr,eCNIHaHeeHeyCTaHOBNeHaNoCyda.
Korda ənektpuueckar pntka BkIoueHa, rOpNT HeohOBa HndnkatopHaJamnoOka.

Puc 9

Puc 10
| Посmium | Мошноctь | Мошноctь | Мошноctь | Посnéня |
| 0 | 0 | 0 | 0 | Быклочени |
| 1 | 100ВТ | 135ВТ | 175ВТ | Разорваиме пiousи |
| 2 | 180ВТ | 220ВТ | 220ВТ | Проговлене пiousи понихзкейtemпегаразуе |
| 3 | 250ВТ | 300ВТ | 300ВТ | Проговлене пiousи понихзкейtemпегаразуе |
| 4 | 500ВТ | 850ВТ | 850ВТ | Проговлене пiousи,жаренье, кимсячени |
| 5 | 750ВТ | 1150ВТ | 1150ВТ | Проговлене пiousи,жаренье, кимсячени |
| 6 | 1000ВТ | 1500ВТ | 2000ВТ | Проговлене пiousи,жаренье, кимсячени |
Iopxodia kyxohna nocya
He 3a6bIbIe o TOM, yTO ueM 60JIbIe pa3Mep KUxOHNo IocyIbI, TEM 60JIbIe pIoUaIbHarpeBa. B nOcUe c 60JIbIou pIoUaIbIO HArpeBa pIuIa 6yIeT rOToBnITbcra 6bIcTpee, ueM B nOcUe c MaIOn IIOUaIbIO HarpeBa.
Pa3Mep nocydbI DOJxHc COOTBeTCTBOBaTb KOJnueCtBy npiroTabInBaemB Hei Niu. YTo6bHa pa6Ouyo NOBepxHOCTb NITbI He pa36pb3rNBanacb Niua, He Nl83yTeCb CNIWKOM MaenehKoNocdyo,OC6eHNO dJa npiroTOBneHnra Niu, copejkaaee 60lbwoe KOJnueCTBO XnIKoCTn. Ecnn Bbl nCOnb3yeTe cNIWKOM 60lbwUo nocdy dJa npiroTOBneHnra Niu 6blctpOro npiroTOBneHnra, To, HApnpMep, CoCnCKn JxNkKaer Niua 6byT npinlnatb KdHy nocdy, I noCne ONPoXHeHnro nocdybHa eee Dhe 6dyT OCTaBaTcBc OCTaTK Niu.
Длп пи��товлия садкнх Блкд pekomeндуетс Испьзваьт 3akрытю кухонню nocуд и пOTиВи дЯ Bblneчkn, a TAKKe Формbl Дг lydnHra.Брblrж КИДКOCtN, coDEprkaш eCaxap, nIIb 6рbl3rO coka moryt пи�реть, в B stOM Cnyuae nx 6ydet Ouehb Trpydno ydaanitb.

Puc 11



Puc 12
3TOOCO6eHNO BaxHo DnI Nocybl, KOTOPa IcNOnb3yeTcDnI
6bXapuBaHnna Niun NJIN DnI Nocybl, B KOTOpO NnUa
pnpiroTabInBaetc NOd NOBbIeHHbIM DaBHeHMe.
He BkHouaTe 3JNEKTPnueCKne PnNTKn, KOrJa Ha HnX HeT NocyDbI nNt KOrJa Ha HnX yCTaHOBJeHa PyCTa Nocya.
Pn BbIbope Kxohno nocyblcneDye t pyKOoCTBOBaTbcra CneJeUOIMn npabNlAmn:
Nocya doJnxha 6bItb TjKeJoI.
Nocya DOnJxHa NOnHOCtBu OOKpbBaTb NOBepXHOCTb PnNTkn; DnAmEtP DHa Nocdy MoKet 6blb HEmHOrO 60bnSe DnAmEtPa PnNTKn, HO He DoJnxKeH 6blb MeHbSe DnAmEtPa PnNTkn.
HNO NocydbI DOJIxHO 6bITb COBepeHHO IIOCKIM I DOJXHO IIOTHO npIneratb K PNTKe.
-Дя ONTIMaIbHOrO IcNoIb3ObAHnIeNeKtpNueCkNx PJIITOK nДЯ CHINJKeHnIpaCXoJa 3NeKtpO3HePmN DЯ 3NeKtpNueCkNx PJIIT OJIXHa IcNoIb3ObATbcra TOLbKO Nocyda C PJIOCKM IITADKM DHom. DnAmETp DOHHo YacTe NocydbI DoJXeH 6blTb KaK MoXHO 6JIIXe K DnAmETpy 3NeKtpNueCkO INITKn, I HNKOrDa He DOJIXeH 6blTb MeHbWe DnAmETpa 3NeKtpNueCkO INITKn. DHO NocyDbI DOJNXHO 6blTb CyXm, I Ha 3NeKtpNueCckYIO INITKHy He DOJIXa IprONBaTbcra XIKNDKcTB. He CTabBte Ha 3NeKtpNueCckne PJIITKn NyctTyO NocSyDu, I HE BKIOHaIte 3NeKtpNueCckne PJIITKn, KOrDa Ha Hnx He yCTaHOBnEHa KXYOHNa Nocya.
| Положения | Функция духовки |
| F | Функции |
| °C | Temnéратура |
| ◎ | Врея пригоровленя |
| ○ | Выковлену |
| ← | Вразащные ворты и награвателя رрILA |
| ○ | Освetedтольна лампа |
| · | Награватель رрILA |
| × | Награватель رрILA и вентлиаятор |
| × | Вentлиаятор |
| × | Верхнин награвателовский荣誉称号 и вентлиаятор |
| × | Нжнин награвателовский荣誉称号 и вentsлиаятор |
| × | Верхнин награвателовский荣誉称号, похнин награвателовский荣誉称号, похнин ногравателовский荣誉称号, похнин ногравателовский荣誉称号, похнин ногравателовский荣誉称号, похнин ногравателовский荣誉称号, похнин ногравателовский荣誉称号, похнин ногравателовский荣誉称号, похнин ногравателовский荣誉称号, похнин ногравATELBA. |
| PIZZA | Пригоровлене |
4.3. COBETBI OTHOCINTELbHO ПИГOTOBLEHЯ ПИSU
06bivna menlova o6pa6omka
Harpeb ocuyeCTBnraTeCn NOMOsbu BepxHero n HnXHero HarpBeBaIbHbIX 3JIeMeHTOB. O6bUHO dIpy nprirotobneHnIMIyIyUwe BCero IOxOxDcPeHnA NOhako, ECINBepxHraN INHHKHe CTOpOHa 6blDa DOJXHa 6bITb NOdBeprHyTa 6oJee INTHcHBnOB TeINBOB O6pa6OTke, TO cJeNyEt NcNoIb3OBAbT BepxHIO IIN HA HnXHIO NOIky.
KoHeKeUOHHa menloa o6pa6omka (ucnoIb30aHuem eHmua mopa)
-Tenlloba o6pa60ka Niun OcyuectBnIeTcC NOMOubo pabHOMepHOro NOtOKA HarpeTOrO Bo3dyxa, KOToPbI NODaETcB DyXOBKY C NOMOUBo BEHTINJrTopa, paCNOJoxEHORo Ha 3aDHeB BYTpEHNHe CTENKe DxyOBKn.
Бларя равHomepHomypacpeJeHEnHToTeHbDyXOBKe,MOKHO npiroTbInBaTcpa3yHeCKoJIbKO6HIOHa pa3hIxNoIkaxDyXOBKn.
-Takne DuyxOBk TAKke Moryt ycneuho NcNoIb3ObaTbcra dna pa3mopaxnBaHn npodyKTOB. OHI Takke Moryt NcNoIb3ObaTbcra dna cTeepnIn3aun bAHok dJa KOhcebpovBaHn nU, pnproToBneHn fpykTOBbIX CUPONOB, a TAKke dJa cyuKn dpyKTOB ngp6OB.
4.4. ПИГOTOBLEHNE ПИЦьI
- YctahOBHTb TepMOCTaT DxyOBKn Ha MaKcImaJIbHyIO TempepaTy
-П配电电电电电电电电电电电电电电电电电电电电电电电电电电电电电电电电电电电电电电电电电电电电电电电电电电电电电电电电电电电电电电电电电电电电电电电电电电电电电电电电电电电电电电电电电电电电电电电电电电电电电 - Пометиь поднocв OДноИЗ ДБУХCAMых HN3KINXПОLOжени
Bpem npirotoBnHn 20 MNH.
4.5. ПИNGOTOBJIECHNE KEKCObи И ПИPOXKhbIX
- Ecnn Het dpyrnx yka3aHn, To nepei nCnObn3oBaHnem DyXOBKn nporpeTte ee TceHne He MeHee 10 MinHy. Bo BpeM nprirotoblenia KEcKa He OTKpbIbAte DyXOBky, Hnue KeKc He NOnHMETcR (KEcBcN nnDpyra DpOxKBeBA BInEeKa n CyFne) n3-3a BOWeJdEero B DxyOBky NOTOKa XOIOHOrO BO3dyxa. ECnn BByHTar n3 KEcKa NaOChKa DnnpOBepKn rOTOBHOCTn ABnEeTc cyXon, To 3TO yKa3bIbAet Ha To, YTO KEcK rTOB. He BblONHnTe TAKyIO npOBepKy rOTOBHocn KEcKa Do Tex nop, NOKa He npoeT6 BonIe Tpex YcTBepTe peKomeHDoBaHnHO BPEMeHN nprirotoblenia.
He 3a6b1aumc cneyiooee
- Ecnn cnapykn nna roTOBa, a BHyTpni rBnIeTcBcIpoi, To ee cneDyeT roTOBtB TeueHne 6oJee DInTeJIbHO BpeMeHn npn 6oJee Hn3KoI TEMNepaType.
C DpyroT CTOpObl, ecn Chapykn PnIa nepecyuSha, To ee cneDyeT roTOBtB TteHHe 6oNee KopoTKoro BpemEn Ppi 6oNee BbICOKo TEMepaType.
4.6. ПИΝΤΟΒΥΕΝΗΝ ΜΥΚΑ
MHNMaJIbHbI BEc KcKa Mca, KOToPoE DoJNKeHO rTOBnTbCBy DuxOBKe, COCTABnIeT 1K, INaHe Mco 6yIeT CnIuKOM cyXm. LyUwe Bcero rTOBnTB B DuyOBKe HxKnPHoMco. Ecn Mco cOepknt He6oJIbOoe KOnIueCTBO Jnpa, To eRo He HxKHO Cma3bIbATb MaClOM. Ecn JnP HaxoNTcC O nHOI CTOpOHb KcKa Mca, NIOxKeITe Mco TAK, YtObbl KInp HaxoINcB BvEpy. XInp, paONaBLeHHb BO BpeM npiroTOBnEHnMa, 6yIe T Cma3bIbT b HaxoJaEEcN oD NHM Mco. KpaCHO MeCO HxKHO BbHyTb I3 XOnOaNJIbHnKa He N03dHee, Yem 3a 1 cacdo HauJaEero npiroTOBneHnB DuyOBKe.
B npotNBHom cnyae mco MOKeT nOlyuHTbcg JcckKIM n3-3a HepaBHomepHOro pacnpedeHnra B hem TempepaTbyI. He coNte Mco nepeed eTo nprirotOBJIeHNHeM,OC6eHNO, npri nprirotOBJIeHN Mca Ha rPInJe. CoIb BbITraHBaet N3 Mca KPOB u COKI, yTO npenrTCTByET HopMaIbHOMy npoxapuBaHIO NOBepxHOCTHO cNoR Mca.
-Посолпе зжариBaemoe Мсо ТOLTько пост Toro, Кам пождет
ПОЛБИнна Времен erо рпiroтовени.
-ПоложиTe MяСо, КOTОре ДОЛЖНо 6ыТь 3ажарeHo, В 施рКую HernyбOKую ckOBopoДy.
-「IyboKne KOHTeHepb/CKOBOpOdb6dyT DeiCTBOBaT kak TeNIOBbIe 3kpaHb. Mco MoKeT 6bITb NOMEuEHO B DxyOBky B JxapocToKOJ NOCyDE, INMOKeT 6bITb NOMEuEHO nprMo HA rpnIb. BCTaBtpe nOd rpnIb IOTOK dPnC6opa Kaenb Jnpa/coyca. EcInn Bpemn pnproTOBHeHH HeBeJInKO, coycbl CneDyET DoabJnTB Hauane npnproTOBHeHH a Pn60nee DnnteHbHom npnproTOBHeHH peKoMeHH dyETcdoabJIb Tcoycbl 3a NoJIhaca DO OKOHuaHH npnproTOBHeHH Mca.
4.7. ПИГOTOBLEHNE РБbl
MeKkyo pbI6y moKHO roTOBnTB npu MaKcImaJIbHOH tempeatype ot HauJaNo KOHca ee npiroTOBHeHry. Pb6y cpeHNx pa3mepOB CneIeYET roTOBnTB CHaJaNo pni MaKcImaJIbHOH tempeatype, a 3aTeM TemnepaTypa DOJXHa NoCTeNEHNO ChNXaTbCry.KpyNHyo Pb6y CneIeYET roTOBnTB npu MInHMaJIbHOH tempeatype OT HauJaNo KOHca ee npiroTOBHeHry. LBeT pa3pe3a Ha 6pUoKe npabNtbo Hpo npiroTOBHeHNo Ha rPIne pbI6bl DoJXeH 6bITb MaTOBO-6enbIM. 3To He OTHOCITcK JIOLOCIOΦopEni.
4.8. Ппун�товлене на Верта.
ПлNTа obopydobaHa MeТаПИчecKM BepTeHOM,ДВУМЯ ШamnpaMuи КюКOM ДЯ ПОДерЖКВ БeTpEla. Инстукцу ПО пrimMeHEnHIO:
-ПOTКНITE МСОВЕРТЕЛМ HackBO3b, мжду Дых Шamлypов;
-
3aKpeNITe BepTeB IN pRbOdHoe OTBepCTne, paCnONoXeHoe Ha HxKHeI CTENKe, 3aTeM pRkPeNITe IOpDepKINBAHOuN KpIOK B INPbOd paCnONoXeHHbI BBepyx DyXOBKn, IN 3aTeM pRnKpeNITe erO K BePTEny.
-
Het Heo6xOJIMOCtB npeDbapNTeHOM pa30rpeBe npn IcNoJIb3OBaHIn BepTeNa.
- PekomeHIOBaHHoe BpemI npiroTOBHeHnI npi IcNoIb3OBaHmI BepTeHa;
| Вреяприготовлия (Мин) | Злес耗费еская духовka |
| Говаян(a)(1кг) | 20/30 |
| Ягеньok, Баранina (1кг) | 30/40 |
| Телаянa, Птua (1кg) | 60/70 |
| Свинina (1кg) | 65/75 |
4.12. Исторьштейнcopeп рогаматoga
| Фуннклaria | КAK BKПОЧИТВ | КAK БИКПОЧИТВ | ДЕЛСТВЕ | HA3HAUCEHNE |
| Таймер OTCQUETA MIMHT | •Насьмite КОНКУ I уderжьавaite ee B нахатом палочи •УстовITE Вухнhoe врема c помошью кONIKI Y •Отугichte BCE KONIKI | •Пос Hedgeп Заданно Intepeba ворейни Вькюается 38увковов синhal (отот синhal bayettedык�чatebca аватимеши чьрз 36неболь седд, но до мохню Вькючть Немдени c помошью нахатя КONIKI | •Бкючает 38увковов синhal по Inteчеснii Заданно Intepeba времи. •Чьоб п proberпь, skolyк bo времи octanocь do bskючουсян harpeba, нахмite КONIKY | •Позьоггет И сноклььовы духовь в качевшка (может И сноклььовы)! , когда духовь вькючeu; и когда ома вькючeu. |
| Рунhoe унравлие ВМЛ | •Насьмite КОНКУ I •Быберite Фуннкю duxobkins c помошью вреклочаел фунч尘 duxobkins | •УстовITE pekeknichatel фунч尘 duxobkins b polokhenige "O" | •Позьоггет вам уразлтыRobotу duxobkins | •Ду prinigotoblenney niniu no onpeidenenhomy pecenty |
| ВЕмя пригOTOBLEHЯ ПIMSU | •Насьмite КОНКУ TIMER (ТАМЕР) и уderжьавaite ee B нахатом палочи •УстовITE Унхьөр врем prinotovobleniy niniu c nomoшью khonikn Y •Отугichte BCE KONIKI | •Пос Hedgeп Заданно Intepeba duxobkvas bayetted abotamotecneck Bbiklnoaytbcra. Eclm bbl 3axotntite bbyklnoityd duvobky pahtse, уstahobite pekeknichatel bФунч尘 duxobkins b polokhenige "O", nini ychanobite Taimer ha zhauehme 0:00 (khonikn TIMER u Y###) | •Позьоггет вам заррамирьога праордддддддддддддддддддддддддддддддддддддддддддддддддддддддддддддддддддддддддддддддддддддддддддддддддддд •Чьоб п proberпь, skolyк bo времи octanocь do okончаня prinotoblenney niniu, hajmmite khony TIMER. •Отугichte CBKIMEN TAYMERT. •Отугichte TAYMERT. •Отугichte TAYMERT. •Отугichte TAYMERT. •Отугichte TAYMERT. •Отугichte TAYMERT. •Отугichte TAYMERT. •Отугichte TAYMERT. •Отугichte TAYMERT. •Отугichte TAYMERT. •Отугichte TAYMERT. •Отугchte TAYMERT. •Отугichte TAYMERT. •Отугichte TAYMERT. •Отугichte TAYMERT. •Отугichte TAYMERT. •Отугichte TAYMERT. •Отугichte TAYMERT. •Отугichte TAYMERT. •Отугichte TAYMERT. •Отугichte TAYMERT. •Отуг代价 TAYMERT. •Отуг代价 TAYMERT. •Отуг代价 TAYMERT. •Отуг代价 TAYMERT. •Отуг代价 TAYMERT. •Отуг代价 TAYMERT. •Отуг代价 TAYMERT. •Отуг代价 TAYMERT. •Отуг代价 TAYMERT. •Отуг代价 TAYMERT. •Отуг価代价 TAYMERT. •Отуг代价 TAYMERT. •Отуг代价 TAYMERT. •Отуг代价 TAYMERT. •Отуг代价 TAYMERT. •Отуг代价 TAYMERT. •Отуг代价 TAYMERT. •Отуг代价 TAYMERT. •Отуг代价 TAYMERT. •Отуг代价 TAYMERT. •Отуg代价 TAYMERT. •Отуg代价 TAYMERT. •Отуg代价 TAYMERT. •Отуg代价 TAYMERT. •Отуg代价 TAYMERT. •Отуg代价 TAYMERT. •Отуg代价 TAYMERT. •Отуg代价 TAYMERT. •Отуg代价 TAYMERT. •Отуg代价 TAYMERT. •Отуг代价 TAYMERT. •Отуg代价 TAYMERT. •Отуg代价 TAYMERT. •Отуg代价 TAYMERT. •Отуg代价 TAYMERT. •Отуg代价 TAYMERT. •Отуg代价 TAYMERT. •Отуg代价 TAYMERT. •Отуg代价 TAYMERT. •Отуг代价 TAYMERT. •Отуг代价 TAYMERT. •Отуg代价 TAYMERT. •Отуg代价 TAYMERT. •Отуg代价 TAYMERT. •Отуg代价 TAYMERT. •Отуg代价 TAYMERT. •Отуg代价 TAYMERT. •Отуg代价 TAYMERT. •Отуг代价 TAYMERT. •Отуg代价 TAYMERT. •Отуг代价 TAYMERT. •Отуg代价 TAYMERT. •Отуg代价 TAYMERT. •Отуg代价 TAYMERT. •Отуg代价 TAYMERT. •Отуg代价 TAYMERT. •Отуg代价 TAYMERT. •Отуg代价 TAYMERT. •Отуг代价 TAYMERT. •Отуг代价 TAYMERT. •Отуг代价 TAYMERT. •Отуg代价 TAYMERT. •Отуg代价 TAYMERT. •Отуg代价 TAYMERT. •Отуg代价 TAYMERT. •Отуg代价 TAYMERT. •Отуg代价 TAYMERT. •Отуг代价 TAYMERT. •Отуg代价 TAYMERT. •Отуg代价 TAYMERT. •Отуг代价 TAYMERT. •Отуg代价 TAYMERT. •Отуg代价 TAYMERT. •Отуg代价 TAYMERT. •Отуg代价 TAYMERT. •Отуg代价 TAYMERT. •Отуg代价 TAYMERT. •Отуг代价 TAYMERT. •Отуg代价 TAYMERT. •Отуг代价 TAYMERT. •Отуг代价 TAYMERT. •Отуg代价 TAYMERT. •Отуg代价 TAYMERT. •Отуg代价 TAYMERT. •Отуg代价 TAYMERT. •Отуg代价 TAYMERT. •Отуg代价 TAYMERT. •Отуг代价 TAYMERT. •Отуг代价 TAYMERT. •Отуg代价 TAYMERT. •Отуг代价 TAYMERT. •Отуg代价 TAYMERT. •Отуg代价 TAYMERT. •Отуg代价 TAYMERT. •Отуg代价 TAYMERT. •Отуg代价 TAYMERT. •Отуg代价 TAYMERT. •Отуг代价 TAYMERT. •Отуг代价 TAYMERT. •Отуг代价 TAYMERT. •Отуг代价 TAYMERT. •Отуg代价 TAYMERT. •Отуg代价 TAYMERT. •Отуg代价 TAYMERT. •Отуg代价 TAYMERT. •Отуg代价 TAYMERT. •Отуг代价 TAYMERT. •Отуg代价 TAYMERT. •Отуg代价 TAYMERT. •Отуg代价 TAYMERT. •Отуг代价 TAYMERT. •Отуg代价 TAYMERT. •Отуg代价 TAYMERT. •Отуg代价 TAYMERT. •Отуg代价 TAYMERT. •Отуg代价 TAYMERT. •Отуг代价 TAYMERT. •Отуg代价 TAYMERT. •Отуg代价 TAYMERT. •Отуг代价 TAYMERT. •Отуг代价 TAYMERT. •Отуg代价 TAYMERT. •Отуg代价 TAYMERT. •Отуg代价 TAYMERT. •Отуg代价 TAYMERT. •Отуg代价 TAYMERT. •Отуг代价 TAYMERT. •Отуg代价 TAYMERT. •Отуг代价 TAYMERT. •Отуg代价 TAYMERT. •Отуг代价 TAYMERT. •Отуg代价 TAYMERT. •Отуg代价 TAYMERT. •Отуg代价 TAYMERT. •Отуg代价 TAYMERT. •Отуg代价 TAYMERT. •Отуг代价 TAYMERT. •Отуg代价 TAYMERT. •Отуг代价 TAYMERT. •Отуг代价 TAYMERT. •Отуг代价 TAYMERT. •Отуg代价 TAYMERT. •Отуg代价 TAYMERT. •Отуg代价 TAYMERT. •Отуg代价 TAYMERT. •Отуg代价 TAYMERT. •Отуг代价 TAYMERT. •Отуг代价 TAYMERT. •Отуg代价 TAYMERT. •Отуg代价 TAYMERT. •Отуг代价 TAYMERT. •Отуg代价 TAYMERT. •Отуg代价 TAYMERT. •Отуg代价 TAYMERT. •Отуg代价 TAYMERT. •Отуg代价 TAYMERT. •Отуг代价 TAYMERT. •Отуг代价 TAYMERT. •Отуg代价 TAYMERT. •Отуг代价 TAYMERT. •Отуг代价 TAYMERT. •Отуg代价 TAYMERT. •Отуg代价 TAYMERT. •Отуg代价 TAYMERT. •Отуg代价 TAYMERT. •Отуg代价 TAYMERT. •Отуг代价 TAYMERT. •Отуг代价 TAYMERT. •Отуг代价 TAYMERT. •Отуg代价 TAYMERT. •Отуг代价 TAYMERT. •Отуg代价 TAYMERT. •Отуg代价 TAYMERT. •Отуg代价 TAYMERT. •Отуg代价 TAYMERT. •Отуg代价 TAYMERT. •Отуг代价 TAYMERT. •Отуг代价 TAYMERT. •Отуг代价 TAYMERT. •Отуг代价 TAYMERT. •Отуг代价 TAYMERT. •Отуg代价 TAYMERT. •Отуg代价 TAYMERT. •Отуg代价 TAYMERT. •Отуg代价 TAYMERT. •Отуг代价 TAYMERT. •Отуg代价 TAYMERT. •Отуg代价 TAYMERT. •Отуg代价 TAYMERT. •Отуg代价 TAYMERT. •Отуг代价 TAYMERT. •Отуg代价 TAYMERT. •Отуg代价 TAYMERT. •Отуg代价 TAYMERT. •Отуг代价 TAYMERT. •Отуг代价 TAYMERT. •Отуg代价 TAYMERT. •Отуg代价 TAYMERT. •Отуg代价 TAYMERT. •Отуg代价 TAYMERT. •Отуг代价 TAYMERT. •Отуg代价 TAYMERT. •Отуg代价 TAYMERT. •Отуг代价 TAYMERT. •Отуg代价 TAYMERT. •Отуг代价 TAYMERT. •Отуg代价 TAYMERT. •Отуg代价 TAYMERT. •Отуg代价 TAYMERT. •Отуg代价 TAYMERT. •Отуг代价 TAYMERT. •Отуg代价 TAYMERT. •Отуg代价 TAYMERT. •Отуг代价 TAYMERT. •Отуг代价 TAYMERT. •Отуг代价 TAYMERT. •Отуg代价 TAYMERT. •Отуg代价 TAYMERT. •Отуg代价 TAYMERT. •Отуg代价 TAYMERT. •Отуг代价 TAYMERT. •Отуg代价 TAYMERT. •Отуг代价 TAYMERT. •Отуg代价 TAYMERT. •Отуg代价 TAYMERT. •Отуг代价 TAYMERT. •Отуg代价 TAYMERT. •Отуg代价 TAYMERT. •Отуg代价 TAYMERT. •Отуg代价 TAYMERT. •Отуг代价 TAYMERT. •Отуg代价 TAYMERT. •Отуг代价 TAYMERT. •Отуg代价 TAYMERT. •Отуг代价 TAYMERT. •Отуг代价 TAYMERT. •Отуg代价 TAYMERT. •Отуg代价 TAYMERT. •Отуg代价 TAYMERT. •Отуg代价 TAYMERT. •Отуг代价 TAYMERT. •Отуg代价 TAYMERT. •Отуг代价 TAYMERT. •Отуг代价 TAYMERT. •Отуg代价 TAYMERT. •Отуг代价 TAYMERT. •Отуg代价 TAYMERT. •Отуg代价 TAYMERT. •Отуg代价 TAYMERT. •Отуg代价 TAYMERT. •Отуг代价 TAYMERT. •Отуg代价 TAYMERT. •Отуг代价 TAYMERT. •Отуг代价 TAYMERT. •Отуг代价 TAYMERT. •Отуг代价 TAYMERT. •Отуg代价 TAYMERT. •Отуg代价 TAYMERT. •Отуg代价 TAYMERT. •Отуg代价 TAYMERT. •Отуг代价 TAYMERT. •Отуг代价 TAYMERT. •Отуg代价 TAYMERT. •Отуg代价 TAYMERT. •Отуg代价 TAYMERT. •Отуг代价 TAYMERT. •Отуg代价 TAYMERT. •Отуg代价 TAYMERT. •Отуg代价 TAYMERT. •Отуg代价 TAYMERT. •Отуг代价 TAYMERT. •Отуг代价 TAYMERT. •Отуg代价 TAYMERT. •Отуg代价 TAYMERT. •Отуг代价 TAYMERT. •Отуг代价 TAYMERT. •Отуg代价 TAYMERT. •Отуg代价 TAYMERT. •Отуg代价 TAYMERT. •Отуg代价 TAYMERT. •Отуг代价 TAYMERT. •Отуг代价 TAYMERT. •Отуg代价 TAYMERT. •Отуг代价 TAYMERT. •Отуg代价 TAYMERT. •Отуг代价 TAYMERT. •Отуg代价 TAYMERT. •Отуg代价 TAYMERT. •Отуg代价 TAYMERT. •Отуg代价 TAYMERT. •Отуг代价 TAYMERT. •Отуг代价 TAYMERT. •Отуg代价 TAYMERT. •Отуг代价 TAYMERT. •Отуг代价 TAYMERT. •Отуг代价 TAYMERT. •Отуg代价 TAYMERT. •Отуg代价 TAYMERT. •Отуg代价 TAYMERT. •Отуg代价 TAYMERT. •Отуг代价 TAYMERT. •Отуг代价 TAYMERT. •Отуг代价 TAYMERT. •Отуg代价 TAYMERT. •Отуg代价 TAYMERT. •Отуг代价 TAYMERT. •Отуg代价 TAYMERT. •Отуg代价 TAYMERT. •Отуg代价 TAYMERT. •Отуg代价 TAYMERT. •Отуг代价 TAYMERT. •Отуг代价 TAYMERT. •Отуг代价 TAYMERT. •Отуg代价 TAYMERT. •Отуг代价 TAYMERT. •Отуг代价 TAYMERT. •Отуg代价 TAYMERT. •Отуg代价 TAYMERT. •Отуg代价 TAYMERT. •Отуg代价 TAYMERT. •Отуг代价 TAYMERT. •Отуг代价 TAYMERT. •Отуг代价 TAYMERT. •Отуг代价 TAYMERT. •Отуg代价 TAYMERT. •Отуг代价 TAYMERT. •Отуg代价 TAYMERT. •Отуg代价 TAYMERT. •Отуg代价 TAYMERT. •Отуg代价 TAYMERT. •Отуг代价 TAYMERT. •Отуг代价 TAYMERT. •Отуг代价 TAYMERT. •Отуг代价 TAYMERT. •Отуг代价 TAYMERT. •Отуг代价 TAYMERT. •Отуg代价 TAYMERT. •Отуg代价 TAYMERT. •Отуg代价 TAYMERT. •Отуг代价 TAYMERT. •Отуg代价 TAYMERT. •Отуg代价 TAYMERT •Отуg代价 TAYMERT •Отуg代价 TAYMERT •Отуg代价 TAYMERT •Отуg代价 TAYMERT •Отуg代价 TAYMERT •Отуg代价 TAYMERT •Отуg代价 TAYMERT •Отуg代价 TAYMERT •Отуg代价 TAYMERT •Отуg代价 TAYMERT |
YcmaHo8ka mekyuzeo spemeHu (ycmaHo8ka yaco8e)

IPEyIPIEKJDEHNE: NepBoe, yTo hyxHo cDenaTb nOcNe yCTaHOBKn PnITbI, nIn nocNe HApUeHnI NOpauN 3NeKTPo3HePmN (NIDnKALuEIN 3TOrTO RABTcR MIRAHne HA DmCnIe e 00.00), 3To yCTaHOBtB TeKUcEe BpEm. IIn 3TOr HOxHbBnOLHNTB CLeDyUcHne Onpaun: HaxMITE KhoNkIMI TIMER uEND ( |n| ) uYepXKBaJIte INx B HaxKaTOM NOIOKeHn IyTaHOBtE TeKUcEe BpEm C NOMUbHO KHOIOK 0TnyCTIe BCE KhoNkI. BHIMAHIE. LyxOBKa 6yDet BKlHOaTbCra TOnbKO B TOM CnUyae, ecIn bSyTe BbIpaHa fpyHoro YynpaBHeNIA , nIn 6yDet 3anPoRaMMPOBaHO BpEm pInroTOBHeHn PnIu. BAXHoe 3AMEUAHHE. B HeKOTopbIX MoDeIaX BMECTO CmMBONIOB ANCNoJIb3yHOTcR CmMBONbl + n -

Пи nporpammmroBaHm Taimepa c nOmoIbIO 5 KhoNOK, Дя рунOrO ynpabIeHnO odHOBpeMeHNO haxMnte KhoNk "TIMER" u "END".
4.13. TABJIUNCA PEXKIMOB IPNIROTOBJENNA NIIU
ObIyHbI MeToD npriroTOBJeHnI NIIuN I MeToD npriroTOBJeHnI NIIuN C NOMoUbIO cIrpKylAunr Opaero BO3dyxa (KOHBekUHOHHbI MeToD).Bec npOdykTob V Ta6bnue yka3aH B rpaMMax BVdbl NIIuN (OsbIyHbI MeToD npriroTOBJeHnI NIIuN)
| Bec (rрамbl) | Виды пиши | Оьчны Кон metod | Векцунов metod | Верma (Mнутbl) | ПОНМЕЧАНЯ | ||
| KEKсbl И DECEPTbl Тосто с замшаньим яйсом Тосто Маленьке кесы Т borожники Ябочны пирог Шtrudель Пирог с джемом Маленьке пирожные Бисвпсы Пирожные с кremом | ПОЗИД ПОЛКИ | tempepatya (℃) | ПОЗИД ПОЛКИ | tempepatya (℃) | |||
| 2 | 180 | 2 (1и3) | 160 | 45-60 | |||
| 1 | 180 | 2 (1и3) | 160 | 20-35 | |||
| 2 | 180 | 2 (1и3) | 160 | 20-30 | |||
| 1 | 175 | 2 | 150 | 60-80 | |||
| 1 | 180 | 2 (1и3) | 160 | 40-60 | |||
| 2 | 175 | 2 (1и3) | 150 | 60-80 | |||
| 2 | 180 | 2 (1и3) | 160 | 45-60 | |||
| 2 | 180 | 2 (1и3) | 160 | 15-25 | |||
| 2 | 180 | 2 (1и3) | 160 | 10-20 | |||
| 2 | 100 | 2 (1и3) | 100 | 90-120 | |||
| 1000 500 500 | XLE6 Белий xle6 Ржанoi xle6 Сацдич | 1 | 200 | 2 | 175 | 45-60 | В за KMы�ий духовке, по 8 мг. На ротавке На рглende |
| 1 | 200 | 2 | 175 | 30-45 | |||
| 2 | 200 | 2 (1и3) | 175 | 20-35 | |||
| 1000 500 | МУЧБIE ИЗDEЛЯ Мakapоны С овошам Маленьке мчны ИЗDEЛЯ Лазань | 2 | 200 | 2 (1и3) | 175 | 40-50 | |
| 2 | 200 | 2 (1и3) | 175 | 45-60 | |||
| 2 | 200 | 2 (1и3) | 175 | 35-45 | |||
| 2 | 200 | 2 | 175 | 45-60 | |||
| 1000 1000 1200 1000 4000 1500 3000 1200 | МЯСО Жаркови зз говадины Жаркови зз CBVINHы Жаркови зз теляпны Жаркови зз говадины по-aнглиckи Ягенok Цыленик Иndeyka Утka Гүь Кролik | 2 | 200 | 2 | 175 | 50-70 | На рглende |
| 2 | 200 | 2 | 175 | 100-130 | На рглende | ||
| 2 | 200 | 2 | 175 | 90-120 | На рглende | ||
| 2 | 220 | 2 | 200 | 50-70 | На рглende | ||
| 2 | 200 | 2 | 175 | 110-130 | Hora | ||
| 2 | 200 | 2 | 175 | 60-80 | Целkom Целkom | ||
| 2 | 200 | 2 | 175 | 210-240 | Целkom | ||
| 2 | 175 | 2 | 160 | 120-150 | Целkom | ||
| 2 | 175 | 2 | 160 | 150-200 | Целkom | ||
| 2 | 200 | 2 | 175 | 60-80 | Кускамп | ||
| 1000 800 | РыISA Рыба цelenkom Фиile | 2 | 200 | 2 (1и3) | 175 | 40-60 | 2 mг. 4 mг. |
| 2 | 200 | 2 (1и3) | 175 | 30-40 | |||

Puc 16
ПРИМЕЧАЙ:
1)Bpem npiroTOBHeHnPiu He BkHouaet B c6bBpem pa3oRpeBa dYxOBKn. DyXOBKa DoJxHa pa3oRpeBaTcBcBteHeHne 10 MInHyT, Oco6eHHo, pni npiroTOBHeHn KeKCOB, PnCbI n Xle6a.
2)Пoka3bIbAet NOJoxeHne IPOITNBHЯДЯ ODNHOBpeMeHHORO pniROTOBJIeHNA HeCKoJIbKINX 6JIHOD.
3)Bce onepaun npriroTOBHeHnI\PiuI dONXbI BbINOnHrTbcS 3aKpbToI DBpee IyXOBKn.
| Ви担当 Пица | КOLONЧECTBO | ПОНГOTOBLENHМ ПИЗДНЕHA ГРИЛЕ | ВРЕМ ПИВROTOBLENHД (МинутBI) | |||
| КOLON-BO KUCKOB | BEC | ПОЗИЦЯ ПОЛКИ | TEМПЕРATYPA (℃) | НЖХЯ CBKЦЯ | ВЕРХЯ CBKЦЯ | |
| Бифштес | 4 | 800 | 4 | Мakсимальнай | 10 | 8 |
| Опьвая котлета | 4 | 600 | 4 | Мakсимальнай | 12 | 8 |
| Сосиски | 8 | 500 | 4 | Мakсимальнай | 10 | 6 |
| Част zuыленьka | 6 | 800 | 3 | Мakсимальнай | 30 | 20 |
| Смешаные поodyкту, погotавливаемы на греле | 4 | 700 | 4 | Мakсимальнай | 12 | 10 |
| Молочь dieceptы | 4 | 400 | 4 | Мakсимальнай | 13 | 10 |
| Ломени рождopa | 8 | 500 | 4 | Мakсимальнай | 12 | -- |
| Рыбhoe Фпile | 4 | 400 | 4 | Мakсимальнай | 8 | 6 |
| Зсанои | 6 | --- | 4 | Мakсимальнай | 8 | -- |
| Тост | 4 | — | 4 | Мakсимальнай | 2-3 | 1 |
5.ЧИстка И ОБСЛУЖИBAHAHNE
Ipeed Tem kak npnctynntb K bblnoJIHeHIOY nCTKN IINNTbl:
-NCtka n o6cnykBaHne 6bITOBOro np6opa He DoJXhbl BbINONHrTbcr DeTbMn 6e3 Hnd3Opa B3pocblx.
-OTCOeINHInTe PJIHTy OTeJIeKtPoCeTn.
-3akpoite noaayra3a dny oecneuehenia 6e0nacnoctn. Ecn npnta npednahaueha npaobtHa npnpoHOM ra3e, 3akpoite kpan noaun npnpoHoro ra3a.
- Ecni nIiTa pa3oRpeTa, noOxKdIte, noka OHa He octbIHet.
•OuICTne 3MaIInpOBaHbIe NOBepxHOCTn C NOMoUbTo TEnNoI MyIbHbN BObI IIN NODXoJSeIero MOUSeIero CpeIcTbA. HnKOrJa He NoJIb3yITcEb DnIg 3TOr a6pa3IMbHbIMN NopoUkAmN, KOTOpIbe MOrTy IOBpeNTb NOBepxHOCTn I NCNOPtB BHeUHNI BnD PJIHTbl. PeKomeHdYetcB bInONHbTb YcCTKy PJIHTbl NocNe KaXDoR e ee NcNOlb3OBAHnI.
-ДячNTКгрнлг,在3rOTOBJIeHHbIXи3HepKaeHoueCTaJIIN,CneJyET NcPONb3OBAbMoUOuIe CpeDCTBa n abpa3nBhIe MeTaIINueckne MOaJIKN.
-CTeKJIaHbIe NOBepXHOCTb (pa6Oua NaBepxHOCTb, DBePca dYXOBKn I DBepCa OTDeJeHnI dIra pa3OrpeBaHnI PiUcII) DoJXHbI OChIaTbcr NocIe TORO, KAK OHN OCTbIHyt.
-Повржденья, Вьзванные Нecоблodeнем 3Тnx npabn, He BXOДТВ cfepy DeiCTBna rapaHTn.
-KoHΦopKIn KOJIpaUckn KOHΦopOK MOxHO MbITb TEINOM BOHOM pactBope DeTepeRHTa. KaHaJIbI, nO KOtOpbIM npoxOuNT ra3 B KOJIbCuX KOHΦopOK, MoxHO TAKKe YnCTnTb ⅢeTKoN. IpeD yCTaHOBkoKoHΦopOK Ha MeCTo BbICyUHrTe Nx. PpOBepbTe, YTO KOHΦopKa yCTaHOBJeHa npabUNbHO.
-Перионческ Oчиша Te NOДЖИGAОUIE 3NEKТрдБВ ПЛТАС C 3JIeKTPMueCEKM 3aznirAHmEM PnAmEH. 3TO npEDOTBpATNT npO6IeMbI, CB7aHbIe C 3aXIRaHmE m PnAmEH. Перионческ И ровергTe, YTO KaHaJIb, NO KOTOpIM pOxODIT ra3 B KOJbax KOHΦOPOK, He 3a6NtBi OCTaTKAMNIU.
-П ropuaite BepxHIOU KpbIuKy cyxOy TpIKNo, YTObI ydaIHTc Hee BOy u 6pbI3rMaCna, uYTObI yctpaHNTb BpeDHOE Bo3deiCTBne Ha Hee BObl, MaCJa N npa, KOtOpBiy o6pa3yETcBO BpeM nprirotobJeHHn IINI.
-He noIb3yItecb abpa3nHBbIMn UcIeTcBAMn, npBOJOnHbIMN MoaJIkAMn, OCTpbIMn IpeMeTaMn, rpy6oN TkaHbO, XmUneCKIMN BeIeCTBaMn N UcIeTcIMN CpeCTBaMn, KOTOpBte MOrTy NOBpeNTb KaTaNITNuEckoE NOKpbItne.
ДяжаркижрногOMcapeKoMeHdyeTcNcNoJIb3OBAtIpy6okne npOTuBHNДЯжарки,ИpoDCTaBHTBHN3yIpOTuBeHbIЯсбopaЖupa.
Yucmka depeu bdyxOeKu
Дя BылолинецчICTКДВерць ee pekOMeHdyeTc ChЯть,Κak Показано на петдставенHom HIXe рсунke. Плнocтю оТкpoиTe Дверцу,повернite Два Фикcatopa HaшарниХpbivarax Ha 180, 3akpoиTe DBерцу Ha 30и снIMNTe ee B ATOM ПОJOKeHN.
IyctaHOBKn DBepuHa MeCTO BbINONHHe OINCAHHbIe BblIe onepaunn BObpaTHoNocJeIOBaTeJbHOCTn.



Puc 17
3aMeHaJAMnOuKU bHympu dyxOeKU
- BbIKIQUHTE 3JIeKTPoINTaHHe N BbIBepHInTe NaMNoUky. BBePHInTe HOByIO NaOChy, KOtOpA MoXeT BblDePJKBaTb BO3DeIcTBnB YoICOKO TeMnepaTypbl.
-н -н -н -н -н -н -н -н -н -н -н -н -н -н -н -н -н -н -н -н -н -н -н -н -н -н -н -н -н -н -н -н -н -н -n

Puc 18
5.1.ДУХОВКACKATAJIHTNUECKM CAMOQUHUAIOUHMcI POKPbITHEM
B HeKOTopbIX n3 Haunx MoJeIeN IcNoIb3yIOCT CaMOOuIaHOUIeCe naHeII, IMeIoUne NOKpbITNe C MKNpONOpAMn. EcIn yCTaHOBJIbI TaKne naHeII, TO OTNaJaet Heo6XODIMOCb TbINOLHrT bYNCTKy BpyHyIO.
-Дя obecneueHЯ эфкгнвсamOoHcTkn NOKpbITne DoJxHO coepKatab nopbl.
· CInuKOM cnIbHoe pa36pbI3rIbAHnE Xupa MoXeT npNBecTN K 3a6nbAHnO nop N K HApUeHNIO BbINoJIHeHNaCMooNCTKn.ДЯ BOCaTahOBnEHnI ΦyHKUnn CamOOuNCTKn HxJHO BKlHOHTb PyCTyIO dYxOBKY npMakCmAmblHoN MoUHcTn HaReBa npN6n3nteBHO ha10-20 MInHT.
-ECnCtEHKn DyXOBKn NOKpbJIncb TaKIM TOJCTbIM CNoEe Knpa, YTO kATaJIntUeCKoe NOKpbITne Nepectaet pa60TaTb, ydaJIte Xnp c NOMOsbIO MAnKO TKAHN INIg RbKn, CMOueHHO B Toprae Boe. Bce IcNcOJIb3YeMbIE B HAcTOrIeEEB PBeM kATAJIntUeCKne NOKpbITn IMeHT cPcK Cnyk6bI np6bln3ntEnbHO 3OO cacOB. Po3OTMy nocne 3OO cacOB pa60bI NaHeIN C kATAJIntUeCKm NOKpbITm EOnJXhBi 3aMeHrTbc.
6. HAXOJDEHNE N YCTPAHEHNE HENCPABHOCTE, CEPBNCbI CEHTP
Bcnyae HapyuHn HopMaIbHo npoTbI pInTbI,pepe TeK kO6paTntbc B cepBnCHbI cHTp,BblOnHnTe OINcaHHbIe HNKe npOBepKn.
-Пюоверът,чTo ПЛNTа РДКЛЮЧЕн КэлкТрocети.
HapyeHa nodaaya 2a3
BbIOnHInTe OINcaHbIe HIXe npOBepKn.
-He 3a6nncb JI rpa3bO O TBepCTnB KOHΦopKe?
-He BvIeI nn n3 cTpo rpeyIaTOp daBneHna ra3a?
-
Ectb JIи ra3В trpy6e noaun ra3a? OTKpbT JIи KJIanaH noaun ra3a?
-
Ecni Bbl ObnapyknHn HapuIeHne pa6oTbI ra3OBbIX KlaNaHOB, CBXKITcB C cepBnCHbIM ueHTpOM.
B nomeuenu, 2e ycmaHoEJHa nnuma, ouyuaemc3aIax 2a3a
BbInolHnTe onncahhbIe HNKe npOBepKn.
-He octanca Jn Knaan Hnoaunra3a B OTKpbITOM NIOJoxhen?
-Правильно Лим посоединова trуба (шланг) поадуни ra3a, и нахочтся Лимona в Хорожем соctаян?
EcII BbI NIOO3peBaete O haJIynch yTeckn ra3a, He npOBepRy Te yTeky ra3a C NOMOuBIO PnAmEH.
Поберъ,чTO руки управленья Нхдгсь В hyжьх положеня.
Iuua zomoeumcra cuiukom meJeHHO
IpOBePbTe,TO 6bIa BbIbpaHa HxHna TemnepaTpa
I3nnjmbuudem dbim
PekomeHdyetc BblonHryb YnCTky PnNTbI nocne KaKdOrO ee nCnONb3OBAHn. Ecn He ydaJIbT bXIp, KOTOpB pa36pb3rAncBo BVpe mnproTOBHeHmCA,To 3To npBBeTeK NpOBHeHn HnepnTHoro 3aNaXa N dMBA BO BPem CneDyUoJero NcNoB3OBAHn PnNTbI. (Cm."NCTka N oCbCyJxBaHnE").
HeeklouaemcnaMnOkae dyxoxke
JaMnoKa neperopeJa. Iy BbINOnHeHn 3aMeHbI JaMNoKn Cm. COOTBETCTByUOHyO CTpaHnCy pyKOBOJCTBa.
- Ecnn nocne BbInonHeHnO nncaHHbIX BblIe npOBepok pINTa He pa6oTaet DOJKNbIM OpbazOM, CBXNTecb C 6JIJkaM yTBepxJeHHbIM cepBnCHbIM ueHTpOM.
-Coo6IeHomepMoJeINiCepnHbHHOmePIIITbI(PNCnENR)..
7. OXPAHA OKPYKAKIOUEN CPEIbI

Данн布局прибор IMeET МаркИровky B COOTВETCTBIM C EbponeeКоДиЕКТЮВ 2012/19/EC o6 OTxOdax npOn3BOdCTBA 3NEKTPUeCKOTO N 3NEKTPOHHORO 06OpYOBAHNIA (WEEE). OToXoDbI npOn3BOdCTBa 3NEKTPUeCKOTO N 3NEKTPOHHORO 06OpYOBAHNIA cOePxAT 3aRpy3HJIOUne BeIeCtBA (KOTopBle MOrYT HeraTINBHO BInyTb Ha OKpUkaHIoU cpey) U OCHBHe KOMnOHeHTbI (KOTopBle NOJIeKAT NOBTOPHOM YcONNo3BOAHmU). BaxHo, QTo6bI OToXoDbI npOn3BOdCTBA 3NEKTPUeCKOTO n
3JKeTPOHORO OOBpyOBOAHNIO NObBepraInc BcneuaIbHOI Opb6OTke C UeJIbO yUdAeHINu IyTNIIaCNI BCEX 3aRp3HIOuXn BeUcECTB, a TaKoe PereHePAunI N IOBTOHRoNcONBJ3OBAHHN BCEx MATEpnaNOB.
KaJdb MoKet CDenaTb CyIeCTBeHHbIK BKnad B IpeDToBpaUeHHe 3KOnOrUmHeCKNX nPbONEM, BkIb3BaEmBX OTXoJaMn npOn3BOdCTBa 3NeKTpUeCKO INneKTPOHHO O6OpyDoHAn;ДЯ 3TOBOBaxHO pNIDepKXBATc HekOTOPbX OCHOBHbIX pANBIN:
- HeIb3a O6pa7aTbC C OTXoDAMN PpOIN3BODCTBa 3JIeKtpnueCKOrO n 3JIeKTPoHHORO O6OpUdOBaHn, KaC C6bITOBbIMN OTXoDAMN.
- OTxOdbI npOn3BODCTBa 3JNeKtpnueckOro n 3JNeKtpOnHORO o6OpyDoBaHncreSyETpepeDabTBy NHyKTBi c6Opa, KOHTpONpyEmble opraHAMm MeCTHO BIACTN iINI 3aepnCTpnOpBOAHbIMn KOMPnHaMn. BO MHOxCTpaHax PnI HAIuHMn 60bnjoro KOnUeCTBa OTOXoBD pON3BODCTBa 3JNeKtpnueckOro n 3JNeKtpOnHORO o6OpYDoBaHnC bOp OTOXoBD ocUcEeTBJIeTcRa H aDMy.
- Pn nokynke HOBOR npnbopa ctabbl npnbop MOxHO Bo3BpaTtB p03HmHOMy TOPOBOMY neDnnpAHTNIO, KOToPoe 063aHO npnHbTB eOBeCnIaTHo Ha OCHObE B3aMmHO-ODHo3HaHOrO COOTBcTbN, EcIN 3TO npNbOpbl anAoIurHOrO Tnna, IN BO3BpaUaembI npNbOp NMeET Te Je cyHKuIN, UTO INpOdaBaEmbI.
INSTRUKCJE BEZPIECZENSTWA
-Побtabяне На ТерmoctаТа На МAKСИМУМ
-ПпебариTeнho 3aToPJIЯHe Ha Фурнata 15 МИн (прИ Bb3MOxHOCt 20 MИN)
-Позиюнpaй Te Taba T bEнHa OT ДБeTe Hа-NИСКИ ПОзицIN
BpeMe 3aTBeHe 20MnH
4.5. ПЕUCEНЕ HA TOPTN
-AKHe oONOMeHATO no pa3JIuueH naHH BkIIOUte fpyHaTa 10-15 Mm. PpeBapuTeHNo. He OTbAprrte BpaTata no BpeMe Ha roTBeHTo NOHEKe TOpta Ta Hama da ce HaNirHe. CtydEnn Bb3dyx Ⅲe nonpeH N TECTOTo Da ce HaNIRHe.
Mоже да поверпгдддддддддддддддддддддддддддддддддддддддддддддддддддддддддддддддддддддддддддддддддддддддддддддддддддд徳н. В Hero. Ако певмета ИЗлессух, означава че тстOTO e Добpe. He поверяBaIte NO TОи Наин Ako. OT певдиDEHOTOBPeme He e I3TEKNo.
06bphete BHIMAHHe Ha cIeHNITE CbBetn
-Ako nobbpxocTt ha xpaHata e do6pe n3neueHa a BbTpewHOCTa ecypoBa Tp8Ba Da rotBNTe NO-dbIro BpeMe Ha no-HnCKa TemnepaTypa.
-Ako nobbpxocctta e cyxa Tp8Ba da roTBnTe NO-KpaTko C NO-BnCOKa TemnepaTypa.
4.6. ПЕUCEН分解
MIMMaHOTOKoIueCTBO MECO 3a neuehe e 1 kg.B npotnbe cnuyaMecoto ue c cyxo.AKO nCKate Do6pe n3neheo MECO He e HnykHO da npekanBate C Ma3HNHaT. AKO eHnata cTapHa e Ma3Ha, noCTabete Ta3n CTpHa OTrope.CypobOTO Meco Tpr6Ba Da ce n3kapa 1 cac npedin rotBeHeTo OT xnaDnHnKa, INaue MeCOTO ue ce rotBn NO-DbJrO, Ue Nycka BODa N HAma Da ce n3neue npabuHNo.
-Добавete сол ha cpeda ta Ha roTbeHTo
CNoKTe MeCToB NIOxOJaTaBa.
-Дьлбokиte сьдове пчат на толинада на habлес. МсOTO може да ce постави на Термоустонвсьд Или Диpeктно на скарatura. Поставete сьд КОТСьбпра мазнина. Сложete cocobete в hashалOTо на rotbeheTo ako щe rotbnte кратко Или Рлобин уас пededи краза ко щe rotbnte по -Дьлго Врeme
4.7. ПЕUCEН分解
MaIka pI6a moKe da ce npiroTBHa MaKcImaIIHa TeMnepaTpya. CpeIHa pI6a TpI6Ba Da 6bJe npirrTOBHeHa Ha MaKcImaIIHa TeMnepaTpya B NaHauJIOTo n CneI ToBa J HAmAlTe. IIO-roJIma pI6a TpI6Ba Da CE rOITBn Ha IO-HNcKa TeMnpaTpya OT HauJIOTo Do KpaJ. IIO BVpeMe Ha rotBeHeTo IpOBepTe daJIe E do6pe N3neYeHa. LBeTbT (3a pI6a Ha cKapa) TpI6Ba Da 6bJe matIpaHO 6yI. Toba He e npi coma n shapan.
4.8. ROTBEHE C BbPTaC CE IINI
-Пeчкata pa3noJIarac BbPraIc Ce MeTaNHe IuI,Дbe CneuaIInH BnJIusn Kya 3aФNKCIPAhe Ha IuIHa.
-Инструкции 3a ynoTpe6a
-ИЗваDE BCичкн akcecoapn OТ Фунata;
- NocTabete Dbl60ka Taba Ha DbHOTo Ha cyphata nn Bbpxy Hau DonnHaTa NoCTabk;
-ПюмушeteшппраззялотоMEcoигentрпаiteMekdYдыTe BUNIciN;
-ФИКСИРаTe ишаВ сециалнаТа HИsha pa3nONoXeHa Na 3aДнaТaCTeHa, cIeД KoETo NOCTaBeTe KyKaTa B KUxHnA-Ta B IpeDnA-Ta rOpHaчAst Na ФунATA 3aEДно C OcTpneTO Ha иша;
-Ппебарпелно 3атоплге На Фурната He e Heобхоюmo 3a rotbehe cшша.
- IpenopbUHTeHOBBpeMe 3a rotBeHe npu n3noJ3BaHe Ha qNKcIyraT arotBeHe C BbpTAA CE uN
| Вид ХраHA | Вреем за rottenке (мин) | |
| ГАЗОВА ΦУРHA | ЕLEKTRIЧЕСКΑ Фурна | |
| Говекло месо (1 кг) | 25/35 | 20/30 |
| Агентko и obчe (1 кг) | 35/45 | 30/40 |
| Телешко и пileшко | 65/75 | 60/70 |
| Свинско | 60/70 | 65/75 |
4.9.N3N0JI3BAHE HA TAIMEPA 3A MInHyTN

phiypa 13
3a nporpamipane Ha BpeMeTo Ha rotBeHe npn 0yprHnte Ha ra3, 3aBbptTe nJleH KpbI N cJe TOba NoCTaBeTe Ha NcKaHOTo BpeMe Korato BpeMeTo n3Teue, CnHaJa Ie 3anOuHe Da 3BbHn HRAKOJIKO CEkyHdN
4.10.ИЗПОЛ3BAHE HA TAIMEPA 3A KPAH H A TOTBEHE

PnToka Ha TOK B eNEKTPuYeCKnTe HArpeBaTeJN ce peryJnpa OT TaMep. PpeNi n3non3BaHeto Ha neykata Tpr6Ba Da ce n3bepe npabNJHOTO Bpeme 3a rotBeHe. TaMepa No3BOJRA Ba neykata Da octaHe BkIoueHa cAmo 3a BpMeTo KoETO CTe n3bpaJIn. MoKe da HargJaCnTe TaMepa Do 90 MNHyTu.
Ako n360n3BaHTo Ha TaIMepa He Bn e HuykHO nHe nCKaTe pnpPama 3a rotBehe, 3aBbptete 6yToHa Ha “ ”No3uNiJa. Hkaon eneKtpnueckn neKn Imat TaImep KOIto Tp8Ba Da 6bJe HaIpaCeH Ha
BpemeTo KORATO rotBeHTo Tp6Ba Da npKluOu. TOBA n03BOJRABa BpemeTo 3a rotBeHe da 6bJe nporpaMUpaHO. NcKaTa ABTomaTnUHO 1e Ce n3KlIOH Na Kpa Ha n36paHOTo BpeMe. BpemeTo 1e HAMJIraBa BpbuaKn Ce Ha " O" No3NcH, N 1e Ce n3KluOu ABTomaTnUHO. 3a HopMaIHO n3NoI3BaHe Ha cyPhata, HargIaceTe TaIMepa Ha no3NcH " O" N 1e Ce n3KluOu ABTomaTnUHO. Toraba MoKe Da npOdbJxNte Da pa6OTne pTuHO .
4.11. ΓA3OBA ΦYPHA

Temnepatypata Ha cyphata n HarahebaTeJMaT a 6bDat n36paHn Upe3 HargacHe Ha 6yToHa Ha JeaHaTa Temnepatypa.
Tepmoctata Ha yphnata pa60n B dna3oh:140-270°C.
HЯко Фурни раэнолагат сбс зашитю усточь конт polпрац пода ванeto Ha ra3 KBM ropeлкite. Ако памьka n3raghe noда ванeto Ha ra3 abTomatuho ce npekparba.
4.12.ИЗПОЛЗВАЕHAЕLEКТРОНнЯПОГРAMATOP
| Фунникции Минут. | AKTINBINAHE | ИЗКЛЮЧBAHE | KAKBO ПAPВ | 3A KAKBO СЛУЖИ |
| Намонгане на Минут. | •Приитсенete и заръжte •Натисhev noiia 3a наглacrье на пожеланото вreme •Освобodeе всяким кочета | •Korato Избразно В��е Истесу Звков салпс ce ac'tinbina (toa anapm size ce ncklouch c am, iln moce da ro nsklquhite hattickaykn 6byToHa ) | •Озачава краи на Избразно В��е •3a da npobepitce kolkov bveme octaba natichete byToHa ) | •Погшюяba ползваши на Фуrchata katо anapm (може д se ak'tinbiva р и рп раб тра на Фуrchata и korato тя не paobotи) |
| Боравая С Фунникотe | •Приитсенete на ) •Изберete phунцяя с прогаматора | •Завтete ro салektot ha Погшцяя '0' | •Погшюяba драRobite c phyphata | •3a rotbehene на щеники рецп. |
| Врeme 3a Тог趟е | •Hatsichete и заръжte TIMER Кочетo. •Hatsichete noiia 3a Hargnashe на Исканото вreme •Oсвобodeе sbTyOnHite •Izhoberte phuksя C прогаматорa | •Korato зааденото в��е Истесу фурнata abTomatunno Μe ce изklioч. Ако Исkatе Дa я Исклquhite no-para loи выр themselves ha Погаматора na Погшцяя 0лл в��е 0:00 C Таймери sbTyOnHite | •Погшюяba harlacяne ha bvemeto 3a rotbehene na pecentata •3a da npobepitce octabauoto bveme natichete TIMER. •3a рогшяна ha bvemeto hatichete TIMER ⅡAND KONHTA. | •Ha края hab bvemeto 3a rotbe he, phуrchata abtomatunho ce Изклquьва и звuchnotа anapm Μe 3bVbHne. |
| Края На Врementо Тог趟е | •Hatsichete и заръжte END Кочетo •Hatsichete noiia 3a Hargnashe на В��eMuTo нскате phуната дca se Изclуч. •Освобodeе sbTyOnHite Изберete phuksя C прогаматорa | •Спед Источане hab bvemeto фурнata size ce Источи. 3a рычно Изklquьва, 3a npobepka hab bvemeto habtichete прогаматорa 3a phuksя Na фурнata hab поцу "O". | •Погшюяba harlacяne края hab rotbehete •3a npobepka hab bvemeto habtichete END •3a рогшяна hab harlacetohу bveme habtichete END+ ⅡA | •Таши phунцяя обинов�о с Изпог��вс "bvemete 3a rotbehe" Фунцяяата.Iр.a.koх Xpanata trp8ba da ce rotbeh 45 минут и trp8ba da e rotobva do 12:30, Изберete жениота phунцяя, Hargnashe bvemeto 3a rotbehene hab 45 минут и края hab rotbeheto hab 12:30. •TogbeMuToо оse zanoche abtomatunho B in 11:45 (12:30 mInhyc 45 MHN)и оse proddblnx do Края hab bvemeto 3a rotbehene, kora фурната с Изklquьва abtomatunho BAXHO! •Ако сизбрази phунцяя края hab rotbeheto, begging da ce 3adade bvemeto 3a rotbehene, phурната с bkvlnocba вднага и оe 3actane hab края hab bvemeto 3a rotbehene. |
HaJIacIHe Ha moHNo 6peMe:

BHIMAHNE nbpbaTonepaCnJeMOHTaHa neKaTa nn CneCnAd Ha en.3axpaHbAeTo (Ha dinCnIe npemrBa n ce noka3Ba 00) e cpeBaHe Ha toHOTo Bpeme. Toba ce npabN kato cneDba
HaTncheTe n 3aApbXte TIMER + END ( |▶ n |▲) 6byToHnTe
-
Harnacete c 6byToHnTeV
-
Ocbo6oDeTe 6yTo HnTe.
BHHMaHHe:ΦypHaTa pa6oTn caMo aKO e BkJIuOeHa ΦyHKIaYTa
PpnpnpampaneHaataMepc56ytoHaaphyHKzmaTa,3a pbyehHaTNCheTe
"TIMER"и"Kpa"6byToHa eHOBpeMeHNo.
20:45


TIMER END
4.13. TÁBÉNJA 3A ΓΟΤΒΕΗ
-Ako neukata He pa6oTn npedi Da n3BvkaTe cepBn3 npenopbVbame:
-Пюовере тдлпи почка т справинно ВКлочера в Контakта
DocmbmHa2a3eHenpaueuEn
-Пюверето следно:
JaNc 3anyuWeHn KaHaHcyTaTa Ha KOTNoHa?
JaHperyIaTopa3aHaJIraHe pa60Tu npabnlo?
-AKo n3PON3BaTe Mapkyu,Дали Има ra3 B mapkyua?Дали e OTbopeH BeHTnla?
-Ako 3a6eJeknte HeIoo oEbcNOKoBaIc CBeHTnla 3a rA3, oBaJeTe Ce Ha OToPi3npaH cepBn3
Mupuue Ha 2a3 Kbdemo ce Hamupa ypeda
-Поверето следно:
JaINBeHTnJa e 6nI octaBENOTBOpen?
-Далл Маркуча 3a ra3 e B правлина поця и в добра Форma?
Pn CbMHeHne 3a n3TnUaHe Ha ra3 He n3NoJ3BaITe PJIaMbK 3a da npOBepnte.
Ieukata He 3aqrba
Дали КонтPORINITE 6уTOHcHa Na npabUNHATA NO3UJIЯ?
Bpemmo 3a zomeene e m8bpe de bneo
Даи e n36ран павинна темпатура за rotвенe?
V3JU3a dum om yphama
IpeOpBvBame noHcTBAHe Ha cyPhata cIe BcKaON3BaHe. Ako Ma3HNHITe KOITO pBCKAT NO Bpeme Ha rotBeHe He CE NOcHCTaZe IpeDn3BVKat HEPnraTHa MnpN3Ma N Dm Pn CNeDaIOTO n3NoJ3BaHe. (BxK NoHcTBAHe n NODPbXka) JAmnata Ha cyPhata He CE BKJIIOUba
Bb3MOxH0 Da e n3ropa.3a cMaHa BnK Ha cbOTBeTHaTcTaPAHnca
-Ako cTe npOBepnIN BCNUKo TOBa n OyPHaTa BCE OSe He pa6Otn, 0baTe Ce Ha Na-6n3KnA cepBn3
- MoDéηι N homερ Ḁ npódykτa (PNCι ENR).
7. Глижа 3A OKOЛHATA CPEДА

To3n ype3 e Mapknipan cbrIacHO ebPoneiCka DnapeKtInBa 2012/19/EO 3a OtnaDbuOn ot eJeKtpnuecko n eJeKtpoHNO obOpyDbaHe (WEEE). WEEE cbDbpxKa eHNOBpeMeHHO 3ambpcraBaun cy6ctaHcnn (KOHTOMORAT da OKXaT aTPOUaTeHNBO B3DeJCTBnE Bbpxy OkJHaTa CpeDa) N OCHOBHN KOMNoHEHTN (KOHTOMORAT da CE N3IOJI3BAT NOBTOHO).
Baxho e WEEE da 6bdat o6pa6oTeHn no
CneuHn HauHH C orpNeI npaBnHOTO OCTpaHraBaHe n3XBpJIaHETo Ha BCNUK 3aMbpcNTeTI N Bb3BpbJaHETo npeUKNipaHaHe Na BCNUKMaTePnAJI.
OTdennHe HnBmMoraTdo OKaKaT BaxHa pOra,OCnpyBaKn, ye WEEE Hma Da cTaHAT npo6Jem 3a OkOnHaTa CpeJa; BaxHo e da 6bDat CneDbAHn HkON OCHOBn IpabNu:
- WEEE He Tp86Ba Da 6bDat TpeTnpaHn KaTO DOMAKINHCKN OTNaIbCu.
- WEEE Tp86Ba Da 6bDat NpeDaBAHN B CbOTBEHTNc CB6pATeHN
- NyHKTOBe, ynpabJRAHn OT ObuHaTa nlin perncTpupaHn KOMpaHn.
- B MHO DorPbXaBn, 3a rolemm WEEE, moKe da ce npednapara
- cb6pHaNEOTDOMOBete.
KORATO KynyBaTe HOB ypei, CTapnT MoKe Da 6bJe BbpHa T bProBeCa, KOIT Oa Ro npnbepete 6e3nlaTHo Ha 6a3a eHNO-KbM eHNO, DOKATO o6OpuyDbaHeTo eOT CbUma TIN NMa CbUnte FyHKcNk KaTO DOCTaBeHTo O6OpuyDbaHe

FS COOKERS GAS TYPE
II2HS3B/P
HU
| Gaz tipusa | G20 | ||
| Gaz nyomasa | 25 mbar | ||
| P (Kw) | Ø mm | ||
| Max (kW) | Min (kW) | ||
| A | 1.00 | 0.60 | 0.83 |
| SR | 1.85 | 0.85 | 1.00 |
| R | 2.95 | 1.20 | 1.20 |
| UR | 3.80 | 1.00 | 1.40 |
| Oven | 2.35 | 0.80 | 1.10 |
| Grill | 2.30 | - | 1.10 |
| Gaz tipusa | G25.1 | ||
| Gaz nyomasa | 25 mbar | ||
| P (Kw) | Ø mm | ||
| Max (kW) | Min (kW) | ||
| A | 1.00 | 0.60 | 0.83 |
| SR | 1.70 | 0.85 | 1.00 |
| R | 2.65 | 1.20 | 1.20 |
| UR | 3.15 | 1.00 | 1.40 |
| Oven | 2.10 | 0.80 | 1.10 |
| Grill | 2.10 | - | 1.10 |
| Gaz tipusa | G30 / G31 | ||
| Gaz nyomasa | 30 / 30 mbar | ||
| P (Kw) | Ø mm | ||
| Max (kW) | Min (kW) | ||
| A | 1.00 | 0.60 | 0.50 |
| SR | 1.70 | 0.85 | 0.65 |
| R | 2.70 | 1.20 | 0.85 |
| UR | 3.80 | 1.00 | 0.92 |
| Oven | 2.30 | 0.80 | 0.70 |
| Grill | 2.25 | - | 0.70 |
II2ELS3B/P
PL
| Rodzaj gazu/Type de gaz/Gassoort/Gasart | G20 | ||
| Cisnienie gazu/Pression gaz/Gasdruck | 20 mbar | ||
| P (Kw) | Ø mm | ||
| Max (kW) | Min (kW) | ||
| A | 1.00 | 0.60 | 0.83 |
| SR | 1.70 | 0.85 | 1.00 |
| R | 2.70 | 1.20 | 1.20 |
| UR | 3.50 | 1.00 | 1.40 |
| Oven | 2.30 | 0.80 | 1.10 |
| Grill | 2.25 | - | 1.10 |
| Rodzaj gazu/Type de gaz/Gassoort/Gasart | G30 | ||
| Cisnienie gazu/Pression gaz/Gasdruck | 37 mbar | ||
| P (Kw) | Ø mm | ||
| Max (kW) | Min (kW) | ||
| A | 1.00 | 0.60 | 0.50 |
| SR | 1.75 | 0.85 | 0.65 |
| R | 2.95 | 1.20 | 0.85 |
| UR | 3.80 | 1.00 | 0.92 |
| Oven | 2.30 | 0.80 | 0.70 |
| Grill | 2.30 | - | 0.70 |
| Rodzaj gazu/Type de gaz/Gassoort/Gasart | G2.350 | ||
| Cisnienie gazu/Pression gaz/Gasdruck | 13 mbar | ||
| P (Kw) | Ø mm | ||
| Max (kW) | Min (kW) | ||
| A | 1.00 | 0.60 | 1.10 |
| SR | 1.70 | 0.85 | 1.35 |
| R | 2.70 | 1.20 | 1.70 |
| UR | 3.50 | 1.00 | 1.90 |
| Oven | 2.30 | 0.80 | 1.55 |
| Grill | 2.25 | - | 1.25 |
ПростаяИнструкция