KD65XD8505B - Τηλεόραση SONY - Δωρεάν εγχειρίδιο χρήσης
Βρείτε δωρεάν το εγχειρίδιο της συσκευής KD65XD8505B SONY σε μορφή PDF.
Κατεβάστε τις οδηγίες για το Τηλεόραση σε μορφή PDF δωρεάν! Βρείτε το εγχειρίδιό σας KD65XD8505B - SONY και πάρτε ξανά την ηλεκτρονική σας συσκευή στα χέρια σας. Σε αυτή τη σελίδα δημοσιεύονται όλα τα έγγραφα που απαιτούνται για τη χρήση της συσκευής σας. KD65XD8505B της μάρκας SONY.
ΕΓΧΕΙΡΊΔΙΟ ΧΡΉΣΗΣ KD65XD8505B SONY
Πληροφόριες Σγκατάστασής γία τη Xρήση της Επιτούχιας βάσης της Sony (SU-WL450)
Ynootnpizóμενα movτéλα:
KD-65XD85□\*/55XD85□\*
- Σις παγματικές ὅνομαοίες των μόντέλων, to "□□" unοδεικυέι touς αριθμούς ἡ/και χαρακτήρες του συγκερμεύνου μόντέλου.
Ppoc touc πελατες
Tia loyouc npoostaoia cai aofaleiac tou npoiovtoc, n Sony ouviota evthetaepa n Eykataotaaon tnc tnleopocnca v anaymuatoileita ano avinpooouc tnc Sony n Eeouoobotnevouc texvikouc. Mny enixieipnoete va tnv Eykataohtoe povol oac.
Ppoc touc avtippoosouc tnc Sony kai touc texvikouc
μεγαλπ προσχό στην ασφαλεια κατά την εγκατασταση, την περιδικό Συντήρηση κατό του ἐλεγχο του προίόντος αυτό.
AπaTeiα επαρκός εμπείρία για την εγκατασταοη του προίντος αυού και ειδικότερα για να προδιριστέι η αντόχό του τοίχου που θα συγκρατεί το βάρος της τηλεόρασης. Αναθέστε την τοῦτειηου του προίντος αυού στου τοίχο σε αντιπροωπους της Sony ἡ Εξουσιδοβτμένους τχνικούς και δείξετην απαραίτηŋ προσχό στα θέματα αφάλειας κατα την εγκατασταοή. H Sony δεν αναλαβάνει καιία ευθύνη για τυχό ζημία ἡ τραματισμό που ενδέχεται να προκληθεί από λανθασμένους χειρισμους ἡ ακαταλληλην εγκατασταοή.
Tia loyouc aocaaieac kai owtnc ykataaontc, akoalouhnoTe tic Odyiecs XpnoC tnc EIntoixic baoNC, tov Odyo evapEnC tnc tnleopaoonc kai tic oyiecauto tou exyeipidiou.
Exetikαμe tnv ασφαλεια
Zaç EUXAPIOTOUPE NOU ayopáOATE auto to προIóv.
Ppoc touc neAaTeC
IaTnEyKaTaTaan autou Tou
IpoiOvTOc anaIeTeia TEApNKcTexVikn
KATpAton.AvaBcTe Tnv EyKaTaTaon
Tou pIoOvTOc OE avTIPOoWouC n
EEOUoBToNtEvouc TXVIOuC TNC Sony
KAI pOooTE 1bIaTePc TIC pOoULAcEIC
OoAoEAicKATAng DIAkPeKTA NTC
EyKaTaTaAnC.H Sony dev fpeei EuOUVn
Yia Tuxov Cnue c npauatuaouc TnO
IPOkANKav AnTO kAOxEPIaO n
Tnv AAVaOJeuV EyKaTaTaON TnTv
EyKaTaTaan PoiOvTOc aALXn AO tO
KoBopuaEvO. Dev ENPaeocovTa TA
Voiua DkaIawMa ta Oac (Eav
Unapxouv).
Ppoc touc avtinpooiouc tnc Sony
IaTnEykaTaOan autou Tou
TpoioVTOc ANaTeiTau ENApKc TExvIKn
KaTAPtian. DIAbaTe PPOeKTaTO
TAPoV EvyEpiDiO bOnyUw, EtIoWte V
EKTEAeTe TIC epyAoIEc EykataOtaAnC
Me aOpaLeia.H SONY ev aVaalapBavei
Kaiia EuOvN yu Tuxov Znmu n
TpaUaTIOu Ev6EyTeVA v
PpoknOei anoLvthaoEvouc
XeipiaOuoc n AkatALnn
EykaTaOtaon.MetTnv EkykataOan,
Tapa6wote auto to EvyEpiDiO tOv
πeλatn.
TTO napov eYxepidio oOJyuv
napouiaZcetai O oOwotc TpOIO cXeIpouo
tou pOiovtoc, KaOHc KAI nOaVtuKec
npooflaEic, oi OOnie EivaI aPapaitntec
via tvn aOnouyn atuxmuTuW. dAbaTe
TPOoekTKaTo eYxepidio kAI
xpaonauoTne OOWTA to Ppoiov. DuAte
to napov eYxepidio via MeLAAovtIK xpnON.
Ta npioivota ncs Osy oxediacovta ie yuvjova tvn oafalea. Zepiittwnan avthetaevou xeiipiaou evdextexa var pokknloeoapoc tpauiatouc Aoyw npukayiac, nEktporlanxiac, avatpontic n ttwnoc tou npioivtoc. Iva va atofoyete TEtoiou iobou catuxinata,betaawtheite otu aubavete tnc npodpalaeic aoafaleic.
\PPO\SOXH
Σμβατα προίόντα
Autn n Entiotoxia baoen exei oxediatoei yia xponon e ta kaobopoueva movTea tnleopocn. Ia tic tnleopac,avatpeTe OTov Onyo avapopac toupokoeevou va EAnantheeEeavmopoiteve x npoutonoane Tnv Entiotoxia bao.
Ppoc touc neaTeC
PPOEIADONOIH2H
Eav oI aKolouOtec npoPuaAeic,Ev6ExTaIaVpokAn0ei
0oapoctpauatmuiaOn havatoC
Loywupkayiac,neKtporanLxiac,
avatponi nTwiownc Tou pioovtoc.
Φροντίσεναανθέσετην εγκατάστασησεξουσιδότημένουςτεχικούς καλ κρατήσεμακρίατα παίδια κατάtn διαρκεία τηςεγκατάστασης.
Eav n EInioxia 3aon n nTnAeopaon 6evykaotaOoov oWoTa,EvSyexTa va TpokAnOoTu atuXnHa taou avapoeovTa npakatu. BeBaWbeTe oti n eykataoan O kTeleotei an EOuaoBtoMueVOC TevikoC
H nλeopaan ev6exeta va nee1 kalva npoklaeoi oaoapocrauauatouuc, otwc uawntc h kataymuata.
Eav o toixoc otov onio 8a
eykatoahtoe Tny EIntoia 8a bao n evai
aatrohc, aovoioumpocn h evai
kataokopucpoc npoc to daTeo, ev6exetai
va npoklanei pTwnTNC movadac me
ouvneia tpaumatoiouc n uIkeC nmuic.
O toxoc 8n pnteiv a vATEE e Bapoc
toulambdaotov teoepic fopec to Bapoc
tnc tnAeopaanC.
(AvatpeTe OTov Ondyo avapopac Tnc
tnAeopaonC oac oxetika mu to Bapoc Tnc.)
Eav n Entioixia baoen dev oTepewOe iOtepeoTovtoToxio,EvExetai va npokAnei TwnTnc movadac me ouveirea pauuataouc h ualkicnuec.
Avaθεοτε τη μεταφορά ἡ ην αφαίρεση της ηλεόρασης σε Εξουσιδοτημένους τεχνικόύς.
Eav n metaopá n aphipeon tnc
tnAeopaanp avayatotointhetai ano μn
EouauofoNTIevo pnoawuKIO, evdxetai vα
tpokAlenPiTTwojne ouveTeia
tpauatauOic n uAkEcζmuEc.
Bebaowte iOt n metaopá n n aphipeon
tnCnAeopaocnθaayapatoionthetai ano
duo n nepioootepa atoa.
Mnv aphiapeite biides kAn. mEa Tnu tootheTnOn tnC tnAeopaonc.
Σ διαφορετική τεριπων, ευδέχεαιν προληθει πτών Κις τηλεόραση με συνεπεία τραματιούς ἀνλεός Σζμείς.
Mny tpononoiite ta Egaptnata tnC Enitoixac Baoonc.
S daipopetk npiTwn, evbexetau va npoknnei Twn tnc Enttoicac BaoC me ouveenea tpaunatuaoc nukiec cnueie.
Mny tootheite oukeuec dlaoopetikec ano tic kaogoiévec.
Autn n EIntoixia Bao exEi oxediataei yia xpnon mOvo To kaBopoiqEv npoiov.Edv ToTOeHToTe Oaukeun diAoepotuknt An autnTou KaOporicetal, evSoxetal va ToPokAnEITtwn h Ppaon TnC aoKEunc Me auVteia TpaumatouuC n ulikec Znuec.
Mny tootheite otnv Enitoixia bao n aoaa phiotia ektoc ano tnvy tneopaon. Mny kiveite tnvy tneopaon npoc ta aipotepa/8eia n npoc ta navw/katw.
diabopetni nepiwnu,evbexetua v npoknbei ptnwn tnc tnleopocn c uovteia tpaouatououc uukce Cnuec.
Mnv otnpiciEOTe kai mnu Kpéμeotε ano tnv tnλεραση.
Mny stnpieote kai nvy kpeeote aio tvn Tnaeopaan, kaohc evdeexetai va npoklanthei Twn tnc me auvenepia oobapo Taouaatio.
PPOZOXH
Eav oikAouBec
PpoΦuλεξ, evδεxαI vπρκληθoʊv
Tpaumaiqoi nuiKεζημε.
Mny aokite uερβoλiknδuvμn oTo npoiov katαtov kaθaipóu n tεpyaoiec ouvtnponç.
Mny aokite upeboikn duvaun otnv
enavw nleupa ntc nTaeopaocn. Se
diapopetikn pntiwtn, evexetai va
ptkownBei Ptwn Tnc Tnepaocn, me
ouveTieia tpaumatioouc n ulikec cniuec.
PpOuλεις
Eav n tnaeopaan npaalevei ouv6deueyn otny Etnioxia baon yia meyao xpviro biotnua, n epiaveia tou toixou niow n etavw ao tnt n tnaeopaan evexetai va eogwiacei n nan tetotaopia evexetai va ekolanael, avaloya me to uakko kataoekunc tou toxou.
Eav n Etnioxia 0aan aphiapeei aou EvkaataoTei stovto, x npapaeivov ou otc vov Bw.
MnV xnpoutoieTe IV EITIOxixa Bao n 0e OJEA TPO UTOKEVIAT OE Jnxvikouc KpaOauoC.
EykaTaoTaon Tns EIniToixia BaoNc
Ppoc touc
avtinpooswnouc tnc
Sony
\PPOEI OIOIH H
Oikokoutheooyieoc aphiouv movov
touc avitipooowotuc TCSony
Aiabaote tic npofoulaeic aoaafaleiac
Tou nepiyaepoivtaapapattavkoai
Tnpohtate ta metpa aaoafeiaac kata tn
diapkeia tnc evkataotaonc,tnc
auvtnpanockai tou eayxou autou Tou
pioiovtoc.
Mnv Eykkaotate Tnv Enitoixia bao n oE eipaveiecs toixou onou oi ywviec n oi pEupec tns tnLepaonc 0a npoeExovn ano tnv eipaveia tou toixou.
Mny Ekykbiotate Tny ENitoixia baoe 0E tniapveiec toxou, otwuc koloVEC, oTou ol ywies n oI paeupcnc tnLepoapocn Oa poeoeuov ano Tny etiapveia Tou toxou. Eav kantoio atojo n kantoio avtikemuvo pookpouei e ywvia n e PAeupa TnC tnLepoapocn n oToia poeEeXei ano Tny epiapveia Tou toxou, Evbexetai va npoknBoov Tpaauatoioui n ulikec cneic.

Σε περιπτωπ εμερική πληρους
αλαλρωσς τυν βιδύν, ενεδέχεταιν
προκληθεί πτωπ της Επιθιαχία Bαός με
αυνεπεία τραμαισιούς ἀλικές Αζημές
Xρασιοποίŋοτα καταλλλες βιδές
ανλόγομε τοῦλόκατακεύνς του
τούχους κανγκαστόητοτη ηνούδα με
ασφαλεία χροσιοπούνιτας τέσερις ἡπεροσότερες βιδές διαμέτρου 8 mm (ή σιοδύναμες).

Xpnoiopoionte tic
biocnou npexovtai
oTn ouokeuosaia,
kaowc kai ta
ouvdeikac eapntmuata
oumuomega a e Tc
odnyiec nou
npexovtaoiTO npov
eyxipidio.Eav
XpnoiopoioneTe
UOKaTaOtaTAt
Eapntmuata, evexetai
va pokkNthei TTWO
tns tnLepaonC ME
ouveneia
tpauatioouc n
ulikec znuic stnv
tnLepaon.
Sigma 0ooynt owt a ta eapntnata tou otnpiymuotc, akolouwvtac tn diakia nou npypaefetai oTo npov evxepidio odnyiw.
EeepiTwnmepiknncnpiPouc
xaapowcnTNCsOophiNc eKantoia ano
ticBIEc,EvbExetaiV npoknthei Ptwn
tntneopaocmeuoveneia
tpauatiooucnCnmua stnytnleopaon.
ΣφiEτε τις βiδες και βεβαιωθείτε στι ἐχουν τοποθετηθείστη σωστή θέση.
εναντιθεηπ περιπτωπ, ενδέχεταιν προλκηθει πιτωπ ητις τηλεόραος με συνεπελί τραμαισιούς, ἡ Κημία στήν τηλεόραος.
Mny unoβαλετε tnv tnaερασn σε kαδασμούς κατα tnv tonoθετησιn tnc.
SeiaopotiknepiTTwo,Evexetva
PpoklanthepiwOkanthetaoanTNC
tnaopaoc.Emioc,unapoxeiTtovotnta
Tpaouatouo
TOnoTehtne TnV tnLeOpaoon oE toixo o Oonoioc eivaI kataKOpUfoC pOoc To delta kai EπiεdoC.
diapopetikn nepiTwn, evexetai v npoknEi TwnTn TnEoPocns m e ouveia tpaouatououc.
AfouTooOeTeNoTe Owota Tnu TnIeOpaoon, aOphiloiTe kaTaalna ta Kaalwla.
EAV atoia nviakiieva ipepeodetouv ota kawdi, evexetai na poknthetau prataatopoi h cnua stnyeopaan.
Anofoyete tnv aoknon pioeewv oTo kawdo tpofoobooiac n oTo kawdo ouvdeonc.
Eav to kalwio tropofoosiacn to kalwio ouvseocuuniea avaueo atyn
oukeun kai otov io h auvi e i
otpebawtei ayow akonncpienec, utapxei
kivuvoc ekotecn twv esotepikw ayuww
twkawsiw u e ouveiteia bpayukkawmu
n diakotni nektpioku peuatoc,Auto
ev6kxtai va npokalei npkayia n
nakeptponlxi.

Oi biides nou aataouvtai yia tn oTepeowntc Enitoixiac Baoonc stov toixo dev napexovtal.
KaTa TnV toToTeTnTc EInToixac BaoNC, XpNaoutoiote BiOeCi OIOAEic Eiva KaTaAaNLeYiA to UaIko KtaaKeUnC KaTn Doun Tou ToXou.
Tooθétnon tns tnλερασης στον toíxO
Hdeltaikaoia tootheTnOncdeltapei avaloya Tnv tnIeopaon oac. XpnoipoiOnTe Tnv EIntoixia bao n SU-WL450, yia va ekataoTnoEte Tnv tnIeopaon otov toixo.
Σημειωη
Atoekeote tic biedesou aphiapeate e evaaoaele mepockaiualete ticaaipia ano naia.
Pnoεtouασία για toποθέτηση
'ExTe npoxeipo tov Odyo avopac tnc tnEopaonc npiv ano tny totoTheon.
- Pivαπo tny toπoθετησ Φροντίοτε vα εχετε ενα κατσαβίδι Phillips πουν α ταμριάζει στις βίδες.
- Eπαληθεύσε τη θέση τοποθέτησης της τηλέρασης.
Etoiaote teoepic n ppiooatepec biides 8 mm kaia biidaoietpu 5mm n ooduvma (ev npexovta). EiAeTe BiEc nou eiva kataaannec yia to uliko kataoakeun tcu toixou.
Eλεγxος των εξαρτημάτων
Papéxovται με το μοντέλo SU-WL450
ELeyTe oTI neiplaa BavovtaI oLa ta EApntmuata.
| A Báση (20) (1) | B Tpoxαλία (2) |
| C PSW 6x20 (4) | D PSW 4x20 με δακτύλιο (2) |
| E Διαχωριστικό (20) (2) | F Ιμάντας (1) |
| G Δακτύλιος (20) (M4) (2) | H PSW 4x20 (2) |
| I Προσαρμογέας βάσης (2) | Ω PSW 4x10 (8) |
| K Διαχωριστικό (60) (2) | L PSW 6x50 (2) |
| M Δακτύλιος (M4) (2) | N PSW 4x50 (2) |
| O Εέαρτημα επιτοίχιας τοῦθέτησας (S) (2) | P Διαχωριστικό (2) |
| Q Μδέλα (1) | R PSW 5x12 (1) |
Papéxovtα με την τηλέραση (εξάρτημα προσαρτημένο στο πίω μέρος)

Kαθορισμός της θέσης τοποθέτησης
1 Kaθορίστε τη θέση τοποθέτησης.
Bεβαιωθείτε ΟΤΟΥ τοΙχόν τοίχου πάρχει αρκετός χώρος για την τηλέοραση και ὄτιο τοίχος μιπορείνα στηρίξει βάρος τουλαχιστου τέσερις φόρες μεγαλύτερο από αυτό της τηλέορασης.
Σμβολειτεν παρακατω πίνακα για την εγκατασταση της τηλεόρασης στον τοίχο.
AvatpeTe oTov Odeltao avaopac tnc tnleopaoc noc aic yia npoopiec oxetik a to Bapoc Tnc.

Movαδα: mm
| Ονομα μοντέλου KD- | Διαστάσεις Θθόνης | Διασταση Κέντρου οθόνης | Mήκος γία την τοποθέτηση | ||
| a | b | c | d | e | |
| Τυπική τοποθέτηση | |||||
| 65XD85□□ | 1.454 | 842 | 56 | 483 | 102 |
| 55XD85□□ | 1.231 | 717 | 129 | 494 | 102 |
Σημειωη
Oi tiue c Tou nivakaEvdeltaetai vdoiaepouv Eaapoc avaloya e Tny Ekyataoan.
Φροντίσε τὸς Μαύπαρχει επαρκής Απόσταοη μέταξύ της τηλεόραοής και της ὅροφής και των τημάτων του τοίχου που προεύχουν, ὄπως φαῖνεαι στο παρακάτω δίαγραμα.
Movαδα: mm

Ia va eaophiaioe tev katalnlo eepiao kau ia va anoepuxei n ouoawpeuon aakapaiw v nokovnc:
-Myn tootheite tyn tnEpaon oepiovta a thc, mny tyn ykaiotate avanoboyupouevn n 0to
-Mnv tootheite tny tnlaopaon navw o paia, xaiia, kpebaia n eoa o vtoulanes.
-MynkauunTeTnVtnAeopaon me uphiouata ownc kouptivec navtikeeva onwc eepipe6c kant.
-MynvEykaIoiate TnytnAeopaon own paivetau npapaktw.
Eumodizetai n kuklophiopia tou aepa.

Σημειωση
Eav 0EAE tva nepaoe ta kawdbia meo a tov toixo, aoiEte mua onn oToV toixo yia va npaeet e ta kawdbia npiv EekivnoeTe Tnu TOnTOBETNO. Iva aaOphiyeTnv Aokonn Pioeew Ota kawdbia, poetoiaote mua onn ToV toixo oe anpieio EktoTNC pEPmuTpou nBaoC (20) A, Ppoapoyec BaoN Ck Tou daxwpiotikou (20) E, Tou daxwpiotikou (60) K.
2 Eπιλέξτε τη μέθοδo επιtoíχιας οποθέτησης. Mπορείτεν α επιλέξετε την απόσταση μεταξύ της πίω πλευράς της τηλέρασης και tou toíxou σύμφωνα με τα παρακάτω στοιχέία.
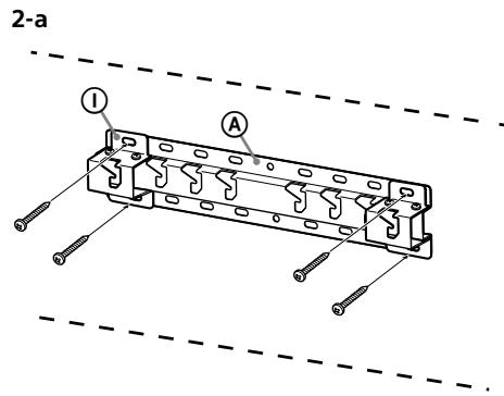
2-a Tuntk
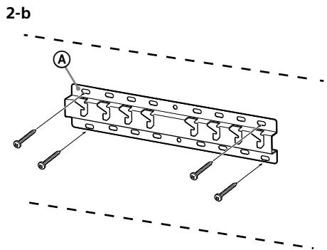
2-b Aεπτη
AvatpEgTe oToV nivka tou 6
NPOEIANOIOIHsH
- Av euiieEeTe tn meo do 2-b, o n p0o8aon otouc niaw akpokekte.


3 AvatpeE oTov npapakatw πivaka yia pInpofoipics oxetikα με tn θeon tooTeTnOnc tou Pooapuoyα βaonc. Av επiλE tn μéθoδo 2-b, πapaaeiTE auTo a
| Övouα μοντέλου KD- | θέση ἀγκιστρου |
| 65XD85□□ | b |
| 55XD85□□ | c |

Av Tn 0 2-a,
tooTheTnoTe Tov Ppooaepoyea
Baoon ① OTN BaoN (20) A
XpnooPiowvTac Tn Biδa (PSW
4x10) J.

4 Kaθορίστε τις θέσεις των βιδών για την εγκατάσταση της Báσç (20) A.
UouLeuteite ta texviKa 己 aapktnpiotik otn oelia 12.
Av eiiEeTe tn meo 2-a, Xpnouonoiote tic oeic vi ta t c onc tou Ppooapoyea aocn ①
NPOEIANOIOIHsH
- O toixoc stov onoio thα αναρτηθει n ηλεόραση θα πρεπειν αναγκει σε βάρος τουλαχιοτον τέοσερις φόρες το βάρος tnc ηλεόρασης (AvatpèxEte στον Μόνην αναφρας tnc ηλεόρασης σας έχετικα με το βάρος tnc.).
Bεβαιωθείτην αιναγοχίου τοιχόμο Θα τοιθειηθείην τηλεόραση.Εαν ειαιαπαραίτητο, ευχόστε κατάλληλα τοῦ τοιχό.
EykataoTaon Tns Baoons oToivxO
Xpnooioiote toeepic n pioootepec i6c diaetpu 8 mm n ioobuvaec (ev npexovtai).
ToonoeTne Tc Teoepic BiEcs OTiC onec tou Ppooapouyea Baoan 1 via vao tov ouvdeoe te n Taon (20) A (movo 2-a).
- Eykataaotne Taon (20) a otox optovtia.


PpOeToiuaoia yia tnV tooTheTnOn Tns TnAeopaonC
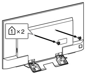
1 Aφαρεστε τις βίδες από το πίσω μέρος της τηλερασης.
KD-65XD85□□

KD-55XD85□□

2 Eλέγξτε τα εξαρτήματα προσάρτησός, ανατρέχοντας στην παράγραφο "Παρέχονται με το μοντέλo SU-WL450" της ενότητας "Eλέγχος των εξαρτήμάτων" στη σελίδα 5.
Σημειωσ
- Tepewote oTaOepa Ta EApntmuata npoaptnonc BiEe.
Eav xnpouoounoetne nkeptko katoaibi, puoiote tn poin otpeusn nepiinou otyn tun 1,5 N·m{15 kgf·cm}.
ΦovtioTe va aonθkeuotε ta μn χρομιοποημένα ελαρτήματα σε ενα ασφαλες Μερος για μελλοντική χρόση. Φιλαξετο το παρόν εγχερίδιο για μελλοντική χρόση.
Tunikn tonoEtnon (2-a)

AeTn tonoEtonon (2-b)
Σημειωσ
- Dev μπορείτεν αχροσιμοιούησετε σρισμένους πό τους ακροδέκετες που βρίακονται Στήν πίων πλεύρα της τηλεόρασς, ὄταν χροσιμοιούείτε auto το στυλ τοῦθέτησες.


3 u v ta aπαραίntητα καλωδια στην τηλεόραση.
UvdoTc ta KALWdIa npiv aTnV TOIOETNO Tc TNLεOpaOnc stov toixo. DeV tha mTOpeite va ouvdoTe ta KaWdiA Evw Exei ToIOeTnTei n tnLεOpaOn.
AvatpeTe oToV O8nyo avopac nou npexeTau e Tnu tnAeopaon.
4 Aφαιρέστε τη βάση καλωδίου (παρέχεται με την τηλέραση). (Móvo για τα μοντέλα KD-65XD85□□)

5 TaKToIoiNoTe ta KaIawIda.
TαταμοντέλαKD-65XD85□□,
tοπoθετηστε τη βαση καλωδιου σε μia
από τις εοωτερικες Οπές.

Σημειωση
-AvaTheTo TepaogauTwvKaawiwu eoαan tov ToixoE kaioov Egouolodotnevo Txvko.
EOTaKaawdiouvdeoynyiavaanopuyetya ta natnoeTe npu ano tvntoonotov toixo.
6 Aφαρεστε τη Bαση επιραπέζιας τοποθέτησης από την τηλεόραση.

Tooθετησιη της τηλεόρασης στον τοίχο
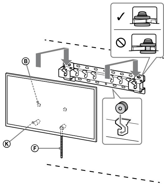
1 ToioeTnoTe Tnv tnAeOpaOn πavw σtn Baoŋ.
IaTnEoanavapntnoCtwvTpoxaIuw 8OtnBaon,oumuouLeuteiteTov nivakaTou bnuatoC 3OtnvEvotnta "KaOpioooc Tnc Teooc tonoTeTnoC" Otn oEla6 6.
KpataTe tnu tnAeopaon otaepa kai ta duo xepia kai avapntote tic Tpoxaiec 1ou exete ouvdeoei oTo piow meoC tnc tnAeopaon, otn Bao, ExyoxovTAC to oxma twv onw.
Afou toothe note tnvtnlaopaoon oToixo,BeBaiwtheta otoi TpoxaieC Eoxouvaosiaiokaa aOn Bao n noTov Ppooapmuoya baoan.

2-a

2-b
NPOEIANOIOIHsH
Bεβαωθειte οτι ηεταφρα της τηλεόραος πραγματοποιείαι από δύο ἡπερισοτερα ἀτομα.
2 Anotpéψτε tnv μετατόπιοη tou κατω μέρους tns ηλεόρασης.
- TevtwotetovIavtaKaiouvdeote tov oToVtoXo staepa.


XpnouoioTe Biδa δiαμεtpou 5mm n oodvuaŋ (δεν παρéχεται).
Σημειωη
DokiασeνατραβηεTe TO Kατω μερος Κις Σηλεραοσε Ελαφρα προς Φιμερος σας, γιαν αν βεβαιωθεte OTI δεν μετακινειαι προς τα εμπρος. Av παραπρησε ΕΤΙΚειαι, τότε δεν εχει στερωθει σωτα και πρειειν αυνδέοετε Εανάνι μλάντα Εσαθερα.
Eπαλήθευσητης ολοκλήρωσης των εργασιών τοποθέτησης
EeYTe ta npakatw onmuia.
OtpoaxieC 8 exouv avapntnei staepa otn Bao n otov Ppooapuoyea baoonc.
To oxovici kai to kaalwoio dev exouv oTpeBawthetai n oumuIeotei.
- O Iμαντας (F) εΙναι σφιχτός και δεν ὄχειλασκαρει.
NPOEIANOIOIHsH
H n tootheTnou kawdiu tropofoosioac knt. mtopei va npokalee i npokayia nAekptopanlxi a loyw bpaxukkawatoc. n Aloyouc ophialeiac, Bepaowte otexov ouoknpweoi epyaiec tootheTnnc.
Aλες πληροφόρίες
KaTaNvAphiEon TnCtnLεópaonc,
aKoλouθnOte Taβnματa TnC δiδikασiac,
tonoθεntonC μe TnV ανTiOtpoΦn Σεipá.

IPOEIOIOIHsH
Bεβαωθειte οτι Αφαίρεοη της τηλέροσης πραγματοποιειται από δύο ἡπερισότερα ἀτομα.
Texvika xapaktnpotiiká

; (Nepitou) [mm]
a :100
b : 200
c :300
d :80
e :400
f :480
g :100
h1:20 ( i on2 - b)
h2:60 ( i 2 - a)
Bapoc (movo yia tnaa): (Nepitou) [kg]
0,8
O xεδιαμός και τα texviká χαρακτηριοικά utókeivtau σε αλλαγή χωρί προειδοποίŋη.
| Y NFLI HÉMİPI KD- | ΙΝΜΕΚ ΜρΗλι |
| 65XD85□□ | b |
| 55XD85□□ | c |
![SONY KD65XD8505B - Bapoc (movo yia tnaa): (Nepitou) [kg] - 1](/content/2020/04/187119/images/8038e7b707ff14bffba92bd76b9bee61441315e35c8b93e14cffd1d96e4a0d4a.jpg)
AДаNTop ① heri3iH (PSW 4x10)
① BypaHdaJIapbIMeH 2-a
TaHdaJIFaH Ke3Ie (20) A heri3iHe
6eKITy.
![SONY KD65XD8505B - Bapoc (movo yia tnaa): (Nepitou) [kg] - 2](/content/2020/04/187119/images/094043ce7a64e1844a146ec3269f9351b1f3de36595f663056a293abd59db4c1.jpg)
4 Tfvfbipdbi (20) opHaTy ywih 6ypaHdaIapdbIH opHbIH aHbIKTaHbI3.
12-6eTTeri cinnattamajapdbi kappaHbI3.
2-a TaHdaIraH Ke3Je, ① AaIaTOp Heri3iHiH Tecik OphbIH naJaIaHbIbI3.
ECKEPTY
- TeneiIap opHaTbIaTbIH Ka6bIpa TeneiIap caImaTbIH aTe ece aybip cAncaKtB KeTepe anybi Tnic (CaImaTbIH TeKcepey yiwH TeneiIapdbIH AblkTaMaIbIK Hcckay 6nIMin KapaH3.).
- Teneiap 6ekitineti KaibprahbH 6epikirih aHbIaHbI. KaKet 6oNca, KaibpHaHb JKeTKiIKTI Typde KyweTii3.
Ka6bipraFa TyfbipDbl Ophaty
-Диаметри 8 MMболаын He укас Tept
Hemece ODAнда КEN 6урандаНь
naiДаланыньИЗ (берлmereH).
① AaanTopbHbH Heri3He Tept 6ypaHaJaIapbl (20) A Heri3imeH 6ekTiHi3 (Tek 2-a).
TbyipdbI (20) A KaabipraFa KeJdeHeH etin opHaTbIHbI3.


TeIeIuIapIbI opHaTyf aIbIHday
1 TeIeIiIaIbIH apTbIHdaIbI 6ypaHdIaIapDbI aIbIN TaCTaHbI3.
KD-65XD85□□

KD-55XD85□□

2 Ka6bIpfara opHaTaTbIn KPOHsTeH ySiH TIPKey 6eJIWeKTePIn TIPKeHi3. 5-6eTTerI «BolweKTePdI TeKcepY» 6eImiHderi «SU-WL450 KypblfbcIMeH 6epiJeI» TapMaftbH Kapay apKbIbMoHTaJdAy 6eJIWeKTePIn TeKcepHi3.
Hyckay
- Békity 6eJIWeKTePIH 6pyaHdaIap apkblMbIKTan 6ekitih3.
3NeKtp 6ypaybIStb naiDaanHaFaHda,aHany 7aMaacbIH 7aMaMeH 1,5 H·M {15 KTK-CM} opHaTbHbI3. - PaniDanaHbImaHaN 6eIWeKTePdi 6oNaWakTa naiDanaHy yin KayiC3 opBHa caKaTahbl. Byn HcKayNbTb6oNaWakTa Kapay yin cKaTahbl3.
CtahapTbI opHaTy (2-a)

XaKbIH opHaTy (2-b)
HycKay
- Ocbi opHaTy cTNIH naIdanaHy Ke3IHde TД-DbIH apTKbl KaBbIHdaBbI Kei6ip TepMNHaIapDbI naIdanaHy MymKIn H emec.


3 KaKeTTi KaBeJIbI (KaBeJIbIepeI) TeJeIuIapra JkaNfay.
TeJeIaIapDbI Ka6bIpFara opHaTnac 6pybIH Ka6eIbIepDIn JxKanFaHraHbIH TeKcpeIH3. TeJeIaIapDbI opHaTKaHHaH KeiH Ka6eIbIepDi JxJfay MymKIn 6oMaNdbI. TeJeIaIapMeH 6epiTeIH AHykTaMaJIbIK HcyKay 6eJIIMH KapaHbI3.
4 Ka6eIb yCTaftbIshbIH (TeIeIuIapMeH 6ipre 6epiInreH) 6ocatblb3. (KD-65XD85□TaHa)

5 Ka6eJIbIepei 6yblHbI3. KD-65XD85□□ yuHn Ka6eJIb YcTaBbIbH iXki yIapDbH bipHe bekirH3.

Eckey
Kabelji Ka6bipra iimimen Kyypr3y KymblctapBH JInuHn3nCbI bap Mepdirep KacaybKepek.
KaebIbIepDi Ka6bIpara 6ekitnc 6ypbIH onapdbI bacbl KETnec yuiH xaiIraHaTbIH Ka6bIepeDJI XINHaBb3.
6 TД-дан Yстел ТьрьнaxьраТыИз.

Ka6bipraFa TeIeIaIapIbI opHaTy
1 TeNeiIapIbI Tyfblpfa opHaTy.
- ⅢKINBTEpIH ⑧ TfYbIpa 6eKITInTeH opHbI aHbIKay yuH 6-6eTteri «OpHaTBJaTH opbIHdbI aHbIKay» 6eJIIMiHderi 3-KaJAMbIH KeCTecIH KapaHbI3.
- TeNeiIapIbI eki KONbIbI36eH MbIKtan yCTan TeNeiIapIbIH apTbIH 6ekITIreH 1KINBTEpDi caHbIaayapDbIH KeCKHIHe cAnKeCTeHdipe OTbIPB IN (TfYbIPra aklbipH 6ekITiHi3.
TД-ды ka6bIPfara opHaTkaHHaN KeiH TerepuikTepeHeri3re Hemece Heri3ri aanTepre bekem iInHReHdiriH TeKcepij3.

2-a

2-b
ECKEPTY
KMybic ictey Ke3iHne eki Hemece OaH da Kaen aam TepeuapdbI YCTan Typybl KepeK.
2 TepeiIapdbIn TemeHri 6eJIirIH KblKbIn KeTyin 6oJbIpMay.
- BeNdiKti F anbIn, OHbl Ka6blpraFa MblkTan 6ekitih3.


-Диаметри5MMболатун HeMeceУКсac 6уразданыпайдалалыньз (БерIMergeH).
Eckepty
- Teneiapdbin anfa kapa JxbljmbMaTbIHbTHekcepy yuiH Teneiadapdbin TMehri 6eirih e3iH3re kapa aKbpHn TaTbIn KepiH3. XblNtBn Bcnonca, dypbc 6ekitImeH bOJFaHb Xehe 6endkti F kaTta 6ekitH3.
OpHaTydbIH aЯКТаЛFaHДbIfbIH Tekcepy
Keileceineperdi Tekcepini3.
ΕύκολοΕγχειρίδιο