KD65XD8505B - Televisor SONY - Manual de utilização gratuito
Encontre gratuitamente o manual do aparelho KD65XD8505B SONY em formato PDF.
Baixe as instruções para o seu Televisor em formato PDF gratuitamente! Encontre o seu manual KD65XD8505B - SONY e retome o controlo do seu dispositivo eletrónico. Nesta página estão publicados todos os documentos necessários para a utilização do seu dispositivo. KD65XD8505B da marca SONY.
MANUAL DE UTILIZADOR KD65XD8505B SONY
Informações de instalacao para Utilizar o Suporte de Parede Sony (SU-WL450)
Modelos suportados: KD-65XD85 ^ /55XD85 ^
Para os pacientes
Para proteção do produits e por motivos de segurança, a Sony recomenda vivamente que a instalação do seu teilevisor sera efetuada por agentes ou&Tecnicos licenciados da Sony. Não tente instalá-lo sozinho.
Para os agentes e&Tecnicos da Sony
Deve ser dada total atencao a seguranca durante a instalacao, durante qualquer manutenao periodica e durante qualquer verificacao deste produits.
É necessário ter experiência suficiente para instalar este produit, especialmente para determinar se a parede tem robustez suficiente para suportar o peso do televisor. Certifique-se de que confia a instalacao deste produit numa parede a agentes ou&Tecnicos licenciados da Sony e de a devida atencao a seguranca durante a instalacao.A Sony não poderá ser responsabilizada por quaisquer danos ou ferimentos causados por manuseamento incorreto ou instalacao incorreta.
Para uma instalação segura e adequada, siga o Manual de Instruções do Suporte de Parede, o Guia de iniciço do teletórator e as instruções deste manual.
Seguranca
É necessária uma formação técnica adequada para instalar este produto. Solicite a instalacao a agentes Sony ou a entreprises contratasadas autorizadas e preste especial atençao à segurarly durante a instalacao.A Sony nao se responsabiliza por quaisquer danos ou ferimentos causados pela utilização indevida ou instalacao incorrecta, nemPGA instalacao de um produit diferente do produitspecificado.Os seu Direitos Estatuiarios (se existrem) nao sao afectados.
Para os agentes da Sony
É necessária uma formação técnica adequada para instalar este produits. Leia atentamente这是 manual de instruções para efectuar a instalacao com segurar. A Sony não se responsabiliza por quaisquer danos ou ferimentos causados pela utilização indevida ou instalação incorrecta. Àpós a instalação, entrega este manual de instruções ao cliente.
Este manuallde instruçõesdescrevas as precauçoesimportantesnecessariaspara evacatar acidentes eutilizar o produits de forma correcta.Leia-o na integrae utilize o produitscorrectamente.Gardeste manuale parafuturasconsultas.
Os produits da Sony são concebidos para oferecer a maior seguranca. No entanto, se realizados de forma Incorrecta, podem provocar ferimentos graves atraves de incendio,CHOque eletrico ou queda Para evaporar esse tipo de acidentes, respeite as precauocoes de seguranca.
CUIDADO
Produtos especializados
Este Suporte para Montagem na Parede foi concebido para ser'utilizzato apenas con o television especificado. Para televisores, consulte o Guia de referencia para vericar se o Suporte para Montagem na Parede pode ser utilizado.
Para os pacientes
AVISO
O não cumprimento das precações indicadas abaiixo, pode provocar a morte ou ferimentos graves atraves de incendio, quando eletrico ou quada do produits.
Certifique-se de que a instalacao é efectuada por representantes autorizados e mantenha as crianças afastadas do local durante a instalacao.
Se o suporte de montagem na parede ou o tevisor não foram instalados correctamente, pode ocorro os seguinto acidentes. Certifique-se de que a instalacao é efectuada para tecnicos Qualifiedos.
- O televator pode cair e provocar ferimentos graves, como equimoses ou fracturas.
- Se a parede onde o Suporte para Montagem na Parede está instalado for instavel, irregular ou não estiverperpendicular ao chao, o aparelho pode caire provocar ferimentos ou danos materiais. Aparede devesurer sufficientemente forte para所提供ar um peso, no minimum, quatro vezes superior ao do teilevisor. (Consulte o Guia de referencia do teilevisor quanto ao respetivo peso.)
- Se a instalacao do Suporte para Montagem na Parede não for suficientemente solida, o aparecido pode cair e provocar ferimentos ou danos materiais.
Contrate技术和quality of transportedesmontagem dotelevision.
Se o transporte ou montagem for feito por pessoas que não os tecnicos especialicos, o teletvisor pode cair e provocar ferimentos ou danos materiais. O transporte ou a desmontagem do teletvisor devera se efectuado por das ou mais pessoas.
Não retire os parafudos, etc., après a desmontagem do televisor.
Se o fizer, o tevisor pode cair e provocar ferimentos ou danos materiais.
Não faça quaisquer alterações nas peças do Suporte para Montagem na Parede.
Se o fizer, o Suporte para Montagem na Parede pode cair e provocar ferimentos ou danos materiais.
Não instale um equipamento diferente do especialico no suporte.
Este Suporte de Instalação na Parede foi concebido para serutilizando apenas com o produitspecificado.A instaladora de qualqueroutoequipamento podede resulted emqueada ouquebraeprovocardanos materiais ou ferimentos.
Não coloque nenhumacarga para algo dotelevision no Suporte paraMontagem na Parede. Não agite o televisor paraa esquerda/para a direita,para cima/para baixo.
Se o fizero tevisor pade caire e provocar ferimentos ou danos materiais.
Não se encoste nem se pendure no televator.
Não se encoste nem se pendure no televisor,
pois este pode cair e provocar ferimentos
graves.
CUIDADO
Se as seguinta precauções não foram observadas, poderão ocorro ferimentos ou danos materiais.
Nãoança demasiada paraça durante a limpeza ou manutenção do produits.
Não faça demasiada para na parte superior do television. Se o fazer, o television pode cair e provocar ferimentos ou danos materiais.
Precauçôes
- Se utilizes o televisor instalado no Suporte para Montagem na Parede durante muito tempo, a parede por eles ou por cima do televisor pode perder a cor e o papel de parede pode descalar-se, dependendo do material da parede.
- Se retirar o Suporte para Montagem na Parede(before do instalar, os orificios do parafuso ficam na parede.
- Não utilize o Suporte para Montagem na Parede num local num local sujeito a vibrações mecânicas.
Instalar o suporte para montagem na parede
Para os Agentes da Sony
AVISO
As seguients instruções destinam-se apenas ao agentes da Sony. Leia as precauções de segurarça na integra e preste muito atençao às medidas de segurarça que é preciso respeitar durante a instalação, manutenção e verificação deste produits.
Não instale o suporte para montagem em paredes em que os cantos ou os lados do televisor fiquem afastados da parede.
Não instale o suporte para montagem na parede em colunas em que os cantos ou os lados do televisor fiquem afastados da parede. Se uma pessoa ou objecto embaterem no canto ou lado saliente do televisor, isso pode provoc ferimentos ou danos materiais.

Não instale o televisor por cima ou por baixo de um aparecido de ar condicionado.
Se o tevisor ficar exposto a fugas de agua ou corrientes de ar do aparelho de ar condicionado durante muito tempo, pode ococrer um incendio, um quoi eletrico ou uma avaria.
Instale o suporte para montagem na parede com segurarça靼asindicacoesdestemanual de instruções.
Se algoq dos parafusos estiver solto ou cair, o suporte para montagem na parede pode cair e provocar ferimentos ou danos materiais. Utilize os parafusos adequados ao material de que é feita a parede e fixe bem o suporte com quatro ou mais parafusos de 8 mm de diametro (ou Equivalentes).

Utilize os parafudos e os acessórios fornecidos conforme as indicações destemanual de instruções. Se utilizesotros acessórios, o televisor pode caire evocar ferimentos a algoém ou danos materiais no proprietary televisor.
Monte o suporte correctamente, seguido o procedimento explicado;neste manual de instruções.
Se um dos parafusos se soltar ou cair, o televisor pode cair e provocar ferimentos a algoum ou danos materiais no televator.
Aperte bem os parafudos na posicao correcta.
Se não o fizzer, o televator pode cair e ferir algoém ou ficar danificado.
Não submeta o televisor a qualquerCHOque durantea instalacao.
Se o tevisor softer choques, pode cair ou partir-se. O que pode provoc ferimentos.
Instale o tevisor numa parede perpendicular e plana.
Se não o fazer, o televisor pode cair e provocar ferimentos.
Depois de instalarcorrectamente o televator,fixebem os cabos.
Se as pessoas ou objectos ficarem emaranhados nos casbos, poder ferir-se ou danificar o televisor ou o monitor.
Não deixe o cabo de alimentação CA, nem o cabo de ligação ficarem trilhados.
Se o cabo de alimentação CA ou o cabo de ligationar ficar trilhado entre o aparenho e a parede ou se os fazer ou torcer a forca, os conduitorios internos podem ficar a vista e provocar um curto-circuito ou a quebra do cabo eletrico. Pode provocar um incendio ouCHOque eletrico.

Os parafudos necessários para fixar o Suporte para Montagem na Paredenão está incluídos.
Utilize os parafusos apropiados para o material de que é feita a parede e para a estrutura quando instalar o Suporte para Montagem na Parede.
Instalação do televisor na parede
- Guarde os parafudos que remove num lugar seguro e fora do alcance de crianças.
Preparar a instalacao
- Tenha o Guia de referencia do teletovisor à não antes da instalação.
- Certifique-se de que tem uma chave de parafusos Phillips adequada aos parafusos antes de proceder à montagem.
- Confirme a posicao de instalacao do seu televisor.
- Prepare quatre ou mais parafusos de 8 mm de diametro e um parafuso de 5 mm ou equivalente (não fornecido). Escolha parafusos adequados para o material da parede.
Verónica das peças
Fornecido com o SU-WL450
- Verifique se todas as peças está incluidas.
| A Base (20) (1) | B Polia (2) |
| C PSW 6x20 (4) | D PSW 4x20 com anilha (2) |
| E Espaçador (20) (2) | F Cinta (1) |
| G Anilha (20) (M4) (2) | H PSW 4x20 (2) |
| I Adaptador de base (2) | J PSW 4x10 (8) |
| K Espaçador (60) (2) | L PSW 6x50 (2) |
| M Anilha (M4) (2) | N PSW 4x50 (2) |
| O Acessório para montagem na parede (S) (2) | P Espaçador (2) |
| Q Anilha (1) | R PSW 5x12 (1) |
Fornecido com o televisor (fixo na parte de \ trás)

Decirsoa localização da instalação
1 Decida sobre a localização da instalação.
Certifique-se de que a parede tem esqaco suficiente para o tevisor e que consequence suportar ou quadruplo do peso do tevisor.
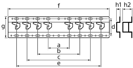
Consulte aabela segunte relativa à instalação do teletor numa parede.Consulte o Guia de referencia do teletor para saber qual é o peso do teletor.

Ponto central do ecran
Unidade: mm
| Nome do modelo KD- | Dimensões do visor | Dimensão do centro do eocré | Comprimento para montagem | ||
| a | b | c | d | e | |
| Montagem padrão Montagem curta | |||||
| 65XD85□□ | 1.454 | 842 | 56 | 483 | 102 60 |
| 55XD85□□ | 1.231 | 717 | 129 | 494 | 102 60 |
Nota
- Os números daanela podevariar ligeiramente dependendo da instalacao.
Permite una folga adequada entre o televisor e o tecto e as peças salientes da parede, conforme aparecido abaixo.
Unidade: mm

- Para garantir uma ventilação adequada e fazer a accumulacao de sujidade e po:
- Não instale o televisor na horizontal, virado ao contrário, invertido ou de lado.
- Não instale o televisor sobre uma prateleira,\ carpete ou cama, nem dentro de um armário.
- Não cubra o televator com panos, como cortinas, nem com jornais, etc.
- Não instale o televisor como ilustrado em baixo.
Circulacao de ar bloqueada.

Nota
- Se desejar instalar os cabos numa parede, fazer primeiro um orifcio na mesma para introduzir os cabos antes de iniciar a instalacao.
Para evaporar trilhar os cabos,prepare um orificio na parede no exterior do perimetro da base (20) A, adaptador de base 1 e do especialador (20) E,do especialador (60) K.
2 Seleciono o estilo de montagem na parede. A distança entre a parte traseira do televisor e a parede pode ser seleccionada conforme abaixo indicado.
2-a Montagem normal
2-b Montagem compacta
Consulte aabela do passo 1.
AVISO
- Quando seleccionar 2-b, o acesso ao terminal posterior é limitado.


3 Consulte aabela em baixo para saber qual é a localização de instalação do Adaptador da Base. Caso seleção 2-b, ignore este passo.
| Nome do modelo KD- | Localização do gancho |
| 65XD85□□ | b |
| 55XD85□□ | c |

Instale o adaptor da base ① utilizes o parafuso (PSW 4x10) ② na base (20) ④ quando seleccionar 2-a.

4 Decida as posicaoes dos parafudos para instalar a base (20) A.
Consulte as espécificações na párgina 12. quando selecciónar 2-a,utilize as posições dos orificios do adaptor da base ①.
AVISO
- A parede na qual o tevisor sera instalado deve ser capaz de所提供ar um peso在哪o quando superior ao peso do tevisor (Consulte o Guia de referencia do tevisor quando ao respetivo peso).
- Determine a resistência da parede em que está instalado o televisor. Se necessário, reforce a parede.
Instalacao da base na parede
- Utilize quatre ou mais parafusos de 8 mm de diametro ou equivalente (não fornecido).
- Instale quatre parafusos nos orificios do adaptor da base ① com a base (20) A (apenas 2-a).
- Instale a base (20) A na parede, na horizontal.


Preparar a instalação do televisor
1 Remova os parafudos da parte deTRSdo televisor.
KD-65XD85□□

KD-55XD85□□

2 Instale as peças de fixação do Suporte de Parede. Verifique quando são as peças de fixação consultando "Fornecido com o SU-WL450" na secção "Verificação das peças", na párgina 5.
Nota
- Apertefirmamenteaspeçasdefixacaoutilizando parafusos.
- Quando utilizar una chave de parafusos elétrica, configure o binário de aperto para aproximamente 1,5 N·m {15 kgf·cm}.
- Guarde as peças que não utilizes num lugar seguro para poder'utilá-las no futuro. Guarde estemanual para poder consulçá-lo no futuro.
Montagem padrao (2-a)

Montagem curta (2-b)
Nota
- Com este estilo de montagem, não poderá usar algunos dos terminais da parte de vez do teovisor.


3 Ligue o(s) cabo(s) necessario(s) ao televator.
Certifique-se de que liga os cabos antes de instalar o televisor na parede. Não poderá ligar os cabos quando o televisor estiver instalado.
Consulte o Guia de referencia fornecido com o seu televisor.
4 Retire o suporte de cabos (fornecido com o televisor). (apenas KD-65XD85□□)

5 Junte os cabos.
Para o KD-65XD85□□, fixe o suporte de cabos a um dos orificios interiores.

Nota
- Certifique-se de que o encaminhamento dos cabos ao longo da parede é efectuado por agentes autorizados.
- Una os cabos de ligação para fazer pisa-los, antes da montagem na parede.
6 Separe o Suporte de Fixação para Mesas do televisor.

Instalacao do televisor na parede
1 Instale o televisor na base.
- Para a localização das polias [B] para pendurar na base, consulte aanela do passo 3 em "Decir sobre a localização da instalação" na págin6.
- Secure bem o televisor com as两大 mãos e pendure suavamente as polias ® presas à parte deTRS do televator à base, certificando-se de que confirmá a forma dos orificios.
- Depois de instalar o teovisor na parede, confirme se as polias está bem presas à base ou ao adaptador de base.

2-a

2-b
AVISO
- Certifique-se de que o transporte do televisor é ser efectuado por das ou mais pessoas.
2 Evitar que a parte de baixo do televisor se mova.
- Elimine a folga da cinta (F) e prenda-a firmamente à parede.


- Utilize um parafuso de 5 mm de diametro ou equivalente (não fornecido).
Nota
- Tente puxar a parte de boa do tevisor ligeiramente para si, para se certificar de que não se move para a fronte. Se houver algoum movimento, não é fixado correctamente e a cinta F deve voltar a ser firmamente presa.
Confirmar a conclusão da instalação
Verifique os seguiñes pontos.
- As polias 已 está penduradas com firmeza na base ou no adaptor de base.
- Os cabos de alimentação e ligação não está dobrados nem trilhados.
- A*cinta está bem presa,sem folga.
AVISO
- A instalação Incorrecta do cabo de alimentação CA, etc., pode provocar um incério ouacho eletrico devidao a um curto-circuito. Verifique se a instalação está terminada, por medida de segurança.
Outras informações
Quando remover o televisor, inverte o procedimento de instalacao anterior.

AVISO
- Certifique-se de que a remoção do televisor é ser efectuado por das ou mais pessoas.
Especificações

O design e as espécificações está sujeitos a alterações sem avis prévio.
ManualFácil