KD65XD8505B - Fjernsyn SONY - Gratis brugsanvisning og manual
Find enhedens vejledning gratis KD65XD8505B SONY i PDF-format.
Download vejledningen til din Fjernsyn i PDF-format gratis! Find din vejledning KD65XD8505B - SONY og tag din elektroniske enhed tilbage i hånden. På denne side er alle dokumenter nødvendige for brugen af din enhed offentliggjort. KD65XD8505B af mærket SONY.
BRUGSANVISNING KD65XD8505B SONY
Montera TV:n på vaggen
Installationsanvisningarna skiljer sig at beroende på vilken TV du anvander.
Montera basen på vöggen
Montera TV:n på vaggen
1 Montera TV:n på basen.
Oplysninger om montering med Sonys Beslag til vægmontering (SU-WL450)
Understøtte modeller: KD-65XD85□□/55XD85□□
- "□□" i modelnavnene angiver tal og/eller tegn for den enkelte model.
Til kunder
Af hensyn til Produkts og den generelle sikkerhed anbefaler Sony på det kraftigste, at monteringen af tv'et udføres af en Sony-forhandler eller en autoriseret installerør. Forsøg ikke at montere det selv.
Vær opmaerkso mø sikkerheden under montering, vedligeholdelse og eftersyn afprodukte.
Installation af dette produit kræver visse forudsætninger, især for at &, om væggen kan bære tv'ets vægt. Monteringen af dette produit skal udføres af en Sony-forhandler eller autorisérét installerør under hensyntagen til sikkerheden. Sony er ikke ansvarlig for beskadigelseller personskade, der opstår som følge af forskert händtering eller forskert montering.
Af hensyn til sikkerheden og korrekt montering skal du ffolge den Betjeningsvejledning, der fulgte med dit Beslag til vægmontering, tv'ets Startvejledning og anvisningerne i/DDne vegledning.
Om sikkerhed
Tak, fordu har kobe tette produit.
Til kunder
Installation af dette produit kraver visse forudsætninger. Monteringen skal udføres af en Sony-forhandler aller autoriseret installer der hensyntagen til sikkerheden. Sony er不同程度 ansvarlig for eventuelle materielle skader aller persökader, der skylde forskert handtering ell mangelfuld installation aller installation af et andet produit end det, der er angivet. Dine eventuelle lovsikrede rettigheder pāvirkes参加会议。
Til Sony-forhandlere
Installation af dette produit kraver visse forudsæntinger. Laes davon vejledning grundigt for at udføre monteringen på sikker vis. Sony kan ikke holdes ansvarlig for personskader eller materielle skader forårsaget af ukrékt behandling eller montering. Giv davon vejledning til kunden after monteringen.
Denne monteringsvejledning beskriver korrekt handtering afproduk t und vegitste forholdsergler, som er ndevendige for atforhindre ulykker. Laes denne vejledning grundt, od brugproduk korrekt.Gem vejledingen til senere brug.
Sonys produiter urudformet med hemblik pa at opnabedst mulig sikkerhed. Hvis produiterne anvendes forkert, kan det medfore alvorlg personsekas som fge af brand,elektrisk stod,eller fordi produitet valter erller falder ned.Undga sadanne ulykker ved at overholde sikkerhedsforskriffterne.
FORSIGTIG
Dette beslag til vægmontering kan kun bruges til montering af de ovenfor naventeprodukter. For tv'er skal du lase deres Referencveejledning for at进展情况 ud af, om du kan bruge beslaget til vægmontering.
Til kunder
ADVARSEL
Hvis falgende forholdsregler ici overholds, kan det medfere alvorig personskade ell erdo som folge af brand, elektrisk stod, ell fordi Produktet vaelter ell falder ned.
Monteringen skal udfores af en autoriseret installer ±b Born må ikke vare iærheden under monteringen.
Hvis beslaget til vægmontering eller tv'et
ikke monteres korrekt, kan der ske følgende
ulykker. Lad en autorisert installerator udfør
monteringen.
T-vt ken falde ned og forasage alvitori skader, feks. bla mærker er布尔德。
Hvis den væg, hvor beslaget til vægmontering er monteret, er ustabil, skæv eller ikke stär vindelret på gulvet, kan encheden falde ned og forårsage personskade aller materiel skåde. Væggen skal kunne holde en vægt på mindst fire gange tv'ets vægt. (Flere oplnsnör om tv'ets vægt vindes i tv'ets Referencvejledning).
Hvis monteringen af beslaget til vægmontering ikke er solid nok, kan enheden falde ned og forårsage personskade eller materiel skade.
Flytning aller afmontering af tv'et skal udfores af en autoriseret installerator.
Hvis tv'et flyttes eller afmonteres af ikke-auriserede personer, kan det falde ned og orfarsage personskade eller materiel skade. Sorg for, at der er mindst to personer til at baree eller afmontere tv'et.
Du mä ikke fjerne skruer osv., nár tv'et er monteret.
Hvis du gorg dette, kan tv'et falde ned og forarsage personskade eller materiel skade.
Foretag ikkeændringer på beslaget til vægmontering.
Hvis du gor det, kan beslaget til vægmontering falde ned og forårsage personskade Eller materiel skade.
Monter-ilke andet udstyr end det specificerede produkt.
Dette beslag til vægmontering er udviklet til kun at bruges sammen med det specificerede produkt. Hvis du monterer andet udstyr end det specificerede, kan det falde ned ell er gå i stykker og forårsage personskade eller materiel skade.
Monter seks nogen anden belastning end tv'et pâ beslaget til vægmontering. Ryst seks TV'et mod venstre/højre, op/ned
Hvis du gur dette, kan tv'et falde ned og forasnge personskadeEller materiel skade.
Du mä ikke læne dig ind over tv'et eller hænge i det.
Du maybe lene dig ind over tv'et ell er hange i det, da det kan falde ned og forarssage alvorlig personskade.
FORSIGTIG
Hvis falgende forholdsergler ikke overholds, kan der opstá materiel skade eller personskade.
Handter Produktet Forsigtigt under rengring og vedligeholdelse.
Du mä ikke trykke hardt ind på forsiden af tv'et. Hvis du gör dette, kan tv'et falde ned og forårsage personskade eller materiel skade.
Sikkerhedsforanstaltninger
Hvdsbruger tv'et monteret pa beslaget til vægmontering gennem længe tid, kan vaegen bag ved ell erven over tv'tet blive misfarvet, ellertapetet kan Iønsig, afhængigt af det materiale, vaegen er lavet af.
Hvis beslaget til vægmontering fjernes after montering på væggen, bliver skruehullerne tlibage.
- Du må ikke bruge beslaget til vægmontering på et sted, hvør det udsettes for mekaniske vibrationer.
Montering af beslaget til vægmontering
Til Sony-forhandlere
ADVARSEL
Folgende anvisninger er kun til
Sony-forhandere. Sorg for at lese
ovennavente sikheredsforskrifter
grundigt, og vær særlig opmaerksom pa
sikkerheden under montering,
vediligeholdelse, kontrl og reparation af
dette produit.
Monter/DDke beslaget til vægmontering pflader, hvor tv'ets hjørner ell sider stikker frem.
Monter ici beslaget til vægmontering pá flader, f.eks. en sojle, hvor tv'ets hjørner eller sider stikker frem. Hvis en person或者 genstand støder imod tv'ets fremspringende hjørne eller side, kan det medforde perskontade eller materiel skade.

Du mä seks montere tv'et over uller under et klimaanlag.
Hvis tv'et gennem laengere tid udsættes for vanddryp Eller luft fra et klimaanlag, kan det medfrole brand, elektrisk std ell er beskadigelse af tv'et.
Sorg for at montere beslaget til vægmontering sikkert på væggen ved at følge instruktionerne i denne brugervejledning.
Hvis nogle af skruerne er lõse erller falder ud, kan beslaget til vægmontering falde ned og forårsage personskade erller materiel skade. Sørg for at bruge skruer, der eigner sig til det materiale, væggen er lavet af, og monter eheden sikkert ved at bruge mindst fire skruer med en diameter pa 8 mm eller tilsvarende.

Sorg for at bruge demedfolgende skruer og tilhorende dele korrekt, og folog anvisningerne i denen monteringsvejledning. Hvis du bruger andre dele, kan tv'et falde nd og forarsage personskade eller blive beskadiget.
Sorg for at samle beslaget korrekt ved at folge den procedure, der er forklaret i/DDne brugervejledning.
Hvis nogle af skruerne er Ise erller falder ud, kan tv et falde ned og forarssage personskade ellere blve beskadiget.
Sorg for at stramme skruerne tilstrækkeligt på den angivne position.
Hvis du ikke dette, kan tv'et falde ned og forårsage personskade eller blive beskadiget.
Sorg for, at tv'et ikke udsættes for stødpavirkninger under monteringen.
Hvis tv'et uddsettes for stadpavirkninger, kan det falde ned og gä i stykker. Dette kan forårsage perskade.
Sorg for at montere tv'et på en væg, der er plan og vinkelret på gulvet.
Hvis du icike gør dette, kan tv'et falde ned og forarssage personskade.
Sorg for at sikre kablerne forsvarligt after correkt montering af tv'et.
Hvis mensnesker ell genstande bliver viklet ind i kablerne, kan det forarsage personskade uber beskadigelse at tv'et.
Du må ikke lade strømkablet eller tilslutningskablet blive klemt.
Hvis strömkablet eller tilslutningskablet er klemt mellem enheden og væggen eller bøjes eller snos, kan ledningsstrådene blive blotlagt og forårsage kortslutting eller strömafbrydelse. Dette kan medføre brander essenkrishk stød.

De skruer, der skal bruges til at fastgore beslaget til væggen, medfølger ikke.
Brug skruer, der egner sig til det materiale,
væggen er lavet af, när beslaget til
vægmontering monteres.
Montering af tv'et pa væggen
Monteringsprocedureen varierer afhengigt af tv'et.
Brug beslaget til vægmontering SU-WL450 til at montere tv'et på væggen.
Bemaerk
- Sørg for at opbevare skruerne et sikkert sted væk fra børn.
- Hav tv'ets Referencevejledning ved händen För montering.
Find pa forhand en stjerneskruetrakker frem, der passer til skruerne.
Find tv'ets midtpunkt. - Klargør mindst fire skruer med en diameter på 8 mm og en skrue på 5 mm ellertilsvarende (medfolger ikke). Vælg skruer, der passer til æggens materiale.
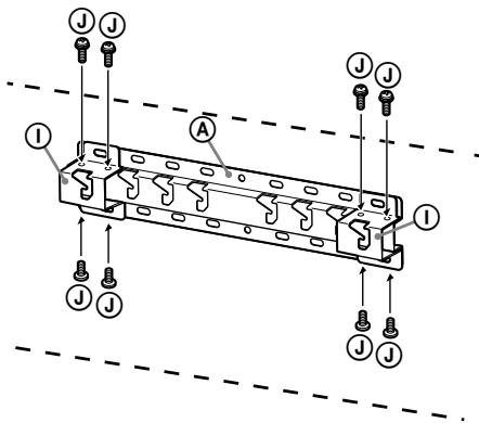
Kontrol af dele
Folger med SU-WL450
- Kontroller, at alle dele forefindes.
| A Base (20) (1) | B Trisse (2) |
| C PSW 6x20 (4) | D PSW 4x20 med bøsning (2) |
| E Afstandsstykke (20) (2) | F Bælte (1) |
| G Bøsning (20) (M4) (2) | H PSW 4x20 (2) |
| I Baseadapter (2) | J PSW 4x10 (8) |
| K Afstandsstykke (60) (2) | L PSW 6x50 (2) |
| M Bøsning (M4) (2) | N PSW 4x50 (2) |
| O Vægmonterings-anordning (S) (2) | P Afstandsstykke (2) |
| Q Skive (1) | R PSW 5x12 (1) |
Folger med tv'et (findes pa bagsiden)

Find en placering
1 Find tv'ets placering.
Sorg for, at der er nok plads til tv'et på væggen, og at væggen kan böre en vægt på mindst fire gange tv'ets vægt.
Se følgende tabel vedrørende montering af tv'et på væggen. Flere oplysninger om tv'ets vægt vindes i tv'ets Referencevejledning.

Enhed: mm
| Modelnavn KD- | Skærmens mål | Mål for skærm-midtpunkt | Længde for montering | |||
| a | b | c | d | e | ||
| Standard-montering | Smal-montering | |||||
| 65XD85☐□ | 1.454 | 842 | 56 | 483 | 102 | 60 |
| 55XD85☐□ | 1.231 | 717 | 129 | 494 | 102 | 60 |
- Tallene i oversigten kan variere en smule afhaengigt af monteringen.
Bemerk
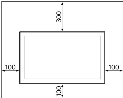
Tegningen nedenfor viser, hvor stor afstand der skal vare mellem tv'et og loftet og fremspringende dele af væggen.
Enhed: mm

- For at sikre tilstrækkelig ventilation og forhindre ansamling af støv og snavs:
Læg ikke tv'et fladt ned, og montér det ikke på hovedet, bagvendt eller sidevendt.
- Tv'et mä ikke installeres pa en hylde, et tæppe, en seng eller i et skab.
-Tv'et ma'ike daekkes til med stof,f.eks.gardiner, ell andre ting,f.eks.aviser osv.
- Installer不断完善 v'et som vist nedenfor.

Bemerk
Hvis kablerne skal fores i vaeggen, skal du lave et hul, som de kan fores igennem, for monteringen pabegyndes.
Lav et hul i væggen.uden for basens (20) A, baseadapter ① og afstandsstykkets (20) E, afstandsstykkets (60) K perimeter, sä kablerne/DD ke kommer i klemme.
2 Vælg vægmonteringingsform. Afstand fra tv'ets bagside til væggen kan vælges som vist nedenfor.
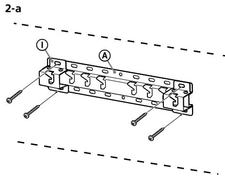
2-a Standardmontering
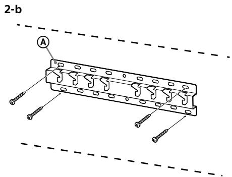
2-b Smal montering
Set tabellen i trin 1.
ADVARSEL
- Nár 2-b vælges, begrænses adgangen til stikket bagpå.


3 Se tabellen nedenfor vedrørende placering af baseadapterens fitting. Ved valg af 2-b springs dette trin over.
| Modelavn KD- | krogplacering |
| 65XD85□□ | b |
| 55XD85□□ | c |

DK
Tilpas baseadapter ① med en skrue (PSW 4x10) ⑦ til base (20) A ved valg af 2-a.

4 Bestem positionerne for skruerne til montering af base (20) A.
Se specificationsne paa side 12.
Ved valg af 2-a bruges hulpositionerne i baseadapter ①
ADVARSEL
- Væggen, som tv'et skal monteres på, skal som minimum kinne klare en belastning på fire gange tv'ets vægt (Flere oplysninger om tv'ets vægt vindes i tv'ets Referencevejledning).
- Kontroller bæreevnen for den væg, som tv'et skal hænges op på. Du kan eventuelt forstærke væggen.
Montering af basen pa væggen
- Brug mindset fire skruer med en diameter pa 8 mm aller tilsvarende (medfølger icke).
- Sæt fire skruer i hullerne på baseadapter ① med base (20) A (kun 2-a).
- Monter basen (20) A horisontalt p a væggen.


Gør klartil montering af tv'et
2 Montér de tilhørende dele til beslaget til vægmontering. Læs afsnittet "Folger med SU-WL450" under "Kontrol af dele" på side 5 for at få ophysninger om monteringsdelle.
Bemerk
- Fastgör monteringsdelene med skruer.
- Hvis der bruges en elektrisk skruetrækker, skal drejningsmomentet indstilles til ca. 1,5 N·m {15 kgf·cm}.
- Sorg for at opbevare dele, der/DDke bruges, et sikkert sted til brug i fremtiden. Gem vegledningen til senere brug.

Standardmontering (2-a)
Smal-montering (2-b)
Bemerk
- Du kan ikke bruge nogle af stikkene bag på tv'et,,hvis du bruger denen monteringstype.


3 Slut de nødvendige kabler til tv'et.
Sorg for at tilslutte kablerne for montering af tv'et pa væggen. Du kan ikke tilslutte kablerne, narr tv'et er monteret.
Se den Referencevejledning, der fulgte med tv'et.
4 Løsn kabelholderen (følger med tv'et) (kun KD-65XD85□□).

5 Saml kablerne.
KD-65XD85□□:
Sæt kabelholderen iét af hullerne.

Bemærk
- Lad en autoriseret person traekke kablerne i væggen.
- Saml tilslutningskablerne, sä de/DDI bliver tradt pafor vægmontering.
6 Afmonter tv'ets tv-fod.

Vægmontering af tv'et
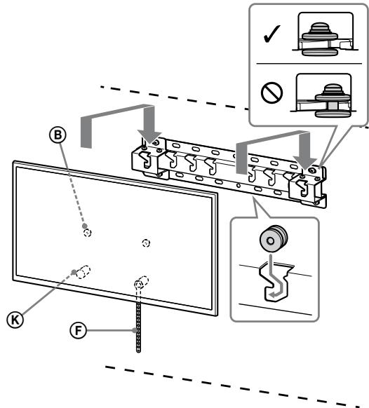
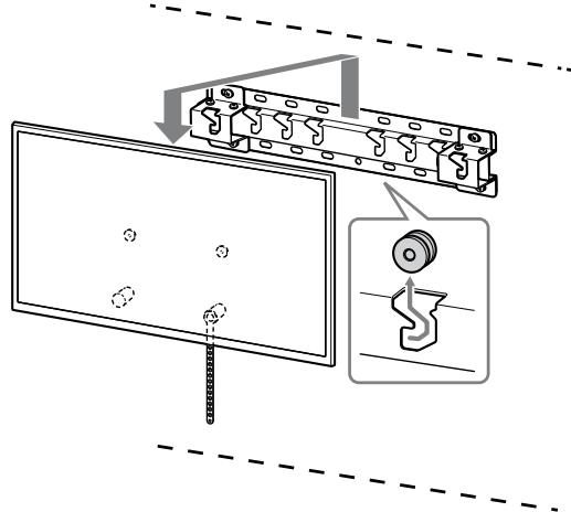
1 Monter tv'et pa basen.
For placering af trisserne ⑧ pa basen, se oversigten i trin 3 i afsnittet "Find en placering" pa side 6.
- Hold tv'et sikkert med begge hænder, og hæng forsigtigt trisserne ⑧, som er fastgjort bag på tv'et, til basen, og bemærk hullernes form.
- Efter montering af tv'et på væggen kontrolleres, at trisserne ⑧ er fastgjort korrekt i basen eller i baseadaptereren.

2-a

2-b
ADVARSEL
- Fastgør bæltet E ordentligt til væggen.


- Brug en skrue med en diameter på 5 mm eller tilsvarende (medfølger ikke).
Bemaerk
- Prov forsigtigt at trække tv'ets bund mod dig selv for at sikre dig, at det ikke kan flyttes fremad. Hvis bunden kan flyttes, er den ikke fastgjort korrekt, og bæltet ⑥ skal sikres ordentligt igen.
Kontroller monteringen
Kontroller følgende punkter.
- Trisserne (B) skal hænge ordentlich i basen ell er i baseadapteren.
- Ledningen og kablet må ikke snoet eller klemt.
Baeltet F skal vare stramt uden at henge.
ADVARSEL
- Forkert placering af strømktablet osv. kan medfrole brand eller give elektrisk stød, hvis der opstår en kortslutning. Kontroller, at monteringen er sikker.
Flere ophysninger
Hvis tv'et skal afmonteres, udfores monteringsproceduren i omvendt rækkefolge.

ADVARSEL
Vægt (kun base): (ca.) [kg]
0,8
Design og specifikationer kan ændres,uden varsel.
Asennustiedot Sonyn
Ikke len deg på erller heng fra TV-en da den kan falle ned på deg og forarsake personskade.
FORSIKTIG
Hvis følgende forholdsregler ikke falges, kan persanskade eller skade på eiendom oppstå.
Ikke handter Produktet med ekstrem kraft under rengjöring eller vedlikehold.
Hvis du ici vii gjore dette, kan TV-en falned og forarsake personskade ellr skade paTV-en.
Ikke la strømledningen eller forbindelsesedmingen kommen i klem.
Hvis stromledningen aller
forbindelsledningen blir klemt mellom
enheten og veggen, eller blir boyd erller vredd med makt, kan de interne lederne bli
ekponert og forrsake en kortslutning erler et elektrisk brudd. Dette kan forrsake brann erler elektrisk støt.

Skruene som er\ nødvendige forå sikre\ veggmonteringsbraketten til veggen følger ikke\ med.
Bruk skruer som passer for veggmaterialiet og strukturen när du monterer vegmonteringsbraketten.
Luftsirkulering er blokkert.

Merknad
- Hvis du har tenkt Å legge kablene i veggen, mä du lage et hull i veggen for Å före inn kablene För du starter installasjonen.
For a forhindre at kablene klemmes, ma du lage et hull i veggen en plass utenfor perimeteret til sukkelen (20) A, sukkeladapter 1 og avstandsstykket (20) E, avstandsstykket (60) K.
2 Velg veggmonteringsttil.
3 Koble de(n) nødvendige kabelen(e) til TV-en.
Sorg for at kablene kobles til før du installerer TV-en på veggen. Du kan ikke koble til kablene nár TV-en er installerert. Se referanseveiledningen som er inkludert med TV-en.
4 Løsne kabelholderen (inkludert med TV-en). (Kun KD-65XD85□□)

5 Samle kablene.
- Overlat kabelf.orgingen i veggen til en lisensiert entrepreneur.
- Samle forbindelsesledningene for a forhindre at du trakker pä dem för montering pä veggen.
Kontroller følgende punkter.
NemManual