KD65XD8505B - Televizyon SONY - Ücretsiz kullanım kılavuzu
Cihazın kılavuzunu ücretsiz bulun KD65XD8505B SONY PDF formatında.
Cihazınız için talimatları indirin Televizyon PDF formatında ücretsiz! Kılavuzunuzu bulun KD65XD8505B - SONY ve elektronik cihazınızı yeniden ele alın. Bu sayfada cihazınızın kullanımı için gerekli tüm belgeler yayınlanmaktadır. KD65XD8505B markasının SONY.
KULLANIM KILAVUZU KD65XD8505B SONY
Sony Duvar Askı Aparatını Kullanma Hakkinda Montaj Bilgileri (SU-WL450)
Desteklenen modeller: KD-65XD85□*/55XD85□*
- Gerçek model adlarinda "☐☐", bir modele özgünumara ve/veya karamterleri ifade eder.
Müsterilere
Urunu koruma ve güvenlik nedenleriyle, Sony TV'nizin montajin Sony saticari vya lisansi yukleniciler tarafindan erfolksekistirilmesini onemle onerir. Kendiniz kurmaya calismayin.
Sony Saticilari ve Yuklenicilerine
Montaj, periyodik bakim ve bu urunun incelenmesi sirasinda guvenlige son derece dikkat edin.
Özellikle duvarın TV'nin ağırkığına dayanacad kadar güölü olup olmadikınl belirlemek,—çın bu ürünün montaj)—çın yeterli derece uzmanlıq gerekir. Bu ürünün duvara takilması konusunda Sony saticilarina veya lisanslıy Yukleniciler)—gügenin ve montaj sirasinda"—gvenlige yeterince dikkat edin. Sony, montajın yanlış—yountemle veya uygunsuz)—sekilde"—yapilmasından kaynaklanan,—hasar veya yaralanmalardan sorumlu)—de)—dir.
Güvenli vedoğan montaj,—in, Duvar Aski Aparati Kullanim Kilavuzu, TV Başlangıç Kilavuzu ve bu kilavuzdaki yönergelere izleyin.
Güvenlik
Bu urunu satin aldiginiz icin teşekkür ederiz.
Müsterilerimize
Bu urunu monte etmek icin yeterli
derecede uzmanlik gereklidir. Montaji
mutlaka Sony Bayilicerine veya lisansli
yuklenicilerine yaptirn ve montaj
sirasinda guvenlige ozelilke dikkat edin.
Sony, montajin yanlis yontemle veya
uygunussz sekilde yapilmasindo veya
belitilen urunun disinda bir urunun
montajindan kaynaklanan hasar veya
yaralanmalardan soruml degildir. Yasal
Haklarinz (varsa) etkilenmez.
Sony Bayilerine
Bu urunu monte etmek icin yeterli
derecede uzmanlik gereklidir. Montaj
isjinin guvenli bir sekilde yapilmasi icin
mutlaka bu kullanim kilavuzunun
tamamini okuyun.Sony, montajin yanlis
yontemle veya uygunsuz sekilde
yapilmasindan kaynaklanan hasarlardran
veya yaralanmalardan sorumlu degildir.
Montajdan sonra lutfen bu kilavuzu
musteriye verin.
Bu kullanim kilavuzunda urunun dokru kullanimi ve kazalan onlemek icin alinmasi gereken onemli tedbirler akilamaktadir. Bu klavuzun tamamini okuduğunuzdan ve urunu dokru sekilde kullandigiinizdan emin olun. Bu klavuzu ileride basvurmak icin saklayin.
Sony urunleri güvenlige onem verilerek tasarlanmistr. Ürunlerin yanlş kullanilmasi yangin, elektrik carpmasi, ürünun devrilmesi veya ürünun dusmesi sonucunda ciddi yaralanmaya neden olabilir. Bu gibi kazalar onlemek icin güvenlik tedbirlerine mutlaka uyun.
Uretici Firma:
Sony Corporation
1-7-1 Konan, Minato-ku, Tokyo 108-0075 Japan
Turkiye Iritbat Numaralan: Tel: 0216-633.98.00
Bu Duvar Aski Aparati belirtlen
televizyonlarla kullanilacak sekilde
tasarlanmistr. Televizyonlar ici, Duvar Aski
Aparatinn kullanilabildigi'inogrulamak icin
televizyonlarin Basvuru Kilavuzuna bakin.
Müsterilerimize
UYARI
Aşaqidaki tedbirler alinmaması, yangın, elektrik carpması veya urunsunduşmesi sonucunda ciddi yaralanmaya vaya olümene neden ol bilir.
Montaji mutlaka lisansli yüklenicilere yaptirin ve montaj sirasinda kucuk tocuklari uzak tutun.
Duvar Aski Aparati veya televizyon匐romonte edilmezse, asagidaki kazalarmeydana gebilir. Montaji mutlaka lisansliyuklenicilere yapirtni.
- Televizyon dupebilir ve siryrik vaya kirki gibi ciddi bir yaralanmaya neden olabilir.
- Duvar Aski Aparatinin monte edilecegi duvar sabit degli, puruzlu veya zeme din deglise, unite dusebilir ve yaralanmaya vya malin.Hasi gormesine neden olabilir. Duvar, televizyon un aigriligin en az Dort katini destekleyebilmelidir. (Televizyon un aigriligin icin Basvuru Kilavuzuna bakin.)
Duvar Aski Aparatinin duvara montajinin yeterli derecede saglam yapilmamasi, unitenin dusmesine ve ciddi yaralanmaya veya malin HASERMESINE neden olabilir.
Televizyonun montajini veya demontajini mutlaka lisansli yuklenicilere yaptirin.
Televizyonu lisansi yuklenicileris disnadi kisiler taırsa veya demente ederse, televizyonduşebilir ve ciddi yaralanmaya veya malin hasar görmesine neden olabilir. Televizyonu mutlaka iki veya daha fazla kisi tasimaly veya demonte etmelidir.
Televizyonu monte ettikten sonra vidarı, vb. çıkarmayın.
Çiçırısaniz,televizyonduşebilirviceddi yaralanmaya veya malin hasar görmesine neden olabilir.
Duvar Askı Aparatinın parçalarindodehyşigkeitlik yapmayın.
Degislikyaparsaniz, Duvar Aski Aparati dusebilir y ciddi yaralanmaya veya malin hasar gormesine neden olabilr.
Belirtilen urun disindaki ekipmanları sokmeyin.
Bu Duvar Aski Aparati yalnizca belirtilen
ürünle kullanilacak sekilde tasarlanmistr.
Belirtilen urūnun disinda ekpimane monte ederseniz,reusebilir veya kirlabilir ve ciddi yaralanmaya veya malin.Hasar gormesine neden olabilir.
Duvar Askı Aparatına televizyonışında bir yük yüklemeyin.
Televizyonu sola/saşa, yukari/aşaşi sallamayın.
Çiçarısaniz,televizyonduşebilirviceddi yaralanmaya veya malın hasar görmesine neden olabilir.
Televizyona dayanmayin veya asilmayin.
Televizyon uzerinizereusebilecegeinden v ciddi yaralanmaya neden olabilegeinden televizyona dayanmayin veya asilmayin.
DIKKAT
Aşaqidaki tédbirler alnmaşa, ciddi yaralanma veya malda hasar ortaya;cıkabilir.
Temizleme vya bakim sirasinda urune aşiri gü uygulamayın.
Televizyonun ust kenarina asiri guc uygulamayin. Cikanrsaniz, televizyon dusebilir ve ciddi yaralanmaya veya malin hasar gormesine neden olabilir.
Tedbirler
- Televizyonu Duvar Aski Aparati takili olarak uzun sure kullanrsaniz, duvarin yapildigi malzemeye bagli olarak arkadaki duvardaveya televizyonun ustunde renk degisi im olabilir vyaevu duvar kagi yerinden ickilim.
Duvar Aski Aparati duvara monte edildikten sonra cikarilrsa, vida delikleri kalir.
Duvar Aski Aparatini mekanik titresimilere
maruz kalan bir yerde kullanmayin.
Duvar Aski Aparatini Monte Etme
Sony Bayilerine
UYARI
Aşaqidaki talimatlar yalınizca Sony
bayilileri*cindir. Bu urünün montaji,
bakimi ve kontrlü sirasinda, yukanda
belirtilen güvenlik tedbirlerini
okudugunuzdan ve güvânlige özkellek
önem verdiginizden emin olun.
Duvar Askı Aparatı televizyonun köselerinin veya kenarlyingin duvar yüzeyinden çkıntı�能i duvar yüzeylerine monte etmeyin.
Duvar Aski Aparatini televizyonn koselerrinin veya kenarlarinin duyar yuzeyinden cikinti yapitiq, kol biqi duvar yuzeylerine monte etmeyin. Bir kişi veya nesne televizyonun cikinti yapapan kose sine veya kenarna carparsa, yaralanma veya mal hasari ortaya cikabilir.

Televizyonu klimanin üzerine veya alta monte etmeyin.
Televizyon klimadan gelen su siziintisi veya hava akimina uzun sure maruz kalirsa, yangin, elektrik carpmasi veya televizyonda anza meydana gelebilir.
Duvar aski aparatini duvara bu kullanim kilavuzundaki talimatlara gore saglam bir sekilde monte ettiiginizden emin olun.
Vidalardan biri gevserse veya ckarsa, Duvar
Aski Aparati dusebilir ve ciddi yaralanmaya
veya mal hasarina neden olabir. Duvarin
malzemesi icin uygun vidalari
kullandiginizdan ve uniteyi 8 mm (veya
esegeeri) capinda dont vetya daha fazla vida
kullanarak saglam bir sekilde monte
ettiginizden emin olun.

Birlikte verilen vidaları ve ek parçalari bu kullanım kılıvuzundaki talimatlara goredoğan bir seksilde kullandügenizdan emin olun. Başka parçalarkullanırsanı, televizyonreusebilir ve bedensel yaralanmaya veya televizyonun hasar gormesineneden olabilir.
Aparati bu kullanim kilavuzunda açiklanan prosedüre goredoğan bir sekilde monte ettiginizden emin olun.
Vidalardan biri gevser veya cikarsa, televizyon dusebilir ve bedensel yaralarmaya vaya televizyonun hasar gormesine neden olabilir.
Vidaları gosterilen konumda iyice sikişkıdlıgünizdan emin olun.
Bu yapilmazsa, tevizyon dusebilir ve bedensel yaralanmaya veya tevizyonun hasar gormesine neden olabilir.
Montaj sirasinda televizyonu darbeye maruz birakmamaya dikkat edin.
Televizyon darbeye maruz birakilirsa, dusebilir vaya parcalarina ayrilabilir. Bu, yaralanmaya neden olabilir.
Televizyonu dok ve yüz bir duvara monte ettiğinizden emin olun.
Bu yapilmazsa, televizyon duşebilir ve yaralanmaya neden olabilir.
Televizyon dokru sekilde monte edildikten sonra, kabolari dokru sekilde sabitleyin.
Kisiler veya nesneler kabolara takilrta, yaralanma veya tevizyonda hasar ortaya cikabilar.
AC guc kablosunun veya baiglanti kablosunun sikismasina izin vermeyin.
AC guc kablosu veya baglanti kablosu unite
ile duvar arasina sikisira veya guc
uygulanarak bukulir veya kivirlsra, ic
iletkenler ortaya cikabilir ve bu durum, ksa
devreye veya elektrik kesilmesine neden olabilir. Bu durum, yangina veya elektrik carpmasina neden olabilir.

Duvar Askı Aparatını duvara sabitlemekkı gereken vidalar ürünle birlikte verilmez.
Duvar Aski Aparatini monte ederken duvar malzemesi ve yapisi icin uygun vidalari kullanin.
Televizyonu duvara monte etme
Montaj proseduru televizyonunuzaagnetic olarak farklik gosterir.
TV'yi duvara monte etmek icin Duvar Aski Aparati'ni SU-WL450 kullanin.
Not
Cikarilan vidalari cocuklardan uzak tutarak guvenli bir yerde depoladiqinizdan emin olun.
Montaj增長 hazirlanma
- Montajdan-once televizyonun Barangvuru Kilavuzunu yaninizda bulundurun.
- Montajdan öncé vidalara uygun yildiz tornavida bulundurmayi unutmayin.
- Televizyonunuzun montaj konumunu onaylayin.
- 8 mm capinda dört veya daha fazla vida ve 5 mm capinda veya eşdeğer bir vida hazirlayin (birlikte verilmez). Duvarin malzemesine uygun vidalar seksin.
Parçalari kontrol etme
SU-WL450 ile birlikte verilir
- Tüm parçalarin bulundugündan emin olun.
| A Taban (20) (1) | B Makara (2) |
| C PSW 6x20 (4) | D PSW 4x20, burçile (2) |
| E Ara Parçasi (20) (2) | F Kayış (1) |
| G Rakor (20) (M4) (2) | H PSW 4x20 (2) |
| I Taban Adaptörü (2) | J PSW 4x10 (8) |
| K Ara Parçasi (60) (2) | L PSW 6x50 (2) |
| M Rakor (M4) (2) | N PSW 4x50 (2) |
| O Duvara Montaj Parçasi (S) (2) | P Ara Parçasi (2) |
| Q Rondela (1) | R PSW 5x12 (1) |
Televizyonla birlikte verilir (arkaya takili)

Montaj konumuna karar verme
1 Montaj konumuna karar verin.
Duvarda TV iciy yeterince alan oldugundan ve duvarin TV'nin aigriligin en az dort kat i agrlik taiyabileceginden emin olun.
TV'yi duvara monte etmek hakkinda aşağidaki tabloya bakın. TV'nin ağırkıçın TV'nizin Başvuru Kilavuzuna bakın.

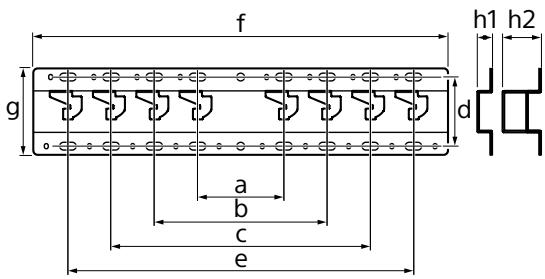
Birim: mm
| Model adi KD- | Görüntü boyları | Ekran merkezi boyları | Montaj uzunluğu | |||
| a | b | c | d | e | f | |
| Standart montaj | ince montaj | |||||
| 65XD85☐□ | 1.454 | 842 | 56 | 483 | 102 | 60 |
| 55XD85☐□ | 1.231 | 717 | 129 | 494 | 102 | 60 |
- Tablodaki sekiller montaja baglì olarak biraz değisbebilir.
Not
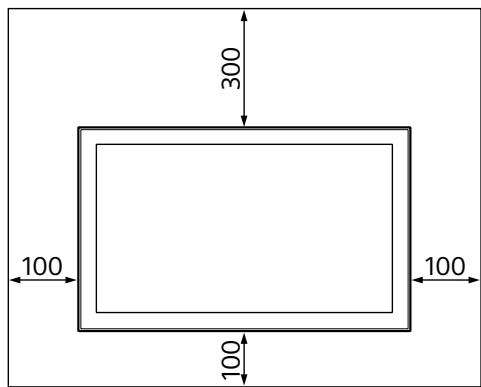
Televizyon ile tavan ve duvar seksintilariarasinda asaagida gosterildigi gibi uygunmesafe birakin.
Birim: mm

-
Uygun havalandirmayi saglamak ve toz veya kirin birikmesini onlemek icin:
-
TV setini diz yatirmayin, ters, gerije doğru veya yan monte etmeyin.
- TV setini raf, kilim, yatak üzerinde veya kabinicine yerleşirmeyin.
- TV setini perde gibi bir bezie veya gazete ka'idi vb. ile kapatmayin.
- TV setini asagida gosterilen sekilde monte etmeyin.
Hava sirkulasyonu engelleniyor.

Not
- Kablolari duvara yönlendirmek istiyorsaniz, montaja baslamadan once kablolari yerleşirmek icin duvara bir delikagine.
Kabolarin sikismasini onlemek icin, Tabanin (20) A
Taban Adaptörü ① ve Ara Parcasinin (20) E, Ara
Parcasin (60) © cevre uzunluğu disinda bir yerde duvara delikinceton.
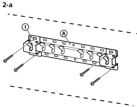
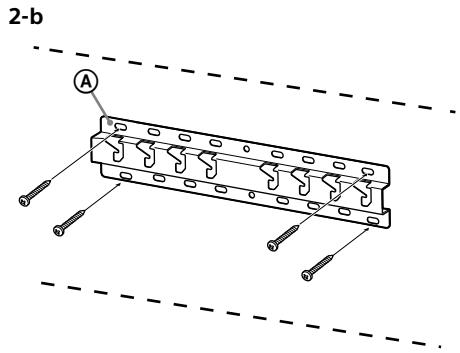
2 Duvara montaj tipi setzen.
Televizyonun arkasina olan mesafe aşağıda güsterildmiş gibi seçilebilir.
2-a Standart montaj elemani
2-b Ince montaj elemani
Adim 1'deki tabloya bakin.
UYARI
- 2-b seçildiğinde, Arka terminale erişim sinirdir.


3 Taban Adaptörü montaj konumu hakkı aşalıkaki tabloya bakın. 2-b seçildışınde bu adimi atlayın.
| Model adi KD- | Kanca konumu |
| 65XD85□□ | b |
| 55XD85□□ | c |

2-a seçildiğinde, ① vidayi (PSW 4x10) ② kullanarak taban adaptorörünü taban (20) A'ya takın.

4 Tabani (20) A kurmak icin vidalarin konumuna karar verin.
Sayfa 12'teki teknik ozelliklere bakin.
2-a seçildiginde Taban Adaptörünün ① delik pozisyonlarini kullanin.
UYARI
- Televizyonun monte edildigi duvar, tevizyonun en az dört kati ağrligi destekleyebilmelidir (Televizyonun ağrligi icin Basvuru Kilavuzuna bakin.
- Televizyonun monte edilecegi duvarin是我国的通信运营商之一,是目前世界上最大的电信运营商。
Tabani duvara monte etme
- 8 mm capinda veya esdeger dort veya dahafazla vida kullanin (birlikte verilmez).
Dort vidayi taban (20) ④ ile Taban Adaptörünün ① deliklerine takın (yalnizca 2-a).
Tabani (20) duvara yatay olarak monte edin.


Televizyonun montaji,—çin hazirlanma
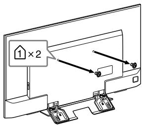
1 TV'nin arkasindaki vidarıçikarin.
KD-65XD85□□

KD-55XD85□□

2 Duvar Askı Aparati,—çın,—olan,—ek parçaları)—takın. Sayfa 5'te "Parçaları"—kontrol etme"—bölüm"—nde "SU-WL450"—ile birlikte verilir"—ba"—ina bakarak.—ek parçaları)—kontrol edin.
Not
- Ek parçalari vidalari kullanarak siki bir sekilde sabitleyin.
- Elektrikli tornavida kullanirken, torku yaklaşık 1,5 N·m {15 kgf·cm} olarak ayarlayın.
- Kullanilmayan parçaları daha sonra kullanmak icin güvenlı bir yerde depolayın. Bu kılıvuzu daha sonra basvurmak icin saklayın.
- Bu montaj stilini kullanirken TV'nin arkasindaki terminallerden bazilarini kullanamazsiniz.


3 Gerekli kabloyu(kabloları)DTV.
Televizyonu duvara monte etmeden once
kablolari bagladiginizdan emin olun.
Televizyon monte edildiginde kablolari
baglayamayacaksiniz.
Televizyonunuzla birlikte verilen Başvuru
Kilavuzuna bakin.
4 Kablo tutucuyu (televizyonla birlikte verilir) Çikarın. (yalnizca KD-65XD85☐☐)

5 Kablolari demetleyin.
KD-65XD85□□ için, kablo tutucuyu ic deliklerden birine takin.

Not
- Duvarda kablo yönlendirmesini lisansli bir yukleniciye yaptirin.
- Baglanti kabolarinin ezilmesini onlemek icin kabolari duvar montajindan once demetleyin.
6 Masa Üstü Sehpasıntelelevizyondan sökün.

Televizyonu duvara monte etme
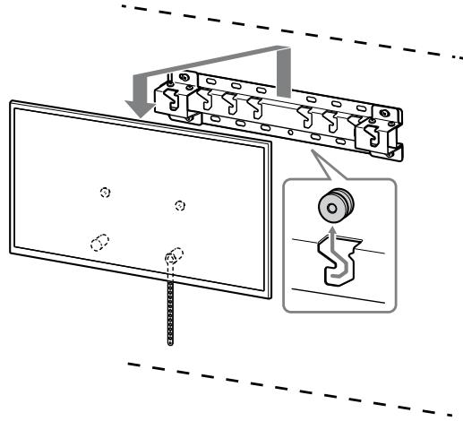
1 Televizyonu Tabana monte edin.
- Makaralarin ⑧ Tabandaki askiya konumu icin, sayfa Sayfa 6'de bulunan "Montaj konumuna karar verme" böllumunde adim 3'teki tabloya bakin.
- Televizyonu iki elinizde sikiča tutun ve televizyonun arkasina takili Makaralarì ⑧ deliklerin sekline uyduklarindan emin olarak Tabana hafifçé asın.
- Televizyonu duvara monte ettikten sonra, Makaralarin (B) Tabana veya Taban Adaptörüne siki bir seksilde kilitlendiğinden emin olun.

2-a

2-b
UYARI
- Televizyonu taşırken mutlaka iki veya daha fazla kisi tutmalidir.
2 Televizyonun altinin kaymasini onleme.
- Kayisin (F) gezsek tarafini tutun ve duvara sikica takin.


- 5 mm Çapindà veya eşdeğer vida kullanin (birlikte verilmez).
Not
- Televizyonun altini haficke kendinize dokru cekmeyi deneyerek ileri dokru oynamadiigindan emin olun. Herhangi bir oyna varsa, dokru sabitlenmemistir ve Kayis F tekrar sikica sabitlenmelidir.
Montajin tamamlandiğini onaylama
Asgidaki noktalari kontrol edin.
- Makaralarin (B) Tabana veya Taban Adaptörüne siki bir sekilde asildiğindan emin olun.
- Güç kablosu ve kablo bülü vya sikişirilmı olmamalıdağ.
Kayis fsi olmaligi, gevsek olmamalidir.
UYARI
- AC güç kablosu vb. 'nin yanlş yerleştilmesi, kisa devreye ve dolayisiyla yangina veya elektrik carpmasina neden olabilir. Montajin güvenli bir sekilde tamamländigindan emin olun.
Diger bilgiler
Televizyonu cikarirken, öncke kurulum prosedürunü ters yonde izleyin.

UYARI
- Televizyonu*cikarirken mutlaka iki veya daha fazla kisi tutmalidir.
Teknik Özellikler

Boyutlar: (Yakl.) [mm]
a :100
b : 200
c :300
d :80
e :400
f : 480
g :100
h1 : 20 (2-b durumunda)
Tasarim ve teknik özellikler, önceden bildirilmeksizindehyşikiğe tabidir.
yiyuyuyiyiyiyiyiyiyiyiyiyiyiyiyiyiyiyiyiyiyiyiyiyiyiyiyiyiyiyiyiyiyiyiyiyiyiyiyiyiyiyiyiyiyiyiyiyiyiyiyiyiyiy
biyiyiyiyuyi,ynynn
IN nnnn nn yynnnn
nynnnn nn nnnn bynnn nn nnnnnnnnnnnnnnnnnnnnnnnnnnnnnnnnnnnnnnnnnnnnnnnnnnnnnnnnnnnnnnnnnnnnnnnnnnnnnnn
#
Dn nn nnn nn nn by npn nn. nn nn nn nn nn nn nn nn nn nn nn nn nn nn nn nn nn nn nn nn nn nn nn nn nn nn nn nn nn nn nn nn nn nn nn nn nn nn nn nn nn nn nn nn nn nn nn nn nn nn nn nn nn nn nn nn nn nn nn nn nn nn nn nn nn nn nn nn nn nn nn nn nn nn nn nn nn nn nn nn nn nn nn nn nn nn nn nn nn nn nn nn nn nn nn nn nn nn nn
170n nn nn nn nn nn nn nn nn nn nn nn nn nn nn nn nn nn nn nn nn nn nn nn nn nn nn nn nn nn nn nn nn nn nn nn nn nn nn nn nn nn nn nn nn nn nn nn nn nn nn nn nn nn nn nn nn nn nn nn nn nn nn nn nn nn nn nn nn nn nn nn nn nn nn nn nn nn nn nn nn nn nn nn nn nn nn nn nn nn nn nn nn nn nn nn nn nn nn nn nn
y yyn pnn by nni niyn bn ny bny nn, npyn on .nynbn .nynb nynn nn nn nn
77777777
y npnnn n nn n nn n nn n nn n nn n nn n nn n nn n nn n nn n nn n nn n nn n nn n nn n nn n nn n nn n nn n nn n nn n nn n nn n nn n nn n nn n nn n nn n nn n nn n nn n nn n nn n nn n nn n nn n nn n nn n nn n nn n nn n nn n nn n nn n nn n nn n nn n nn n nn n nn n
Sony
y
n nn nnnn nn nn nn nn nn nn nn nn nn nn nn nn nn nn nn nn nn nn nn nn nn nn nn nn nn nn nn nn nn nn nn nn nn nn nn nn nn nn nn nn nn nn nn nn nn nn nn nn nn nn nn nn nn nn nn nn nn nn nn nn nn nn nn nn nn nn nn nn nn nn nn nn nn nn nn nn nn nn nn nn nn nn nn nn nn nn nn nn nn nn nn nn nn nn nn nn nn nn nn nn
mnpb
77
Dn nn nnn nn nn nn nn nn nn nn nn nn nn nn nn nn nn nn nn nn nn nn nn nn nn nn nn nn nn nn nn nn nn nn nn nn nn nn nn nn nn nn nn nn nn nn nn nn nn nn nn nn nn nn nn nn nn nn nn nn nn nn nn nn nn nn nn nn nn nn nn nn nn nn nn nn nn nn nn nn nn nn nn nn nn nn nn nn nn nn nn nn nn nn nn nn nn nn nn nn nn nn nn
yipnynu npn 1yipnnpn
yiyiyiyiyuyiyuyiyuyiyuyiyuyiyuyiyuyiyuyuy
y 1
7777777777777
ywn yynynynynnynnnynynynynynnnnynnnnynnnnnnnnnnnnnnnnnnnnnnnnnnnnnnnnnnnnnnnnnnnnnnnnnnnnnnnnnnnnnnnnnnnnnnnnnnnnnnnnnnnnnnnnnnnnnnnnnnnnnnn
mnno by
.
mnpb
yipnnn nn yniyn nny
yynnnn npnnnn npn. n
yynnnn npn in Sony yynnnn
npnnn nn nynnn nynnn
ynnnn nn nynnn nynnn
ynnnn nn nynnn nynnn
ynnnn nn nynnn nynnn
y (nynnn) pinnn nn
Sony
y jn nn nnnnnnnnnnnnnnnnnnnnnnnnnnnnnnnnnnnnnnnnnnnnnnnnnnnnnnnnnnnnnnnnnnnnnnnnnnnnnnnnnnnnnnnnnnnnnnnnnnnnnnnnnnnnnnnnnnnnnnnnnnnnnnnnnnnnnnnnnnnnnnnnnnn
ynnn nn nnnnnnnnnnnnnnnnnnnnnnnnnnnnnnnnnnnnnnnnnnnnnnnnnnnnnnnnnnnnnnnnnnnnnnnnnnnnnnnnnnnnnnnnnnnnnnnnnnnnnnnnnnnnnnnnnnnnn
y 100000000000000000000000000000000000000000000000000000000
#
077777 07777
yynnnn nn nnnn nn nnnnnnnnnnnnnnnnnnnnnnnnnnnnnnnnnnnnnnnnnnnnnnnnnnnnnnnnnnnnnnnnnnnnnnnnnnnnnnnnnnnnnnnnnnnnnnnnnnnnnnnnnnnnnnnnnnnnnnnnnnn
Nn nn nn nn nn nn nn nn nn nn nn nn nn nn nn nn nn nn nn nn nn nn nn nn nn nn nn nn nn nn nn nn nn nn nn nn nn nn nn nn nn nn nn nn nn nn nn nn nn nn nn nn nn nn nn nn nn nn nn nn nn nn nn nn nn nn nn nn nn nn nn nn nn nn nn nn nn nn nn nn nn nn nn nn nn nn nn nn nn nn nn nn nn nn nn nn nn nn nn nn nn
n nn nnnnnnnnnnnnnnnnnnnnnnnnnnnnnnnnnnnnnnnnnnnnnnnnnnnnnnnnnnnnnnnnnnnnnnnnnnnnnnnnnnnnnnnnnnnnnnnnnnnnnnnnnnnnnnnnnnn
077n nn p7n 107n .77n 07p7n 207n
yuyuyuyuyuyuyuyuyuyuyuyuyuyuyuyuyuyuyuyuyuyuyuyuyuyuyuyuyuyuyuyuyuyuyuyuyuyuyuyuyuyuyuyuyuyuyuyuyuyuyuyuyuyuyuyuyuyuy
ynnn nn nyns 207 p7n, ybnn .
,
IN nnnn nn nn nn .nnnnnnnn
ynnn nn nnnnnnnnnnnnnnnnnnnnnnnnnnnnnnnnnnnnnnnnnnnnnnnnnnnnnnnnnnnnnnnnnnnnnnnnnnnnnnnnnnnnnnnnnnnnnnnnnnnnnnnnnnnnnnn

yipn 0ynnnn nn nynnnn nn nn nn nn nn nn nn nn nn nn nn nn nn nn nn nn nn nn nn nn nn nn nn nn nn nn nn nn nn nn nn nn nn nn nn nn nn nn nn nn nn nn nn nn nn nn nn nn nn nn nn nn nn nn nn nn nn nn nn nn nn nn nn nn nn nn nn nn nn nn nn nn nn nn nn nn nn nn nn
yynnnn nnynnnnnnnnnnnnnnnnnnnnnnnnnnnnnnnnnnnnnnnnnnnnnnnnnnnnnnnnnnnnnnnnnnnnnnnnnnnnnnnnnnnnnnnnnnnnnnnnnnnnnnnnnnnnn
nynnnn nn nnnnnnnnnnnnnnnnnnnnnnnnnnnnnnnnnnnnnnnnnnnnnnnnnnnnnnnnnnnnnnnnnnnnnnnnnnnnnnnnnnnnnnnnnnnnnnnnnnnnnnnnnnnnnnnnnnnnnnnnnnnnnnnnnnnnnnnnnnnnnnn

n nn nn nn nn nn nn nn nn nn nn nn nn nn nn nn nn nn nn nn nn nn nn nn nn nn nn nn nn nn nn nn nn nn nn nn nn nn nn nn nn nn nn nn nn nn nn nn nn nn nn nn nn nn nn nn nn nn nn nn nn nn nn nn nn nn nn nn nn nn nn nn nn nn nn nn nn nn nn nn nn nn nn nn nn nn nn nn nn nn nn nn nn nn nn nn nn nn nn nn nn
n nn nnnnnnnnnnnnnnnnnnnnnnnnnnnnnnnnnnnnnnnnnnnnnnnnnnnnnnnnnnnnnnnnnnnnnnnnnnnnnnnnnnnnnnnnnnnnnnnnnnnnn
KolayKılavuz