LSPXP1 - Projektor SONY - Kostenlose Bedienungsanleitung
Finden Sie kostenlos die Bedienungsanleitung des Geräts LSPXP1 SONY als PDF.
Questions des utilisateurs sur LSPXP1 SONY
0 question sur cet appareil. Repondez a celles que vous connaissez ou posez la votre.
Poser une nouvelle question sur cet appareil
Laden Sie die Anleitung für Ihr Projektor kostenlos im PDF-Format! Finden Sie Ihr Handbuch LSPXP1 - SONY und nehmen Sie Ihr elektronisches Gerät wieder in die Hand. Auf dieser Seite sind alle Dokumente veröffentlicht, die für die Verwendung Ihres Geräts notwendig sind. LSPXP1 von der Marke SONY.
BEDIENUNGSANLEITUNG LSPXP1 SONY
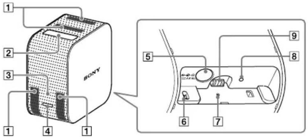
Position der Bedienelemente
Portabler Ultrakurzdistanzprojektor

Drahtloses Modul

Portabler Ultrakurzdistanzprojektor
1 Luftungsöffnungen (Ein-/Auslass)
2 Projektsfenster (Laseröffnung)
3Netzanzeige
4Netztaste
Buchse DC IN 19.5V
6 Entfernungssensor
7 RESET-Taste
8 Ladeanzeige
9 Netzanschluss für den Ständer (nicht mitgeliefert)
Drahtloses Modul
1 Anschluss HDMI IN
2 Anschluss HDMI OUT (Durchschieifen)
3 Anschluss IR BLASTER
4 Buchse DC IN 5V
5 PAIRING-Taste
ACHTUNG
Hinweis für Kunden in Ländern, in denen EU-Richtlinien gelten
Hersteller: Sony Corporation, 1-7-1 Konan Minato-ku Tokio, 108-0075 Japan
Für EU Produktkonformität: Sony Belgium, bijkantoor van Sony Europe Limited, Da Vincilaan 7-D1, 1935 Zaventem, Belgien

Hiermit erklärt Sony Corporation, dass diese Funktionlage der Richtlinie 2014/53/EU entspricht.
Der vollständige Text der EU-Konformitätserklung ist unter der folgenden Internetadresse verfügbar: http://www.compliance.sony.de/
Der Frequenzbereich von 5.150 - 5.350 MHz ist auf den Betrieb in Innenräumen gegrenzt.
These Einschränkungen gelten in den folgenden Ländern: AT/BE/BG/CZ/DK/EE/FI/FR/DE/EL/HU/IE/ IT/LU/NL/NO/PL/PT/RO/ES/SE/CH/UK
Frequenzbereich und Leistung gemäß RF-Spezifikation
LSPX-P1 (Projektor)
Frequenzbereich/Ausgangsleistung
- 2.400 - 2.483,5 MHz/< 20 dBm
- 5.150 - 5.250 MHz/< 23 dBm
- 5.250 - 5.350 MHz/< 23 dBm
- 5.470 - 5.725 MHz/< 23 dBm
Bluetooth
Frequenzbereich/Ausgangsleistung
- 2.402 - 2.480 MHz/< 20 dBm
LSPX-PT1 (Drahtloses Modul)
Frequenzbereich/Ausgangsleistung
- 5.150 - 5.250 MHz/< 23 dBm
Hinweis
Wenn eine Datenübertragung aufgrund statischer oder elektromagnetischer Störeinflüsse abbricht (fehlschlågt), starten Sie die entsprechende Anwendung neu, oder entfern den Sie das Kommunikationskabel (HDMI-Kabel), und schreiben Sie es wieder an.
Dieses Produkt wurde geprüft und erfüllt die Auflagen der EMV-Vorschriften für den Gebrauch von Verbindungskabeln, die kürzer als 3 m sind.
Die elektromagnetischen Felder bei den speziellen Frenzen konnen Bild und Ton dieser Gesamtes beeinflussen.

Entsorgung von
gebrauchten Batterien und Akkus und
gebrauchten elektrischen und elektronischen
Geräten (anzuwenden in den Ländern der Europäischen Union und anderen europäischen Ländern mit einem separaten Sammelsystem für diese Produkte)
Das Symbol auf der Batterie/dem Akku, dem Produkt oder der Verpackung weist daraufhin, dass das Produkt oder die Batterie/der Akku nicht als normaler Haushaltsabfall zu behandeln sind. Ein zusätzliches chemisches Symbol Pb (Blei) oder Hg (Quecksilber) unter der durchgestrichenen Mülltonne bedeutet, dass die Batterie/der Akku einen Anteil von mehr als 0,0005% Quecksilber oder 0,004% Blei enthalt.
Durch ihren Beitrag zum korrekten Entsorgen des Produktes und der Batterie schätzen Sie die Umwelt und die Gesundheit ihrer Mitmenschen. Umwelt und Gesundheit werden durch falsches Entsorgen gefährdet. Materialrecycling hilft, den Verbrauch von Rohstoffen zu verringn.
Bei Produkten, die auf Grund ihrer Sicherheit, der Funktionalität oder als Sicherung vor Datenverlust eine ständige
Verbindung zur eingebauten Batterie benötigen, sollte die Batterie nur durch qualifiziertes Servicepersonal ausgetauscht werden.
Um sicherzustellen, dass das Produkt und die Batterie korrekt entsorgt werden, geben Sie das Produkt zwecks Entsorgung an einer Annahmestelle für das Recycling von elektrischen und elektronischen Geräten ab. Für alle anderen Batterien entnehmen Sie die Batterieitte entsprechend dem Kapitel über die sichere Entfernung der Batterie.
Geben Sie die Batterie an einer Annahmestelle für das Recycling von Batterien/Akkus ab.
Weitere Informationen über das Recycling这些东西 Produktions oder der Batterie erhalten Sie von ihrer Gemeinde, den communitalen Entsorgungsbetrieben oder dem Geschäft, in dem Sie das Produkt gekauft haben.
Hinweis für Lithiumbatterien:itte geben Sie nur entladene Batterien an den Sammelstellen ab.Wegen
Kurzschlussgefahr überkleben Sieitte die Pole der Batterie mit Klebestreifen. Sie erkennen Lithiumbatterien an den Abkürzungen Li oder CR.
Vorsicht
Bei Betätigung von Bedien- und Einstellteilen oder Ausführung von Bedienvorgängen, die nicht ausdrücklich in dieser Bedienungsanleitung aufgeführrt sind, droht u.U. die Einwirkung gefährlicher Laserstrahlung.
Dieser Projektor ist als LASERPRODUKT DER KLASSE 2 eingestuft.
Das Kennzeichnungsschild LASERPRODUKT DER KLASSE 2 befindet sich im Bereich des Projektaionsfensters des Projektors.

WELLENLANGE: 430-460 nm, 505-530 nm, 625-650 nm
MAX. LEISTUNGSABGABE 16 mW
Impulsdauer: Rot 2,67 ms / Grün 3,5 ms oder 1,75 ms / Blau 3,5 ms, 60 Hz
Strahldivergenz (Laserstrahlungsbereich)

Vorsichtsmaßnahmen
Für ihre Sicherheit
- Lassen Sie kein Wasser und keine Fremdkörper in das Gerät gelangen. Andernfalls kann es zu einem Brand oder Stromschlag kommt. Wenn Wasser oder Fremdkörper in das Gerät gelamt sind, schalten Sie es sofort aus und trennen Sie das Netzkabel und die Verbindungskabel.
- Bauen Sie das Gerät nicht auseinander und verändern Sie es nicht. Andernfalls kann es zu einer Fehlfunktion, einem Brand oder Stromschlag kommt.
- Verwenden Sie das Gerät nicht, wenn die Gefahr eines Blitzschlags besteht. Ein Blitzschlag kann einen Stromschlag verursachen. Wenn die Möglichkeit eines Blitzschlags besteht, trennen Sie das Gerät, um einen Brand, Stromschlag und eine Fehlfunktion zu verhindern.
Zur Sicherheit
-
Dieses Gerät ist mit Drahtlosfunktiona t ausgestattet. Funkwellen konnen sich auf den Betrieb anderer Geräte auswirken. Verwenden Sie这点es Gerät nicht an den folgenden Orten: - Im Flugzeug.
-
In der Nähe von automatisch gesteuerten Geräten, wie automatischen Türen oder Brandmeldern.
Wenn es bei anderen Geräten zu Problemen, wie Störungen, kommt, während das Gerät benutzt wird, stoppen Sie sofort die Verwendung des Geräts.
- Blichen Sie nicht über längerere Zeit auf das projizierte Bild. Wenn Sie über längerere Zeit fortlaufend auf das projizierte Bild blichen, kann das zu einer Belastung der Augen führen. Wenn Sie Unwohlsein oder Schmerzen versprüren, stoppen Sie sofort die Verwendung des Geräts und ruhen Sie sich aus. Wenn das Unwohlsein bzw. der Schmerz auch danach weiterhin anhalten, wenden Sie sich an einen Arzt.
- Projizieren Sie nicht auf eine glänzende Oberfläche. Das Licht kann in ihre Augen reflektiert werden und eine nachteilige Wirkung haben.
- Halten Sie das Gerät von Kindern fern. Wenn sich diese ein Kabel um den Hals wickeln oder es anderweitig missbrauchlich verwenden, kann dies zu einem Unfall oder Verletzungen führen.
Zur Handhabung
-
Trennen Sie das Gerät vom Netzstrom, wenn es längerere Zeit nicht verwendet wird.
-
Lassen Sie das Gerät nicht fallen, schlagen Sie nicht daraufuf, drücken Sie es nicht zusammen und stellen Sie keine schweren Gegenstände daraufuf.
- Der Betriebstemperaturbereich des Geräts liegt bei 5^ bis 35^ . Wenn das Gerät an einem sehr kalten oder sehr warmen Ort außerhalb des Betriebstemperaturbereichs verwendet wird, kann es zu einer Fehlfunktionkommen.
- Stellen Sie das Gerät nicht an einem Ort auf, an dem zu einer starken Bildung von üligem Rauch, Dampf, Feuchtigkeit oder Staub kommt. Andernfalls kann es zu einem Brand oder Stromschlag kommt.
- Stellen Sie das Gerät nicht an einem gefährlich ungeeigneten Ort auf.
Andernfalls kann das Gerät herunterfallen und Verletzungen verursachen. -
Setzen Sie das Gerät keinen starken Stößen aus. Wenn Sie das Gerät starken Stößen aussetzen, zum Beispiel wenn Sie einen schweren Gegenstand daraufaronstellen, es fallen halten oder darauf auftreten, kann dies zu Verletzungen oder einer Fehlfunktion führen. Obwohl das Projektaionsfenster aus Hartglas besteht, kann es brechen und Verletzungen verursachen, wenn es starkem Druck oder Schlagen ausgesetzt wird.
-
Achten Sie darauf, dass Sie das Gerät nicht fallen setzen, wenn Sie es umstellen. Wenn das Gerät herunterfällt, kann es beschädigt werden oder Verletzungen verursachen.
Zur Aufstellung
- Stellen Sie das Gerät an keinem Ort auf, an dem extrem viel Staub oder Zigarettenrauch vorhanden sind. Staub und Zigarettenteer bleiben an den Komponenten im Gerät (wie dem Projektionsfenster) haften und führen zu einer Fehlfunktion.

- Stellen Sie das Gerät an keinen Orten auf, an denen extrem warme oder kalte Temperaturen oder extrem hohe Luftfeuchtigkeit herrschen. Insbesondere bei starker Sonneneinstrahlung oder im Sommer kann das Innere eines Fahrzeugs sehr heiß werden und ein dört belassenes Gerät kann sich verformen oder es kann zu einer Fehlfunktion kommt.
-
Stellen Sie das Gerät nicht auf einer instabilen Oberfläche auf. Andernfalls kann das Gerät herunterfallen oder umkippen, was zu Verletzungen führen kann.
-
Stellen Sie das Gerät nicht in der Nähe von Wasser auf. Andernfalls kann es zu einem Brand oder Stromschlag kommt.
- Stellen Sie das Gerät nicht an einem Ort auf, an dem es direkter Sonneneinstrahlung ausgesetzt ist oder in der Nähe einer Hezung stehen. Lagern Sie das Gerät auch nicht an solchen Orten. Andernfalls kann es im Gerät zu einem Wärnestau kommt, der einen Brand verursachen kann.
Hinweise zum Netzteil und zu den Kabeln
- Beschädigen Sie das Netzkabel nicht.
Andernfalls kann es zu einem Brand oder Stromschlag kommt. - Verwenden Sie unbedingt das mitgelieferte Netzteil mit dem Gerät. Wenn ein anderes Netzteil mit dem Gerät verwendet wird, kann es zu einem Brand, Stromschlag oder einer Fehlfunktion kommt.
- Berühren Sie den Netzstecker nicht mit feuchten Handen. Andernfalls kann es zu einem Stromschlag kommt.
- Schalten Sie das Gerät und angeschlossene Geräte aus und trennen Sie die Netzstecker von der Netzsteckdose, bevor Sie Verbindungen mit dem Netzteil oder Verbindungskabeln herstellen.
-
Wickeln Sie das Netz- oder Verbindungskabel nicht um das Netzteil. Andernfalls können die Kabel brechen.
-
Trennen Sie das Netz- und die Verbindungskabel, bevor Sie das Gerät umstellen. Die Kabel konnten andernfalls beschädigt werden, was zu einem Brand oder Stromschlag führen kann, oder das angeschlossene Gerät kann herunterfallen oder umkippen, was zu Verletzungen führen kann.
- Stecken Sie die Stecker gerade ein. Wenn sie in einem Winkel eingesteckt werden, können die Stifte zu einem Kurzschluss und damit zu einem Brand führen.
ZudenLüftergeräuschen
In den Projektor ist ein Lüfter integriert, der ein Überhitzen verhindern soll und der leise Gerausche macht, wenn er lauft. Bei dieser Gerausch handelt es sich nicht um eine Fehlfunktion. Wenden Sie sich aber an einen qualifizierten Sony-Mitarbeiter, wenn es zu ungewöhnlichen Gerauschen kommt.
Zur Wartung der Lichtquelle
Dieses Gerät verwendet einen Laser. Daher sind besondere Aufmerksamkeit und Vorkehrungen für die Inspektion und Wartung der Komponenten der Lichtquelle notwendig. Wenden Sie sich unbedingt an einen qualifizierten Sony-Mitarbeiter.
Zur Reinigung
-
Schalten Sie das Gerät unbedingt aus und trennen Sie es von der Netzsteckdose, bevor Sie es reinigen.
-
Wenn das Gerät fest mit einem schmutzigen Tuch abgewischt wird, kann das Gerät verkratzen.
- Wenn flüchtige Flüssigkeiten, wie Insektizide, auf dem Gerät verteil werden oder wenn ein Gegenstand aus Gummi oder Vinyl über längerere Zeit in Kontakt mit dem Gerät ist, kann sich das auf das Gerät auswirken oder die Oberflächenfarbe kann verblassen.
- Berühren Sie das Projektaionsfenster nicht mit bloßen handen.
- So reinigen Sie die Oberfläche des Projektkonsfers: Wischen Sie das Fenster vorsichtig mit einem weichen Tuch ab, wie zum Beispiel einem Brillenreinigungstuch. Wischen Sie hartnackige Flecken mit einem Tuch ab, das mit Wasser befeucht ist. Verwenden Sie niemals Alkohol, Benzol, Verdünner, säurehaltige Reinigungsmittel, alkalische Reinigungsmittel, scheuernde Reinigungsmittel, chemische Staubtücher und so weiter.
- So reinigen Sie die AuBenseite: Wischen Sie sie vorsichtig mit einem weichen Tuch ab. Wischen Sie hartnackige Flecken mit einem weichen Tuch ab, das mit einem gelösten neutralen Reinigungsmittel befeuchtet und sorgfältig ausgewrungen wurde. Wischen Sie die AuBenseite dann mit einem trockenen Tuch nach. Verwenden Sie keinesfalls Alkohol, Benzol, Verdünner und so weiter.
Zum Projektor
- Obwohl these Gerät mit Hochpräzisionstechnologie hergestellt wurde, können sich auf der Projektkliffe dauerhaft schwarze oder weiß Pixel zeigen. Außer dem kann es bei Farbe oder Helligkeit zu ungleichmäßigen Streifen kommt. Das ist ein Ergebnis der Projektorstruktur und keine Fehlfunktion. Der Farbabgleich jeges Projektorgeräts variiert. Daher kann, wenn mehrere LCD-Projektoren verwendet werden, die Farbwiedergabe der verschiedene Projektoren variieren, auch wenn es sich um das gleiche Modell handelt.
- Abhängig vom dargestellen Inhalt sind Primärefarben, wie rot, blau oder gelb, sightbar, wenn Sie die Augen bewegen bzw. unter bestimmten anderen Bedingungen. Dies ist keine Fehlfunktion. Dies wird durch ein „Farbauflösungs"-Phänen verursacht, das für das teilbildsequentielle Farbsystem spezifisch ist, das in dem Gerät zur Darstellung der Bilder verwendet wird. Dieses Phänen kann verringgert werden, indem der Kontrast zwischen dem Bild und dem Hintergrund verringgert wird, wie zum Beispiel durch das Senken der Gerätehelligkeit oder das Erhöhen der Helligkeit im Raum.
Zur Kondensation
Wenn der Projektor unvermittelt von einem kalten an einen warmen Ort gebracht wird oder in einen kalten Raum, in dem gerade ein Heizgerät eingeschaltet wurde, kann es auf der Oberfläche oder im Inneren des Projektors zu Kondensation kommt. Wenn es zu einer Kondensation kommt,leen Sie den Projektor ausgeschaltet, bis die Kondensation verdunst ist. Wenn der Projektor in diesen Zustand verwendet wird, kann es zu einer Fehlfunktion kommt.
ZudenLuftungsöffnungen
- Blockieren Sie nicht die
Lüftungsöffnungen (Ein-/Auslass). Wenn die Lüftungsöffnungen blockiert werden, kann sich im Inneren des Geräts Wärme stauen, was zu einem Brand oder einer Fehlfunktion führen kann. Beachten Sie die folgenden Punkte, um für eine gute Belüfung zu sorgen:
- Stellen Sie das Gerät ein Stück entfernt von Wänden und Gegenständen auf.

- Verwenden Sie keine Abdeckung, die die Luftungsöffnungen blockiert.

- Stellen Sie das Gerät nicht auf ein weiches Tuch, Papierdokumente, einen dicken Teppich oder keine Papierstücke. Sie können angesaugt werden und die Luftungsöffnungen blockieren.

- Bringen Sie ihre Hand oder Gegenstände nicht zu nah an die Auslassöffnungen. Andernfalls kann es zu Verbrennungen oder einer Verformung kommt.
Zum Projektkonsfenster
-
Blichen Sie nicht in das Projektaionsfenster. Das Licht kann ihre Augen schädigen.
-
Verdecken Sie das Projektkonsfern nicht. Das Licht erwartet den davon befindlichen Gegenstand, was zum Verschleib, zu Verformungen, Verbrennungen oder einem Brand führen kann.
Vorsichtshinweise zur Wärmeentwicklung des Geräts
- Bei der Verwendung bzw. beim Laden des Geräts konnen sich das Gerät oder das Netzteil erwärmen. Hierbei handelt es sich nicht um eine Fehlfunktion. Wenn die Gerätetemperatur zu sehr ansteigt, kann sich das Gerät aus Sicherheitsgründen selbst abschalten. Verwenden Sie es in solch einem Fall an einem kälteren Ort, nachdem sich das Gerät abgekühlt hat.
- Wenn das Gerät oder Netzteil ungewöhnlich heißt wird, kann es zu einer Fehlfungtion kommt. Schalten Sie das Gerät sofort aus, trennen Sie das Netzteil von der Netzsteckdose und wenden Sie sich an einen qualifizierten Sony-Mitarbeiter.
- Berühren Sie das laufende Gerät oder das Netzteil nicht über längerere Zeit. Ein längerer Kontakt mit der Haut kann zu Verbrennungen führen. Auch die Berührung durch Kleidung kann bei einem längeren Kontakt zu Verbrennungen führen.
- Verwenden Sie das Gerät und das Netzteil nicht, wenn sie mit einem Tuch oder Bettzeug verdeckt sind. Andernfalls kommt es zu einem Wärnestau, der zu einer Verformung, Fehlfunktion oder zu einem Brand führen kann.
Zum Laden
- Laden Sie das Gerät bei einer Umgebungstemperatur von 5^ bis 35^ auf. Das Gerätlädt sich außerhalb deses Temperaturbereichs möglicherweise nicht ausreichend auf.
- Beim Aufladen oder der Verwendung des Geräts kann die Temperatur des Geräts ansteigen. Hierbei handelt es sich nicht um eine Fehlfunktion.
- Wenn Sie das Gerät langere Zeit nicht verwenden, laden Sie es alle sechs Monate auf, um eine Verschlechterung des Akkus zu verhindern.
- Wenn das Gerät längerere Zeit nicht verwendet wurde, kann der Ladevorgang länger dauern.
- Wenn die Akkunutzungsdauer auf ungebärn die Hälfte sinkt, hat der Akku möglicherweise das Ende seiner Nutzungsdauer erreicht. Wenden Sie sich an einen qualifizierten Sony-Mitarbeiter, um den Akku austauschen zu halten.
Zur Stromunterbrechung
Wenn das Gerät über die Netztaste ausgeschaltet wird, ist die Stromversorgung zum Gerät nicht vollständig unterbrochen. Um die Stromversorgung zum Gerät vollständig zu unterbrechen, trennen Sie es von der Netzsteckdose. Platzieren Sie das Netzteil nah an der Netzsteckdose, damit Sie es schnell trennen können, wenn Sie ein Problem bemerken.
Hinweise zum WLAN
Sony haftet nicht für den Verlust oder Schäden aufgrund des Verlusts oder Diebstahls these Gerats, die zu einem un autorisierten Zugriff auf die oder eine missbrächliche Verwendung der Teile führen, die in das Gerät integriert sind.
Hinweise zur WLAN-Sicherheit
- Stellen Sie immer sicher, dass Sie ein WLAN nutzen, das vor Hackerangriffen, dem Zugriff böswiliger Dritter und anderen Schwachstellen geschützt ist.
- Ordentliche Sicherheitsinstellungen für ein WLAN sind sehr wichtig.
- Sony haftet nicht für Verluste oder Schäden durch Sicherheitsprobleme, die dadurch entstehen, dass keine Sicherheitsmaßnahmen unternommen wurden oder durch unvermeidbare Umstände aufgrund der Spezifikationen des WLAN.
Wenn Sie Fragen oder Probleme haben, lessen Sie diesen Dokument, die Einführungsanleitung und die Hilfe (Internet-Bedienungsanleitung) erneut sorgfältig durch. Wenn Sie dontke Antwort finden, wenden Sie sich an einen qualifizierten Sony-Mitarbeiter.
Spezifikationen
Portabler
Ultrakurzdistanzprojektor (LSPX-P1)
Projektor
Anzeigesystem
Projektionssystem
Anzeigegerät
0,37-Zoll-SXRD × 1
1366 × 768 Pixel
Gröbe des Projektionsbildes
22 Zoll mal 80 Zoll
Lichtquelle
Laserdiode
Lichtausgabe
100 lm
Audio
Laufsprecher
ca. 25mm Durchmesser × 2 (monaural),
Bassreflexsystem
Verträker
2W× 2W monaural (4 Ohm)
Drahtloskommunikation
WLAN
IEEE 802.11a/b/g/n (2,4-GHz-Band, 5-GHz-Band), MIMO-kompatibel
Bluetooth
ca. 80mm× 131mm× 131mm (Breite × Höhe × Tiefe)
Gewicht
ca. 930 g
Drahtloses Modul (LSPX-PT1)
Eingang/Ausgang
Anschluss HDMI IN
Anschluss HDMI OUT (Durchschleifen)
Anschluss IR BLASTER (Minibuchse)
Drahtloskommunikation
WLAN
IEEE 802.11a/n (5-GHz-Band), MIMO-kompatibel
Allgemein
Betriebstemperatur
5^ bis 35^
Abmessungen
ca. 135mm× 35mm× 135mm (Breite × Höhe × Tiefe)
Gewicht
ca. 200g
Mitgeliefertes Zubehör
Netzteil VGP-AC19V77 (1)
Netzteil LSPX-AC5V2 (1)
Netzkabel (4)
IR-Blaster (1)
Einführungsanleitung (1)
Referenzanleitung (dieses Dokument) (1)
Garantie (1)
Optionales Zubehör
Bodenstandfuß LSPX-PS1
Design und Spezifikationen können ohne vorherige Ankündigung geändert werden.
- In Lizenz von Dolby Laboratories gefertigt. Dolby und das Doppel-D-Symbol sind Warenzeichen von Dolby Laboratories.
Die Begriffe HDMI und HDMI High-Definition Multimedia Interface und das HDMI-Logo sind Markenzeichen oder eingetragene Markenzeichen von HDMI Licensing LLC in den Vereinigten Staaten und anderen Ländern.
Die Wortmarke BLUETOOTH SMART und die Logos sind eingetragene Markenzeichen im Besitz von Bluetooth SIG, Inc. Jegliche Verwendung dieser Markenzeichen durch die Sony Corporation erfolgt unter Lizenz.
- Wi-Fi, Wi-Fi Direct, Miracast und Wi-Fi Protected Setup sind Markenzeichen oder eingetragene Markenzeichen der Wi-Fi Alliance.
- Google, das Google-Logo, Android, Google Play und YouTube sind Markenzeichen oder eingetragene Markenzeichen von Google Inc.
- Apple, das Apple-Logo, iPhone und iPod touch sind Markenzeichen von Apple Inc., eingetragen in den USA und anderen Ländern. App Store ist eine Dienstleistungsmarke von Apple Inc.
- Alle anderen Namev von Systemen, Produkten und Diensten sind Markenzeichen oder eingetragene Markenzeichen der entsprechenden Inhaber. In dieser Anleitung werden die Kennzeichnungen TM oder nicht verwendet. Alle Rechte, die nicht explizit in thisem Dokument verzeichnet sind, gehoren den entsprechenden Inhabern.



(Nur für den Projektor)
Hinweise zu Software von Drittanbietern
Der tragbare Ultra-Kurzdistanzprojektor und das drahtlose Modul enthalten Software von Drittanbietern, die entsprechend der Bedingungen der Copyright-Inhaber verteil und/oder bereitgestellt wird ("Software von Drittanbietern"). Zur Software von Drittanbietern zahlen gemeinsin als „kostenlose Software" und/oder „Open-Source-Software" betrachte Programme. Die geltenden Lizenzbedingungen für Software von Drittanbietern der Copyright-Inhaber werden auf der unter stehenden Website aufgeführrt. Die Nutzung der Software von Drittanbietern unterliegt den geltenden Lizenzbestimmungen.
http://oss.sony.net/Licence/LSPX-P1_LSPX-PT1/
Software von Drittanbietern enthalt eine GNU General Public License ("GPL") und/oder eine GNU Lesser General Public License ("LGPL"). Sie sind berechtigt, die Quellcodes der Software von Drittanbietern unter einer GPL/LGPL-Lizenz zu öffnen, zuändern und weiterzugeben. Die Quellcodes der Software von Drittanbietern unter GPL/LGPL können auf der unten stehenden Website heruntergeladen werden.itte öffnen Sie die folgende URL und wahlen Sie "LSPX-P1" oder "LSPX-PT1".
http://www.sony.net/Products/Linux/
Sony ist nicht verpflichtet jegliche Unterstützung oder Hilfe in Bezug auf die Quellcodes anzubieten und nimmt diesen Recht grundsätzlich wahr.
Frequentiebereik/uitgangsvermögen
- 2.402 - 2.480 MHz/< 20 dBm
Frequentiebereik/uitgangsvermögen
- 5.150 - 5.250 MHz/< 23 dBm
Kennisgeving
Trädløs kommunikation
TradlOs LAN
IEEE 802.11a/b/g/n (2,4 GHz bān d, 5 GHz bān d),
MIMO-kompatibel
Bluetooth
Bluetooth 4.0 (Bluetooth lavenergi)
Generelt
Driftstemperatur
5^ til 35^
Indbygget batteri
Lithium-ion-batteri
Dimensioner
Ca. 80mm× 131mm× 131mm (brede × hoge × dybde)
Vægt
Ca. 930 g
Medfolgende tilbehør
Anmärkning für kunder i de ländersom foljer EU-direktiv
Tillverkare: Sony Corporation, 1-7-1 Konan Minato-ku Tokyo, 108-0075 Japan
For EU:s produktiverensstammelse: Sony Belgium, bijkantoor van Sony Europe Limited, Da Vincilaan 7-D1, 1935 Zaventem, Belgien
CE
Angäende tradlösst LAN
1366 × 768 bildpunkter
TrädlösCOMMunikation
Trädlöst LAN
IEEE 802.11a/b/g/n (2,4 GHz-band, 5 GHz-band),
MIMO-kompatibel
Bluetooth
Bluetooth 4.0 (Bluetooth lag energia)
Allmänt
Drifttemperatur
5°C till 35°C
Inbyggt batteri
Lithiumbonbatteri
Matt
Ca. 80mm× 131mm× 131mm (bredd × hojd × djup)
Vikt
Ca. 930 g
Medfoljande tillbehör
Natatapter VGP-AC19V77 (1)
Natatapter LSPX-AC5V2 (1)
Natkabel (4)
IR Blaster (1)
Startguide (1)
Referensmaterial (detta Dokument) (1)
Garanti (1)
Extra tillbehör
Golvstativ LSPX-PS1
EinfachAnleitung