LSPXP1 - Projektor SONY - Bezplatný návod k obsluze
Najděte návod k zařízení zdarma LSPXP1 SONY ve formátu PDF.
Questions des utilisateurs sur LSPXP1 SONY
0 question sur cet appareil. Repondez a celles que vous connaissez ou posez la votre.
Poser une nouvelle question sur cet appareil
Stáhněte si návod pro váš Projektor ve formátu PDF zdarma! Najděte svůj návod LSPXP1 - SONY a vezměte svůj elektronický přístroj zpět do rukou. Na této stránce jsou zveřejněny všechny dokumenty potřebné k používání vašeho zařízení. LSPXP1 značky SONY.
NÁVOD K OBSLUZE LSPXP1 SONY
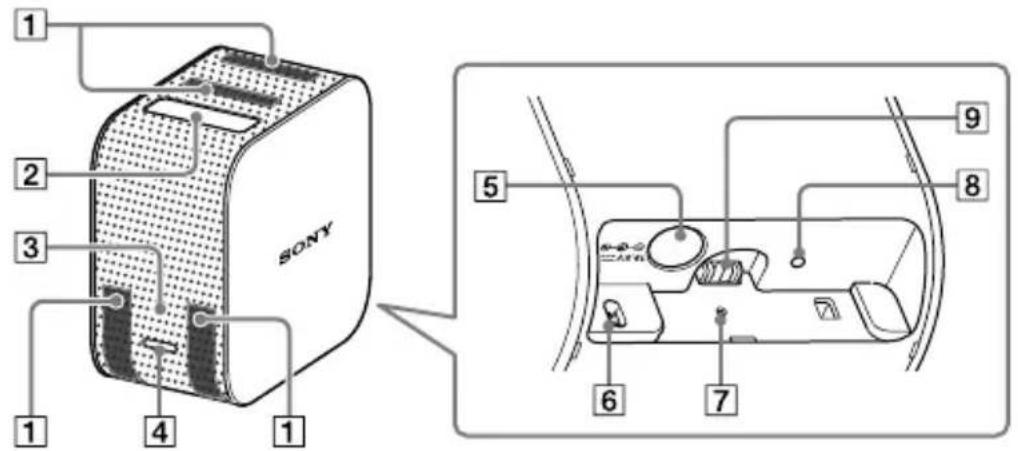
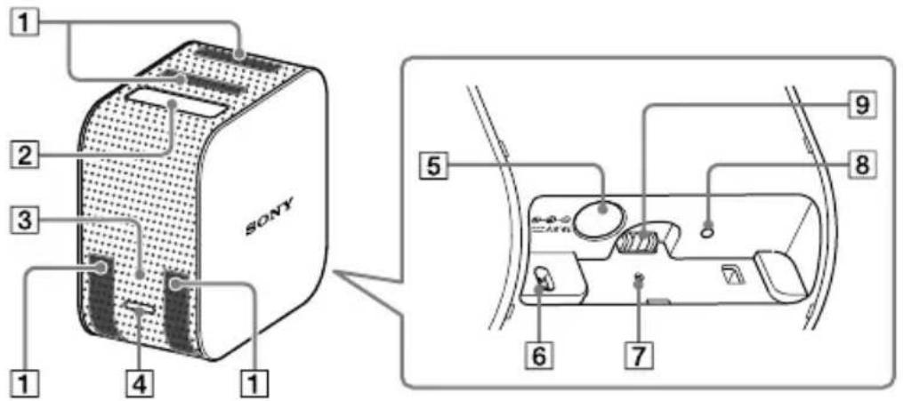
Umistěné ovladacích prvkú
Prenośny projektor s velice krátkou projekčné vzdáleností

Bezdrátová Jednotka

Přenosné projektor s velice krátkou projekčné vzdálenosti
1 Vetraci otvory (vstupni/vystupni)
2 Projekcni okenko (otvor na laser)
3 Kontrolka napajeni
4 Tlačitko napajeni
5 Zástrčka DC IN 19.5V
6 Cidlo vzdalenosti
Tlačitko RESET
8 Kontrolka nabijeni
9 Zástrčka napajeni stojanu (není současti dodávky)
Bezdrátová Jednotka
1 Konektor HDMI IN
2 Konektor HDMI OUT (pruchozif)
3 Konektor IR BLASTER
4 Zastrcka DC IN 5V
5 Tlačítko PAIRING
POZOR
Upozornéni pro zákazníky v zemích, na které se vztahuji směrnice ES
Vyrobce: Sony Corporation, 1-7-1 Konan Minato-ku Tokyo, 108-0075 Japonsko Pro technické požadavky dle směrnic EU: Sony Belgium, bijkantoor van Sony Europe Limited, Da Vincilaan 7-D1, 1935 Zaventem, Belgie
CE
Sony Corporation tímtó prohlasuje, ze toto zaízení je v souladu se směrnici 2014/53/EU.
Uplné zněni EU prohlášeni o shodě je k dispozici na títo internetové adrese: http://www.compliance.sony.de/
Frekvenčni pásmo 5 150 - 5 350 MHz je vyhrazeno pouze pro používání uvnitř budov.
Tato omezeni platí v následujićích zemích: AT/BE/BG/CZ/DK/EE/FI/FR/DE/EL/HU/IE/ IT/LU/NL/NO/PL/PT/RO/ES/SE/CH/UK
Frekvenčni pásmo a vykon pro specifikaci RF
LSPX-P1 (projektor)
Bezdrátová místné sít LAN (IEEE802.11a/b/g/n)
Frekvencnipasmo/vystupnvykon
- 2400-2483,5 MHz/< 20 dBm
- 5150-5250 MHz/<23 dBm
- 5250-5350 MHz/<23 dBm
- 5470-5725 MHz/< 23 dBm Bluetooth
Frekvencnipasmo/vystupnvykon
- 2402-2480 MHz/<20 dBm
Pokud statická elektrina nebo
elettromagnetismus zpúsobí prerušeni
prenosu dat v polovině (selhání), restartujte
aplifikaci a znovu pripojte komunikačné kabel
(kabel HDMI).
Tento vyrobek byl testovan a bylo shledano, ze splnjue omezeni stanovena predpisy EMC pro pouzivani propojovacich kabelu kratsich nez 3metry.
Elektromagnetické pole muže pri specifikych frekvencích ovlivnit obraz a zvuk tohoto pristroje.

Nakladanis nepotbrebnymi bateriemi a elektrickym nebo elektronickym zařizenim (platí v Evropské unii a dalšich evropskych statech vyuzivajćich systém odděleného sberu)
Tento symbol umistěné na vyrobku, na baterii nebo na jejím obalu upozornuje, ze s vyrobkem a baterií by se nemělo nakládat jako s bežnám domácim opadem.
Symbol nacházejíci se na určitych typech baterii může být použit v kombinaci s chemickou značkou. Značky pro rtut (Hg) nebo olovo (Pb) se použijí, pokud baterie obsahuje vice než 0,0005% rtuti nebo 0,004% olova.
Správným nakládoním s těmito
nepotřebnými vyrobky a bateriemi
pomúžete zabránit možnám negativné
dopadám na zhivotné prostředí a lidské
zdraví, k nimž by mohlo docházet v
pripadech nevhodného zacházení.
Materialová recyklace pomůže chránit prírodní zdroje.
V priadě, Že vyrobek z důvodů bezpečnosti, funkce nebo uchováni dat vyžaduje trvalé spojení s vlozenou baterií, je třeba, aby takovouto baterii vyjmul z pristroje pouze kvalifikovaný personal.
K tomu, aby s bateri bylo spravne naloženo,
preeje tvroky, které jsou na konci své
životnosti na misto, jenž je určene ke sberu elektrických a elektronických zařizení za učelem jejich recyklace.
Pokud jde o ostatni baterie, prosim, nahlednete do te casti navodu k obsslze, ktera popisuje bezpecné vyjmuti baterie z vyrobku. Nepotrebnou baterii odevzdeje k recyklaci na prislusne sberne misto.
Pro podrobnéjsi informace o recyklaci tohoto vyrobku ci baterii kontaktujte, prosim, mistni obecni urad, podnik zabezpečujici mistni oppadové hospodářstvi nebo projejnu, kde jste vyrobek nebo baterii zakoupili.
Pozor
Používáni ovladání nebo uprav ā provádení postupú jin'ych než uveden'ych v tomtó dokumentu muže mit na následek kontakt s nebezpečným zárením.
Příslušné stítek LASEROVÁ PRODUKT TRÍDY 2 je na projektoru umistěn v blízkosti projekčniho okěna.

VLNOVÁ DÉLKA: 430-460 nm, 505-530 nm, 625-650 nm
MAX.VYKON 16 mW
Délka impulsu: Červéná 2,67 ms / zelená 3,5 ms nebo 1,75 ms / modrá 3,5 ms, 60 Hz
Rozbihavost paprsku (oblast zareni laseru)

Bezpečnostní opatřeni
Pro vasi bezpečnost
- Nedopustte, aby se do zařizení dostala voda nebo cizi prédměty. Mohlo by DOJIT K požáru nebo k urazu elektrickým proudem. Pokud se do zařizení dostala voda nebo cizi prédměty, okamžitě zařizení vypněte a odpojte napajeci kabel a pripojovaci kabely.
- Zařizení nerozebírejte ani neupravujte. Mohlo by DOJIT k poruše, požáru nebo k urazu elektrickým proudem.
- Pokud hrozi nebezpeci zasahu bleskem, zařizení nepoužívejte. Zásah bleskem by mohl zpúsobit uraz elektrickým proudem. Pokud je pravděpodobné výskyt bourky, odpoje zařizení, abyste zabránili požáru, urazu elektrickým proudem a poruše.
Bezpečnost
V toto zařizení jsou zabudovány bezdrátové funkce. Rádiove vlny mohou ovlivnit provoz jiních zařizení.
Nepoužívejte toto zařizení na následujících mistech:
-v letadle,
- v blízkosti automaticicky ovládanych zařazení, jako jsou automatické dveře nebo požární hlásiče.
Pokud během používání zařizení
zaznamnéte u jiného vybavení problу'my,
například rušeni, okamžitě prestaťe toto
zařizení používat.
- Nedívejte se na promitánou obrazovku podlouhou dobu. Dlouhodobé sledováni promitáné obrazovky by mohlo zpúsobit namáhánóci. Pokud pocitujete neprijemné pocity nebo bolest, okamžite prestaante zařizení použivat a odpočiñe si. Pokud neprijemné pocity nebo bolest prětrévají poté, co jste si odpočinuli, vyhledejte pomoc lékáre.
- Nepromitejte obraz na leskly povrch. Svetlo by se vam mohlo odrazit do oci, coz by na ne mohlo mit skodlivy vliv.
- Udržujte zařizení mimo dosah děti. Pokud by došlo k omotáni kabelu kolem krku nebo k podobnému nesprávnému použiti, mohlo by dojit k nepohodě nebo k poranění.
Manipulace
- Pokud nebudete zařizení po delsí dobu používat, odpoje je.
- Zařizení neupoustějte, nevystavujte je uderum, nestlačujte je ani na ně nepokládejte těžké prédmety.
-
Rozsah provoznich teplot zařizení je 5 °C až 35 °C. Pokud byeSTE zařizení používali za extremné nizkých nebo vysokích teplot mimo Rozsah provoznich teplot, mohlo by dojit k poruše.
-
Neumistujte zaizeni na mista s nadmernym mnozstvim mastneho koure, pary, vlhkosti nebo prachu. Mohlo by dojit k pozaru nebo k urazu elektrickym proudem.
- Neinstalujte zařizení na nevhodné mistro, kde by mohlo hrozit nebezpeci. Zařizení by mohlo spadnout a zpúsobit zraněni.
- Nevystavujte zařizení silnám nárazüm. Pokud bye ste zařizení vystavili púsobení velké sily, napřikladPokud bye ste na ne postavili těžký predmét, mohlo by dojít ke zraněnénebo k poruše. Projekčné okěné je vyrobeno z temperovaného skla,Pokud bye ste na ne ale silné zatlačili nebo do nej uderīli, mohlo by se rozbít a způsobit zraněné.
- Davejte pozor, abyste zařizení během prěmistováni neupustili. Pokud by zařizení upadlo, mohlo by se rozbít nebo způsobit zraněni.
Umistěné
- Neumistujte zařizení na mista s nadměrnám množstvím prachu nebo cigaretoveho kouře. Prach a dehet z cigaret se lepí na componenty uvnitř zařizení (například na projekčné okěnko), což může způsobit poruchu.

- Neumistujte zařizení na mista s extrémné vysokou nebo nízkou teplotou nebo s extrémné vysokou vlhkosti. Zejměna na prímém slunci nebo v létě muže byt uvnitr auta velice horko,Pokud bye ste zařizení ponechali v autě, mohlo by u něj dojít k deformaci nebo k poruše.
- Neumistujte zařizení na nestabilní povrch. Zařizení by mohlo spadnout nebo se prěvrátit, což by mohlo věst ke zraněné.
- Neumist'ujte zaifzeni do blizkosti vody. Mohlo by DOJt k pozaru nebo k urazu elektrickym proudem.
- Neumistuje zařizení na mista vystavená prímému slunečnímu světlu nebo do blízkosti topení, ani je na takovych mistech neskladujte. V zařizení by mohlo dojít k hromaděné tepla, což by mohlo způsobit požár.
Sítový adaptor a kably
- Napajeci kabel nepoškozujte. Mohlo by dojit k požáru nebo k urazu elektrickým proudem.
- Se zařizením používejte dodany sítový adaptor. Pokud bye ste zařizením používali jiný sítový adaptor, mohlo by dojit k požáru, urazu elektrickým proudem nebo k poruše.
Nedotykejte se sitove zastrcky mokrymarukama. Mohlo by dojit k urazu elektrickym proudem. - Než pripjite sitovy adaptér a pripojováci kabely, vypněte zaízení a pripojené vybavení a vypojte sitové zástrčky ze zásvuky.
- Neobtáčejte napajeci kabel ani pripojovác kabel kolem sítoveho adaptéru. Mohlo by dojit k porušeni kabelú.
- Pred premistováním zařizení odpojte napajeci kabel a pripojovácí kabely. Mohlo by dojt k poškození kabelu, což by mohlo mít na nasledek požár nebo uraz elektrickým proudem, nebo by mohlo dojt k pádu nebo prěvrácéní pripojeného vybavení, což by mohlo zpúsobit zraněné.
- Konektor vkladejte rovné. Pokud bye ste ho vložili sikmo, kolíky by mohly zpúsobit zkrat, což by mohlo vestk požáru.
Hluk ventilátoru
Uvnitr Projektoru je umistén ventilator, ktery zabraṇije prehrivani - kdyz je tento ventilator zapnuty, vydáva slabý hluk. Tento hluk nepredstavuje zavadu. Pokud se však budou ozývat neobvykle hluky, obratte se na kvalifikované pracovníky společnosti Sony.
Udržba zdroje světla
Toto zařizení je vybaveno laserem, pri kontrole a udrzbe komponent zdroje světla je proto zapotřebi zvlástné opatrností a specialnich prostředků. Obratte se na kvalifikované pracovníky společnosti Sony.
Cisteni
- Pred Čišěnín nezapamente zařizení vypnout a odpojit od sítové zásuvky.
- Pokud bye ste zařizení drhli silou znečistěnám hadříkem, mohli bye ste je poskrábat.
-
Pokud bye ste na zařizení nalili těkavé kapaliny, například insecticid, neboPokud bybylo zařizení v dlouhodobém fyzickém kontaktu s predměty vyrobenými z pryze nebovinlu, mohlo by to zařizení negativním zpúsobem ovlivnit nebo by mohlo dojít k vyblednutí barvy jeho povrchu.
Nedotykejte se projekcniho okenkaholymarukama. -
Čistěni povrchu projekčniho okěnka: Jemné je otřete měkkým hadříkem, jak je například hadřík na Čistěni brylí. Nepoddajné skvrny otřete hadříkem navlhceným ve vode. Nikdy nepoužívejte alkohol, benzen, redidlo, kyselé Čistíci prostředky, zásadité Čistíci prostředky, abrazivné Čistíci prostředky, utěrky napustěné chemikáliemi apod.
- Cisteni vnějsku zařizení: Jemné jej otře te měkkým hadříkem. Nepoddajné skvrny otře dobre vyždimaným hadříkem navlhčeným v reděnémneutralním cisticém prostředku, potom vnějsek zařizení znovu otřete suchým hadříkem. Nepoužívejte alkohol, benzen, redidlo apod.
Projektor
- I když je toto zařizení vyráběno s vyuzitím vysoce prěsné technologie, mohou se na promitané obrazovce objevt trvale prítomné Černé nebo bíle pixely. Mûze se také objevt nevyväženost barvy nebo jasu Jednotlivych pruhů. Je do zpúsobeno konstrukcí projektoru a nejedné se o závadu. Vyväženost barev Jednotlivych projektoru se liší; když proto budete používat více LCD projektoru, mûze se reprodukce barev mezi temito projektory lišit, i když se bude jegnat o tentýž model.
V závislosti na sledovaném obsahu budou při pohybování očima nebo za určitych podminek viditelné primárni barvy, jak je Červéna, modrá nebo zelená; nejedné se o závadu. Je to způsobeno jevem „rozkladu barev“, který je typický pro systém vyuzivajíci postupněch barevněch polí, jenž toto zařizení používa pri promitány obrazu. Tento jev je možné potlačit snízením kontrastu mezi obrazem a pozadím, napřiklad snížením jasu zařizení nebo zvyşéním jasu v mistnosti.
Kondenzace
Pokud projektor náhle présunete z
chladného prostředí do tepla nebo poté, co
ráno v zime v mistrasti pustíte topení,
múže se na povrchu nebo uvnitr projektoru
objevit kondenzace. Pokud se kondenzace
objevi, ponechte projektor vypnutý, dokud
se kondenzace nevypaři. Pokud bye ste
projektor používali, zatímco je prítomna
kondenzace, mohlo by DOJIT K poruše.
Vetrací otvory
- Neucpávejte větraci olvory (vstupní/ vystupní). Pokud bye ste větraci olvory ucpali, uvnitr zařizení by docházelo k hromaděné tepla, což by mohlo způsobit požár nebo poruchu. Ridte se následujícímíPokyny, abyste zajistili dobré větrání:
-Umistete zaizeni mimo steny a predmety.

-Nepouzivejte kryt, ktery by blokoval vetraci otvory.

- Neumistujte zařizení na mekkou latku, papirove dokumenty, silny koberec nebo malé kousky papiru. Mohly by byt vtaženy do vystupnich otvorù a zablokovat je.

Nepriblizujte k vystupnim otvorum ruku ani zdne predmety. Mohlo by dojit k popaleni nebo k deformaci.
Projekčí okěnko
Nedivejte se do projekcnio okenka. Svetlo by vam mohlo poskodit oci.
- Neblokujte projekcni okenko. Svetlo by prekazku zahrivalo, coz by mohlo zpusobit zhorseni jej kvality, deformaci, spaleni nebo pozar.
Upozornéni týkajíc se tvorby tepla v zařizení
-
Pri používání nebo nabijeni zařizení se muže sítový adapterér zahrivat, nejedné se o závadu. Pokud teplota zařizení extremné vzroste, zařizení se muže automaticicky vypnout pro svou ochranu. V takovém prípadě zařizení po jeho vypnutí používejte na chladnéjsím mistě.
-
Pokud se zařizení nebo sitový adapterné neobvykle zahřejí, muže to signalizovat závadu. Okamžitě zařizení vypněte a odpojte sitový adapterné od zásuvky, potom se obratte na kvalifikované pracovníky společnosti Sony.
Nedotykejte se pravé použivaného zařizení nebo sitoveho adaptéru po delsí dobu. Dlouhodobýkontakt s pokožkou by mohl zpúsobit popáleniny. Popáleniny muže zpúsobit i dlouhodobýkontakt pri doteku prěs oblečeni.
Nepouzivejte zaizeni ani sitovy adaptor prikryte latkou nebo loznim pradlem. Dochazelo by k nahromadeni tepla, které by mohlo zpusobit deformaci, poruchu nebo požár.
Nabijeni
- Zařizení nabíjete za okolní teploty v rozmězi 5°C až 35°C. Mimo tento rozsah teplot by se zařizení nemuselo správně nabít.
- Pri nabijeni nebo použivani zařizení se můze zařizení zahrivat, nejedné se o závadu.
- Pokud nebudete zařizení po delsí dobu používat, každych šest měsíců je nabijte, aby nedocházelo ke zhoršování vydrze baterie.
Když Jednotku nebudete dlouhou dobu použivat, muže její nabiti trvat déle.
Když výdrž baterie klesne na polovinu původní doby, je možné,Že se baterie príblížila konci svéŽivotnosti. Porad'te s kvalifikovanymi pracovníky společnosti Sony o možnosti výměny nabíjecí baterie.
Přerušeni napajeni
I když zařizení vypnete pomoci tlacítka napajení, nebude napajení zařizení zcela zastaveno.
Abyste napajeni zařizení zcela zastavili, odpoje je od zasuvky. Umistete sitovy adaptoré do blízkosti zasuvky, abyste jej mohli rychle odpojit,Pokud bystande zaznamenalì problém.
Poznámky k bezdrátové siti LAN
Společnost Sony nenese Žádnou
zodpovednost za ztráty ani škody
zpúsobene ztrátou nebo kradeži zařizení,
které budou mit na následek neoprávněny
prístup k vybavení obsaženém v zařizení
nebo jeho zneužiti.
Poznámky k zabezpečeni bezdrátovésite LAN
Vždy dbejte na to, abyste používali bezdrátovou sít LAN, ktera je zabezpečena proti utoku hackerú, pristupu třetích stran se špatnými umysly a ktera má zabezpečena ostatni zranitelná mista.
- Radné nastavení zabezpečeni bezdrátové sítě LAN je velice duležitě.
Společnost Sony nenese Žádnou zodpovednost za ztráty ani škody zpusobene problémy zabezpečeni a souvisejíím neprovádením bezpečnostnich protiopatřeni nebo nevyhnutelnými okolnostmi zpusobenymi technickými vlastnostmi bezdrátové sítě LAN.
Pokud budete mit dotazy nebo problemy, prěctěte si znovu dūkladné tento dokument, Počátečné instrukce a Uživatelskou príručku (námod k použitá na internetu). Pokud odpoved'nenajdete, obratte se na kvalifikované pracovníky společnosti Sony.
Specifikace
Přenosné projektor s velice krátkou projekčné vzdálenosti (LSPX-P1)
Projektor
Zobrazováci systém
Projekčni systém
Zobrazovací zařizení
0,37 palcovy SXRD × 1
1366× 768 pixel
Velikost promitaneho obrazu
22palcu a80palcu
Zdroj svetla
Laserová dioda
Svetelnytok
100 Im
Zvuk
Reproduktory
Prümér prbl. 25mm× 2 (monofonni), systém bass reflex
Zesilovač
2W× 2W monofonni(4 ohmy)
Bezdrátová komunikace
Bezdratová sít LAN
IEEE 802.11a/b/g/n (paso, 4 GHz, paso 5 GHz), kompatibilni's MIMO
Bluetooth
Bluetooth 4.0 (nízkoenergetická funkce Bluetooth)
Obecné
Provozní teplota
5°C až 35°C
Vestavěná baterie
Lithium-ionová baterie
Rozmery
Pribl. 80mm× 131mm× 131mm (sifka × vyska × hloubka)
Hmotnost
Pribl. 930 g
Bezdrátová Jednotka (LSPX-PT1)
Vstup/Vystup
Konektor HDMI IN
Konektor HDMI OUT (prüchozi)
Konektor IR BLASTER (mini konektor)
Bezdrátová komunikace
Bezdrátová sít LAN
IEEE 802.11a/n (pásmo 5 GHz), kompatibilíns MIMO
Obecné
Provozní teplota
5°C až 35°C
Rozměry
Pribl. 135mm× 35mm× 135mm (sifka × vyska × hloubka)
Hmotnost
Pribl. 200 g
Vzhled a specifikace se mohou zmenit bez upozorneni.
-
Vyrobeno na základe licence poskytnuté spolecnosti Dolby Laboratories. Dolby a symbol dvojiteho D jsou ochrannesznámky spolecnosti Dolby Laboratories.
Výrazy HDMI a HDMI High-Definition Multimedia Interface a Logo HDMI jsou ochranné známky nebo registrované ochranné známky společnosti HDMI Licensing LLC ve Spojenych statech a v dalísch zemích. -
Slovní značka a logo BLUETOOTH SMART jsou registrované ochranné známky vlastné spelečností Bluetooth SIG, Inc., spelečnost Sony Corporation takové známky vyuzíva na základě licence.
- Wi-Fi, Wi-Fi Direct, Miracast a Wi-Fi Protected Setup jsou ochranno známky nebo registrované ochranno známky společnosti Wi-Fi Alliance.
- Google, logo Google, Android, Google Play a YouTube jsou ochrannesznámky nebo registrované ochrannes známky společnosti Google Inc.
- Apple, logo Apple, iPhone a iPod touch jsou ochranné známky společnosti Apple Inc. registrované v USA a v dalsich zemích. App Store je servisné známka společnosti Apple Inc.
- Nazvy všech ostatních systémů, produktů a služeb jsou ochranné známky nebo registrované ochranné známky príslušněch vlastníků. Symboly™ nebo nejsou v teto príručce uvádeny. Vsechna práva, ktera nejsou vyslovně popsána v totom dokumentu, patri príslušným vlastníkům.



SMART

CERTIFIED
Poznámky k software třetích stran
Přenosné projektor s velmi krátkou promitaci vzdálenosti a bezdrátová Jednotka obsahuji software tretích stran, jehož distribuce nebo poskytovani podlélá podminkám stanoveným vlastníky autorských práv ( „software tretích stran“). Mezi software tretích stran patří software, který se bežné nazyvä „svobodníy software" nebo „open source software". Příslušné licenčné podminky pro software tretích stran stanovené vlastníky autorských práv uvádi nizě uvedená webová stránka. Vaše použiti softwaru tretích stran podlélá temto príslušném licenčném podminkám.
http://oss.sony.net/License/LSPX-P1_LSPX-PT1/
Software tretich stran obsahuje kód podlehajici licenci GNU General Public License ("GPL") nebo GNU Lesser General Public License ("LGPL"). Timto vam sdelujeme, ze mate pravo ke zdrojovym kodum softwaru tretich stran poskytnutym podle licence GPL/LGPL pristupovat, upravovat je a dale je šit. Zdrojové kódy príslusného softwaru tretich stran s licenci GPL/LGPL jsouk dispozici ke staženi na nizhe uvedene webové stranc. Přejděte prosim na nasledujíci adresu URL a zvolte možnost "LSPX-P1", nebo "LSPX-PT1".
http://www.sony.net/Products/Linux/
Společnost Sony není povinna poskytovat jakoukoli podporu ani pomoc ohledné těchto zdrojovych kódů a neposkytuje ji.
Information om kontrolfunktion
Bærbar Ultra Short Throw-projektor

Trädløs enchod

Bærbar Ultra Short Throwprojektor
1 Ventilationshuller (indsugning/ udsugning)
2 Projektionsvindue (Laserblaender)
3 Strømindikator
4 Strømknap
[5] DC IN 19.5V-stik
6 Afstandssensor
7 RESET-knap
Batteriniveau
9 Strømstik til stativet (medfølger/DD)
Trädløsenhed
1 HDMI IN-stik
2 HDMI OUT-stik (gennemgående)
3 IR BLASTER-stik
4 DC IN 5V-stik
5 PARING-knap
SnadnýManuál