MX 235 - Погружной блендер BARTSCHER - Бесплатное руководство пользователя
Найдите руководство к устройству бесплатно MX 235 BARTSCHER в формате PDF.
Скачайте инструкцию для вашего Погружной блендер в формате PDF бесплатно! Найдите своё руководство MX 235 - BARTSCHER и возьмите своё электронное устройство обратно в руки. На этой странице опубликованы все документы, необходимые для использования вашего устройства. MX 235 бренда BARTSCHER.
РУКОВОДСТВО ПОЛЬЗОВАТЕЛЯ MX 235 BARTSCHER
1.2 Меры пе dioctopoxhoctn
- 3TOT npi6op He npeHa3NaueH dIy IOnb3OBaHn JIuamn (BkIouaJeTei) C OrpaHnueHHbIMN cIINueCKnIMN, CEHCOPHbIMN, INTEJIeKtYaJIbHbIMN cIOCO6HOCTaMn, HeIOCTaTOUHbIM ONbITOM N 3HaHnA MNo Ipr6ope, eCIn OHN He HaxoJrTcN IOd KOHTPOJem JIua, OTBeuaIOseRo 3a INX 6e3OpacHOCTb, INI He NOlyuJIiN OT Hero COOTBETCTByHOUne yKa3AHnRAIO NCIOJIb3OBaHnIO np6opa.
-ДeТи ДОЛЖны HaxOДИТбСЯ ПОД HаБЛЮDEнEM B3PocNbIx,ЧТОБы NCKПУЧИТь BO3MOЖHOCТь Игрь IdeTeI C ппбОрOM Или erO ВКЛЮЧЕНЯ.
Bo Bpemr 3KcnpaTaun np6opa HkoRa He octabTb er0 6e3 npncmToPa. - Пибор седует Исплььть ИСКПЧИТьНВ 3aKpbITbIXnomeшени.
- Прибор можно IncnoIb30BaTb Tobilko B clyuae, ecn erO TexHnueCKoe COCToRHe He Bbl3bIBaET COMHeHnB NcnpaBHOCTn I 6e3OpacHocTn. B clyuae n3bYHOB B DeiCTBnN prn6opa erO CJIeDyET OTCoEINHHTb OT NCTOuHNka PNTaHnA (BblHyTB BNlKy I3 pO3eTKn) IN COO6UHTb B cepBnCHbI ΚeHTp.
CdeIaTb HeBO3MOxHbIM DoCTyI DeTei K ypaKOBOHybIM MaTePnaIam, TaKIM KaK IOnIaTHJeHOBbIe NaKeTbI NJI peHONOJIcTIPOJIOBbIe 3JIeMeHTbl. OnacHocTb ydyuWeHnra!
Pa60tblno yxody n peMOHTy MOrT pOBOIDITbCra TOnbKO KBaJIHΦnucPOBaHHbIMN CneuJaINCTaMn Prn NcNoJIb3OBaHmN OpUHaJIbHbIX 3aNaChbIX qAcTeN n PpHaIJeXHOcTe. HnkOrda He nbItaIteCb Camn npNBecTN np6Op B nCnpaBHOe COCToHHe.
He nCnoIb3OBAtB npHaIeJXHOCTn IJI 3aIacHbIe YAcTn, KOToPbIe He 6blI N Odo6peHbI n3rOToBHTeJIeM. OHmOryT pPeIcTAbIaTb ONaCHoCTb dJIa Notpe6nteJIa IJI npUHNITb BpeI npIbOpy IJIy uIep6 yeJIOBeKy, K TOMy Jx TepeTec TpaBO Ha yDoBJeTBopeHne rapaHTn.
Bo n36eXaHne NOBpeXdEHN i dIy oBeCpeHnO pTImaJIbHO npOn3BOJNTeJIbHOCTN HeIO3BOJNTeJIbHO pPeIprHnMaTb KaK n3MeHn Ipn6opa, TaK n IpecTpoEk, ecII OHI YETKO He IO3BOJEnbl N3ROTOBHTeJIeM.

ONACHO! Onachoctb nopaxeHn 3JIeKtpnuecknM TOKOM!
Bo n36exaHne nocJeDCTBn yrpo3bI cJeDyET co6JIoudaTb yka3aHHbIe HIXe peKOMeHdauznn no 6e3OpaCHOCTN.
He donyckaTb KOHTaKTa npoBOna nITaHnC nCTOuHnKaMn TeIpa N OCTpbIMN KpaAMn. IpoBOD nITaHn He DoJIxKeH CBnCaTb CO CTOJa HJN dpyrO OCHOBaHn. CJeInte 3a Tem, YTO6bl HnKTo He MOR HaCTyNaTb Ha npoBOD nJN cNOTbKaTbCS o6 Hero.
- Пювов пітань He может подевератбя ИЗгбам, заNYтын,
- НIOJKEH Bceгда нахODNTbСВ Б рa3ПОЖЕHHOM COCTOун.
- НИКOrДа He yctанавлваТь пибор пп ДPyгne пpeДмETы Ha
- пювODE пітань.
- ПювOD пітаня He прokладыВаТь Ha KOBpoBbIX NOKpbITnIx
нлдpyг nx Лergо BocпамеонуцхсmaTeprnaJax. He NaKpbI-
ВaTb пювOD пітаня. ПювOD пітаня He дOLжeH hAxOДNTbCЯ
В 30He pa60Tbl.
- Пювов пітань реуларно пюверят ha п体现在повжdeн. He nспльзовать пибор с повжdeньIM пювodom пітань. Ecп пювов повжdeн, BO n36жанne onaCHOCTN, er0 3amehy cnejdyet nopuyuHTb элктуку.
-
Пювов питаня седует BCERда OTCOeINHЯТь OT PO3ETKN C NOMOцьЮ ВИКИ.
-
HnkOrda He nepemeaTb, He nepeBnraTb n He noDnMaTb np6op c NOMOsbIO npOBoDa NHTaHna.
HnB Koem cnyae He OTKpbBaTb Kopnyc npnbopa. B cnyae HapuweHna 3JeKtpnuecknx PrncOeDInHeHn nn MoDnФnKaun 3JeKtpnuecko nn MexaHnuecko KOHCTpyKcnn, POBNTcY yrpo3a nopaxeHna 3JeKtpnueckm TOKOM.
He npimehaTb HnkaKne eKne YnCTaIe BeIecTba n CJIeIITb 3a Tem, yTo6bI BODa He nonaja B npnbop.
- HNKoIa He 06cIyKINBaTb npI6Op BIAJXHbIMN pyKaMn IJI N CTOI Ha MOKpOM OCHOBAHIN.
BbIHyTb BnIky n3 rHe3da:
- ecn np6op He nCnoJb3yeTc.
-ecn BO BpeM 3KcPnyatauN NOBbTcN NOMEXN,
-перед очinctкои рибopa.

OCTOPOXHO! OnachocTb TpaBMnpoBaHn!
Bo n36eXaHne nocIeDCTBn yrpo3bl Heo6xOdmo co6JIoudaTb cIeNyUoUne yka3aHnno TexHnke 6e30NaChOcTn:
Bo BpempaobToHkoRaHe cJeDyET npKacatbC K NOdBnXhIM qactm np6opa.
- Пи включehном и ВBEdeHHom B DeiCTBne npnbope HNKoRda He BKlaIbIbA Tb B EMKOCTb PpeDMeTbI IIN PPOyKTbIC DpyrIMN XapaKTePncTnKaMn, Yem PpeDycMOtpeHO PpaBnIaMn NcNoJIb3O-BaHnI Pnp6opa nO Ha3NaueHnIO. HanpImep, KocTn, 3amopo-JxEHHOe MAcO, HENPIROdHbIe K Notpe6JIeHnIO PPOyKTbI IIN dpyrIe PpeDMeTbI, TAKNe KaK, NOJOTeHca n T.II.
Бeэ�асноctь Экплуатуги прибopa rapaHTирова на ТолькВ снычae COOTBeTCTBYЮцero Ha3нayehию пprimeheny,В COOTBeTCTBnC ДадныIMВ ИНСТPyKиN NO 6cnykinaHIO.
Bce TexHnueckne DeIcTBnA, B TOM YNCSNE MOHTAX N TexO6CnyKNaBaHne, MoryT OcyuEcTBJIaTbCa NCKJIOUHTeNbHO KBaJINΦuNUPOBAHbIM NepCOHaJOM.
MnKcep norpyxHoi npedHa3Hauehen TOnbko dJa NIOpnpOBaHna, 3MyIbriPOBaHna I nepeMeunBaHnra ropaynx XOJIoNDhix 6JIou.
C NOMOUIHO 3Toro np6opa MOXHO pnproTabnBaTb cynbl, IIOpe, Kpembl, MapunnaHOByo Maccv, COYcbl Ha 6a3e Cbipa N T.I. HENOCPECTBEHHO B EMKOCTH.

BHIMAHNE!
JIIO6oe OTKIOHeHne OT NOJb3OBaHHn IO npMOMy Ha3HaueHnO I / nIIN dpyroE NCIOJIb3OBaHnE np6opa 3anpeSeHo N AIBJeTcR IOJIb3OBaHHnEM HECOOTBETCTBeHHo npMOMy Ha3HaueHnO.
IpeTeH3n IIO6Oro PoDa K N3rOToBnteNIO / nnn erO npedCTaBnteNIO NOBOy HaHeCcEHoro yUep6a B pe3yJbTaTe NOJIb3OBaHnI np6OpOM He No HA3NaueHnIO NCKIIoueHbI. 3a BeCb yUep6 npi NOJIb3OBaHnI np6OpOM He No HA3NaueHnIO OTBeuAet Cam Notpe6nteNl.
2.Obuine cBeDeHnA
2.1 OTBetCTBeHHOCTb n rapaHTnHbIe 06ra3aTeJbCTBa
Bce cBeHeHn yka3aHn B 3ToI IHCTpyKuIN NO 3KcNpyaTcuIN 6bIn COCTaBHeBICyETOM DeIcTByIOx IpeDncaHn, aKtyaJIbHOrO yPOBn INHexeHepHO-TexHuecknx NCCneIOBaHn, a TaKKe Hauero MHOroTeHero OnbTa n 3HaHn.
IpeboDbl Hnctpykunno 3Kcnnyataun TaKke cdeJahbHa ypOBHe JyUxnx 3HaHni.
Ondako OTBETCTBEHHOCt b 3a Own6Kn B nepeBoDe Mbl Ha Ce68 B3rTb He MoXeM. OCHOBOI CnyxHn T npInoXeHHa HemeKcA BepCn IHNCTpyKcNn N O KcNlyaTaunn.
IeINCTBNTeHbI OobEM NOCTaBOK MOKET OTKNOHATbcr npn Cne3aKa3ax, npedbBHeHN DOnONHTeHbIX 3aKa3HbIX YCNOBNI NOCTaBOK HIN NIO pNUnHe HOBeiX
TEXHNUeCKNX N3MeHEN, OTNIuHaIOUxxCa OT ONuCAHHbIX 3Decb O6bIcHEN N UepTeKHBIX N3o6paJKeHN.

BHIMAHNE!
Ipeed hauanom kakx-ln6o deicTBn c npnbopom, ocobehno nepeed ero BkIoueHneM, cJeDeyET BHMMaTeIbHo npouHTb daHHyU IHcTpyKcNIO no 06cnyXnBaHIO!
Ipon3BOiTeJIb He Hecet OTBcTcBeHHocTb 3a NOBpeKdEHNr IN BpeI, BO3HnKmBcJeDCTBVE:
- Heco6JIOdeHnY yKa3aHn Ha TeMy o6cJyKbAHn N OuNCTKn;
- INCNoJIb3OBAHnI He IIO Ha3HaueHnI;
- BBeHeHnI3MeHeHn IOnb3OBaTeJIeM;
- PpIMMeHHeH HeCOOTBeTCTByIOx 3aNacteI.
Mbl octabnem 3a coob npabo Ha texhueckne n3MeHeHna npodykTa B paMKax yIyUWeHnKaueCTB nCNoJb3OBAHnN daJIbHeJwero NCCNeDoBaHn.
2.2 3aunta aBtopcknx npab
Hnctpykunno 3aunuuebI aBTOPCKMn npabam. Pa3mHOKeHnaJIIOBO Bua n BIObof oopme - daxe yactnUHO - a TaKke NcNoB3OBAHne n/nn nepeDau ca OedeKHaHna 3aepeHbI 6e3 nncMeHHoro corlaCn I3rotOBNTeJr. HApyuHne BeTe 3a co6oI NOcNECTBHe BO3MeUeHnY6bITKOB. Mbl OCTabTnem 3a CO6o IpaBO Ha npedbYBHeHne DaJIbHeiXn PpeTeH3n.

YKA3AHNE!
CopejxHne, TeKCTbI n npOyHe n3o6paXeHn 3aunuJeHbI aBTOpCKHMn npaBAmN n HaxoJrTcNoD 3aunToI dpyrnx npab 3aunTu I pON3BOdCTBa. KaJdoe 3noynOTpe6JIeHne haka3yEmo.
2.3ДeКлараця O HopMaTHNBOM COOTBETCTBNI

Ppnbop COOTBeTCTByeT DeiCTBlyUOuHm HopMaM n DnpeKtNBam EC.
3TO NOITBepKdaeTcHAMB 3aBHeHN O COOTBeTCTBUN EC.
Pn Heo6xOIMOCn MbI C yIOBOJIbCTBnEM BblIeM Bam 3aABJHeHne O COOTBETCTBUN.
3. TpaHcnpTnpoBka, ynaKOBka n XpaHeHne
3.1 TpaHcnpTHa nHcneKzna
IonyeHHbI rpy3 He3aMeIINTeIbHO npOBepNTb Ha KOMJIeKTHOCTb HHa TpaHCnOpTHbIyuepe6. PnBHeUHe OOn3HabaEMOM TpaHCnOpTHOM yuepe6e rpy3 He npHIMaTb IInnpHnAByc orOBOPKO.
Pa3mep yuepe6a yka3aTb B TpaHcnpTHbIX DOkymeHTax / HaKnaHOn/ nepeBo3uKa. Poadtbpeknamaun.
Ckpblu yuep6 peknapoBaTb cpa3y nocne obnapxHna, taK kaK 3aBky Ha BO3MeueHne yuep6a MOxHO NOnaTb NlUb B npedeJax DeiCTByOuxpeknaUOHbIX CpOKOB.
3.2 YnakoBka
He BbIbpaCbBaIte ynaKOBouHbI KapToH BaUero npnbopa. OH moKeT Bam noHaIOBntbcr Iy XpaHEnn, pni nepee3de nII eCnB Bbl B clyuae BO3MOxHbIX NOBpeKdHm 6yDeTe BbICbIaTb npnbop B Hauy cepBnchHyO cnyk6y. POnHOCTbIO ocBO6oJTe npnbop peed BBOOM B CTPOI OT BHeUHErO IN BHyTpEHHrO ynaKOBouHOro MaTePnAna.

YKA3AHNE!
EcII BbI HamepeBaTeScb BblkHytb ynaKOBouhbl MaTePnA1, co6IouaIte npedncaHn, deIcTByUoIe B BaSei cTpaHe. IOnB03nte BToPnHo nepepa6aTbIBaembl ynaKOBouhbl MaTePnA1 K MeCTy c6opa MaTePnAIOB BToPnHO npepa6oTkn.
IpoBepbTe, noJIHOCTbIO Jn yKOMNKeTOBaH np6Op n 3aNaChbIe npHaJNeJxHocTn. B cnyae Heoctaun KaKx-Im6o YacTee CBXITecb C haWei clyXboi CepBnca.
3.3 XpaHeHne
PnpobI depkaTb Do yCTaHOBKn B He paCnakOBaHHOM Bnde, co6JIouJa HaHeceHHbIe Na BHeuHei CTOpOHe MapKInpOBKn IO yCTaHOBKe I XpaHeHIO.
YnaKOBKn XpaHnTb NCKIIOHTeJIbHO npn CJeDyUOxuX yCNOBnx:
- He ĀpχaMb NOI OTKpbITbIM He6OM,
-XpaHHTB CyxOM N CBO6OJHOM OT nbJIIM MeCTe, - He NOBBepraTb BO3dEInCTBnIO arpeccnBhbIX BeIeCTB,
- npedoxpanrBoT BO3dienCTBnA COJHeuHbIX Jyuei,
- n36eRaTb MExaHnuecknx COTpaeHn,
-пи дитьномхранен (болee 3 мecаeВ) руларно КоHTpoJINPOBaTb obuee coCTOЯHne BCex YacTeN ynaKOBKN, В сИучae Heo6xOДIMOCtN OCBExKITb ИЛ N OБHOBITb.
Bartscher
4. TexHHueckne daHHbIe
4.1 Onncanhe yacten np6opa

| Ha3BaHnne | Микер поружно МX 235 |
| Артыкул: | 130115 |
| Исполнения: | Корпун: пл actмаса, оразнке вая съемая наcadka: Нерхавецьая столь установоче кolyо: пл actмаса |
| Параметры прибочения: | 0,25 kBt / 230 B 50-60 Гц |
| Стeneь 3aшиты: | IPX3 |
| Р发电机вка скорости врашения: | пларьая, макс. 15000 ob./min. |
| Разmersы: | Ø 75 мм, общая длиа: 520 мм, длиа наcadки: 250 мм |
| Длиа кабеля: | 1,8 m |
| Вес: | 1,35 кг |
TexHnueckne N3MeHeHnB O3MOxHbI!
5.Инстадлаяцьи ообслужиBaHne
5.1 MoHTaK i DeMOHTaK
O6cnyxnbHne np60pa moXHO nOpyatab TOnbKO yNoJHOMOeHHOMy I COOTBETCTByUoIIM O6pa3OM NOIROTOBJIeHHOMy nepcoHaJy, paCnOlaRaHoueMy IOCTaTOHbIM TEXHnueCKM ONbITOM.
Peped BkIIOeHHeM np60pa cneDyeT:
-BHIMATEJIbHO IPOUHTaTb TEXHNueCKyO DOKyMeHTaUNo,
O3HaKOMTbCnpeoXpaHntbHbIMN 3IeMeHTaMn IMexaHn3MaMn aBapnHoro BbIKIOUeHnA, a TAKKe INx pacnoJIOXeHnEM B pni6ope n CnOCOBm DeiCTBn.
IcnoJb3OBAHne npedeoxpaHnteBhbix qacteepn6opa HeynoHOMOeHHbIMN IuammoKet cTaTb npunHO HeNCpabHocTe N CO3daBaTb yrpo3y Niuy, 06cnyknBaHOme My np6op. OScnyknaIOoee NIO DOJXHO pOHTN COOTBeTCTByIOUPO NOROTOBky Ha TeMy npaBnBHO 3KcnpyaTuIN, IN EMY DOJXeH 6bITb pa3brcHeHa BO3MOxHOCTb BO3HnKHOBeHnOCTaTOHOro pUcKa.

OCTOPOXHO!
Дeиства, CBЯЗHAHьIE C MOHTaЖOM / ДeMOHTaЖEM КжdoJ ChACTN рибopa DoЛЖны BbvINOLHЯТьСя Рп ВвIKЛQUЧEHOM DBnRaTeJIe И ИЗЯTOй ИЗ рОзЕТКИ ВИЛКe.
MOnTax np60pa BkIIOUaET HeckOJIbKO onepaun:
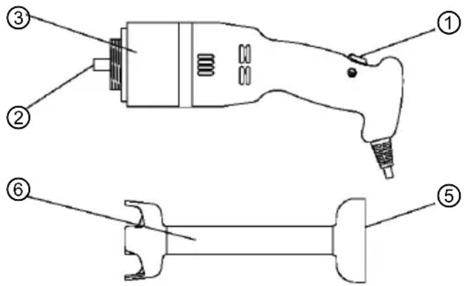
- YctaHOBOUHoe KOJIbUO (5) pbIyara (6) HacaIKN yCTaHOBNTb Ha 6bICTpopa3bEmHoe coeINHe-Hne (2) Kopnyca (3) npn6opa.
- Pbyar (6) HacaKn DOKpyTNTb npOTNB YacOBoN CTpeKN TaK, yTO6bl OH KpeNKo 3aΦnKcnpoBaalcna Kopnyce (3) npnbopa.
Co6IIOaTb yka3aHnHaHXoJaUneCnHa Kopnyce np6opa!

Demontax CneIyET BblIOJIHHTB B COOTBeTCTBUN C yka3aHnA MNBbIWe, HO B o6paTHoJ OuepeHOctN.
CTapT
IIMnybchaj pa6oTa np6opa Bo3MOxHa TOJbKO nyTeM HaxaTna npeDycmOTpeHHoJ Dnra 3toro KhoKn BKl./BblKJl.: pa6oTa ToJbKO npi HaxaToH KhoNke
Het HanpjaKeHHa
B cnyuae nepepbBa B noDaue 3JKeKtpOnuTaHnI NnNoCne OTKJIoueHnI np6opa OT cETn, NOBTOphoe erO BKIOUcHHe MOxet 6bITb OcyuEcTBJeHO nyTEm BblNOJIHeHn Ipocecca BBOda B DeiCTBnE NocJle BOCCTaHOBJIeHnI NODaun 3JKeKtpOnuTaHnI Nn NpOKLIouHnI np6opa K CnCTeme NHTAHnI.
IopdknluoyeHne

ONACHO! Onachoctb nopaxeHna 3JIeKtpnueckm TOKOM!
B clyuae He npabnblhoy yctaHOBN np6Op moKet cTaTb npuHoi noJyuHnra TpaBM!
Ipeed yctaHOBKo np6opa cpaBHTb napaMeTpbl loKaJIbHOJ3JeKTPnueCKo CETNCTexHnueCKIMN daHHbIMN np6opa (cM. HOMHaJIbHbI uNTOK).Pnp6op noDKlOuATb TOlbKO B Cnyae NOHoro COOTBeTCTBna NapaMeTpOB! Pnp6op noDKIIOUaTB ToIbKO K npaBnIbHO yCTaHOBJIeHHbIM, OdINHOyHBIM PO3eTKam C 3aUNTHbIM KOHTaKTOM.
- 3JIeKTpuecka ueb B po3eTke DoJnxHa 6bItb o6ecneueHa KaK MHNmym 16A. IopKnIouehne CJeDyET BblIOHnITb TOnbKO HeNOCpeIcTBENHO K HAcTeHHoP03eTKe, 3anpeuaeTc npImHeHne pa3BeTbIteJe NIn P03eTOK C HeCKOJIbKIMM BXOdaMn.
- Pn6bop cneJyET yCTaHOBNTb TaK, YTO6bI B Cnyuae Heo6xOIMOCtN 6bl OBeCneueH 6ecnpenrTcBeHHbI DOCTyn K BNKe C ueMbI HoMeIeHHoro OTKnIOUeHnI np60pa.
KoHTpoJIb I npOBepKa nepeI BKNIOUeHHeM
| Контуль / поверka | Порадок.De貨стваи |
| Убенистая В TOM, чTO: - В Emкостли Н неховястая Нскakки посторонные посты | Визуалыний контrolь с重点领域ю посторенье постмны, наима. Намаястая Ль в Emкostл лд. Емкостл лд. пrelдмны, наим. Кухонные посторы, салфетки и.T.п. Илл рожды, наим; Белриогды, Слары, Былдмны, Былдмны, Былдмны, Былдмны, Былдмны, Былдмны, Былдмны, Былдмны, Былдмны, Былдмны, Былдмны, Былдмны, Былдмны, Былдмны, Былдмны, Вылдмны, Вылдмны, Вылдмны, Вылдmны, Вылдmны, Вылдmны, Вылдmны, Вылдmны, Вылдmны, Вылдmны, Вылдmны, Вылдmны, Вылдmны, Вылдmны, Вылдmны, Вылдmны, Вылдmны, Вылдmны,, Вылдmны, Вылдmны, Вылдmны, Вылдmны, Вылдmны, Вылдmны, Вылдmны, Вылдmны, Вылдmны, Вылдmны, Вылдmны, Вылдmны, Вылдmны, Вылдmны, Bылдmны, Bылдmны, Bылдmны, Bылдmны, Bылдmны, Bылдmны, Bылдmны, Bылдmны, Bылдmны, Bылдmны, Bылдmны, Bылдmны, Bылдmны, Bылдmны, Bындмны, Bындmны, Bындmны, Bындmны, Bындmны, Bындmны, Bындmны, Bындmны, Bындmны, Bындmны, Bындmны, Bындmны, Bындmны, Bындmны, Bындmны, Bындmны Bындmны, Bындmны, Bындmны, Bындmны, Bындmны, Bындmны, Bындmны, Bындmны, Bындmны, Bындmны, Bындmны, Bындmны, Bындmны, Bындmны, Bпсгдмны, Bпсгдmны, Bпсгдmны, Bпсгдmны, Bпсгдmны, Bпсгдmны, Bпсгдmны, Bпсгдmны, Bпсгдmны, Bпсгдmны, Bпсгдmны, Bпсгдmны, Bпсгдmны, Bпсгдmны, Bбгдmны, Bбгдmны, Bбгдmны, Bбгдmны, Bбгдmны, Bбгдmны, Bбгдmны, Bбгдmны, Bбгдmны, Bбгдmны, Bбгдmны, Bбгдmны, Bбгдmны, Bбгдmны, Bбгd mны, Bбгd mны, Bбгd mны, Bбгd mны, Bбгd mны, Bбгd mны, Bбгd mны, Bбгd mны, Bбгd mны, Bбгd mны, Bбгd mны, Bбгd mны, Bбгd mны, Bбгd mны, Bбгd mны Bбгd mны, Bбгd mны, Bбгd mны, Bбгd mны, Bбгd mны, Bбгd mны, Bбгd mны, Bбгd mны, Bбгd mны, Bбгd mны, Bбгd mны, Bбгd mны, Bбгd mны, Bбгd mны, BbHd mны, BbHd mны, BbHd mны, BbHd mны, BbHd mны, BbHd mны, BbHd mны, BbHd mны, BbHd mны, BbHd mны, BbHd mны, BbHd mны, BbHd mны, BbHd mны, BbHd 3ВYKN |
5.2 BbOd B DeiCtBne n o6cIyXnBaHne
Ppnbop BKJIIOUaTb C yYeToM yKa3aHHbIX HNXe INHCTpyKcI, CO6JIIOJa HNXe ONIcaHNHyO OuepeiHOCTb:
- NpOxKnteIbHbI pe3yIbTat KOHTpOJa Ha npEaMeT NOIroTOBKn;
- NoloknteBhpie3yIbTaKoHTpOJa 3JeKtpOnnTaHna;
- PoiDcoEiHHeHne npIbopa K COOTBeTCTByIOUeP OoTeTke;
- NoloknteIbHbI pe3yIbTaT KOHTpOJa Ha npedMeT MOHTaKa;
- NonoKnteBbI pe3yNbTaT KOHTpOJa / npoBepKn nepeD BkN.;
- Полжnteьньп pe3yntaT KOHTpOЯ Ha npedMeT nCnpaBHOCTN BCEX npedoxpaHNTeMbIX npncnocobHeHnI.
- BpyuHyo nOmeCTnTb NIIeBbIe IpoDyKtBi B EMcKoCTb.
- Пидерхивая пибор Думя рукамь В пpeдусмOTpeHHbIXДЯ 3TORO MeCTax:
a. NOMECTnTb HacaIky npI6opa B eMkoCTb,
b. BBecTN npi6op B DeiCTBHe C NOMOuH HaxaTHN KHOKN BKN./BblKn. npiepKnBa ee do MOMeHTa 3aBepSeHn nepepa60TK nnueBix npoDyKTOB.

- KaK ToIbKO nepepa6aTbIBaEMbIe NIIeBbIe npOdyKTbI npNo6peTyT Tpe6yEmyIO KOHCnCTeHcNIO, BblKnIOChTb np6Op I NOJOKHTb erO Ha COOTBeTCTByIOUyIO pa6OuyIO NOBepxHOCTb.
- OnopoxHnTb emKocTb: npOdyKT cneDyET nepeJIHTb B COOTBeTcTByIOuIyIO nocdy, npndepxNBaemKocTb DByM pyKaM.

OCTOPOXHO!
HnkOrda He norgykaTb np6op B emKocTb c npOdyKTamn rny6ke, yem yka3bIbaet OTMeTKa norgyKeHna. HnkOrda He pa60TaTb c np6opom Ha xOJocTOM XOy.

BHIMAHNE!
PeryIpaHNo npOBepaTb coCToHne pe3nHOBoi npOKnIOHoxOM (pnc. cnpaba) n B cnyuae ee NOBpeXdEHHa Hn H3HOca 3aMeHHTb eHOBoi npOKnAdKoI.
Бezупецсocstониpe3HHOBО npOKlaKn npedOTbpaaet npOHKNOBeHne nepepa6aTbIBaembIX npodykTOB BHyTpB np6opa, npedOTbpaaJra Tem camblm noBpejdeHne np6opa.

Pe3nHOBa npOKlaJaKa

BHIMAHHE!
CneNyET NOMHHTb O TOM, YTO6bl HOX 6bl XopoOIO npNKpePJIeN K pINBOy MeaJKN C NOMOuBnTa 6e3 roNoBKn (pnc. cnpaba).

BnHT 6e3 roJIOBKn
Hox
| ПюбLEMа | ПричINA | Решения |
| Пюбор не работает: Нж He bрацается Или рекет Ненильно | •ОтсутстваET пITAнце. •Пюбор не подклочен К мосточни Кп.TАн�Я. •Кногka BКЛ./ВыIKЛ.Нецравна. | •Пюверпь и обес pineчны паячу заEkТрпитаня. •Пожкоединту ВИКу К розелу с лжков. •Сbewаные с рунков Сервисло осклужевanity. |
| Пюгразшени рабовы | •В peз条件下е сдшkom Ддпелов的新 рабовы/ пегерузки сравовл зашит�й ТермUCEЧК的新 ВыIKЮчateNB. •He удается onpe徴лпь римину. | •Пождаты, рoka рибор остынет и повторно начаты раду. •Сbewаные с рунков Сервисло осклужевanity. |
ПростаяИнструкция