Bravia KDL50WG663 - Téléviseur SONY - Notice d'utilisation et mode d'emploi gratuit
Retrouvez gratuitement la notice de l'appareil Bravia KDL50WG663 SONY au format PDF.
| Caractéristiques techniques | Téléviseur LED 50 pouces, résolution Full HD (1920 x 1080) |
|---|---|
| Technologie d'affichage | LED avec rétroéclairage Direct |
| Connectivité | 3 ports HDMI, 2 ports USB, Wi-Fi intégré, Ethernet |
| Son | Puissance de sortie de 20 W, technologie ClearAudio+ |
| Dimensions (sans pied) | 111,8 x 64,8 x 8,5 cm |
| Poids | Environ 13,5 kg |
| Utilisation | Idéal pour les films, les jeux vidéo et la diffusion en continu |
| Maintenance | Nettoyage de l'écran avec un chiffon doux, mise à jour du firmware régulière |
| Sécurité | Ne pas exposer à l'humidité, utiliser sur une surface stable |
| Informations générales | Compatible avec les supports VESA 200 x 200 mm |
FOIRE AUX QUESTIONS - Bravia KDL50WG663 SONY
Questions des utilisateurs sur Bravia KDL50WG663 SONY
0 question sur cet appareil. Repondez a celles que vous connaissez ou posez la votre.
Poser une nouvelle question sur cet appareil
Téléchargez la notice de votre Téléviseur au format PDF gratuitement ! Retrouvez votre notice Bravia KDL50WG663 - SONY et reprennez votre appareil électronique en main. Sur cette page sont publiés tous les documents nécessaires à l'utilisation de votre appareil Bravia KDL50WG663 de la marque SONY.
MODE D'EMPLOI Bravia KDL50WG663 SONY
Informations d'installation pour l'utilisation du support de fixation murale Sony (SU-WL450)
Modèles pris en charge : KDL-50WG6☐☐ / 43WG6☐☐
- Dans les noms de modulo réels, « □□ » indique des chiffres et/ou des caractères propres à chaque modulo.
A l'attention des clients
Pour des raisons de sécurité et de protection du produit, Sony recommende vivement de confier l'installation de votre téléviseur à des revendeurs ou installateurs agreés Sony. N'essayez pas de l'instructor vous-même.
A l'attention des installateurs et revendeurs Sony
Soyez particulièrement attention à la sécurité pendant l'installation, l'entretien périodique et l'examen du produit.
L'installation de ce produit exige un certain savoir-faire, notamment pour vérifier la résistance du mur qui devra soutenir le poids du téléviseur. Veillez à confier la fixation de ce produit au mur à des revendeurs ou installateurs agrésés Sony et portez une attention suffisante aux consignes de sécurité pendant l'installation. Sony ne saurait être tenue responsable de tout dommage ou de toute blessure découulant d'une mauvaise utilisation ou d'une installation incorrecte.
Pour la sécurité et une installation correcte, suivez le Mode d'emploi du support de fixation murale, le Guide d'installation du téléviseur et les consignes de ce manuel.
Sécurité
Nosyouremercionsd'avoirfait l'acquisitiondeceproduit.
À l'attention des clients
L'installation de ce produit exige un certain savoir-faire. Veillez a confier l'installation à des revendeurs Sony ou à des installateurs agreés et portez une attention particulière aux consignes de sécurité pendant l'installation. Sony ne saurait être tenue responsable de tout dommage ou de toute blessure découulant d'une mauvaise utilisation ou d'une installation incorrecte, ou encore de l'installation d'un produit autre que celui spécifique. Vos droits légaux (eventuels) ne sont pas affectés.
À l'attention des détaillants Sony
L'installation de ce produit exige un certain savoir-faire. Lisez ce mode d'emploi attentivement afin de proceeder à l'installation en toute sécurité. Sony ne saurait être tenue responsable de tout dommage ou de toute blessure découulant d'une mauvaise utilisation ou d'une installation incorrecte. Une fois l'installation terminée, veuillez remetre ce manuel d'installation au client.
Ce mode d'emploi indique comment manipuler le produit correctement et contient des précautions essentielles à prendre pour éviter tout accident. Lisez attentionivement ce mode d'emploi et voirlez à utiliser le produit correctement. Conservez ce mode d'emploi pour toute.Reference ultérieure.
Les produits Sony sont concus pour vous offrir le maximum de sécurité. Toutefois, si les produits sont utilisés de façon incorrecte, ils peuvent entraîner des blessures graves en provoquant un incendie ou l'électrocution, ou encore la chute de l'appareil hors de son support. Veillez à observer les consignes de sécurité préconises pour éviter de tels accidents.
ATTENTION
Produits spécifiés
Ce support de fixation murale est concu pour etre utilise avec les téléviseurs specifiés. Pour plus d'informations sur les téléviseurs, reportez-vous a leur Guide de reference pour vous assurer que vous pouvez bien utiliser le support de fixation murale.
À l'attention des clients
AVERTISSEMENT
Le non-respect des consignes suivantes peut etre fatal ou entrainer des blessures graves en provoquant un incendie, I'electrocution ou la chute de I'appareil.
Veillez à confier l'installation à du personnel/agréé en tenant les petits enfants à l'écart pendant l'installation.
Si le support de fixation murale ou le télévisuer n'est pas installé correctement, les accidents suivants peuvent se produit. Veilaz à confier l'installation à des installateurs agreeés.
Le téléviseur peut tomber et cause des blessures graves comme des hématomes ou des fractures.
- Si le mur sur lequel le support de fixation murale est fixé est instable, inégal ou non perpendiculaire au sol, l'appareil risque de tomber et de provoquer des blessures ou des dommages matériels. Le mur doit pouvoir supporter un poids équivalent à au moins quatre fois celui du téléviseur. (Pour connaître le poids du téléviseur, reportez-vous à son Guide de referencia.)
Si I'st installation du support de fixation murale n'est pas assez solide, I'appareil risque de totember et de provoquer des blessures ou des dommages matériels.
Veillez à confier le déplacement ou le demontage du téléviseur à des installateurs agreés.
Si des personnes autres que des installateurs agreés transportent ou démontent le téléviseur, celui-ci peut tomber et provoquer des blessures ou des dommages matériels. Deux personnes au moins (trois personnes ou plus pour les téléviseurs de 75 pouces ou plus) doivent porter ou démonter le téléviseur.
Ne retirez pas les vis, etc. apres l'installation du téléviseur.
Dans ce cas, le téléviseur pourrait tomber et provoquer des blessures ou des dommages matériels.
Ne modifies pas les pieces du support de fixation murale.
Dans ce cas, le support de fixation murale pourrait tomber et provoquer des blessures ou des dommages matériels.
N'installezaucunappareil autrequeceuxspecifiés.
Ce support de fixation murale est concu pour ettre utilisé avec les produits spécifiés unquivalent. Si vous installez un apparéil autre que ceux qui sont spécifiés, itourrait tomber ou se briser et provoquer des blessures ou des dommages matériels.
N'installez aucune charge autre que le téléviseur sur le support de fixation murale.
Ne secouez pas le télévisueur vers la gauche/ droite, le haut/bas.
Dans ce cas, le téléviseur pourrait tomber et provoquer des blessures ou des dommages matériels.
Ne vous appuyez pas sur le téléviseur et ne vous y suspendez pas.
Ne vous appuyez pas sur le téléviseur et ne vous y suspendez pas, car il risque de tomber et de cause des blessures graves.
ATTENTION
Le non-respect des consignes suivantes peut entraîner des blessures ou des dommages matériels.
N'appliquez aucune force excessive sur le produit au cours de l'entretien ou du nettoyage de I'appareil.
N'exerce aucune pression excessive sur le dessus du télévisueur. Dans ce cas, le télévisueur pourrait tomber et provoquer des blessures ou des dommages matériels.
Précautions
- Si vous utilisez le téléviseur fixe au support de fixation murale pendant une longue période, le mur situe derrière le téléviseur ou au-dessus de celui-ci peut se decolorer, ou encore le papier peint peut se decoller, selon le matériel du mur.
- Les trous des vis restent apparents si vous démontez le support de fixation murale après son installation.
- N'utilisez pas le support de fixation murale dans un endroit soumis à des vibrations mécaniques.
Installation du support de fixation murale
À l'attention des détaillants Sony
AVERTISSEMENT
Les instructions suivantes concernent les détaillants Sony uniquement. Lisez attentivement les consignes de sécurité ci-dessus et accordez une attention particulière à la sécurité lors de l'installation, de l'entretien et de la vérification de ce produit.
N'installez pas le support de fixation murale sur une surface ou lescoins ou les cotes du téléviseur dépasseraient.
N'installez pas le support de fixation murale sur une surface verticale telle qu'une colonne, ou lescoins ou les cotes du téléviseur dépasseraient de la surface murale. Si une personne ou un objet venait à heurter le coin ou les cotes du téléviseur, ceci risquerait de provoquer des blessures ou des dommages matériels.

N'installez pas le téléviseur sur ou sous un climatiseur.
L'exposition prolongée du télévisuer à des fuites d'eau ou à des courants d'air provenant du climatiseur pourrait provoquer un incendie, l'électrocution ou des problèmes de fonctionnement du télévisuer.
Veillez à installer le support de fixation murale solidement en suivant les instructions de ce mode d'emploi.
S'il manque des vis ou si elles sont desserrées, le support de fixation murale pourrait tomber et provoquer des blessures ou des dommages matériels. Veillez à utiliser les vis appropriées selon le matériel du mur et installez le téléviseur solidement en utilisant au moins quatre vis de 8 mm de diamètre (ou équivalentes).
Veiliez à utiliser correctement les vis et les pieces de fixation fournies conformément aux instructions du mode d'emploi. Si vous utilisez d'autres éléments de fixation, le téléviseur pourrait tomber et cause des blessures corporelles ou être endommagé.
Veiliez à monter le support correctement en suivant la procédure décrite dans ce mode d'emploi.
S'il manque des vis ou si elles sont desserrées, le téléviseur pourrait tomber et causer des blessures corporelles ou être endommagé.
Veillez à serrer les vis solididement dans la position indiquée.
Si vous oubliez, le téléviseur pourrait tomber et causer des blessures corporelles ou être endommagé.
Veillez à ne pas soumettre le téléviseur à des chocs pendant l'installation.
Si le téléviseur subit des chocs, il pourrait tomber ou se briser. Ceci pourrait cause des blessures.
Veillez à installer le téléviseur sur un mur parfaitement vertical et plat.
Dans le cas contraire, le téléviseur pourrait tomber et provoquer des blessures.
Une fois le téléviseur installé correctement, fixez solidement les câbles.
Si des personnes ou des objets s'accrochant aux cables,eci risque de provoquer des blessures ou d'endommager le téléviseur.
Veillez à ce que le cordon d'alimentation CA ou le cable de raccordement ne soit pas coincide ni écrasé.
Si le cordon d'alimentation CA ou le cable de raccordement est coincidence entre I'appareil et le mur, ou s'il est pié ou tordu, les conducteurs internes peuvent être exposés et provoquer un court-circuit ou une coupure électrique. Un incendie ou l'électrocution pourrait en résultat.

Les vis nécessaires à l'installation du support de fixation murale au mur ne sont pas fournies.
Utilisez les vis appropriées selon le matériel et la structure du mur lors du montage du support de fixation murale.
Installation du téléviseur au mur
La procedure d'installation varie selon vous téléviseur.
Utilisez le support de fixation murale SU-WL450 pour installer le téléviseur sur le mur.
Remarque
- Si le support de table est fixé au téléviseur, retirez-le au préalable. Consultez le Guide d'installation et suivez les étapes dans l'ordre inverse pour démonter le support de table.
- Posez le télévisuer, écran vers le bas, sur une surface horizontalte stable recouverte d'un linge épais et doux lorsque vous installez les pieces de fixation du support de fixation murale ou lorsque vous détachez le support de table du télévisuer afin d'eviter d'endommager la surface de l'écran LCD.
- Les vis que vous retirez doivent être rangees en lieu sur, hors de portée des enfants.
Préparation de l'installation
- Gardez le Guide de referencia du téléviseur et le Guide d'installation à portée de main avant l'installation.
- Avant de procéder au montage, vérifie que vous disposez d'un tournevis cruciforme adapté aux vis.
- Vérifiez la position d'installation de votre téléviseur.
- Préparez au moins quatre vis de 8 mm de diamètre et une vis de 5 mm ou équivalente (non fournies). Choisissez des vis adaptées au matériel du mur.
Vérification des pieces
Fournies avec le SU-WL450
- Vérifiez que vous disposez de toutes les pièces.
| A Base (20) (1) B Pou Lie (2) | |
| © PSW 6x20 (4) © PSW 4x20 avec manchon (2) | |
| E Entreose (20) (2) E Courroie (1) | |
| G Manchon (20) (M4) (2) | H PSW 4x20 (2) |
| I Adaptateur de base (2) | J PSW 4x10 (8) |
| K Entreose (60) (2) L PSW 6x50 (2) | |
| M Manchon (M4) (2) M PSW 4x50 (2) | |
Choix de l'emplacement d'installation
1 Choisissez l'emplacement d'installation.
Assurez-vous que le mur dispose d'un espace suffisant pour le téléviseur et qu'il peut supporter un poids équivalent à au moins quatre fois celui du téléviseur.
Reportez-vous au tableau suivant lorsque vous installez le téléviseur au mur. Pour connaître le poids du téléviseur, reportez-vous à son Guide de referencia.

Unite: mm
| Nom du modèle | Dimensions d'affichage | Dimension du centre écran | Longueur de montage | |||
| a | b | c | d | e | ||
| Montage standard | Montage fin | |||||
| KDL-50WG6□□ | 1130 | 660 | 21 | 358 | 130 | 88 |
| KDL-43WG6□□ | 974 | 572 | 54 | 346 | 130 | 88 |
Remarque
- Les chiffres repris dans le tableau peuvent varier légèrement selon l'installation.
- QuandVote teteviseur est installe au mur, sa partie superieure est legement inclinee vers I'avant.
Prévoyez un espace suffisant entre le téléviseur et le plafond ainsi que les parties saillantes du mur, tel qu'indiqué ci-dessous.
Unité: mm

-
Pour assurer une bonne ventilation et éviter l'accumulation de poussière et de saleté :
-
Ne posez pas le télévisuer à plat et ne l'installé pas têt en bas, à l'envers ou de biais.
- Ne place pas le téléviseur sur une étagère, un tapis, un lit ou dans une armoire.
- Ne recouvre pas le téléviseur avec du tissu, notamment des tentures, ou des objets tels qu'un journal, etc.
N'installez pas le téléviseur de la maniere illustre ci-dessous.
La circulation d'air est bloquée.

Remarque
- Si vous envisagez d'acheminer les cables à travers la paroi murale, percez un trou dans le mur et insérez-y les cables avant de proceder à l'installation. Pour ne pas pincer les cables, préparez un trou dans le mur, en dehors du périmètre de la base (20) A, Adaptateur de base ① et de l'entretoise (20) E, de l'entretoise (60) K.
2 Sélectionnez le style de fixation murale. Il est possible de selectionner la distance entre l'arrière du téléviseur et le mur comme indiqué ci-dessous.
2-a Montage standard
2-b Montage fin
Reportez-vous au tableau de I'etape 1.
AVERTISSEMENT
Lorsque 2-b est selectionné, l'accès à la borne arrrière est limite.

3 Reportez-vous au tableau ci-dessous pour connaître l'emplacement de montage de l'adaptateur de base. Lors de la selection de 2-b, omettez cette etape.
| Nom du modele Emplacements des crochets | |
| KDL-50WG6□□ | C |
| KDL-43WG6□□ | |

Montez l'adaptateur de base ① avec les vis (PSW 4x10) ② sur la base (20) ④ lors de la selection de 2-a.

4 Dete miniez les positions des vis pour I'installation de la base (20) A.
Reportez-vous aux specifications de la page 12.
Lors de la selection de 2-a, utilisez les positions des orifices de I'adaptateur de base ①
AVERTISSEMENT
Leur sur lequel yous installez te taveliseur doit pouvoir supporter un poids équivalent a au moins quatre fois celui du taveliseur (Pour connaitre le poids du taveliseur, reportez-vous a son Guide de reference.).
-Deterninez la solidite du mur sur lequel vous allez installer le téléviseur. Au besoin, renforcez suffisamment le mur.
Installation de la base au mur
Utilisez au moins quatre vis de 8 mm de diamètre ou équivalentes (non fournies).
- Insérez quatre vis dans les orifices de l'adaptateur de base ① avec la base (20) (2-a seule).
- Installez la base (20) © au mur à l'horizontal.

Montage standard (2-a)

Montage fin (2-b)
Préparation à l'installation du téléviseur
Reportez-vous au Guide d'installation pour plus de détails.
1 Detachez le support de table du téléviseur.

Remarque
Veillez a placer le téléviseur a un endroit recouvert d'un linge doux afin de ne pas risquer de griffer sa surface.
Lorsque you installez le support de fixation murale, n'utilise pas les vis retirees du support de table.
- Une fois retirees, le support de table et ses vis doivent etre ranges en lieu sur, hors de la portee des enfants. Vous en aurez besoin si vous decidez un jour d'utiliser a nouveau le téléviseur posé sur une table. Le support de table ne peut pas etre achete séparation.
AVERTISSEMENT
Assurez-vous que le téléviseur est en position verticale avant de lemettre sous tension. Le téléviseur ne doit pas etre mis sous tension lorsque sa dalle LCD se trouve face vers le bas, sinon l'imag n'est pas uniforme.
- Si la surface du téléviseur subit une pression ou un choc, son écran risque de se briser ou d'être endommagé.
- Posez l'écran, face vers le bas, sur une surface stable et horizontale en laissant depasser le support de table au-delà du bord de la surface. En effet, si vous posez la surface du téléviseur et la base du support de table sur une même surface horizontale, vous creez des conditions de travail instables et vous risquez d'endommager le téléviseur.
Lorsque you detachez le support de table du téléviseur, saisissez fermement le support de table.
2 Installez les pieces de fixation du support de fixation murale. Vérifiez les pieces de fixation en vous reportant à la section « Fournies avec le SU-WL450 » sous « Vérification des pieces » à la page 5.
Remarque
Fixez convenablement les pieces de fixation a l'aide des vis.
- Si vous utilisez un tournevis électrique, reglez son couple sur 1,5 N·m {15 kgf·cm} environ.
Veiliez a ranger en lieu sur les pieces utilisées ou excédantaires en vue d'une utilisation future.
Conserve ce manuel pour toute reférence ultérieure.

Montage standard (2-a)
Montage fin (2-b)
Remarque
- Ce type de montage ne permet pas d'utiliser certaines bornes situées à l'arrière du téléviseur.

3 Raccordez le(s) cable(s) requis au téléviseur.
Veillez à raccarder les cables avant d'insteller le téléviseur au mur. Vous ne pourrez plus raccarder les cables une fois le téléviseur installé. Reportez-vous au Guide de reference fourni avec le téléviseur.
Remarque
- Confiez l'acheminement du cable dans le mur à un installateur/agree.
- Avant l'installation au mur, regroupez les cables de raccordement afin d'éviter de les piétiner.
Installation du téléviseur au mur
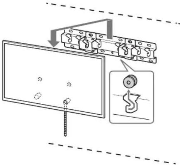
1 Installez le téléviseur sur la base ou l'adaptateur de base.
- Pour connaître l'emplacement des pouilies (B) auxquelles accrocher la base ou l'adaptateur de base, reportez-vous au tableau de l'etape 3 dans « Choix de l'emplacement d'installation » à la page 7.
- Faites doucement coulisser le téléviseur vers le bas et accrochez les poulies fixées à l'arrière du téléviseur à la base ou à l'adaptateur de base, en veillant à vérifier la forme des trous.
- Àpres avoir installé le téléviseur au mur, vérifie que les poulies ⑧ sont fermement enclenchées dans la base ou l'adaptateur de base.
- Retirez les deux mains lentement pour vous assurer que le téléviseur ne tombe pas.

Montage standard (2-a)
Montage fin (2-b)

AVERTISSEMENT
- Deux personnes au moins (trois personnes ou plus pour les téléviseurs de 75 pouces ou plus) doivent soutenir le téléviseur pour le déplacer.

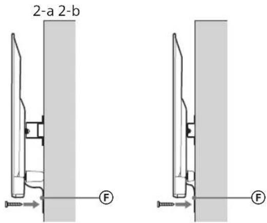
2 Maintien en place du dessous du téléviseur.
Supprimez le jeu de la courroie F et attachez-la solidement au mur.

Utilisez une vis de 5mm de diametre ou equivalente (non fournie).
Remarque
- Essayez de tirer légarement le dessous du télévisueur vers vous pour vous assurer qu'il n'avance pas. S'il a du mouvement, cela signifie qu'il n'est pas fixé correctement et qu'il faut à nouveau fixer solidement la courroie (F).
Vérification de l'achèvement de l'installation
Vérifiez les points suivants.
- Les poulies (B) sont solidement accrochées à la base ou à l'adaptateur de base.
- Le cordon et le cable ne sont pas tordus ou coincés.
La courroie F est bien tendue.
AVERTISSEMENT
- Si le cordon d'alimentation CA ou autre n'est pas correctement installé, un court-circuit pourrait survenir et provoquer un incendie ou l'électrocution. Pour cette sécurité, vérifie que l'installation est effectuee complètement.
Informations complémentaires
Lors du retrait du téléviseur, inversez la procedure d'installation décrite precedement.

AVERTISSEMENT
- Deux personnes au moins (trois personnes ou plus pour les téléviseurs de 75 pouces ou plus) doivent soutenir le téléviseur pour le retarder.
Specifications

La conception et les specifications sont sujettes à modification sans préavis.
a:400
b : 300
c : 200
d : 100
e:80
f:480
g : 100
h1 : 20 (2-b variants)
h2:60(2-a variants)
Svars (pamatne): (aptuveni) [kg]
0,8
Konstrukcija un specifikacijas var tikt mainitas bez iepriekseja bridinajuma.
Tvirtinimo informacija norint naudoti „Sony" prie sienos tvirtinamă laikiklj (SU-WL450)
Palaikomi modeliai: KDL-50WG6 ^ / 43WG6 ^
Notice Facile