Bravia KDL50WG663 - TV SONY - Gratis bruksanvisning och manual
Hitta enhetens manual gratis Bravia KDL50WG663 SONY i PDF-format.
Questions des utilisateurs sur Bravia KDL50WG663 SONY
0 question sur cet appareil. Repondez a celles que vous connaissez ou posez la votre.
Poser une nouvelle question sur cet appareil
Ladda ner instruktionerna för din TV i PDF-format gratis! Hitta din manual Bravia KDL50WG663 - SONY och ta tillbaka ditt elektroniska enhet i hand. På denna sida publiceras alla dokument som behövs för att använda din enhet. Bravia KDL50WG663 av märket SONY.
BRUKSANVISNING Bravia KDL50WG663 SONY
Installationsinformation for användning av Sony Väggfaste (SU-WL450)
Modeller som stöds: KDL-50WG6 ^ / 43WG6 ^
^* I aktuella modellnamn anger "□□" siffr och/eller tecken som ar specifika for varje modell.
Till kunder
För att skyddaprodukten och av sakerhetsskäl rekommenderar Sony starkt att TV:n installeras av Sony-Äterförsäljare eller licensierade installeratorer. Försök inte att installerera den själv.
Till Sony-Äterförsäljare och installeratorer
Agna full uppmärksamhet Åt sakerheten under installation, periodiskt unterhäll och undersökning avenna produit.
Tillracklig expertis kravs for att installerera denna produit, speicielt for att faststalla vaggens styrka när det gäller att hälla upp TV:ns vikt. Anlita alltid en Sony-Äterförsäljare erler en licensierad installerator och ägna vederbörlig uppmärksamhet at sakerhet under installationen. Sony ar inte ansvarsskyldiga for materiella skador erler persorskador som orskats av felaktig hantering erller felaktig installation.
För sakerhet och riktig installation, följ användarinstruktionerna für vaggfässtet, TV:ns startguide och anvisingarna ienna manual.
Om sakerhet
Tack for att du valt denna produit.
Till kunder
Installationen av denna produkt kraver att du har tillrackliga kunskaper. Se till att anlita en Sony-aterforsaljare erer en behorig montor for att utforna installationen och var särskilt noggrann med sakerheten under installationen. Sony ar inte ansvarigt for eventuella person-ller materiella skador som oraksats av felaktig hantering erer felaktig installation, ell er av att annat an den specificeradeprodukten installerats. Dina eventuella lagenliga rattigheter paverkas inte.
För Sony-Äterförsäljare
Installationen avennaprodukt kraver att du har tillrackliga kunskaper.For att du skunna gora den har installationen saker maste du ta del av informationen i den har bruksanvisingen.Sony kan inte hallas ansvarigt for eventuella skador erler personskador som orsakats av felaktig anvandning ell feraktig installation.Vanligen ge den har bruksanvisingen till kunden after utford installation.
I den har bra克斯anvisingen finns instruktioner for hur Produkten anvandsamt information om sadant som du borkannà till for att undvika olyckor. Las den har guiden noga och använd produit enligt instruktionerna. Behall den har bra克斯anvisingen for framtida bruk.
Produkter fran Sony ar utformade med tanke
på sakerhet. Om produkterna emellertid
anvands felaktigt kan det leda till allvarlga
personskador till foljd av brand, elstotar erler
av att Produkten väl till erfallit ned.
Färebygg sädana olyckor genom att inte
asidosätta sakerheten.
SE UPP
Angivnaprodukter
Detta vaggfaste ar tillverkat for att anvandas tillsammans med passande TV-apparater. Se respektive referensguide for varje TV-apparat for att se om detta vaggfeste kan anvandas.
Till kunder
WARNING
Om foljande sakerhetsfreskrifter inte fols kan det leda till allvarlga personskador aller dodsfall som foljd av brand, elektriska stotar, attprodukten valter aller faler ner.
Överlåt installationen till behörig personal och set till att små barn inte befindner sig i narheten njr installationen utförs.
Om vaggfestet aller TV:n inte installereras pa ratt satt kan foljande olyckor ske. Se till att installationen utfors av behörig personal.
TV:n kan falla ner och orsaka allvarliga skador som skripsar erler benbrott.
- Om väggen dar väggfastet monteras inte ar stabil, jämn erller lodrät mot golvet, kan enheten lossna och orsaka skador pa person och/eller egendom. Väggen shall vara stark nog att klara en vikt pa minst fya gänger TV:ns vikt. (Mer information om vikten finns i referensguiden till TV:n.)
- Om inte installationen av vaggfistet sitter stabilt kan,enheten lossna och orsaka skador pa person och/eller egendom.
Överlåt forflyttning eller nedmontering av TV:n till behörig person.
Om obehöriga personer transporterer erller monterar ner TV:n kan den falla och orsaka allvarlga person-ller egendomsskador.Var noga med att tv'ell flera personerTre eller fler personer for 75 tum och over TV-apparater) bar ell er de-monterar TV: n.
Ta inte ur nagra skruvar etc. after att TV:n monterats.
Det kan leda till att TV:n faller ner och orsakar allvarliga person-ller egendomsskkador.
Modificera inte vaggfastets oika delar.
Da kan vaggfstet lossna och orsaka skador.
papersonoch/elleregendom.
Montera ingen annan utrustning an den specificeradeprodukten.
Detta vaggfeste ar tillverkat enbart for
anvandning tillsammans med angiven
produkt. Om du anvander det for montering
av annan utrustning kan det lossna eller gå
sonder och orsaka skador på person eller
egendom.
Utsatt inte vaggfastet for annan belastning an den fran TV:n. Skaka inte TV:n at vänster/höger, uppät/ nedat.
Det kan leda till att TV:n faller ner och orsakar allvarliga person-ller egendomsskador.
Luta dig inte mot aller hang på TV:n.
Luta dig inte mot aller hang pa TV:n
eftersom den kan falla ner pa dig och orsaka
allvarlig skada.
SE UPP
Om du inte afterfoljer foljande sakerhetsforeskrifter finns det risk for personskador erller skador pa egendom.
Hantera encheten forsiktig\ när du rengör den ellr utfor unterhäll.
Tyng inte onodigt mycket pa TV:ns ovensida. Det kan leda till att TV:n faller ner och orsakar allvarliga person-ller egendomsskador.
- Om du anvander TV:n monterad pa vaggfastet under en langre tid, finns det risk att vaggen bakom ell er ovarian for TV:n missfargas aller att tapeten lossnar, beroende pa vaggmaterialie.
- Om du tar bort vaggfostet fran vaggen after installationen finns skruhalen kvar i vaggen.
- Använd inte vaggfäsitet på platser som ar utsatta for mekanisk vibration.
Installeravaggfustet
Till Sony- aterforsäljare
WARNING
Foljande instruktioner galler bara for Sony-aterforsalare. LAs ovanstaende sakerhetsforeskrifter noga och slapp aldrig tanken pa sakerheten, vare sig under installation, underhall er kontroll av den harprodukten.
Installera inte vaggfastet pa en yta dar TV:ns horn ell er sidor skjuter ut fran vaggen.
Installera inte vaggfastet pa en yta, till exemplen pelare, dar TV:ns horn ell sidor skjuter ut fran vagen. Om en person erlerett foremal rakar sl emot TV:ns utskjutande delar kan det leda till allvarlig person-ller egendomsskada.

Installera inte TV:n over uller under en luftkonditioneringsanlaggning.
Om TV:n utsats for vattenlackge erler luftstrommar fran en luftkonditioneringsanlagning under en langre tic dan det leda till brand, elektriska stotar ell k Funktionstörning hos TV:n.
Följ anvisingarna i den har bruksanvisingen noga sa att monteringen av vaggfastet uppfyller sakerhetskraven.
Omnagon av skruvarna sitter lost ell er lossnar kan vaggfastet lossna och orsaka skador pa person ell eregendom.Sell att du anvander ratt skuv for vaggmaterial et och skruva fast enheten ordentligt med minst fya skuvar pa 8 mm i diameter (eller motsvarande).

Följ anvisningarna i den härbruksanvisningen sa att de medfoljande skruvarna och monteringsdetaljerna blir anvanda pa ratt satt. Om du anvander ersättningsdetaljer kan TV:n falla ner och orsaka personskador erler skador pa TV:n.
Se till att fästet monteras ihop korrekt enligt instruktionerna i bruksanvisningen.
Om nàgon av skruvarna sitter lõst ell er lossnat helt, kan TV:n lossna och orsaka personskador erer skador pa TV:n.
Fäst och dra Åt skruvarna på den plats)där de ar avsedda att sitta.
I annat fall kan TV:n falla ner och orsaka個人skador eller skador pa TV:n.
Utsatt inte TV:n for stotar vid installationen.
Om TV:n utsats for stotar kan den falla ner.
eller gao sonder.Detta kan orsaka
persorskador.
Installera TV:n pa en vagg som ar bade lodrat och slat.
Annars kan TV:n falla ner och orsaka個人personskador.
När TV:n installererats på rätt satt fester du kablarna ordentlich.
Om personer eller foremål trasslar in sig i kablarna kan det orsaka personskador erler skador på TV:n.
Se till att inte nätkabeln erller anslutningskabelnkommen i klam.
Om natakeln erler anslutningskabeln klams mellan encheten och vaggen, ell er bojs och vrids med vald, kan de inre ledarna i kablarna frilaggas, vilket kan leda till kortslutning eller stromavbrott. Det kan i sin tur leda till brand ell erlelektrisk stot.

Skruvarna som behövs for att skruva fast vaggfastet på väggen medfoljer ej.
Skruva fast vaggfastet med skruvar som ar avpassade after vaggmaterial et och vaggens struktur.
- Om bordsstativet ar monterat på TV:n, ta bort bordsstativet i forvag. Se startguiden och folj stegen i omvänd ordning for att ta loss bordsstativet.
- Placera TV:n med dess skarm vänd nedat pa en jämn och stabil yta täckt med tjockt och mjukt tyg, nar du fester monteringsdetaljerna for vaggfastet och nar du tar bort bordssstativet fran TV:n for att forhindra att LCD-skarmens yta skadas.
- Var noga med att forvara de borttagna skruvarna pa en saker plats ochhall dem borta fran barn.
Förbereda installationen
- Ha TV:ns referensguide och startguide till hands fore installation.
- Innan du pâborjar monteringen bór du se till att ha en Phillips-skruvmejsel som passar skruvarna.
- Kontrollera din TV:s monteringsplats.
- Förbered minst fyra skruvar med en diameter på 8 mm och en skruv med en diameter på 5 mm eller liknande (medfoljer ej). Valj skruvar som ar lämpiga for vaggmaterialialet.
Kontrollera delarna
Medfoljer SU-WL450
- Kontrollera sa att alla delar medfoljer.
| A Bas (20) (1) B Block (2) | |
| ◎ PSW 6x20 (4)◎ P$W 4 x 20 med bussing (2) | |
| E Distans (20) (2) F | Rem (1) |
| ◎ Bussing (20) (M4) (2) | ◎ PSW 4x20 (2) |
| ① Basadapter (2) ② PSW 4x10 (8) | |
| ◎ Distans (60) (2) ⊟ | PSW 6x50 (2) |
| ◎ Bussing (M4) (2) ⑨ PSW 4x50 (2) | |
Välja installationsplats
1 Valj installationsplats.
Kontrollera att väggen ar stor nog for TV:n och att den ar stark nog for en vikt som ar fyra ganger TV:ns vikt.
Se foljande tabell betraffande att installerera TV:n pa vagggen. Se TV:ns referensguide avseende TV:ns vikt.

Enhet: mm
| Modellnamn | Bildskärmsmätt | Avständ till skärmens mittpunkt | Monteringsavstand | |||
| a | b | c | d | e | ||
| Standard- montering | Väggnära montering | |||||
| KDL-50WG6□□ | 1130 | 660 | 21358 | 13088 | ||
| KDL-43WG6□□ | 974 | 572 | 54346 | 13088 | ||
Obs!
Vardena i tabellen kan variera en aning beroende pa installationen.
- När TV:n monteras på vöggen lutar TV:ns övre sida nagot framåt.
Se till att det finns etttillrackigt stort mellanrum mellan TV:n och taket och utskjutande delar av vaggen enligt nedan.
Enhet: mm

- For att sakerstalla lamplig ventilation och forhindra ansamling av smuts och damm:
Lagg inte TV-apparaten ner, och montera den inte upp och ned, bak och fram, eller med en kortsida uppat.
- Placerainte TV-apparaten pa en hylla, matta, sang ell er i ett skap.
Tack inte TV-apparaten med tyg, t.ex. gardiner, eller annat material som tidningar etc.
- InstallerainteTV-apparatensoSomvisanedan.
Luften kan inte cirkulera fritt.

Obs!
- Om du avser att dra kablarna i väggen ska ett hal for detta borras i väggen innan installationen pâborjas. Förbered ett hal i väggen utanfor basen (20) A, basadapter ① och distansen (20) E, distansen (60) K for att forhindra att kablarna klams.
2 Valj typ av vaggmontering. Avstandet fran TV:ns baksida till vaggen valjs enligt anvisningarna nedan.
2-a Standardmontering 2-b Vaggnara montering Se tabellen i steg 1.
WARNING
När 2-b valjs ar atkomst till uttagen pa baksidan begransad.

3 Se tabellen nedan for information om monteringsplats for bottenadaptern. Om 2-b valjs kan du hoppa over detta steg.
| Modellnamn Hakens placering | |
| KDL-50WG6□□ | c |
| KDL-43WG6□□ | |

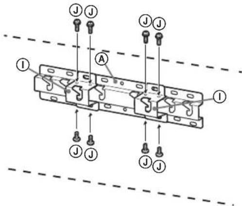
Montera basadapter ① med skruv (PSW 4x10) i bas (20) A纳税2-a valjs.

4 Avgor var skruvarna ske sitta vid montering av basen (20) A.
Se specificationserna på sidan 12.
När du valjer 2-a skå halpositionerna für basadapter ① användas.
WARNING
Den vagg som TV:n ska monteras pa maste vara stark nog att bara en vikt pa minst fyra ganger TV:ns vikt (Se din TV:s referensguide for information om dess vikt.).
- Försakra dig om att vöggen dar TV:n skall monteras ar tillräckligt stark. Förstärk vöggen ordentlich om sá behövs.
Montera basen på väggen
Forbered minst fyra skruvar med en diameter pa 8 mm aller liknande (medfoljer ej).
Satt fyra skruvar i halen for basadapter 1 med bas (20) A (endast 2-a).
Fast basen (20) A horisontellt pa vaggen.

Standardmontering (2-a)

Väggnära montering (2-b)
- Se till att placera TV pa den plats dar du lagt en mjuk duk for att forhindra att skarmytan skadas.
Nar du monterar vaggfstet sca du inte anvanda deskruvar som togs bort fran bordstativet. - Se till att forvara det borttagna bordssstativet och dess skruvar pa en saker plats, dar de ar oatkomliga for barn. Du behover dem om du vill stalla TV:n pa ett bord i framtiden. Det gar inte att kopa bordssstativet separat.
WARNING
- Kontrolera att TV:n ár i vertikalt lage innan du startar den. TV-apparaten fár inte startas med LCD-panelen vänd nedat for att undvika piämn bilduniformitet
- Om TV:ns yta utsats for tryck ell stotar kan TV:n gä sönder ell er skadas
- Placera TV:n med skärmen nedat på en stabil och plan yta med bordsstativet hangande over kanten pa ytan. Om TV:n placeras med skärmen nedat med bordsstativets bas på samma plana yta blir arbetsforhällandet instabilit och detta kan skada TV:n
Nar du tar loss bordssstativet fran TV:n ska du halla stadijt i bordssstativet.
2 Fäst monteringsdetaljerna für vaggfastet. Kontrollera monteringsdetaljerna genom att hanvisa till "Medfoljer SU-WL450" i "Kontrolera delarna" på sidan 5.
Obs!
Fast monteringsdetaljerna ordentligt med skruvar.
- Om du anvander en elektrisk skruvdragarecka du stalla in vridmomentet pa cirka 1,5 N·m [15 kgf·cm].
- Glöm inte att spara använda eller oanvända delar pa en saker plats for framtida använding. Sparaenna braksanvisning for framtida använding.

Standardmontering (2-a)
Väggnara montering (2-b)
Obs!
- Vissa av terminalerna på baksidan av TV:n kan inte anvandas vid detta monteringssatt.


3 Anslut nödvändiga kablar till TV:n.
Se till sa att du ansluter kablarna innan du monterar TV:n pa vaggen.Det gar inte att ansluta kablarna narr TV:n ar monterad. Se referensguiden som foljde med TV:n.
Obs!
Anlita en behörig montör für att utföra kabeldragningen i vägen.
- Samla ihop anslutningskablarna for att undvika att du trampar pa dem innan vaggmontering sker.
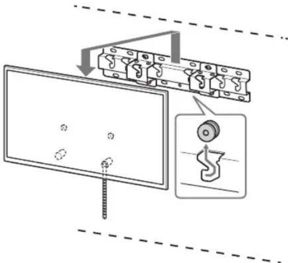
Information om var blocken (ska hänga paa basen eller basadaptern finns i tabellen under steg 3 i avsnittet Valja installationsplats" pa sidan 7.
Forsiktigt Iat TV:n glida ner och hang block ⑧ fasta till baksidan pa TV:n till basen ell er basadaptern, och tilse att formen pa halen bekraftas.
När TV:n har monterats på väggen skam man kontrollera att blocken (B) ar ordentligt fasta i basen eller basadaptern.
- Frigör bada händerna sakta für att sakerställa att TV:n inte faller ner.

Standardmontering (2-a)
Väggnärar montering (2-b)

WARNING
- Var noga med att två eller flera personer (tre eller fler personer for 75 tum och over TV-apparater) häller TV:n nar den bärs.

2 Forhindra att TV:ns nedre del flyttar sig.
- Spann at remmen (F) och fasp den ordentligt i vagggen.


- Använd en skruv på 5 mm i diameter aller liknande (medfoljer ej).
Obs!
- Forsok dra TV:ns nedre del mot dig for att se till att den inte rör sig. Om TV:n rör sig sitter den inte fast som den ska och remmen f maste dras at ytterligare.
Kontrollera att installationen har slutförs
- Att blocken (B) hänger ordentlich på basen eller basadaptern.
- Sladden och kabeln inte har vriditsEller kommit i klam.
- Remmen F ar atdragen och inte hanger slappt.
WARNING
- Felaktig placering av natakeln etc. leda till brand ellerelektriska stotar till foljd av en kortslutning.Asvakerhetsskal ar det viktigt att du konntrollerar attinstallationen har slUTForts.
Övrig information
Ta bort TV:n genom att utfora installationsforfarandet i omvänd ordning.

WARNING
- Var noga med att två eller flera personer (tre eller fler personer for 75 tum och över TV-apparater) häller TV:när den tas bort.
Specificationer

Matt: (cirka.) [mm]
a:400
b : 300
c:200
d : 100
e:80
f:480
g : 100
h1:20 (fall 2-b)
h2:60 (fall 2-a)
Vikt (endast bas): (cirka.) [kg]
0,8
Design och specifikationer kan andras utan foregående meddelande.
EnkelManual