Bravia KDL50WG663 - Телевизор SONY - Безплатно ръководство за потребителя
Намерете безплатно ръководството на устройството Bravia KDL50WG663 SONY в PDF формат.
Questions des utilisateurs sur Bravia KDL50WG663 SONY
0 question sur cet appareil. Repondez a celles que vous connaissez ou posez la votre.
Poser une nouvelle question sur cet appareil
Изтеглете инструкциите за вашия Телевизор в PDF формат безплатно! Намерете ръководството си Bravia KDL50WG663 - SONY и вземете отново електронното си устройство в ръце. На тази страница са публикувани всички документи, необходими за използването на вашето устройство. Bravia KDL50WG663 на марката SONY.
РЪКОВОДСТВО ЗА ПОТРЕБИТЕЛЯ Bravia KDL50WG663 SONY
2празован празова <|im_start|>assistant 2празова празова празова празова празова празова празова празова празова празова празова празова празова празова празова празова празова празова празова празова празова
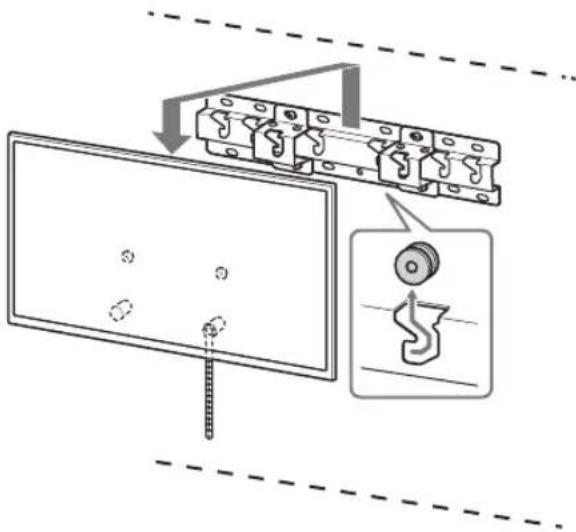
- ɪЗдþрай Te pa3хлабehata уacт Ha Kɔлан F I N I ᵋзakayete ПьтHo Kьм CTehata.


- ⅠЗПОЛЗВаЙТЕ ВИНТ C ДИАМЕТьр 5mm
- ИДЕКВИВАЛЕNTЕн (He e BКЛЮЧЕN B
- KOMПЛЕКТа).
3a6eJexKka
-OnnTaIe IeKo Da n3DbpNaTe KbM ce6e cndoHaTa
aact Ha TeleBn3opa, 3a Da CE yBepnte, Ye He Ce
npemecTba Hanpei. Ako Ce DnBxN, Toi He e
3akpenen PpaBnHIO KOnaH F Tp8Ba OTHOBO Da ce
3akpen 3dpaBO.
Поберка на
ПриключванTo Ha MOHTаЖа
PpOBepTe cIeHNHToUKn.
- MakapuTe ⑥ ca 3aKaueHn 3dpaBO 3a OCHOBaTa NIn aDanTepa Ha OCHOBaTa.
- KaβeJInte He ca yCyKaHN nI npNTnCHaTI.
- Konan F e 3aTeHaTa n Hma Xna6nHa.
PNEyIPEKDEHNE
- HenpaHIOHO NOCTABaHHe Ha 3axpaHbAunna Ka6eI IN dpyrMoKe Da npuHHN NoXapn Nn eEkeTpueckn ydap npaN KbCO cBcEINHeHne. COrneHa 6e3oNaChocTTa npOBepTe daJIIM MoHTaKbT e 3aBbPseH.
Дрuya Информацnia
Korato cbaIaTe TeIeBn3opa, n3nbHHeTe npoueDypata Ha MOHTaxa B o6paTeH pei.

PNEyIPEKDEHNE
- YBepTe ce, Ye DbAmu NnN NOBee duu (TpMa nn NoBee duu 3a KOMnNeKT TeeBu3Op c pa3Mepu ot 75 Hua) DbpxkT TeeBu3Opa, KORato r npEmaxBaTe.
Cpeunfkauni

ЛеснаИнструкция