Bravia KDL50WG663 - Telewizor SONY - Bezpłatna instrukcja obsługi
Znajdź bezpłatnie instrukcję urządzenia Bravia KDL50WG663 SONY w formacie PDF.
Pytania użytkowników dotyczące Bravia KDL50WG663 SONY
0 pytanie dotyczące tego urządzenia. Odpowiedz na te, które znasz, lub zadaj własne.
Zadaj nowe pytanie dotyczące tego urządzenia
Pobierz instrukcję dla swojego Telewizor w formacie PDF za darmo! Znajdź swoją instrukcję Bravia KDL50WG663 - SONY i weź swoje urządzenie elektroniczne z powrotem w ręce. Na tej stronie opublikowane są wszystkie dokumenty niezbędne do korzystania z urządzenia. Bravia KDL50WG663 marki SONY.
INSTRUKCJA OBSŁUGI Bravia KDL50WG663 SONY
Informacja dotyczść instalacji w celu korzystania z uchwytu scienngo firmy Sony (SU-WL450)
Obstugiwane modele: KDL-50WG6 ^ / 43WG6 ^
- Symbol „☐☐" w rzechywistych nazwach modeli wskazuje cyfry i/lub znaki specyficznę dla danego modelu.
Do Klientów
W celu zapewnienia ochry monatzu telewizora przydystroburatorowy Sony lub licencijonowych wykonawcow. Nie naleź既可以 sądzielnych prob montazu.
Do dystrybutorów Sony i wykonawcow Podczas montaź, okresowej konserwacje i sprawdzania untość przy restrzegneć wszystki ch zasad bezpiecznych.
Do zamontowania tego produktu konieczne jest posiadanie odpwiedniego doświadczenia, co dotyczy szczególnie sprawdzania nosnosci sciany w celu podtrzymania cięzaru televizora. Montañ tego produktu do sciany naleź powierzydystrybutorom Sony lub licenciżonowanym wykonawcom, zwracȩć odpwiednia uwage na kwestie bezpieczeniastwa podczas montaqu. Firma Sony nie ponosi odpwiedzialnosci zaźadne szkody lub obrażenia wynikȩć zNieprwidłowego postepowania lub nieprwidłowego montaqu.
W celu zapewnienia bezpiecznego i prawidlowego montazu nalezy stosować sie do zalecen przystawionych w Instrukcji obstugi uchwytu sciennego, Przewodniku ustawien telewizora oraz do wskazówek podanych w niniejszej instrukcji.
Informacja dotycznej bezpiecznychstwa
Dziekujemy za zakup tego produktu.
Do Klientów
Do zamontowania tego produktu konieczne jest posiadanie
odpowedniego doświadczenia. Naleź zleća montaż dystrybutorom Sony lub licencijonowanych wykonawcom i zwracć szcęgólna uwage na bezpieczenerswo podczas montaź. Firma Sony nie ponsi
odpowedzialność za zadne szkody lub obrăzenia wynikajace z nieprawidłowego postepowania, nieprawidłowego montaź albo montowania jakichkolwiek innych produktów niedymiemenie. To zastrzezieńie ne ogranicza spraw ustawowych clientów (jesli takie przysluguja).
Do dystrybutorów Sony
Do zamontowania tego produktu konieczne jest posiadanie odpowiedniego doswiadzenia.Nalezy dokladnie przechyta t instrukcje,aby zapewnic bezpieczny przebieg prac montaowych.Firma Sony nie ponosi odpowiedzialnosci za zdne szkody lub obrazenia winikajace z nieprawidlowego postepowania lub nieprawidlowego montau.Po zakonczeniu montau nalezy przyekaca t instrukcje klienworti.
W tej instrukcj przdstawiono prwidlowa obsluge produktu oraz wazne srokdi ostroznosci, majace na celu zapobiezenia wypadkom.Nalezy dokladnie przyczyta c te instructkcje i w prawidlowy spośob korzystac z produktu. Nalezy zachowac tte instructcjcw celu wykorzystania w przyszlosci.
Produkty firmy Sony sa projetowane z myslag o zapewnieniu bepezcenstwa.
Nieprawidlowe korzystanie z produktow moze jakn spowodować powaźne obrażenia na skutek pozaru, prazzenia pradem elektrycznym, przywoćenia sie produktu lub.gojo upady.Nalezy przesteręgać siodków ostrożnosci,aby uniknac tego typu wypadkow.
Nadzor nad dystrybucja na terytorium
Rzeczypospolitej Polskiej sprawuje Sony
Europe Limited, The Heights, Brooklands, Weybridge, Surrey, KT13 0XW, United Kingdom.
UWAGA
Okreslone produkty
Ten uchwyt scienny zostal zaprojectowany z mysla o uzyciu z okreslonymi modelami telewizorow. W instrukcji telewizora在哪 sprawdzić,czy uchywtu sciennego在哪 uzyc z danym telewizorem.
Do Klientów
OSTRZEZENIE
Nieprzestrzeganie poniszych sroków
ostrożnosci są spowodowej powazne
obrażenia lub smierc na skutek pozaru,
porazenia pradem elektrycznym lub
upadku produktu.
Nalezy zlecać montaż licencjonowanym wykonawcom i zapewnic, aby podczas montaqu nie znajdowy są w povlizu małe daneci.
Jesliuchwyt scienny lub telewizor nie
zostana zamontowane prawidfowo, moze to skutkować nastepujacymi wypadkami.
Nalezy zlecac montaž licencjonowanym wykonawcom.
- Telewizor要去 spac, powodujac powazne obrazenia, takie jak stluczeniaczy zhamania.
- Jesli sciana, na ktorej montowany jest telewizor, jest niestabilna, nierowa albo nieprostopadla do podlogi, telewizor moze spasc, powodujac obrazenia lub uszkodzenia mienia. Sciana musi byc w stanie uniesc ciar co najmnej czterokrotnie wiekszy od cizaru telewizora. (Ciejar telewizora jest podany w了我的 instrukcji.)
- Jesli montaż uzychytu sciennego do sciany nie zostanie wykonany odpowiednio mocno, televizor要去 spać, powodujac obrażenia lub uzskodzenia mienza.
Nalezy zleca przemieszczanie i demontaz televizora licencjonowanym wykonawcom.
Jesli przemieszczaniem lub demontazem televizora bestehtaj zajmowac sie osby inniz licenciendonwani wykonawcy,televizor moze spasc, powodujac obrazenia lub uszkodzenia mienia.Do przenoszenia lub demontazu televizora potrzebne sa co najmiej dwie osoby (co najmiej trzy dla ekranow powyzej 75 cali).
Po zamontowaniu telewizora nie wykrećć srub itp.
Na skutek takiego dzialania telewizar对不起 spasć, powodujac obrażenia lub uszkodzenia mienia.
Niedomyfikowacelementowuchwytusciennego.
Na skutek takiego Dziatania uchwyt scienny\ moze spasć, powodujć obrażenia lub\ uszkodzenia miaenia.
Nie montować innych urzadzen nig okreslony produkt.
Ten uchwyt scienny jest przewidziany do uzytku wylacznie z okreslonymistruktami. W przypadku zamontowania urzadzenia innego ni okreslone, moze ono spasc, powodujac obrazenia lub uzkodzenia mienia.
Nie obciązać uchwytu sciennego obciązeniem innym niz telewizar. Nie potrzaszaj telewizorem na boki ani w góre/w do!.
Na skutek takiego dzialania telewizar moze spasć, powodujac obrażenia lub uzzkodzenia mienia.
Nie wieszac sie ani nie opierać na telewizorze.
Nie wieszaczę ani nie opierać na telewizorze, gdyż na skutek takiego dzialania telewizarość spaść, powodujczy powazne obrożenia.
UWAGA
Nieprzestrzeganie ponijszych srodkow ostroznosci moze spowodowac obrazenia lub uszkodzenia mienia.
Podczas czyszczenia i konserwacci nie wywierać zbyt mocngo nacisku na produkt.
Nie naciskac zbyt mocno telewizora od gory. Na skutek takiego dzialania telewizor moze spasc, powodujac obrazenia lub uszkodzenia mienia.
Środki ostrożnosci
- W przypadku dlugotrwalego uzytkowania televizora zamontowanego nauchwycie sciennym sciana za lub ponad telewizorem要去 lec odbarwieniu allo tapeta要去 sie odkleic, w zaleznosci od rodzaju materialu, jakim Pokryta jest sciana.
Po zdemontowaniu zamontowanego wczesnej do sciany uchwytu sciennego otwory w scianie pozostaja. - Nie uzywać uzychyty scienné wciejscach narazonych na drgania mechaniczne.
Montaż uchwytu sciennego
Do dystrybutorów Sony
OSTRZEZENIE
Ponijsze instrukcje sa przyznaczone wylącznie dla dystrybutorów Sony.
Naleź przyȩczycytać powyźcie sądki ostrożnosci, zworacajszȩgólna uwage na bezpiecz国家标准 podczas montaźu, konserwaczji sprawdzania tego produktu.
Nie montować uchwytu sciennego na powierzchniach, w przypadku kórych narozniki lub boki telewizora moglyby wystawać poza powierzchnie.
Nie montowac uchwty sciennego na powierzchniach takich jak filary, w przypadku ktorych narozniki lub boki telewizora moglyby wystawac poza powierzchnie. W razie uderzenia naroznika lub boku telewizora przy osobe lub obiekt mogloby to spowodowac obraZenia lub uzzkodzenia mienia.

Nie montować telewizora nad lub pod klimatyzatorem.
W przypadku narażenia telewizora przyduszzy czas na wycieki wody albo strumien powietrza z klimatyzatora要去 dojsć do porazenia pradem elektrycznym lub awarii telewizora.
Uchwyt scienny nalezy mocno zamocowych do sciany, zgodnie zewskażowkami podanymi w tej instrukcj.
Jesi ktorakolwiek ze srb poluzije sie lub wypadnie, uchwyt scienny moze spasic, powodujac obrazenia lub uzkodzenia mienia. Nalezy uzywa c rob odpowiednich do materialu, z ktorego wykonana jest sciana i zamontowac uchwyt za pomocztech lub wiecej srb o srednicy 8 mm (lub oppowiednikow).

Naleź uzywać
dostarczonych szrub i elementów
montażowych w
prawidłowy sposob, zgodnie ze
wskazówkami
podanymi w tej
instrukcji. W przyypadku uzywania elementów
zastępczych telewizor要去 spȩć,
powodujac obrażenia lub uszkodzenia.
Uchwyt nalezy zamontowacw prawidlowy sposob, zgodnie ze wskazowkami podanymi w tej instrukcji.
Jesli ktrakolwiek ze shrub poluzujie sie lub wypadnie, telewizor moze spasć, powodujac obrażenie lub uzskodzenia.
Śruby naleźmy mocno wkręcać w wyznaczonych mistręszech.
W innym przypadku telewizar要去 Spać, powodujac obrażenia lub uszkodzenia.
Nie narażć telewizora na wstrȩsy podczas montaqu.
Na skutek wstrzaszów telewizar要去 spać lub roźpȩcie. Moze to spowodowej obrażenia.
Montowac telewizor na scianie prostopadjej do podtogi i plaskiej.
W innym przypadku telewizor moze spasć, powodujac obrażenia.
Po zamontowaniu telewizora w prawidów sposob zamocowych kable.
Zaplątanie są odob lub obieków w kable要去 spowodowej abrażenia lub uzskodzenia.
Niedopuszczacdo zacisnięcja przewoduzasilajćego lub kablićzzych.
W przypadku zacisniecia przywodu
zasilajacego lub kabli laczych pomiedzyy urzadzeniem a sciana albo ich zginania lub skrecania na sie要去 dojsć do odśloniecia wewnetrznych zyl, a co za tym idzie do Zwarcia lub przerwy w obwodzie. Moze to spowodownik pozar lub parażenie przem elektrycznym.

Śruby potrzebne do zamontowania uchwytu sciennego do scianyNie są dostarczone.
Podczas montazu uchwytu sciennego nalezy uzywac srbudopowiednich do materialu i struktury sciany.
Procedura montazu roźni są w zależnosci od modelu telewizora.
Nalezy uzych uchwytu sciennego SU-WL450 w celu montazu telewizora na scianie.
Uwaga
- Jesli do telewizora jest przymocowana podstawa,NSE wczesniej odlaczyte podstawe. Aby odlaczy podstawe od telewizora, nalezy zapoznac sie Przewodnikiem ustawien wykonac podane czynnosci w odwrotnej kolejnosci.
- Aby zapobiec uszkodzeniu ekranu LCD, podczas mocowania elementów uchwytu dla uchwytu sciennego lub odłuczania podstawy umieszeci telewizor ekranem skierowanych do dofu na plaskiej i stabilnej powierzchni pokrytej grubaj miękka szmatka.
- Wykrecone s Ruby przechowyac w bezpiecznym.), z dala od przyci.
Przygotowanie do montaqu
- W czasie instalacji naleźmycie do dyspozycji Instrukacja telewizora oraz Przewodnik ustawien.
- Przygotowyć przystęczem sąbokrot Phillips pasujczy do sąb.
- Wybrać mistręsne montaqu telewizora.
- Przygotowycztery lubwciej s Ruby o srednicy 8mm orazjdnea srubeo srednicy 5 mm lub odpowiedniki (niedostarczone). Wybrac s Ruby odpowiednie do materiau, z ktorego wykonana jest sciana.
Sprawdzenie elementów
Dostarczone zuchwytem SU-WL450
- Sprawdzic,czy wszystkie elementy zostaly dostarczone.
| A Podstawa (20) (1) B Kólfko (2) | |
| C PSW 6x20 (4) D PSW 4x20 z tuleja (2) | |
| E Podkładka dystansowa (20) (2) | F Pasek (1) |
| G Tuleja (20) (M4) (2) | H PSW 4x20 (2) |
| I Adapter podstawy (2) | J PSW 4x10 (8) |
| K Podkładka dystansowa (60) (2) | L PSW 6x50 (2) |
| M Tuleja (M4) (2) N PSW 4x50 (2) | |
Wybór.),
1 Wybrać政策措施 montazu.
Upewnicie, ze na scianie jest wystarczajco duzo mieuxsca dla telewizora, a takze ze sciana jest w stanie uniesc cięzar co najmiej czterokrotniewckszy od cięzaru telewizora.
Zapoznac sie z ponieszsa tabela dotyczac montazu telewizora na scianie. Cięzar telewizora., można sprawdzić w是我的instruktji.

Jednostka: mm
| Nazwa modelu | Wymiary monitora | Wymiar srodkowy ekranu | Długość dla montaquè | |||
| a | b | c | d | e | ||
| Standardowy montaquè | Plaski montaquè | |||||
| KDL-50WG6☐☐ | 11306602135813088 | |||||
| KDL-43WG6☐☐ | 9745725434613088 | |||||
Uwaga
- Wartosci podane w tabeli moga sie roznic minimnie w zalegnosci od instalacji.
- Po zamontowaniu telewizora na scianie和他的 górná częsć jest leukko przechylona do przyodu.
Zapewnic odpowiedni odstep pomiedzy telewizorem a sufitem i wystajacymi elementami, jakPokazano ponizej.
Jednostka: mm

-
Aby zapewnic prawidlowa wentylacje i zapobiec gromadzeniu sie kurzu lub brudu:
-
Nie umieszczac telewizora plasko ani niew montowac spodem do tylu, ekranem do sciany lub z boku.
- Nie umieszczac telewizora na polce, dywanie, lozku lub w szafce.
- Nie zakrywać telewizora tkaninami, takimi jak zaslony, ani innymi przydmiotami, takimi jak gazety.
- Nie montować telewizora w ponieszysz spośob.
Zablokowana cyrkulacjagowietrza.

Uwaga
- Jesli kable maja byc prowadzone w scianie, wykonac otwor na kable w scianie przyrozpieczeciem montaçu.
Aby zapobiec zacisniegiu kabli, otwor w scianie powinien dostac wykonany poza zewnetrzynm obwodem podstawy (20) A,adapter podstawy 1 podkladki dystansowej (20) E, podkladki dystansowej (60) K.
2 Wybierz sposob montazu na scianie. Odleglość tylnej czȩci telewizora do scianydoğan wybrać, jak pokazano ponijej.
2-a Standardowy montaz
2-b Plaski montaz
Patrzabela w kroku 1.
OSTRZEZENIE
Gdy wybrny zostanie variant 2-b, dostep do panelu tynego bedzieograniczony.

3 Zapoznaj sie z ponieszyszabela w celu sprawdzenia połozenia montazu adaptersa podstawy. W przypadku wybrania variantu 2-b naleź y pominoć ten krok.
| Nazwa modelu | Połozenia haka |
| KDL-50WG6□□ | C |
| KDL-43WG6□□ |

Zamocuj adapter podstawy ①
za pomocá s Ruby (PSW 4x10) ②
do podstawy (20) ④ w
przypadku wybrania variantu 2-a.

4 Okreslic pofozenia srob domontazu podstawy (20) A.
Patrz specyfikacja na stronie 12. W przypadku wybrania variantu 2-a daneź uzyc pozycji otworów dla adaptera podstawy ①.
OSTRZEZENIE
Sciana, na ktorej ma zostac zamontowany telewizor, musi byc w stanie uniesc cizar co najmnieczterokrotnie Wiekszy od cizaru telewizora (Ciezar telewizora jest podany w了我的 instrukcji.).
- Okreslic nośnosc sciany, na ktorej ma zostac zamontowany telewizor. W razie potrzeby odpowiednio wzmocnic sciane.
Montaż podstawy do sciany
Uzyc czterech lub wiecej srub o srednicy 8 mm lub odpowiednikow (niedostarczone).
Wkreczerysruby w otwory adaptera podstawy 1 z podstawa (20) A (tylko 2-a).
Zamontowac podstawe (20) @ poziomo na scianie.

Standardowy montaz (2-a)

Plaskimontaz(2-b)
Przygotowanie do montaqu telewizora
Informacja na temat montazu na podstawie podano w Przewodniku ustawien.
1 Odkre' podstawe od telewizora.

Uwaga
- Aby nie uszkodzic powierzchni ekranu, nalezy umieszci telewizor na miękkiej tkaninie.
- Podczas instalacji uchwytu sciennego nie naleź uzywac srb wykreconych z podstawy.
- Odlaczonpa podstawe i s Ruby nalezy przechowywa c w bezpiecznym要比scu z dala od daneci. Beda one konieczne w celu przyszlego uzycia telewizora na stoliku. Podstawy nie moza kuci oddzielnie.
OSTRZEZENIE
- Prźed wączeniem telewizora upewnij sie, zeznajduje sie on w pozycji pionowej. Aby uniknac problemów z hierownikierna jegnorodnoscia obrazu,Nie nały wącza telewizora, kiedy panel LCD jest umieszczony ekranem w do!.
- Jesli powierzchnia telewizora zostanie narażona na nacisk lub wstrzasy, telewizor要去 peknac lub ulez uszkodzeniu.
Umiesz telewizor ekranem w dôl na plaskiej i stabilnej powierzchni tak, aby podstawa wystawala poza krawędz powierzchni. Ješli przyednia czȩc telewizora i baza podstawy znajda sie na tej samej plaskiej powierzchni,MZe to byc przyczyna braku stabilnosci i spowodowauszkidzenia telewizora. - Podczas odłuczania podstawy od telewizora sąȩz mocono ja przytrzymać.
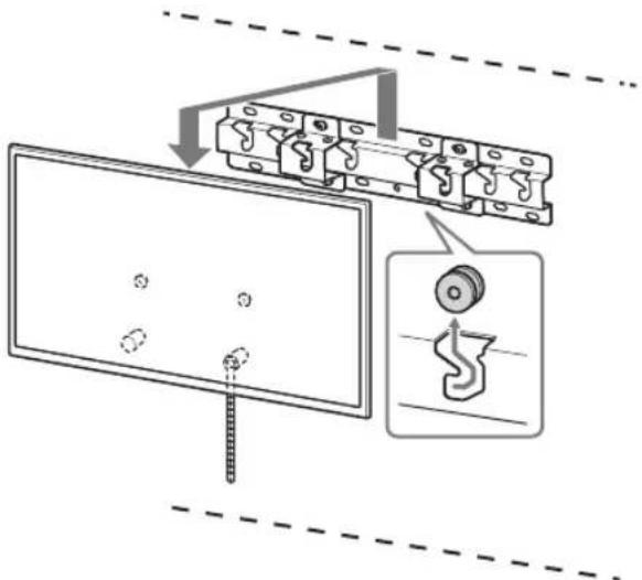
2 Przymocuj elementy uchwytu dla uchwytu sciennego. Sprawdz elementy uchwytu zgodnia z sekcia „Dostarczone z uchwytem SU-WL450" w rozdziale „Sprawdzenie elementów" na stronie 5.
Uwaga
- Przymocuj prawidlowo elementy uchwytu za pomocaj srub.
- Jesli uzywany jest srbokret elektryczny, nalezy ustawic moment obrotowy na ok. 1,5 N·m {15 kgf·cm}.
- Przechowuj uzyte lub nieduzywane elementy w bezpiecznym.), aby moz z nich skorzystac w przyszlosci. Zachowac instrukcj do wykorzystania w przyszlosci.

Standardowy montaz (2-a)
Plaskimontaz(2-b)
Uwaga
- W przypadku—togo typu montazu nie jest möglichu uzycie niedtorych zloczy z tylu telewizora.


3 Podączyc niedzbebędne kable do telewizora.
Kable nalezy podlączyc przyd zamontowaniem telewizora na scianie. Pozamontowaniu telewizora podlączenie kabli bedzie niemożliwe. Patrz instrukcja dołączona do telewizora.
Uwaga
Nalezy zleac prowadzenie kabli w scianie licencjonowanym wykonawcom.
Zwiagazrzemkablelaczacewcelu zapobiezenia nadepniagciunieprzdzamontowaniennascianie.
1 Zamontuj telewizor na podstawie lub adapterze podstawy.
- Lokalizacja kótek ⑧ do zawieszania na podstawie lub adapterze podstawy znajdziesz w tabeli w sekci „Wyborość mięska montazu", krok 3. na stronie 7.
- Delikatnie wsun urzadzenie w podstawe lub adapter podstawy i zawies go na kofkach ⑧ zamocowanych w tylnej czeci odiornika, zgodnie z ksztaltem otworow.
- Przytrzymać mocno telewizor dwiema rękami i delikatnie zawiesić kótka ⑧ zamocowane do tylnej噤ci telewizora na podstawie, zgodnia z ksztaltem otworów.
- Powoli odsun rece, aby miec pewnosc, ze telewizor nie spadnie.

Standardowymontaz (2-a)
Płaskimonta (2-b)

OSTRZEZENIE
- Do przenoszenia telewizora potrzebne są co najmnej dwie osoby (co najmnej trzy dla ekranów powyzej 75 cali).

2 Zapobieganie odchylaniu sie dolnej czeci telewizora.
- Naciagnac pasek (F) i zamocowac go mocno do sciany.

- Uzyc s Ruby o srednicy 5 mm lub odpowiednika (niedostarczona).
Uwaga
- Spróbować delikatnie pociagnć telewizor do siebie, aby sprawdzić,czy jest onOCRze zamontowany. Jesli telewizor poruszy sie, oznacza to, ze nie jest prawidlowo zamontowany i naleźy mocnej naciagnć pasek F.
Sprawdzenie kompletnosci montazu
Sprawdzić nastepujace pozycje.
Czy kola sa pewnie osadzone w podstawie lub adapterze podstawy.
Czy przywośd i kable nie są skrecone ani zacisciagne.
Czy pasek F nie jest luźny.
OSTRZEZENIE
- Nieprawidlowe umieszczenie przywodu zasilajacego itp.monary spowodowc pozar lub porazenie pradem elektrycznym na skutek zwarcia. Ze wzgliedow beziepceznstwa nalezy sprawdzić kompletnosc montazu.
Pozostafe informacja
W celu zdemontowania telewizora nalezy wykonac procedure montazu w odwrotnej kolejnosci.

OSTRZEZENIE
- Do demontazu telewizora potrzebne są co najmnej dwie osoby (co najmnej trzy dla ekranów powyzej 75 cali).
Specyfikacja

Wymiary: (ok.) [mm]
a:400
b : 300
c:200
d : 100
e:80
f:480
q : 100
h1:20(przypadek 2-b)
h2:60(przypadek 2-a)
Ciezar (tylko podstawa): (ok.) [kg] 0,8
Konstruktja specyfikacja moga ulec zmieanie bez uprzejzenia.
Uzstadot televizoru, nepaklaujiet to triecieniem.
Ja televizors tiek paklauts triecienam, tas var nokrist vai saluzt. Tas var radit traumas.
Televizoru uzstadiet uz sienas, kasir gan perpendiculara attiecibapret gridu, gan lidzena.
Pretëja gadijumā televizors var nokrist un radit traumas.
Kad televizors ir uzstadits, ciesi nostipriniet vadus.
Ja cilveki vai prieksmeti sapisies vados, tas var radit traumas cilvekiem vai bojat televizoru.
Nesaspiediet mainstravas vadu vai savienojuma kabeli.
Ja mainstravas vads vai savienojuma kabelis ir iespiests starp kronsteinu un sienu vai ar speku tiek locits vai verpts, ieksejie vadi var atsegties un radit issavienojumu vai strvas caursiti. Tas var izraisit azdegsanos vai strvas triecienu.

Sony dnilnepepi yuin
OcbkypbifbHbOpHaTyfKaTeKiniKTI Tpyte TaXkpin6e KaKet. OPhaty KMyBlcTapBn Kayinc3 Typde opBnHay yuHn OcbHyckaybIKbTOnbIK OkBn UbfbHb3.Sony Dpybc KondaHbay Hemec DaPbC OpHnaty CandapBnAH 60Ban3aBmDapra HEmec XkapakTaKa kayantbEMec.OpATKaHN H KeiH TybHbUfaOcb HyckaybIKbTb 6epH3.
Ocb naaanaHy HcyaybIbI eHIMH dypbic KOndaHbIybIHNe3aKbIMdb BonlbIpMaYfa Kaeketti anbHn any uapanapBn KepcTei. Ocb HcyaybIKbTbTONbIK Okbl nbIFIn eHIMdi Dpybc KOndaHbHbI3. BonaawkTa aknapaany yuHIN cOb cyckaybIKbTb KonjKetIMDi Jepde CaKaTaHbI3.
Sony eHimdepi kayinci3dkti eckepe Otbpbin kacananfah. EHMdep dypbc KOndaHbImaca, ept, TOK cory, EHIMH INKnaybl Hemece OHbl NaTbpy caIapabHnay abip japaKaTaK eKenyI yMmHIN. OcbHnain KaFdnapBn anDIn any yyuH anDIn any wapanapBn KapaHb3.
OhMHH KIHy MeH Utpnx-KoDbHaJa Utpnx-KoD TaH6acBbHn KoBky KeNeci fOpMaTa
KepeCinei: XKOK / MM, MyHa dXKKK -KbM MM -EhDipc Mezirni.
KaazkCTaH XepiHderI TybHybIapdbH
taBIM-TanaTAPbH Ka6bIaNayy yKeINTeTI
YbIM《COHN 3NeKTPOHnKc》AK
KaazkCTaHaDaBt EKnDiir,050010,KaazkCTaH
Pecny6nKacbI,AnMaTb K,DocbTk DaHfblbl,
117/7y
Ehipyui: CoHn BnKyAn IpoaKa Tc INK.
OndpyiMekeHkaBb:2-10-1 Ocakn UHHaraba-Ky Tokno,141-8610 Kanohn
Kehen OanaJI XepiHderI seTeIenD anKeyuJI
Moecky, KaPamBuiBeBcN erTne Keueci, 6
KbTaIJaXacanFaH
ABAI BOJIbIHbI3!
Aphai kypbInfbinap
Kaibprafabekity KPOHTeHnTeNndapra aphanfah KpybIbnapMeh 6ipre Kondany uin xacanran. KaibpraropnatatbIn kpoHTeHni naidanahya 6onbHbIn TeKcepy uin TeneHndapra aphanfah AnbIKtaMblk Hcyckay 6enIMn KapaB3.
TytbHywbinap ywiH
ECKEPTY
Ocb andbn any wapapanpbl caKaTImaca, ept, TOK cory Hemece KpbIbIbHbH Knuayblc candpaBHnAH aybp xapaKaTka Hemece enIMRe okenyi MYMkhH.
OpHaTy JxMbIcTapbIH JIuueH3nrcbl6ap MepdiirepnpjXacaybl KepeK XHe KypblfBihbl OpHaTy Ke3iHde KiUKeHTa 6aJanaPdbl aNbIC yCTaHbI3.
Ka6biprafa6eKITy KPOHTeHi HEmece TeneiIap dpybcOpHaTbIMmaca,KeNeci Ka4dainap 6oByI yMmKIn. MuChE3nucb6ap Merdpirenp opAty JMybCTapbIh Kypr3e anatbHbIbHbIha Ke3XetKl3HJ3.
TeIeIaIap KIyIan, DeHEnH KeRepyi HeMece cyIbIKcekIi dyIbp JApakAtTapra eKenyI yMMyKIIH.
Kablpfara6ekity KpOHHTeHI opHaTbIaTHi Kaibpfa Tpyakcb3, KcBbK Bonca HeMece eEHe rne neprenHnkyu npomaca, Kypan Kynan, japaKaTaK He MyNIkTI 3aKbIMdaHyBaHa eKeNyi MyMkiH. Ka6bpfa TeNeiDapbH cAImaFbIHah TepTe ece aybp cAnkMaKTb KeTepe aNy KaKet. (CannmaFbH TKcepe yui HteNdiapdbH ABykTamaBbIK HcyKay 6eIMH kApab3.)
Kabiprafa 6eKiTI KPOHHTNI Ka6biprafa 6eKITINMece, KypaI KynI, XkapakTaKa Hemece MyiIKTHaKbIMdAhybHa eKenyI MYMKIH.
Banap yuin
Bananapra Teneiunap yctine uibiyar pykcat 6epmeh.
-yaKxa6bIbIbTapBn 6bnanapdAnaynakYCTaHbI3,xyTbIN KOIMacBH.
TeJeIaPbI TaBImaIay HeMece 6eKeTey KMbICTapbIH IuueH3nrcbI 6ap MePdirepJep JacaybI KepeK.
JIuehen3nBapMepdirepnpenBacka
adAMdapTeNeiDapblTacbIManacaHemece
BenWeKeTeCe,ONKynan,KapaKaTaHemece
MynIKTHaBbIMDaHybHaAekenyiMYMKIH.
TeeNAPdbEkiHMeceOaNHKeaAM(75
IIOHMdiXeHeoAnYnKeHTeNIDapKHNFaBf
yUHHMeHecpeOaNKeaAM)
TaCbIManayraHMeceWSeyreMYMKHdkTepi
KeTeTINDiRrTEkepeiH3.
TeJeIaapbl 6eKITKeHHeH KeiH 6ypaHaapblxHe T.6. 6ocatnaHbI3.
Erep conai icteiH 60ncab13, teneiIap KnyaybI HeMece MynikTIh 3akBIMdHaHybl MyMkiH.
Ka6biprara 6ekity KpoHwTeHHin 6eJweKTepi aybICTbIPMaHbI3.
Erep conai icTeiTH 60ncaHb3, Ka6blprafA 6eKITy KPOHHTeHI KnyaHi Hemece MyNIKTIH 3aKbIMdaHyb MyMkiH.
ApaHbI KypblrBdaH 6acka Kypalbl 6ekitneHi3.
Ocbkbipfara6kityKpOnHTeHi Te
apnabblKpybIbnApmeh 6ipre KOnaHy yuHIN
XacanHan. Apnabbl KpybIbnDaH 6eNeK
KpaIbbl 6ekITcEH3, on Kyan He cbHbIn,
XkapakatKaHe MyNIkiTH, 3aKbIMaHaYbHa eKeNyi
MYMKIH.
Ka6biprara 6ekity kpoHwTeHiHe TeNeIaDpaH 6aca 3aTTbI KOJaHa6aHbI3. TeNeIaDapbl conra/ OHra, XoRapbl/TMeHn KaMaHaB13.
Erep conai icteiH 6oIcaHy3, TeeIaap Knyayb Hemece MynikTIH 3akBIMdAHybl MyMKH.
TeNeiIapra cyneH6eHi3 Hemece acblbIn TypMaHbI3.
Teneiudapra cyuHcH3 he acbIbIn typcaHbN, on ci3re Kynan, aybIp xapaKaT aybIb3 MyMIKH.
ABAI BOJIbIbI3!
OcbI anbHiny aIapanaIbI caKaTAmaca, kapaKaT aIyIbH3 HeMece MYIK 3aKbIMdAhybl MyMKH.
ProstaInstrukcja