RCPO1005N - Horno para pizzas Royal Catering - Manual de uso y guía de instrucciones gratis
Encuentra gratis el manual del aparato RCPO1005N Royal Catering en formato PDF.
Descarga las instrucciones para tu Horno para pizzas en formato PDF gratis! Encuentra tus instrucciones RCPO1005N - Royal Catering y toma tu dispositivo electrónico nuevamente en la mano. En esta página están publicados todos los documentos necesarios para el uso de su dispositivo. RCPO1005N de la marca Royal Catering.
MANUAL DE USUARIO RCPO1005N Royal Catering
Manual de instrucciones
Hasznalati utmutato Brugsanvisning
Käyttoohje
Gebruiksaanwijzing
Bruksanvisning
Este manual de usuario ha sido traducido mediante traducción automática. Hemos hecho todo lo posible para garantizar que la traducción sea precise, peroonga en cuenta que las traducciones automaticas no son perfectas y no está destinadas a reemplazar a los traductores humanos. La version oficial del Manual del Nombre está en inglés. Cualquier referencia entre la version traducida y el original en inglés no es legalmente vinculante. Si tiene alguna pregunta sobre la exactitud de la traducción, consulte la version en inglés, que es la referencia oficial. Hay versiones en más idiomas disponibles a pedido a temas de
info@expondo.com
Característicatsécnicas
| Descripción del parámetro Valor del parámetro | ||||||||
| Nombre del producto | Horno para pizza | |||||||
| Modelo | RCPO-1005-N | RCPO-1008-N | RCPO-1009-N | RCPO-1010-N | RCPO-1011-N | RCPO-1012-N | RCPO-1013-N | RCPO-1016-N |
| Tensión nominal [V~] /frequency [Hz] | 230/50 | 400/50 | 230/50 | 400/50 | 230/50 | |||
| Potencia nominal [W] | 4200 | 6600 | 8400 | 13200 | 16800 | 4200 | 8400 | |
| Intensidad nominal [A] | 18,3 | 16,5 | 21 | 33 | 42 | 18,3 | 21 | |
| Clase de protección | I | |||||||
| Grado de protección IP | IPX3 | |||||||
| Dimensiones (anchura × profundidad × alta) [mm] | 1100x 945x 510 | 1420x 945x 510 | 1100x 945x 830 | 1750x 945x 510 | 1420x 945x 825 | 1750x 945x 825 | 1100x 945x 510 | 1100x 945x 820 |
| Peso [kg] | 94 | 122 | 154 | 152 | 208 | 258 | 94 | 157 |
| Rango de temperatura [°C] | 12-450 / 30-400 | |||||||
| Número de cácas | 1 | 2 | 1 | 2 | 1 | 2 | ||
1. Descripción general
El manual del usuario está Diseño para poder en el uso seguro y sin problemas del dispositivo. El producto está Diseño y fabricado de acuerdo con estriadas pautas技术水平as, utilizing technologías y componentes de ultima generación. Además, se produce滿fillendo los más estrictos estandares de calidad.
NO UTILICE EL DISPOSITIVO A MENOS QUE HAYA LEIDO Y ENTENDIDO COMPLETAMENTE Este MANUAL DEL USUARIO.
Paraacular yactualizados. El dispositivo está diseado para reducir al minimum los riesgos de emisión de ruido, teniendo en cuenta el progreo Tecnológico y las posibilidades de reduccion de ruido.
Leyenda
| CE | El producto cumple con las normas de seguridad pertinentes. |
| Lea las instrucciones antes de usar. | |
| El producto debe ser reciclado. | |
| iADVERTENCIA! o iPRECAUCION! o iRECUERDA! Aplicable a la situacion dada.(señal de advertencia general) | |
| Usar guantes de protección. | |
| iATENCIÑ! iAdvertencia de descarga electrica! | |
| iATENCIÑ! Superficie caliente, iriesgo de quemaduras! | |
| Utilizar únicamente en interiores. |

iRECUERDE! Los dibujos de este manual son solo para fines ilustrativos y en algunos detailles peuvent diferir del producto real.
2. Seguidad de uso
!ATENCLION! Leer todas las advertencias de seguridad y todos los manuales e instrucciones. No seguir las advertencias e instructriones能把 provocar descarga electrica, incendio y/o lesiones graves o incluso la muerte.
Los TERMINOS "dispositivo" o "producto" se utilizes en las advertencias e instructaciones para referirse a: HORNO DE PIZZA.
2.1. Seguridad electrica
a) La connexion électrique debe ser realizada por una persona calificada.
b) El enchufe debe encajar en la toma. Nunca modificar el enchufe de ninguna manera.
c) Evite tocar elementos connectados a tierra como tuberías, calentadores, calderas y refrigeradores. Existe un mayor riesgo de descarga electrica si el dispositivo conectado a tierra está expuesto a la lluvia,enta en contacto directo con una superficie humeda o funciona en un entorno humedo. La entrada de agua en el dispositivo aumento el riesgo de daños en el dispositivo y de descarga electrica.
d) No tocar el dispositovo con las manos mojadas o humedes.
e) Utilice el cable unicolemente para el uso previsto. Nunca lo utilise para transporte el dispositivo ni para desenchufarlo de una toma de corriente. Mantenga el cable alejado de fuentes de calor, aceite, bordes aflidos o piezas moles. Los cables dañados o enredados aumento el riesgo de descarga electrica.
f) No utilise el dispositivo si el cable de alimentacion está dañado o muestra signos evidentes de desgaste. Un cable de alimentación dañado debe ser reemplazado por un electricista calificado o por el centro del servicios del fabricante.
g) Para evaporar descargas electricas, no sumerja el cable, el enchufe ni el dispositivo en agua ni en other liquidos. No utilise el dispositivo sobre superficies mojadas.
h) iATENCION! iPELIGRO DE VIDA! Durante la limpieza, nuncasumaerj eldispositivo enagua ni enotros liquidos.
i) No utiliser en ambientes muy humedes o en la proximidad directa de tanques de agua.
j) Evite que el dispositorio se mejo. iAdvertencia de descarga electrica!
2.2. Seguidad en el lugar de trabajo
a) Asegürese de que el lugar de trabajo está limpio y bien iluminado. Un lugar de trabajo desordenado o mal iluminado pueda provocar accidentes. Intente pensar con anticipación, observar lo que sucede y usar el sentido común al trabajo con el dispositivo.
b) Si detecta algunos daño o funciona imitamente irregular, apague inmediamente el dispositivo e informelo a un supervisor sin demora.
c) Si no está seguro de si el producto funciona correctamente o si oculta daños, comuniquese con el centro de servicios del fabricante.
d) Sólo el centro de servicios del fabricante pueda realizar reparaciones al producto. ¡Nointa hacer reparaciones usted mismo!
e) En caso de incendidio, utilise un extintor de polvo o de dióxido de carbono (CO2) (diseñado para uso en dispositivos electricos activos) para apagarlo.
f) Este prohibido el acceso a los puestos de trabajo a niños o personas no autorizadas (una distracción peutecravar la perdida de control sobre eldispositivo).
g) Utilice el dispositivo en un espacio bien ventilado.
h) Inspeccione periodicamente el estado de las etiquetas de seguridad. Si las etiquetas son ilegibles,bergeran reemplazarse.
i) Conserve este manual disponible para futuras consultas. Si este disposicao seenta a un tercero, se debarre entregar elmanual junto con el mesmo.
j) Conservar los elementos de embalaje y las��anas piezas de montaje fuera del alcance de los niños.
k) Mantener el equipo fuera del alcance de los niños y los animales.
I) Si este disposativo se utilizes junto con除外 equipo, también se decideearir las demas instruetiones de uso.
2.3. Seguridad personal
a) No utilise el dispositivo si está cansado, enfermo o bajo la influencia de alcohol, narcóticos o medicamentos que pueda afectar significativamente la capacité para utiliser el dispositivo.
b) El dispositivo solo puede ser Manipulado por personas fiscamente aptas para su manejo,debitamente formadas,familiarizadas con este manual y capacitas en materia de segundad y salute en el trabajo.
c) Al trabajo con el dispositivo, use el sentido común y manténgase alerta. La perdida temporal de concentración durante el uso del dispositivo pueda provocar lesiones graves.
d) Utilice el equipo de proteccion personal requerido para trabajo con el dispositivo, especificado en la seccion 1 (Leyenda). El uso de equipo de proteccion personal correcto y aprobado reduce el riesgo de lesiones.
e) Para evitar que el disposativo se encienda accidentally, asegúrese de que el interruptor está en la posición APAGADO antes de conectarlo a una fuente de alimentación.
f) El dispositivo no es un juguete. Los niños deben ser supervisados para garantizar que no juguen con el dispositivo.
2.4. Uso seguro del dispositorio
a) No utilise el dispositivo si el interruptor de ENCENDIDO/APAGADO no funciona correctamente (no enciende ni apaga el dispositivo). Los dispositivos que no se pueda encender y apagar con el interruptor ON/OFF son peligrosos, no deben operarse y deben repararse.
b) Desconecte el dispositivo de la fuente de alimentacion antes de comenzar el ajuste, la limpieza y el mantenimiento.Esta medidapreventiva reduce el riesgo de activacion accidental.
c) Cuando no está en uso, guardelo en un lugar seguro, lejos de los niños y de personas que no estén familiarizadas con el dispositivo y que no hayan leido el manual del usuario. El dispositivo pueda suponer un peligro en manos de sistemas inexpertos.
d) Mantener el dispositivo en perfecto estado和技术. Antes de cada uso, compruebe que no haya daños generales y, especially, que no haya piezas o elementos agrietados ni Ninguna other condidión que pueda afectar al funcionaamento seguro del dispositivo. Si se detectan daños, entrega el dispositivo para su reparación antes de uso.
e) Mantenga el dispositivo fuera del alcance de los niños.
f) La reparación o el mantenimiento del dispositivo deben ser realizados por personas cualesdas, utilizing únicamente repuestos originales. Esto garantizará un uso seguro.
g) Para garantizar la integridad operativa del dispositivo, no retire las protecciones instaladas de fabrica ni afloje nunca tornillo.
h) No toque las piezas articuladas ni los accesorios a menos que el disposito este desconectado de la fuente de alimentacion.
i) Noreshove,ajustenigireeldispositivoduranteeltrabajo.
j) Limpie el dispositivo periodicamente para evitar que se acumule sociedad persistente.
k) El dispositivo no es un juguete. La limpieza y el mantenimiento no podran ser realizados por niños sin la supervisión de una persona adulta.
I) Este prohibido intervenir en la estructura del dispositivo paraonian sus paramedos o construccion.
m) Mantenga el dispositivo alejado de fuentes de fuego y calor.
n) No cubra las aberturas de ventilacion!
o) NOTE: En el primer uso, después de calentarse, es posible que el producto despendra un olor desagradable que desaparecerá con el tiempo; se tratate de un fenómeno normal y no constituya un defecto del dispositivo.

iATENCION! A pesar del diseño seguro del dispositivo y de sus caracteristicas de proteccion, y a pesar del uso de elementos adiconales que protegen al operador, todavia existe un ligero riesgo de accidente o lesiones al utiliser el dispositivo. Mantengase alerta y use el sentido common al utiliser el dispositivo.
3. Pautas de uso
Este produit está diseñado para horneur pizzas rápidamente mediante el uso de elementos calefactores electricos que brindan temperatas altas y uniformes, imitando el calor intenso de los hornos de leña tradiciones. Estos electrodométricos de uso comercial también son lo suficientemente versátiles para cocinar otros alimentos, como panes planos, pasteles y platos pequeños que requirecen calor alto y constante.
El usuario es responsable de该如何 daro resultante de un uso no previsto del dispositivo.
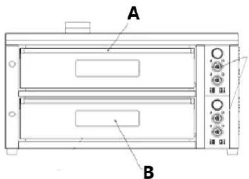
3.1. Descripción del dispositivo

C




A. Manija de la puerta del hora
B. Ventana de cristal delorno
C. Panel de control (izquierda con perillas - manual, referencia con teclado - digitalizzato)
D. Cable de alimentación
E. Tornillo de linea de puesta a tierra
F. Chimenea de escape
G. Termómetro de horno
H. Indicador luminoso de calentamento superior/inferior
I. Perilla de ajuste de temperatura del calentador superior
J. Perilla de ajuste de temperatura del calentador inferior
K. Interruptor de encendido/apagado de la iluminacion delorno
L. Interruptor de encendido
M. Pantalla de temperatura de la CAMERA superior
N. Pantalla de temperatura de la camara inferior
O. Indicador de tiempo
| Botón | Descripción de la acción |
| Botón de encendido con indicator luminoso de funcionaimiento. | |
| Ajuste de temperatura “+” (aumento) | |
| Ajuste de temperatura “-” (disminuir) | |
| BOTON de iluminación con indicator de luz encendida | |
| TOP ON/OFF | Controlador de temperatura del calentador superior con indicator de luz de calentimiento |
| BOTTOM ON/OFF | Controlador de temperatura del calentador inferior con indicator de luz de calentimiento |
| TIMER ON/OFF | Temporizador con indicator luminoso de encendido |
| F1 F2 F3 F4 F5 F6 | Botón de funciona F1-F6 (puede almacenar 6 temperatas de memoria) con indicator de luz de funciona;. |
3.2. Preparación para el uso
UBICACION DEL APARATO
La temperatura del ambiente no debe ser superior a 40^ y la humedad relativa debe ser inferior al 85% . Asegürese de que haya una buena ventilacion en la habitacion en la que se utilize el dispositivo. Debe haber al menos 50 cm de distancia entre cada lado y la parte superior del dispositivo y la pared uthers objectos. El dispositivo debeutilizarse siempre sobreuna superficie plana,estable,limpia,ignifuga y seca,y fuera del alcance de los niños y de las personas con functions mentales y sensoriales limitadas.Coloque el dispositivo de mannersque siempre tengacceo al enchufe de alimentacion. El cable de alimentacion connectado al aparato debe estar correctamente connectado a tierra y corresponder a los detalles技术和s del etiqueta del producto.
Antes del primer uso calendar el hora a la temperatura maxima para eliminar el olor del Conjunto y del material, que desaparecerá con el tiempo.
MONTAJE DEL APARATO
Este producto seenta practically listo para usar. Desques de desembalar todo el producto, tome las piezas del tirador, ensamble el tirador y atornillelo a la puerta usingo los pernos incluidos (atornillados a la puerta en el momento de la entrega). Utilice para el montaje la llave Allen adjunta.

A continuación, fije la chimenea de escape atornillándezla al borde de la parte posterior de la carca;utilice los tornillos metálicos incluidos (ver imagen a continuación a la izquierda).
NOTA: en algunos modelos la chimenea puede constar de dos partes: instálela como se muestra en la imagen de abajo a la derecha.


A continuación, instale un enchufe de alimentación adecuado en el extremo del cable de alimentación; preste atencion a los colores de los cables.
NOTA: se recomienda que el enchufe de alimentacion sea instalado por un profesional.
3.3. Uso del dispositivo
MODELOS CON PANEL DE CONTROL MANUAL:
- Encienda el hora, abra la puerta, encienda el interruptor de encendido, configure la temperatura del calentador superior y la temperatura del calentador inferior y bajo el hora ingresará al modo de ahorro de energia. estado de calentimiento automatístico (la temperatura establecida deben ser superior a la temperatura ambiente)
- Cuando la luz indica para calentimiento en el controlador de temperatura se enciende, el hora comenzará a calendar. Cuando la luz indica para calentimiento en el controlador de temperatura se enciende, el hora comenzará a calendar. Cuando la temperature en la camera alcance la temperature establecida, la temperature dejará de aumento y el hora entrará en el estado de temperatura restante establecida.
- Cuando la temperatura en la camara es inferior a la temperatura establecida, el dispositivo comienza a sonar hasta que alcanza-Newamente la temperatura establecida.
- El hora está equipado con una luz que se pueda encender cuando seanecessary (no deje la luz encendida durante mucho tiempo).
- Funcioncimiento anormal: El hora está equipado con proteccion de temperatura de funcioncimiento anormal (la proteccion de temperatura de funcioncimiento anormal es de 530 a 550 grados). Si la temperature excede este nivel, el hora cortará automatically todo el suministro de energia). La proteccion de temperatura de funcioncimiento anormal del hora no se possible reinicuar automatically y deben reiniciarse manualmente para garantizar la seguridad en el trabajo. Al reanudar el trabajo, primero apague la fuente de alimentacion externa del hora (asegúrese de apagar la fuente de alimentacion del hora y la conexión externa, y asegúrese de que el hora no está energizzato), bajo abra la caja electrica y encienda el interruptor de disparo, y el hora pueda ingresar al estado de "espera".
MODELOS CON PANEL DE CONTROL DIGITALIZADO:
- Encienda el interruptor de encendido, configure la temperatura del calentador superior e inferior y luego el hora ingresará automatistically al estado de calentimiento (la temperatura configurada debe superar la temperatura ambiente).
- Cuando la luz indica para calentimiento en el controlador de temperatura se enciende, el hora comenzará a calentar. Cuando la luz indica para calentimiento en el controlador de temperatura se enciende, el hora comenzará a calentar. Cuando la temperatura en la camera alcance la temperatura establecida, la temperatura dejará de aumento y el hora entrará en el estado de temperatura restante establecida.
- Cuando la temperatura en la CAMERA es inferior a la temperatura establecida, el dispositivo comienza a sonar hasta que alcanza-Newamente la temperatura establecida.
- El hora tiene un temporizador de 99 horas y 99segundos, que pueda hacer cuando lo necesites.
- [optional] Establishzca el parámetro de temperatura en F1 - F6 (se pueda guardar 6 conjuntos de temperatas) - selección la tecla de guardado correspondiente (presione prolongamente durante 3segundos y elindicadorde la ventana roja se iluminará), configure la temperatura superior/inferior requerida, bajo presione la tecla de guardado (durante 3segundos) nuevomente hasta que suene el tiempo, lo que indica que los datos se han Reconocido y guardado correctamente.
- Funcióncimiento anormal: El hora está equipado con protección de temperatura de funciona anormal (la protección de temperatura de funciona anormal es de 530 a 550 grados). Si la temperature excede este nivel, el horaURTARá automatically todo el suministro de energia). La protección de temperatura de funciona anormal del hora no se pueda reinciargar automatically y debe reiniçarsemanualmente para garantizar la seguridad en el trabajo. Al reanudar el trabajo, primero apague la fuente de alimentación externa del hora (asegúrese de apagar la fuente de alimentación del hora y la conexión externa, y asegúrese de que el hora no está energizzato), bajo abra la caja electrónica y encienda el interruptor de disparo, y el hora pueda ingresar al estado de "espera".
3.4. Limpieza y mantenimiento
a) Desconecte el enchufe de la red electrica ycede que el dispositivo se enfierte Completely antes de cada limpieza, ajuste o reemplazo de accesorios, o si el dispositivo no está siendo utilizado.
b) Utilice unicamente detergentes suaves y aptos para uso alimentario para lavar el dispositivo.
c) Guarde la unidad en un lugar seco y fresco, libre de humedad y exposicion directa a la luz solar.
d) No rocí el dispositivo con un chorro de agua ni lo sumerja en agua.
e) No permitted that entra agua en el interior del dispositivo a travs de los orificios de ventilacion de la carca sa del mmo.
f) Limpie las rejillas de ventilacion con un cepillo y aire comprimido.
g) Limpiar con un paño suave y humedo.
h) No utilise objetos afilados y/o metálicos para limiar (por exemple, un cepillo de alambre o una espátula de metal) porque pueda darar el material de la superficie del aparato.
i) No limpie el dispositivo con sustancias acidas, agentes de uso medico, diluyentes, combustibles, aceites u other sustancias quimicas porque pueda darar el dispositivo.
3.5 Eliminación de dispositivos usados
No deseche este dispositivo en los sistemas de residuos municipales. Entregalo en un punto de recogida y reciclaje de aparatos electricos y electricos. Compruebe el symbolo en el producto, el manual de instrucciones y el embalaje. Los plácicos realizados para construir el dispositivo se pueda reciclar de acuerdo con sus marcados. Al:Elegantir reciclar estas haciando una contribución significativa a la proteccion de nuestro medio ambiente.
Comuniquee con las autoridades locales para Obtener informacion sobre su instalacion de recicaje local.
3.6 Resolución de problemas
| Problema | Posible causa | Solutacion |
| Las lámparasindicadoras del horno no se enciendendespués de encenderel interruptor deencendido. | Fallo en el fusible o interruptor deencendido. | Inspeccione el nucleo del fusible.Inspeccione el interruptor selector defunciramente. |
| Falló el controlautomático detemperatura. | Conector de corriente alterna. | Inspeccione el conector de corrientealterna. |
| Códio de falla delcalentador superior oinferior. | - La sonda de temperatura está rota. | |
| El hora no logracontrolarautomáctamente latemperatura (eltermómetro tieneseñal de salute). | Fallo del conector de CA. | Inspeccione el contactor de CA. |
| Presióna el interruptorde Luz, la luz no seencienda. | Las bombillas se quemaron. | Cambie la bombilla por una nuevo. |

ManualFácil