MHD 2800 - Garden shredder ATIKA - Free user manual and instructions
Find the device manual for free MHD 2800 ATIKA in PDF.
User questions about MHD 2800 ATIKA
0 question about this device. Answer the ones you know or ask your own.
Ask a new question about this device
Download the instructions for your Garden shredder in PDF format for free! Find your manual MHD 2800 - ATIKA and take your electronic device back in hand. On this page are published all the documents necessary for the use of your device. MHD 2800 by ATIKA.
USER MANUAL MHD 2800 ATIKA
Operating Manual – Safety instructions – Spare parts
Page 9
Broyeur de végétaux

Yka3aHnI NO TEXHnke 6e3oNaCHOCTN
3aachaBle yactn

Sidan
101
Kompostkvarn
Bruksanvisning - Sakerhetsanvisiningar
Reservdelar

Strana
109
Záhradný drtič
A. Hopper opening for material to be shredded
B. Safety cut-off screw
C. Motor protection
D. On / Off switch
E. Main plug
F. Ventilation apertures
G. Carriage
H. Ejection slot

You may not start to operate the machine until you had these operating instructions, observed all the ions given and installed the machine as described!
Keep the instructions in a safe place for future use.

Electrical devices do not go into the domestic rubbish. Give devices, accessories and packaging to an ecofriendly recycling.
Contents
| Assembly | 9 |
| EC Declaration of Conformity | 9 |
| Symbols on the machine | 9 |
| Symbols in the operating manual | |
| Operating times | 9 |
| Extent of delivery | 9 |
| Proper use | 10 |
| Residual risks | 10 |
| Safety instructions | 10 |
| Commissioning | 12 |
| Working with the garden shredder | 13 |
| Changing the blades | 14 |
| Maintenance and cleaning | 14 |
| Guarantee | 15 |
| Operational faults | 15 |
| Technical data | 16 |
| Spare parts | 124 |
EC Declaration of Conformity
according to Directive 98/37 EC
ATIKA GmbH & Co. KG
declare under our sole responsibility, that the products
Garden Shredder type AH 700
to which this declaration relates corresponds to the relevant basic safety and health requirements of the Directive 98/37/EC, and to the requirements for the other relevant Directives:
2004/108/EC, 73/23/EEC, 2000/14/EC
Conformity assessment procedure: 2000/14/EC - Appendix V. Measured level of the acoustic output LWA 103 dB (A). Guaranteed level of the acoustic output LWA 104 dB (A).

Ahlen, 01.02.2007
Symbols on the machine

Carefully read the operating manual and the safety instructions before starting the machine and observe the instructions when operating.

Switch off the motor and disconnect the mains plug before performing cleaning, maintenance or repair work.

Danger - objects may be thrown out at high speed when motor is running. Keep bystanders, pets and domestic animals

Danger - rotating blades. Keep hands and feet out of openings while machine is running.
out of the danger area.

Wear eye and ear protection.

Wear protective gloves.

Protect against humidity.
Symbols Operating instructions

Potential hazard or hazardous situation. Failure to observe this instruction may lead to injuries or cause damage to property.

Important information on proper handling. Failure to observe this instruction may lead to faults.

User information. This information helps you to use all the functions optimally.

Assembly, operation and servicing. Here you are explained exactly what to do.
Operating times
Please observe as well the regional regulations for noise protection.
Extent of delivery
After unpacking, check the contents of the box
That it is complete
Check for possible transport damage
Report any damage or missing items to your dealer, supplier or the manufacturer immediately. Complaints made at a later date will not be acknowledged.
1 pre-assembled device unit
1 standing leg (left)
1 standing leg (right)
1 axle
2 wheels
2 wheel covers
- 1 screw bag
1 collection sack
1 operating instructions
Proper use
The proper use includes the shredding of
- all types of branches up to a max. diameter (depending on wood species and freshness)
- wilted, moist garden refuse that has already been stored for several days, alternating with branches
Shredding of glass, metal, plastic parts, plastic bags, stones, fabric cut-offs, roots with soil, waste without solid consistency (e.g. kitchen scraps) is explicitly excluded.
The garden shredders are suitable for private use in gardens and allotments.
As garden shredders for private gardens and allotments are considered such devices that are not applied in public facilities, parks, and sports facilities as well as in agriculture and forestry on a commercial basis.
The intended usage also includes compliance with the operating, servicing and repair conditions prescribed by the manufacturer and following the safety instructions included in the instructions.
Any other use is deemed not to be use as prescribed. The manufacturer is not liable for any type of damage resulting from this: the user bears the sole risk.
Unauthorised modifications on the garden shredder exclude a liability of the manufacturer for damages of any kind resulting from it.
Only persons who are familiarised with the device and informed about possible risks are allowed to prepare, operate and service this device. Repair works may only be carried out by us or by a customer service agent nominated by us.
Residual risks
Even if used properly, residual risks can exist even if the relevant safety regulations are complied with due to the design determined by the intended purpose.
Residual risks can be minimised if the "Safety information" and the "Intended usage" as well as the whole of the operating instructions are observed.
Observing these instructions, and taking proper care, will reduce the risk of personal injury or damage to the equipment.
- Risk of injury to the fingers and hands, if your hand grasps through an opening and reaches the blade unit.
- Risk of injury to the fingers and hands, when carrying out assembly work and cleaning on the blade unit.
- Injury by the chopped material spinning away near the hopper.
- Risk from electricity when using improper electrical connections.
- Touching live parts of opened electrical components.
- Impairment of hearing when working on the machine for longer periods of time without ear protection.
In addition, in spite of all the precautionary measures taken, non-obvious residual risks can still exist.
Safety instructions
Before commissioning this product, read and keep to the following advice. Also observe the preventive regulations of your professional association and the safety provisions applicable in the respective country, in order to protect yourself and others from possible injury.
Pass the safety instructions on to all persons who work with the machine.
1 Keep these safety instructions in a safe place.
Machine including safety cut-out
The safety cut-out, including an automatic motor brake, which is attached to the shredder is used for the safety of the machine, preventing the motor being started when the machine is open and the rotating knives could be reached by the operator's hand.
Repair works on the safety cut out must be carried out by the manufacturer or by companies appointed by the manufacturer respectively.
- Make yourself familiar with the equipment before using it, by reading and understanding the operating instructions.
- Do not use the machine for unsuitable purposes (see 'Normal intended use' and 'Working with the garden shredder').
- Provide a safe standing position and keep at any time the balance. Do not lean forward. When placing material into the shredder, always stand on the same level as the machine. When placing material into the shredder, always stand on the same level as the machine.
- Be observant. Attend to what you do. Start working with rationality. Do not use the device when you are tired or under the influence of drugs, alcohol or medicaments. One moment of carelessness when using the device can result in serious injuries.
- Wear protective goggles, gloves and noise protection while working with the machine.
-
Wear suitable work clothes:
-
do not wear loose-fitting clothes
-
slip-proof shoes
-
Within his area of work the operator is responsible for third parties.
-
The machine must not be operated by children or young people under 16 years of age.
-
Keep children away from machine.
- Never operate the machine if other persons are in the immediate vicinity.
- Never leave the device unattended.
- Keep your workplace in an orderly condition! Untidiness can result in accidents.
- Choose a working position alongside the equipment or behind it. Never stand near the ejection opening.
- Never reach into the filling or ejection opening.
- Keep your face and body away from the filling opening.
- Do not overload the machine! You work better and safer in the given performance range.
- Only operate the machine with complete and correctly attached safety equipment and do not alter anything on the machine that could impair the safety.
- Do not alter the revolution speed of the motor, since this controls the safe maximum operating speed, and protects the motor and all rotating parts against damage due to excess speed.
- Do not operate without the funnel.
- Do not modify the device or parts of the device respectively.
- Close machine properly before enabling motor.
-
Do not hose down the device with water. (Origin of danger electric current).
Take into consideration environmental influences: -
Do not use the device in moist or wet ambience.
- Do not leave the machine standing in the rain or use when raining.
-
Provide for good illumination.
-
To prevent danger of injury to fingers during assembly or cleaning operations hold the cutting mechanism (see pic. page 14) and wear protecting gloves.
- Switch the machine off and remove the mains plug from the socket when
Performing maintenance and cleaning work.
- Eliminating faults.
- Checking connecting lines, whether these are knotted or damaged.
- Transporting.
- Carrying out repair work.
Changing the blades.
Leaving unattended (even during short interruptions).
- If the machine's filling funnel or ejection slot is blocked switch off the motor and disconnect the mains plug before removing material from the filling funnel or ejection slot.
-
Check the machine for possible damage:
-
Before further use of the machine the safety devices must be checked carefully for their proper and intended function.
- Check whether movable parts function perfectly and do not stick or whether parts are damaged. All parts must be correctly installed and fulfil all conditions to ensure perfect operation of the machine.
- Damaged safety devices and parts must be properly repaired or exchanged by a recognized, specialist workshop; insofar as nothing else is stated in the instructions for use.
-
Damaged or illegible safety labels have to be replaced.
-
Store unused equipment in a dry, locked place out of the reach of children.
Electrical safety
- Design of the connection cable according to IEC 60 245 (H 07 RN-F) with a core cross-section of at least
1.5 mm² for cable lengths up to 25 m
2.5 mm² for cable lengths over 25 m
-
Long and thin connection lines result in a potential drop. The motor does not reach any longer its maximal power; the function of the device is reduced.
-
Plugs and coupler outlets on connection cables must be made of rubber, plasticised PVC or other thermoplastic material of same mechanical stability or be covered with this material.
- The connector of the connection cable must be splash-proof.
- When running the connection line observe that it does not interfere, is not squeezed, bended and the plug connection does not get wet.
- Wind off completely the cable when using a cable drum.
- Do not use the cable for purposes for which it is not meant. Protect the cable against heat, oil and sharp edges. Do not use the cable to pull the plug from the socket.
- Regularly check the extension cables and replace them if they are damaged.
- Do not use any defective connection cables.
- When working outdoors, only use extension cables especially approved and appropriately labelled for outdoor use.
- Do not set up any provisional electrical connections.
- Never bypass protective devices or deactivate them.
- Only hook up the machine by means of a fault-current circuit breaker (30 mA).
The electrical connection or repairs to electrical parts of the machine must be carried out by a certified electrician or one of our customer service points. Local regulations - especially regarding protective measures - must be observed.
Repairs to other parts of the machine must be carried out by the manufacturer or one of his customer service points.
Use only original spare. Accidents can arise for the user through the use of other spare parts. The manufacturer is not liable for any damage or injury resulting from such action.
Commissioning
- Check that the machine is completely and correctly assembled.
- To avoid toppling, place the shredder on a firm horizontal surface.
- Do not place the equipment on ground which is paved or surfaced with gravel.
-
The machine should only be operated in the open. Always maintain a safe distance (at least 2m ) from walls or other fixed objects.
Before each use, check -
Connection cables for defects (cracks, cuts, etc.).
Do not use any defective cables.
- There are no damage at the machine (see safety instructions).
- All screws are tight.
Mains connection
- Compare the voltage given on the machine model plate e.g. 230 ~V with the mains voltage and connect the machine to the relevant and properly earthed plug.
- Only use extension cables with sufficient core cross-section.
Mains fuse
| Switzerland | UK | ||
| 2200 W | 16 A time-lag | 10 A time-lag | 13 A time-lag |
| 2500 W | 16 A time-lag | 13 A time-lag | |
| 2800 W | 16 A time-lag | 13 A time-lag |
On / Off switch
Do not use any device where the switch can not be switched on and off. Damaged switches must be repaired or replaced immediately by the customer service.

Switch on
Press the green button (1) .
Switch off
Press the red button 0.
Restart protection in case of power failure
In case of a power failure, the device switches off automatically (zero-voltage initiator). To restart, press the green button again.
Motor protection
The motor is equipped with a safety switch and switches off automatically when overloaded. After a cooling-down break (approx. 5 min), the motor may be restarted. Press the
- reset button (motor protection)
- green button① to restart.
Electrical mains supply impedance
When conditions in the electrical mains supply are un-favourable, voltage reductions for short periods can occur during the process of turning on the equipment, which can adversely affect other equipment (e.g., the flickering of a lamp).
No breakdowns are to be expected if the maximum, electrical mains supply impedances given in the table are met.
| Power consumption P1 (W) | Electrical mains supply impedance Zmax (W) |
| 2200 | 0,21 |
| 2500 | 0,21 |
| 2800 | 0,19 |
Working with the garden shredder
- Choose a working position alongside the equipment or behind it. Never stand near the ejection opening.
- Longer material that is protruding from the device could spring back when it is drawn in by the blades! Observe safety distance!
- Never reach into the filling or ejection opening.
- Keep your face and body away from the filling opening.
- Never place hands, other parts of the body or clothing into the filler funnel, ejection channel or in the vicinity of other moving parts.
- Check that no chopped residues are in the filling hopper before switching on the equipment.
- Do not tip or tilt the machine when the motor is running.
- When filling, be careful that no pieces of metal, stones, bottles or other objects unintended for processing, enter the filling hopper.
- Immediately switch off the equipment and allow it to come to a stop, if foreign objects enter the filling hopper or if the equipment starts to make unusual noises or vibrates. Remove the mains plug and carry out the following checks:
inspect for damage,
- replace or repair damaged parts,
- check the equipment and tighten loose parts.
- You must not repair the equipment yourself if you are unauthorized to do so.
What can I shred?
Yes:
organic household and garden waste
e. g. hedge and tree cuttings, dead flowers and vegetable kitchen waste.
No:
- glass, metal, plastic, plastic bags, stones, cloth, roots with soil, food left-overs, fish or meat.

Special tips on shredding:
Branches, twigs and wood should be broken down immediately after they have been cut.
- Material of this kinds gets very hard when it is dry, and the maximum allowed branch diameter to be processed has to be reduced.
Remove any side shoots from branches with a large number of twigs.
How to shred garden and kitchen waste with hight water content and a tendency to clog
- to prevent the machine from clogging, alternate waste with wood containing material.
Do not allow the shredded material to pile up too high in the area of the ejection opening. This can lead to shredded material blocking the ejection channel, and backing up to the filler opening.
Clean out the filler opening and ejection channel thoroughly if the machine becomes blocked. Before doing this, switch the motor off and disconnect the machine from the mains power supply.
Please do not exceed the maximum branch diameter specified (cutting fresh wood) for your appliance ( see p. 16). Depending on the wood's nature and freshness the maximum branch diameter the machine can process may be smaller.
The blades largely pull the material into the machine by themselves.
Strong branches may cause overloading. This can be avoided by pulling them back from time to time.
If the machine is overloaded, a protective motor switch ensures that the machine turns itself off automatically.
- Turn the shredder on again after about 5 minutes.
- If you cannot turn on the machine after this waiting time refers to "Operational faults".
Changing the blades
Remove the mains plug before changing the blades.

Risk of injury to the fingers and hands when carrying out work on the blade unit. Wear protective gloves.

Open the machine.


Fix the blade.


Left-hand thread
Reduced output
One edge of the knife has become blunt:

Turn knife so that you can use the other edge.
All knife edges have become blunt:

Replace with new set of knives (order-no. 382425).
Maintenance and cleaning
Each time before starting maintenance work:
- Switch off the motor and pull out the mains plug.
- Wear protective gloves to prevent injury.
The cutters will not come to a standstill immediately after cut-off. Before starting any service work wait until all parts are stationary.
Be sure to have removed any tools from the machine after completion of service work.
-
Generally garden shredders require little maintenance. To maintain their efficiency and a long life, observe the following:
-
Keep vent slits clean and free from obstructions.
- Check the locking screws (tighten where necessary).
Clean the device after shredding.
To clean your product only use a warm moist cloth and a soft brush.
Never use cleaning agents or solvents. Otherwise the device may be damaged irreversibly. Plastic parts may be corroded by chemicals.

- Do not clean the machine with running water or high-pressure cleaners.
- After each operation treat bare metal parts with an environment-compatible biodegradable spray oil to protect them against corrosion.
Guarantee
Please observe the enclosed terms of guarantee.
Operational faults

Before each fault elimination:
- Switch off device.
- Wait for standstill of the garden shredder.
- Pull out mains plug.
| Fault | Possible cause | Removal |
| Motor does not start. | - No power supply. - Mains cable defective. - Upper part of the enclosure not properly closed (safety shut-off is activated). | - Check fuses. - Have these checked (electrician). - Close and bolt down upper part of the enclosure correctly, remove any dirt present. |
| Motor hums, but does not start. | - Cutters blocked. - Capacitor faulty. | - Switch machine off, disconnect mains plug, and clean interior of machine. - Have machine repaired by manufacturer or approved company. |
| Reduced cutting performance. | Knife edges became blunt. | Turn the knife or replace it with a new set of knives. |
| Device starts but blocks under slight load and cuts off via protective motor switch. | Extension cable too long, or cross-section too small. Socket too far from mains supply and cross-section of mains cable too small. | Extension cable at least 1.5 mm², maximum 25 m long. If a longer cable is used, minimum cross-section 2.5 mm². |
Technical data
| Model | 2200 | 2500 | 2800 |
| Name | AH 700 | AH 700 | AH 700 |
| Motor | AC-Motor 230 V~, 50 Hz, 2800 rpm, including automatic motor brake | ||
| Motor rating P1 S6 - 40 % | 2200 W | 2500 W | 2800 W |
| ON/OFF-switch with | Motor protection switch, electrical safety cut-out, zero-voltage initiator | ||
| Weight | 19,0 kg | 19,0 kg | 19,5 kg |
| Sound pressure level at work LPA (measured to 2000/14/EC) | 83 dB (A) | ||
| Measured sound power level LWA (measured to 2000/14/EC) | 103 dB (A) | ||
| Guaranteed sound power level LWA (measured to 2000/14/EC) | 104 dB (A) | ||
| Max. branch diameter (only for freshly cut wood) | Ø max. 35 mm | Ø max. 40 mm | Ø max. 42 mm |
| Safety class | I | ||
| Protection class | IP X4 | ||
| Mains fuse | 16 A time-lag Ø | 16 A time-lag Ø | 16 A time-lag Ø |
| Switzerland | 10 A time-lag Ø | -- | -- |
| UK | 13 A time-lag Ø | 13 A time-lag Ø | 13 A time-lag Ø |
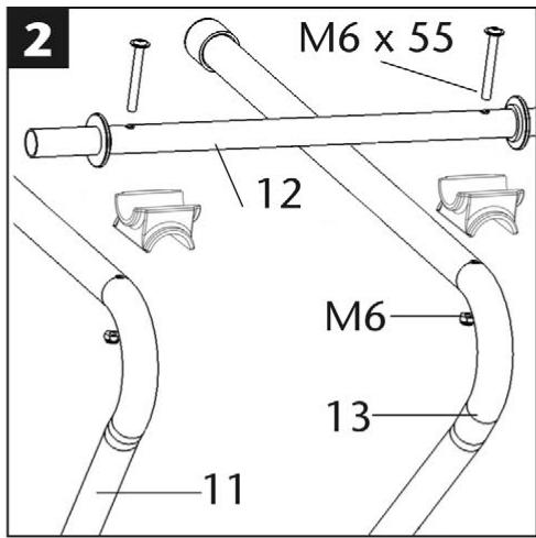
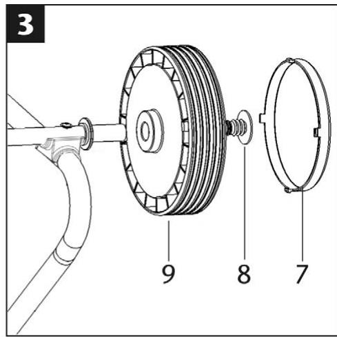
Assemblage




Description
2004/108/CE, 73/23/CEE, 2000/14/CE
Proceded evaluation of the conformity: 2000/14 CE - Annexe V
A. Pollmeier, direction
2004/108/EG, 73/23/EWG, 2000/14/EG.
2004/108/EF, 73/23/EWG, 2000/14/EF
Samsvarsvurderingsproses: 2000/14/EC - Vedlegg V.
Malt lydeffektniva LWA 103 dB (A).
Garantert lydeffektniva LWA 104 dB (A).

Ahlen, 01.02.2007
CoxpaHb HNCTpyKcIIO DnI NcNoJIb3OBAHnB 6yduyeM.

3JIeKtpnueckne np6opbI He ydaJbT b 6bITOBMycOp. YcToPcTBa, pInHaJdJIeXHocTn uYaNKOBy HAnpaBnTb Ha yTuIN3aCNU B COOTBETCTBn C Tpe6oBaHNm OkpyKaIOUe CpeDbI.
CopepkHne
3aBJIeT IOE eINHOJNUHHy O TBETCTBEHHOCTb, YTO IpoDyKTbl
caIOBbIe N3MeJIbUHTeJI, Tn AH 700
Ha KOTOpbIe pacnpoCtpaHЯETcH HAcTOnaUe 3aAByHeHne, OTeBaA
KOT COOTBeTCTBvUOuIM PpHUnPnNnAJIbHbIM Tpe6oBaHnM IO Tex
Hnke 6e3OpanacOCTn n OxpAne 3DopOBbY n3 DInpeKTnBbl
98/37/EG, a TaKKe Tpe6oBaHnM dpyrnx COOTBeTCTBvUOuNX Dn-
peKTNB
2004/108/EWG, 73/23/EWG, 2000/14/EG.
CootBcTCTBne oueHka npoceDya: 2000/14/EG - PnpIoXeHne V. 3aMepeHHbI ypOBeHb 3ByKOBoM OuIHOCTn LwA 103 d5 (A). TapaHTnpOBaHHbI ypOBeHb 3ByKOBo M OuIHOCTn LwA 104 d5 (A).

AJIeH, 01.02.2007 r.
TEXHnke 6e3oNaCHOCTN.

IOCTOPOHHnx, a TaKKeDOMaUHnx XINBOTbIX N CKOT.

Hocntb cpectBa nla 3aunTbI rna3nCnyxa.

Ipeed npoBeDeHn em pa60 Tpo peMOHTy,TexO6cnyKINBAHNIO ONUCT-KEOTKJIOUHTb DBNrAteJIb N BbITa-NTb BNJKy
COeINHInTeIbHOrO UHypa.

Co6IHOdaTb
OCTOPOXHOCTB Iprn
O6paueHn C
BpaUaHUsMNcR
HOxamn. He
BCTaBJIaTb pyKn n
HOrn B OTBepCTna
BO BpempaObTbMaunHbI.

Hocntb 3aunIT-NhIe IepuATKn.

IpedoxpanaTb OTo BlaI.
CnMBOJbI, nCNoJIb3YeMbIe B HNcTpyKcIIN NO 3KcNJIyataCuIN

Грозяшая onachoctь пи Onachя сntyaця. Heco6JIIODEHnE 3Tnx yka3aHm MOKET npINBecTN K TpaBMam nI K MaTePnaJIbHOMy yUepe6y.

BaxHbIe yka3aHnI no HApIeXaUeMy o6paUeHnIO. HecO6JIoDeHne 3Tnx yka3aHn MOKeT pINBeCTN K HeNoJaIcam.

Yka3aHnI nnNoIb30BaTeI. 3Tu yKa3aHnI NOMOyT Bam ONTImaJIbHO nCIOJIb30BaTb BCE cyHKUIn.

MoHTax, 6cbnyxnbHne n TexHnueckoe 6cbnyxnbHne.3Decb Bam daIOTcTouHbIe pa3brcHeHnO TOM, yTO Bam hyXHO deLaTb.
Bpempa6oTbI
Ipo86a co6nOdaTb peHOnaNbHbIe npednncnno 3aunTe ot Wyma.
O6bem nocTaBKn

Iocne paCnakOBKn npOBepbTe cOepeKmoe KapToHHoynaKaOBKn Ha

KOMPJIeKTHOCTb NOCTaBKn,
NaJIuNue BO3MOXHbIX NOBpeKdEHN B pe3yJIbTaTe TpaHCnOpTINPOBKn.
He3aMeIInTeIbHo COo6uHte O peKJIaMaUx ToproBoi OpraHn-3aUIN Ha 3aBOJ-N3ROTOBInIe. PeKJaMaUin, 3aYBJeHHbIe I03Ke, He Iprn3HaIOTcI.
1 npedbapntelbno cMOHTnpoBaHHb y3eYcTpoiCTBa
1 cToiKaJIeBaI
1 cToiKa npaBa
1ocb
2KoIeca
2 KOJInaka KOJec
2 KpbIuKn KOJec
1 naket C BnHTamn
1 npneMHNK
1 INHCTpyKUIN PO 3KcPnyatauN
Исpenь3OBaHne B COOTBETCTBnC Ha3HaueHnem
Obem npimehen H3meJIbUHTeI NO Ha3HaueHIO BkJIouaet Bce6
- 06pa60ky BeTOK IIO6bIX BINOB C MaKc. DnAmEtpOM (B 3aBnCIMOCTN OT COPTa N BO3pacta DepeBa)
- 06pa6oTky BЯNbI X caObblx OTXoDOb, Jekaunx yKe HeckoIbKO dHei, NooopeJeHOn C o6pa6oTkoBETOK.
Kateropueeckn 3aPpeuaetcnpoN3BONDt N3MeJIbYeHneCTekna, MeTAnla, PnactMaCCOBbIX N3deIi, PnactMaCCOBbIXMeIKOB, KaMHe, TeKCTINbHbIX OTXODB, KOpHe C COdepJxAHmE3EMIn, OTXODOB, KOToPbIe He IMeIOT TBepdyIO KOHCNCTeHcHIO (HaNPIMep, KxyOHhble OTXOdbI).
Caoobiy H3MeIbUHTeIb IpeHa3Hauhen ToIbKO IpyuactHO 1nCIOJIb3OBAHnHa npHyCaJe6HbIX caIOBO-OrOpOdHbIX yAcTkax H Na yUCACTKAX caIOBOIOB-JIO6HTeIeI.
N3MeIbYHNTJIaMn DnI YaCTHbIX DOMOBbIX N CaIOBbIX UyAcTkoB CHTaOTcraTakne, KOToPbIE He NcIOnb3yOTcR B O6UeCTBeHHbIX COOpUxKeHnIX, NapKax, CnOpTnBbIX COOpUxKeHnIX, B CeJIbCKOM IN JeCHOM XO3rJCTBE IN B PpOMblJIeHNbIX ZeJIAX.
K NcNoIb30BaHnIO No Ha3NaYeHNIO OTHOCNTCA TaKKe CO6JIoDeHne IpeDnIcaHHbIX N3rOToBnTeJIeM YCNOBNI 3KcIIpyaTaUm, Texo6cnyXuBaHnI n peMOHTa Nco6JIoDeHne npuBeDeHHbIX B INHCTpyKcIIN yKa3aHnI NO TEXHnke 6e3OnacHOCTn.
ChapkaTb n hCnoJIb3OBA Tb annapaT, a TaKKe BblIOJIHrTa bpa6tB I no ero texHnueckomy o6cnykBaHnIO pa3pe7aetc TToIbKO JnUam, yMeIoUm O6pa7aTcR C Hm N KOTOpbIM n3BeCThBi BO3MOXHbIE ONaCHOCTN pRn eRO hCNoJIb3OBAHN. PemOHThbIe pa6tB I pa3pe7aETcR npOBoDHTb ToIbKO HAM INI cepBnCHbIM cnyx6am, yNOJHOMOeHHbIM Ham.
OcTaToUHbIe NCTOuHNKn pNcKa
Дахе пи Иснолбзовань B COOTBETCTBи C Ha3haueHneM HeCMOTPЯ Ha CO6JIIODEHne BCEX COOTBETCTBYOUIX ПОLOxeHn TeXHnK 6e3OJaNACHOCTN BCE eIe MOrY IMetbC OCTaTOUHbIe NcToUHKn pNcKa, obycIoBJIeHHbIe KOHCTpyKuznei, KOTopa onpeDeJIraTcRa Ha3haueHneM.
MoXHo CBeCTn DO MmHmMya OCTaTOUHbIe NcTOUHKn PnCKa, ecnncoBnOJaOTcpa3dEJIb ,Yka3AHnNo TExNKe 6e3OnaCHOCTn" n ,NcNoJb3OBaHHe B COOTBETCTBn CHa3HaueHHeM", a TaKxHe IHCTpyKUnr PO 3KcPnPyatauIN B CEJOM.
BHHMaTeIbHocTbIOCTOpOxHOcTb CHIXaHT CTeNeHb pUcKa IOnyehnraPAM N IOBpeKdEHNy yCtpoiCTBa.
- OnachocTb nobpeiHT bIaIbci I pyK, ecn Bbl BBeTe pe kkyBOTBepCTne IN nonaTe B HOKeBOI MexAHm3M.
- Onachoctb nobpeintb naibcui npky B npoecce pa6ot no MOHTaJy uOuCTke HOKeBOrO MexaHn3Ma.
- Поврждени, когда Измельчehная Масca pa3бpacbIbaeTся посторhamВЗонеВоронки.
- Onachoctb nopaxeHnna 3neKtpnuecknM TOKOM, ecn nCnoJb-3yOTc HnHaIpeXaInce CoedInHtEhBhIE 3neKtpoPpOBOda.
- Ппноковене К TOKоюваяци М DeТалМ, ecЛН OТКрытbl 3ЛЕКТРИЧЕСКЕУЗЛВ.
- UxydUHeHne cIyxa, ecn pa6Ota npoBOuNTc8e3 cpeiCTB 3a- uTbI cIyxa B TeueHne npoDOnKInTeNbHO BPemEn.
Да lee, HeCMOTpЯ Habce npinHtbie MEPbl npedocTopoXHOCTMOryT IMetbCЯ OCTaTOUHbI eNCTOuHnKn pNcKa, He OChEBnHbI oH03NaHOb.
Бezonaresha pa6ota
!Ipeed BBODOMB 3KcnpnyatauHIO 3TOrO n3dennn npouHTaIte uco6nlodaIte cIeDyUoune yka3aHnue n npedncaHnno npoepnlaKTnke HecyacThbIX CnyaEB Baawero npopecCNOHaJIbHOro O6BeDInHeHnru NII, COOTB., DeNCTByUoune B KOHKpeTHOH CTpaHE PNOJoxEHHn PO TexHnke 6e3OnaCHOCTNC TeM, YTObI 3aunITb OT BO3MOXhIX TpaBM camoro ce6n IN Dpyrnx.
I IpnHOpMnpyTe 06 yka3aHnX no TexHnke 6e3oNaCHOCTN BCEX IIODei, KOToPbIE pa6OtaHOT c MaunHoH.
Xopoio coxpaHnte 3Tu yka3aHnna nO texHnke 6e3oNachoCTn.
YCTPOINCTBO C 3aUNTHbIM BbIKNIOUaTeJeM
CMONTPOBAHHI 3aunTHbI BbIKHouateIb C aBTOMaTHueckm TOpMO3OM DBrarTeIaCnyKIT IIN oBecepeHnBaIeB6eONacHOCTN. OH npEduynpeXdaet BO3MOxHOCTbBKIOUeHn DBrarTeIaPn OTKpbITOM yCTpoICTBE nNoIpaHaHne BaIHX pyk BO BpaauoIcra HOKeBOmexaHN3M.
PemOH 3aunTHoro BbIKIOuTeJIr Heo6xOIMO NOppyaTb 3aBOy-N3rTOBHTeJIH IOHN, COOT.,NONMeHOBaHHbIM MM QnPMam.
UmeHbWeHHa Ipon3BODNTeJIbHOCTb
pe3aHn:

3aTyuHIOcB Je3BHe HOxa.
3aMeHnTb 3aTyINBWeecr Ne3BVe Ha Ne3BVe, He NcNoJIb3OBaBWeecr Do CnX nop, NOMeHrB INx MeCTamN.

3aTynnlncb BCE Je3Bna HOKei.
BCTaBtB HObBi KOMJIeKT HOKei (No 3aKa3a 382425).
TexHnueckoe obcIyJxNBaHne n yXoD
- IpeaTeM, KaK npoBoaHTb IIO6bIe pa6Otbl No Texo6cJyXuBaHnO:
OTKIIHOUHTb DBIgAteJIb N BbITaUHTb BNJKy COeINHITeJIb-HORO SHHpa.
- Hndetb 3aunTHbIe nepuATkn BO n36exaHne nobpejKeHnI.
IpnTexobcnybAHnpeKyuIero INCTpyMeHa CJeDuYeT NMeB B BVdy, YTO 3a ChET PcyKOBOr MExaHn3Ma OH eue MoXeT pa6oTaTb, DaJxecNl DBratel yKe He pa6oTaet NocLe 6blOKuRbKn KpbIuKN.
Iocne npoBeHnra pa60nt no TeXnueckomy 6cnyxnbHIO nIpeMOHT npocJIeNTb 3a Tem, TTo6bl 6bln ydaJIeHbIHNCtpyMeHTbl IraeHbIe KJIouH.
- CaIOBbI n3MeIbUHTeJIb B npINcIne He HuyXJaETcB TExHnueckOM o6CnyXnBaHm.ДЯ coXpaHEnr erO ceHHOCTn I B INTepeCaX pOdoJXnTeJIbHOrO CpOKa CnyX6bl yuNTbIBaT bHXEcJeDyUoee:
He 3aropaxnBaTb BENTINaIOHHbIe OTBepCTnI NOIDepKxNBaTb INX B YNCTOM BNDE.
- PpOBePbKpeNExHbIe BnHTbI (npn Heo6xOaMocTn noJTHHyTb).
OuHCTb yCTpoIcTB OocJIe N3MeJIbYeHnJ.
ДЯ OUHCTKn yCTpoIcTBA NOJIb3OBaTbCra TOJIbKO TeNIOB
BlaXHO caΦeTKo IN MRAKO KInCTOuKoJ.
Kateropueeckn 3anpeaetcnoB3OBaTbCyaHCTaUMn CpeiCTBaMn nn pactbopnteJAMn. B npotNBHom cnyae yctpoiCTBy MOKeT 6bTb HaHecen HEnOpnpabMbIyUep6. XmNKaTb MoYr pa3pyuHTb PnaCTIKOBbIe Detann.

He ouHuaTb n3MeJbUHTeIb IPOTOUHO BDOI uIN BBICO-KOHAnOpHBIM CpeDCTBAMN dJIa OUYCTKN.
- После каду уnotpe6lenya npedoxpaHЯн HeNOKpbIbIbIe KpackoM MeTaNnueckne DeTaN O T KoppO3N, ONpbICKAB INX 3KOJIOrHuCCKN COBmecTUMblM MacJIOM, cNoCo6HbIM K 6bNOJOrHuCkOMy paSCJePJIeHIO.
TapaHTnA
Просим образиь Внимане на пилагаме rapаннюhoeобязателбто.
Bo3MOxHbIe HEnoJaKn
| Helenonada | Возможнaya п Primma | Способ устpanения | ||
| Двигател升降, по升降. | -Осуствает сetime boe наразжени. -Heисярaven prisco�интыл bny ka- бел. -Корунь зашит неrelpenabilho (сработал празoxpaniteл bny вдikluоаары). | -Проберпь зашичу р dedохдану телям. -Порочь рobерпь (спеснисту-злькрик). -Правильно зашичь ворхю част корунca и сbin- нту, по необхочимосту удашиь заграденя. | ||
| Двигател升降, по升降. | -Бл_OKирobан Ножево мениз. -Heincрaven kondeнсатор. | -Отлочь устrodu STBO, Витайов Влику coedinhi- telьношура и ооченьшь устrodu STBO n3Hytrn. -Отравиь устrodu STBO на ремont на заюнstroto- Витель лл, COOTB., на поименованноим Фирму. | ||
| Уменшени погибд Тельноctь pe3аня | Затулипсь升降. | Замень升降. | ||
| Устrodu StBO升降,升降. ODнako StОноритс升降. Знauthе�л�升降. Нагузке升降. OTКлочаetc升降. Зашлгог升降. Двигател升降. | Удлinhutь升降ь кабел升降 с铝合金升降. 升降升降升降升降升降升降升降升降升降升降升降升降升降升降升降升降升降升降升降升降升降升降升降升降升降升降升降升降升降升降升降升降升降升降升降升降升降升降升降升降升降升降升降升降升降升降升降升降升降升降升降升降升降升降升降升降升降升降升降升降升降升降升降升降升降升降升降升降升降升降升降升降升降升降升降升降升降升降升降升降升降升降升降升降升降升降升降升降升降升降升降升降升降升降升降升降升降升降升降升降下降升降升降升降升降升降升降升降升降升降升降升降升降升降升降升降升降升降升降升降升降升降升降升降升降升降升降升降升降升降升降升降升降升降升降升降升降升降升降升降升降升降升降升降升降升降升降升降升降升降升降升降升降升降升降升降升降升降升降升降升降升降升降升降升降升降升降升降升降升降升降升降升降升降升降升降升降升降升降升降升降升降升降升降升降升降升降升降升降升降升降升降升降升降升降升降升降升降升降升降降升降升降升降升降升降升降升降升降升降升降升降升降升降升降升降升降升降升降升降升降升降升降升降升降升降升降升降升降升降升降升降升降升降升降升降升降升降升降升降升降升降升降升降升降升降升降升降升降升降升降升降升降升降升降升降升降升降升降升降升降升降升降升降升降升降升降升降升降升降升降升降升降升降升降升降升降升降升降升降升降升降升降升降升降升降升降升降升降升降升降升降升降升降升降升降升降升降升降升降降落升降升降升降升降升降升降升降升降升降升降升降升降升降升降升降升降升降升降升降升降升降升降升降升降升降升降升降升降升降升降升降升降升降升降升降升降升降升降升降升降升降升降升降升降升降升降升降升降升降升降升降升降升降升降升降升降升降升降升降升降升降升降升降升降升降升降升降升降升降升降升降升降升降升降升降升降升降升降升降升降升降升降升降升降升降升降升降升降升降升降升降升降升降升降升降升降升降升降升降 升升降升降升降升降升降升降升降升降升降升降升降升降升降升降升降升降升降升降升降升降升降升降升降升降升降升降升降升降升降升降升降升降升降升降升降升降升降升降升降升降升降升降升降升降升降升降升降升降升降升降升降升降升降升降升降升降升降升降升降升降升降升降升降升降升降升降升降升降升降升降升降升降升降升降升降升降升降升降升降升降升降升降升降升降升降升降升降升降升降升降升降升降升降升降升降升降升降升降升降升升降升降升降升降升降升降升降升降升降升降升降升降升降升降升降升降升降升降升降升降升降升降升降升降升降升降升降升降升降升降升降升降升降升降升降升降升降升降升降升降升降升降升降升降升降升降升降升降升降升降升降升降升降升降升降升降升降升降升降升降升降升降升降升降升降升降升降升降升降升降升降升降升降升降升降升降升降升降升降升降升降升降升降升降升降升降升降升降升降升降升降升降升降升降升降升降升降升降升降投降升降升降升降升降升降升降升降升降升降升降升降升降升降升降升降升降升降升降升降升降升降升降升降升降升降升降升降升降升降升降升降升降升降升降升降升降升降升降升降升降升降升降升降升降升降升降升降升降升降升降升降升降升降升降升降升降升降升降升降升降升降升降升降升降升降升降升降升降升降升降升降升降升降升降升降升降升降升降升降升降升降升降升降升降升降升降升降升降升降升降升降升降升降升降升降升降升降升降升降降低升降升降升降升降升降升降升降升降升降升降升降升降升降升降升降升降升降升降升降升降升降升降升降升降升降升降升降升降升降升降升降升降升降升降升降升降升降升降升降升降升降升降升降升降升降升降升降升降升降升降升降升降升降升降升降升降升降升降升降升降升降升降升降升降升降升降升降升降升降升降升降升降升降升降升降升降升降升降升降升降升降升降升降升降升降升降升降升降升降升降升降升降升降升降升降升降升降升降升降升华升降升降升降升降升降升降升降升降升降升降升降升降升降升降升降升降升降升降升降升降升降升降升降升降升降升降升降升降升降升降升降升降升降升降升降升降升降升降升降升降升降升降升降升降升降升降升降升降升降升降升降升降升降升降升降升降升降升降升降升降升降升降升降升降升降升降升降升降升降升降升降升降升降升降升降升降升降升降升降升降升降升降升降升降升降升降升降升降升降升降升降升降升降升降升降升降升降升降升降华降升降升降升降升降升降升降升降升降升降升降升降升降升降升降升降升降升降升降升降升降升降升降升降升降升降升降升降升降升降升降升降升降升降升降升降升降升降升降升降升降升降升降升降升降升降升降升降升降升降升降升降升降升降升降升降升降升降升降升降升降升降升降升降升降升降升降升降升降升降升降升降升降升降升降升降升降升降升降升降升降升降升降升降升降升降升降升降升降升降升降升降升降升降升降升降升降升降升降华隆升降升降升降升降升降升降升降升降升降升降升降升降升降升降升降升降升降升降升降升降升降升降升降升降升降升降升降升降升降升降升降升降升降升降升降升降升降升降升降升降升降升降升降升降升降升降升降升降升降升降升降升降升降升降升降升降升降升降升降升降升降升降升降升降升降升降升降升降升降升降升降升降升降升降升降升降升降升降升降升降升降升降升降升降升降升降升降升降升降升降升降升降升降升降升降升降升降升降升降升值 | Y�ньшени погибд Тельноctь pe3аня | Затулипсь升降. | Замень升降. |
| Uстrodu StBO升降,升降. ODнako StOноритс升降. Знauthе�л�升降. Нагузке升降. OTКлочаetc升降. Зашлгог升降. Двигател升降. | Удлinhutь升降ь кабел升降 с铝合金升降ь malinge поpech- hoece. Pozetka с铝合金升降ь далегу удалега OTа- migte рального поcodiminingь malinge поpech- hoez. Hogotra le. Hogotra le. Hogotra le. Hogotra le. Hogotra le. Hogotra le. Hogotra le. Hogotra le. Hogotra le. Hogotra le. Hogotra le. Hogotra le. Hogotra le. Hogotra le. Hogotra le. Hogotra le. Hogotra le. Hogok. Hogotra le. Hogotra le. Hogotra le. Hogotra le. Hogotra le. Hogotra le. Hogotra le. Hogotra le. Hogotra le. Hogotra le. Hogotra le. Hogotra le. Hogotra le. Hogotra le. Hogotra le. Hogotra le. Hogots. Hogotra le. Hogotra le. Hogotra le. Hogotra le. Hogotra le. Hogotra le. Hogotra le. Hogotra le. Hogotra le. Hogotra le. Hogotra le. Hogotra le. Hogotra le. Hogotra le. Hogotra le. Hogotra le. Hogitra le. Hogotra le. Hogotra le. Hogotra le. Hogotra le. Hogotra le Hogotra le Hogotra le Hogotra le Hogotra le Hogotra le Hogotra le Hogotra le Hogotra le Hogotra le Hogotra le Hogotra le Hogotra le Hogotra le Hogotra le Hogotra le Hogotra le Hogotral Hogotra le Hogotra le Hogotra le Hogotra le Hogotra le Hogotra le Hogotra le Hogotra le Hogotra le Hogotra le Hogotra le Hogotra le Hogotra le Hogotra le Hogotra le Hogotra le Hogoter Hogotra le Hogotra le Hogotra le Hogotra le Hogotra le Hogotra le Hogotra le Hogotra le Hogotra le Hogotra le Hogotra le Hogotra le Hogotra le Hogotra le Hogotra le Hogotra le HogOTra le HogOTra le HogOTra le HogOTra le HogOTra le HogOTra le HogOTra le HogOTra le HogOTra le HogOTra le HogOTra le HogOTra le HogOTra le HogOTra le HogOTra le HogOTra le HogOTra le Lagotra le Lagotra le Lagotra le Lagotra le Lagotra le Lagotra le Lagotra le Lagotra le Lagotra le Lagotra le Lagotra le Lagotra le Lagotra le Lagotra le Lagotra le Lagotra le Lagotra le Hogotra le Hogotra le Hogotra le Hogotra le Hogotra le Hogotra le Hogotra le Hogotra le Hogotra le Hogotra le Hogotra le Hogotra le Hogotra le Hogotra le Hogotra le Hogotra le | Исплььзовь с улсйнь сььь Кабел b Кабел b Кабел b Кабел b Кабел b Кабел b Кабел b Кабел b Kабел b Kабел b Kабел b Kабел b Kабел b Kабел b Kабел b Kабел b Kабел b Kабел b Kабел b Kабел b Kабел b Kабел b Kабел b Kабел b Kабел b Kабел b Kабел b Kабел b Кабел b Kабел b Kабел b Kабел b Kабел b Kабел b Kабел b Kабел b Kабел b Kабел b Kабел b Kабел b Kабел b Kабел b Kабел b Kабел b Kабел b Kабел b Kабел b Кабел b Кабел b Kабел b Kабел b Kабел b Kабел b Kабел b Kабел b Kабел b Kабел b Kабел b Kабел b Kабел b Kабел b Kабел b Kабел b Kабел b Kабел b Kабел b Кабел b Kабел b Кабел b Kабел b Kабел b Kабел b Kабел b Kабел b Kабел b Kабел b Kабел b Kабел b Kабел b Kабел b Kабел b Kабел b Kабел b Kабел b Kабел b Kабел b Кабел b Кабел b Кабел b Kабел b Kабел b Kабел b Kабел b Kабел b Kабел b Kабел b Kабел b Kабел b Kабел b Kабел b Kабел b Kабел b Kабел b Kабел b Kабел b Кабел b Kабел b Kабел b Кабел b Kабел b Kабел b Kабел b Kабел b Kабел b Kабел b Kабел b Kабел b Kабел b Kабел b Kабел b Kабел b Kабел b Kабел b Kабел b Kабел b Кабел b Kабел b Кабел b Кабел b Kабел b Kабел b Kабел b Kабел b Kабел b Kабел b Kабел b Kабел b Kабел b Kабел b Kабел b Kабел b Kабел b Kабел b Kабел b Kабел b Кабел b Кабел b Kабел b Кабел b Kабел b Kабел b Kабел b Kабел b Kабел b Kабел b Kабел b Kабел b Kабел b Kабел b Kабел b Kабел b Kабел b Kабел b Kабел b Kабел b Кабел b Кабел b Кабел b Кабел b Kабел b Kабел b Kабел b Kабел b Kабел b Kабел b Kабел b Kабел b Kабел b Kабел b Kабел b Kабел b Kабел b Kабел b Kабел b Кабел b Kабел b Kабел b Kабел b Кабел b Kабел b Kабел b Kабел b Kабел b Kабел b Kабел b Kабел b Kабел b Kабел b Kабел b Kabile Kabile Kabile Kabile Kabile Kabile Kabile Kabile Kabile Kabile Kabile Kabile Kabile Kabile Kabile Kabile Kabile Kabile Kabile Kabile Kabile Kabile Kabile Kabile Kabile Kabile Kabile Kabile Kabile Kabile Kabile Kabile Kabile Kabile |
TexHnueckne daHHbIe
2004/108/ES, 73/23/EGS, 2000/14/ES
Postopek za ugotavljanje skladnosti: 2000/14/ES - Dodatek V. Izmerjen nivo hrupa LwA 103 dB (A).
Garantirani nivo hrupa LwA 104 dB (A).
Ahlen, 01.02.2007

EasyManual