SL 3000 PRO - Saç kurutma makinesi VALERA - Ücretsiz kullanım kılavuzu
Cihazın kılavuzunu ücretsiz bulun SL 3000 PRO VALERA PDF formatında.
Kullanıcıların soruları hakkında SL 3000 PRO VALERA
0 soru bu cihaz hakkında. Bildiklerinizi cevaplayın veya kendinizinki sorun.
Bu cihaz hakkında yeni bir soru sor
Cihazınız için talimatları indirin Saç kurutma makinesi PDF formatında ücretsiz! Kılavuzunuzu bulun SL 3000 PRO - VALERA ve elektronik cihazınızı yeniden ele alın. Bu sayfada cihazınızın kullanımı için gerekli tüm belgeler yayınlanmaktadır. SL 3000 PRO markasının VALERA.
KULLANIM KILAVUZU SL 3000 PRO VALERA
Sac kurutma makinası
ΦeH
ΦeH

壁挂式干发器
1g
Sušilo za kosu
Fen
Sušilec za lase
Sušić
Type: 530..
541..
533.. 542..
543..
544..
545..
553..
554..
560..
561..
580..
581..
583..
584..

Fig 1 mod: 543.. 544.. 545...
Fig 1 mod: 530.. 541.. 553.. 560.. 580.. 583.. 533.. 542.. 554.. 561.. 581.. 584..

EN Hairdryer Translation from original instructions 4 EL 49
DE Haartrockner 7 HE 52
Sèche-cheveux
Traductions à partir des instructions d'origine 10 TR Saç kurutma makinasii
Orijinal talimatlarin cevirisi 55
IT Asciugacapelli 13 UK ΦeH Ipeeknad 3 opriinbnhx iHctpykui 58
Es Secador Traduccion de las instrucciones originales 16 RU PeheBoc c opnHaHbHbIX HcTpyKm 61
Haardroger 19 AR 64
Secador 22 ZH 壁挂式干发器 67 Traducao das instruções originais
Hartorkeren 25 FA 72
Hårtork Fen SV Oversättingar frän originalinstruktioner 28 HR Prijevodi po originalim uputama 73
Hiustenkuivaaja Fen Alkuperaisen kayttoohjeen kaannos 31 SR Prevod sa originalog uputstva 76
Hartrere Suilec za lase DA Oversaettelser fra oprindelige anvisninger 34 SL Prevod izvirnih navodil 79
Hajaszárito 37 SK Sušić Preklad z originálneho námody 82
CS Vysousce vlasu Prklad originlichPokynu 40
Uscator de pár Traducerea instruuntilor originale 43
PL Suszarka do wlosow Tlumaczenia oryginalej instrukcji 46
English
INSTRUCTIONS FOR USE
Bu kullanim talimatlari n dikkatle okuyun.
www.valera.com adresinden de temin edilebilar
GÜVENLIK UYARILARI
- Önemli: İlave koruma-SAğlamak ileçın cihazı beslemek üzere monte edilen elektrik sistemine maksimum 30 mA ara akimi bulunan bir diferansiyel kese;cisi takilması onerilir. Daha fazla bilgi icin yetkili bir elektrik teknisyenine basvurun.
- Kullanmadan once cihazın tamamen kuru olduğundan emin olun.

DİKKAT: Bu cihazı küvetin, lavabonun veya su iceren dhekapların yakınindo kullanmayın.
- Bu cihaz, 8 Yaş üzerindeki;cocuklar ve fiziksel,duyusal veya zihinsel kapasitesi k,isitl olan,ya da deneyimi veya bilgisi olmayan kisiler tarafindan bir yetiskin gozetiminde bulunduklarinda veya cihazin guvenli kullanı ile ilgili yeterli derecede bilgilendirildiklerinde ve olasi tehlikelerin bilincinde oldukları takdirde kullanilabilir.
- Cocuklar cihaz ile oynamamalidir.
- Temizlik ve bakim ilemleri yetişkin gozetiminde olmayan;cocuklar tarafindan yapilmamalidir.
- Eger herhangi bir bozukluk varsa cihazı kullanmayınüz. Elektrikci cihazları asla kendi besoinı za tamir etmeye kalkmayınüz, daima yetkili bir tekniyeten;cagırınüz.Elektrik kablosu,hasarl olması halinde herhangi bir riski onlemek icin imalatçi firma veya teknik destek servisi tarafindan ya da benzer vasiflara sahipbir kişi tarafindan degistirilmelidir.
- Cihaz banyoda kullanildigiind, kullandiktan sonra fişini prisden,—cekiniz"—suyun varligi, cihaz kapal bile olsa bir tehlike arz eder.
Cihazi yalnizca alternatif akim cikisina takin. Cihaz uzerinde belirtilen voltaj siniri ile elektrik sebekenizin uyumlu olup olmadigi ini kontrl edin.
Cihazi kesinlikle suya veya baska sivilara batirmayin.
Cihazi suya veya baska bir sivya dusebilecegi bir yere kesinlikle birakmayin.
Suya duşen bir elektrikli cihazi Çiarmaya calismayin, hemen fisini elektrikten Çekin.
Cihazi yerine birakmadan once mutlaka kapatin.
- Kullanim sonrasinda dacurutma makinesini mutlaka kapatin ve fisini prisden cekin. Fisi prisden cikarmak icin cihazin kablosundan cekmeyin.
- Saç kurutma makinesini hava giriş ve çişi Üşgaralari tikanmisi veya engellenmi olmayacak sekilde calistirin
Cihazi yerine kaldirmadan once sogumasini bekleyin kesinlikle kabloyu cihaza dolamayin.
- (Yalnizca Tip 560., 580., 581, 583., 584.) Buacific kurutma makinesi profesyonel kullanim icin tasarlanmistr. Maksimum sicutlik degelerine ayarlandiginda, cok sicut hava verir. Evde kulanildignda, saclarin veya sac derisinin zarar gormesini onlemek icin daha din sicaklik degeleri secin veya tek bir saç bolgesi uzerinde uzun sure tutmayin.
Önemli
Sac kurutma makinesi, elektrikli aletlere iliskin guvenlik yonetmeliklerine uygundur.
Bu saç kurutma makinesinin asiri sinmalarara karsi otomatik güvenlik kesintisi bulunur. Alet birkac dokika soğuduktan sonra kendisini resetleyecektir. Ancak makineyi tekrar kullanmadan once hava giris Çişmenfezlerinin temiz olduğuna)dikkat edin.
Bu cihaz 2004/108/CE, 2009/125/CE, 2006/95/CE Avrupa Direktiflerine ve su duzenlemeye uygundur: (CE) N. 1275/2008.
KULLANIM SEKLI
Dugmeler
Model 530., 533., 541., 542., 553., 554.
ON=acik/kapali (cihazi calistirmak icin basili tutun) (yalnizca bu duğme bulunan modeller icin)
0=kapali (yalnizca bu konumun bulundugu modeller icin)
COOL=lik hava (yalnizca bu konumun bulundugu modeler icin)
1=sicak hava/hafif hava akimi (yalnizca bu konumun bulundugu modeller icin)
2=cok sicak hava/guci hava akimi (yalnizca bu konumun bulundugu modeller icin)
COOL fonksiyonu (bu fonksiyonun bulunduguacific kurutma makinerleri icin)
COOL fonksiyonu sąclara hacim vermek ve daha gür östermek ve sac modelinizin;mukemmel bir sekilde korunması-SAglamak
için idealdir. Bu fonksiyonun kurutma aşamasinda kullanilmasi onerilir.
Hava yogunlastrupici
Saçları hizl bir sekilde kurutmak ile ideal aksesuardır. Fırçaya yardı ile en iyi sonuçlarin alınması olanak verir. Bu yogunlaşkıci saysinde sicut keva soğuk hava akimini tek bir-SAÇ tutam üzerinde yogunlaşirarak saçıniza istedgüniz sekli verebilirsiniz.
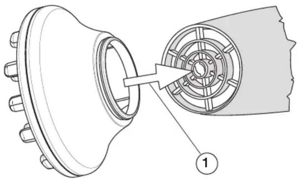
Difuzor veya "Hacim" Difuzoru (bu aksesuarlarin bulundugu cihazlar icin)
Saca hacim vermek ve kivircik veya permali saclara dogal bir yumusaklik kazandirmak icin ideal bir aksesuardir. Halen nemli haldeki (fakat islak olmayan) sac tutamlarini alin ve yukariyaDOGRU tutun, difuzorden gelen havanin parmaklarinizinarasindangeçmesine izin vererek kurutun.
Difuzorun montaji:bkz sekil 1
"Hacim" difuzorunkullinmasi halinde, difzorun "parmaklarini" elinizle oldugu gibiogrudan saqin icerisine gecirin, buradan cikan sicak havanin saclari diplerden kabartarak daha fazla hacim vermesini saglayin.
Dikkat: dagitici parçayi alete takṭiqinizda sadece en Düşuk hiz/isi ayarinda kurutma yapin.
Filtre (bu aksesuarin bulundugu modeller icin)
Sac kurutma makinesi, toz ve saç kalintilarinin fanda birikmesini onleyen, Çikarilabilir bir filtre ile donatilmıstir. Filtre su ultina tutularak yikanabilir. Filtreyi saç kurutma makinesinden Çikarmak icin arkadaki hava giris izgarasini ayirmak yeterlidir. Filtreyi temizledikten sonra tekrar makineye takmadan.Once tamamen kuru olmasina ozen gosterin. Sonra arka izgarayi makineye tekrar takin.
Voltaj seci ci (bu aygitn bulundugu modeller iin)
Sac kurutma makinesi bu aygirtla donatilmis ise, prize takmadan once voltaj ayarini kucuk bir tornavida veya benzeri alelety yardimiyla, elektrik ikmalinize gore 110 - 125 V veya 220 - 240 V'ye getirin.
Ionic Wellness
(bu aygitin bulundugu sac kurutma makinerleri icin)
Bu fonksiyon milyonlarca arindirici negatif iyon ureten bir jenerator ile iliskilidir.
Iyonlar neder?
iyonlarDOGADA bulunan elektrik yijklu partikullerdir.Negatif yijklu iyonlar, kirelici maddelerin buyuk bir kismini atmosferde tutmak suretyle havanin kirlenmesine katika bulunan positif yijklu iyonlarnotreistirerek,bunlarin tam tersine havanin temizlenmesine yardimci olurlar.
Bir fertina sonrasinda ya da temiz,DOGAL ve canlandirici havanin bulundugu, kendinizi iyi hissetmenizi saglayan deniz veya dag ortaminda, selalelerin ve su kanallarin yakinanda cok miktarda negatif yukli iyon bulunur.
Saçlariniz icin en iyi nemlendirme
Negatif yüklü iyonlar-SAçtaki nemin gereken sekilde muhafaza edilmesine yardimci olur. Bunlar esas olarak yeti yikanmis saçlarin üzerinde bulunan su partikullerini mikronize ederek saç telinin üzerinde daha fazla miktarda bir emilim sāglamak suretyle saçınDOGAL nem dengesini duzenlerler.
Saccta balsam etkisi
Daha iyi nemlendirme saclarinizin yumusatilmasina yardimci olur, canlandirici bir etkisi vardir ve saclari daha yumusak ve kolay taranir kilmakla birlikte hacim ve isilti kazandirr.
Elektrostatik yuk veya "fly away" etkisi giderme
Negatif yüklü iyonlar-SAçlardaki elekrostatik yüku ve "fly away" etkisini (kabarić saçlar) ve burusukluğu azaltmaya yardimci olurlar.
Arindirici etki
Sac kurutma makinesinden)yayilan negatif yuklu iyonlar hava kirtletici partikullerin (pozitif veya notr yukler) birbirlerine yapisarak agirlasmalarina ve yercekiminin etkisiyle yere duqmelerine neden olarak havanin temizlenmesini saglarlar.
Ayrica, saç kurutma makinesini her kullanisinizdan sonra, ferah bir koku hissedeceksiniz: kokulari gideren ve saclarinHENUz yikanmis oldugu hissini veren ozon. Duman kokusunu ve ortamdaki diger kokulari giderir.
TEMIZLIK VE BAKIM
Aleti temizlemeden once mutlaka fişini prizden Çikarin.
Cihazi su ile islatlmi s bir bezle temizleyin.
Ancak makineyi suya veya baska sivilara sukmayin!
Sac kurutma makinesi tozdan korunmalidir. Gerektiginde yumusak bir firca yardimiyla hava giris ve cikis izgaralarit temizlenmelidir.
DlKKAT: Saç kurutucusunun deterjan, czüci, alkol veya farkli kimiyasallarla temizlenmesi kesinlikle yasaktir.
Degisiklikermumkundur.
ÖNEMLI
Bu kullanim standardina dahil olarak listelenen saç kurutucularin tamami, yüksek siklikla ziyaret edilen halka acik yapilarda, jimnastik salonlarinda, bakim/spor salonlarinda, kulüplerde, spa vs. gibi yerlerde kurulum ve kullanim icin uygun DEGILDIR.
Dusuk yogunluklu musteri trafiginin sos konusu oldugu kucuk kamu tesisleri, spor salonları, bakim/spor salonlarinda spa'larin kurulum ve kullanimi icin Valera özellikle su modelleri tavsiye eder: SN9000 P·583.11/P·584.02/IP.
Garanti
VALERA satin aldgimiz urunu su sartlarda garantilemektedir:
- Ürünü satin aldgüniz ülke de bulunan resmi dagitümiz tarafindan belirlenen garanti Şartlari gelerlidir. Üsünre ve Avrupa Ülkelerinde garanti suresi evde kullanim icin 24 ay, profesyonel veya benzeri kullanımar icin ise 12 aydir. Garanti suresi urünün satin alma tarihinden itibaren stellt. Satin alma tarihi, sati tarafindan doldurulmş ve mühürlenmis garanti belgesi veya satis belgesi üzerinde bulunan tanih olarak kabul edilir.
- Garanti yalnizca bu garanti belgesinin veya satis belgesinin sunulmasi ile uygulanabilir.
- Garanti, garanti suresindeDOGan, herhangi bir malzemedeki arizanin veya uretime bagli alan hatalarin giderilmesini kapsamaktadir. Urunun hatalarinin giderilmesi onarim veya urunun degistirilmesi ile gereklesir. Uygun olmayan elektrik baglantisi, urunun hatali kullanimi, ya da kullanim kurallarin hatali uygulanmasindan kaynaklanan sorunlar veya arizalar garanti kapsami disindadir.
- Özellikle ürünün disinda bir zararin karslanması gibi herhangi Türde bir talep, yürülükte GPLan yasalarin öngörduğu sorumluluklar disinda kabul edilemez.
- Garanti servisi ucretsiz uygulanmaktadir; servis, garantis uresinin uzamasi veya yeni bir surenin baslamasi anlamina gelmez.
- Ürün yetkili olmayan kisiler tarafindan kurcalandiği veya tamir edildigi taktirde, garantı suresi dusmektedir.
Ariza oldugunda urunu, iyi ambalajlanmis ve satici tarafindan tarihi eklenerek muhurlenmis olarak, yetkili yardim merkezime geri getirebilir, ya da garantili onarim icin resmi ithalatciya gonderecek olan saticiniza basvurabilirsiniz.

Urunun ya da ambalajinin uzerindeki simgesi, bu urunun normal ev copu gibi atilmayip, elektrik ve elektronik cihazlarin geri donusum icin verildigi ozel toplama noktalarindan birine verilmesi gerektigini belirtir. Bu urununDOGru sekilde imha edilmesine katkida bulunmakla hem cevreyi, hem de cevredekilerin sagligini
korumus olursunuz. Yanlis sekilde imha ishe hem cevreye hem de sagliga zararlidir. Bu urunun geri donusumune iliskin daha ayrintili bilgileri belediyenizden, cop dairenizden veya urunu satin almis oldugunuz saticidan edinebilirsiniz.
VALERA tescilli bir Ligo Electric S.A - Isvige markasidir.
YkpaIHcbka
IHCTPYKJI3 EKCPIIyATAJI
Yeaxno npouumaume uio ihcmpkyuo
DocTynni TaKoX Ha caTti www.valera.com
ПОЕРДЖEHня
Baxnbo: Ira rapahti DodaTKOBo 6e3neKn peKomeHdoBaHO BCTaHOBTN B OCHOBHI eNEKtpomepeXi, Do koi PidknOyeHO npnaI, dnepeHcHne pele-3anobixnK, po3paxoBaHe Ha iHTepBeHcHm cTpyM B 30 mA. Iy 6ilbW DetalbHo iHopMaui 3BepHiTbcrdo KBaJIΦIKoBAHO rEeKTPnka.
- Перед Викорисаннам пиладу посяноюв Тому, со вин cyхш.

-
YBAG: He kopructyTeCb npuadom B BaHni a6o niD nyweM, 6iJa 6aceHIB a6o iHux emHOCTe3 BOHO.
-
LIM npiladom mojytb kopnctybaTncra diTn cTapwe 8 pokib i oco6n 3 obmexeHmN fizHmN, ceHCOPHMn a6o po3ymOBmN MOxJIINBOCTaMn, abo TaKIMN, 10 He BOJODIOTb DOCTaTHIMN 3HaHHMaN yMiHHaMn, k2o BOHn nepe6yBaHTb nID DOrIaDM, abo Jk2o BOHn IpoIHCTpyKTOBahi 2oDo 6e3neuHoro BVKOpNCtAHNr npilady uCBiDOMNIOTb NOB'3aHy 3 Hm He6e3neky.
CniikkyiTe, 06 dItn He BnkOpncToBvBaann npnaad Irop.
-Операцii 3 чисткий догладу He NOВИНHi npOBODHTncb DiTbMn 6e3 HarglaDy.
He KopnctyItecb HecnpaBnHm npniladom. He HamaraItecra camoctiHNO pOlaRoDHTN eJeKTPoPpNJad, 3BepHITbcra Do ynoBHOBaJxHoro qaxiBzra. 3 MeTOH 3aNo6irAHnRA pN3NKIB 3aMInHy HecnpaBHO Ro shHpy XnBJIeHNr MaE BnKOHyBaTn BnPo6HnK, qaxiBci 3 NOrO cepBicHO r ceHTpy a60 qaxiBci 3 BiIDNoBIDHOU KBaJIqikaicio.
-Пися ВИКОРистань пиладу у ванни кIMнati Heo6xIDHO BnHЯТВИЛКУ shHupyЖИВлeHHЯ i3 po3etKN, TOMy lo He6e3neuHo TpIMaTINno6ln3y BiД BODи HabiTb BIMKHyTи пилад.
BmkaTe npnlaTinbKn B Mepexy 3miHoro ctpmy Ta nepeBipraTe, uo6 Hanpyra B mepexi cnibnada 3 Hanpyroio, Bka3aHOHa npnadi.
- He 3aHypoIte npnad B Body Ta B iHwi piDHH.
He knaitb npnad tyu, 3Bikn BIn MOKe Bnactn B Body a6o inuy piiny.
He Hamarantecn dictaH enektpnHn npncpti, 0Bnab B Body, TepmiHO BO BtA rHtB BNky 3 po3kN.
BmKHTb npnnaep TMM, kNpoknaTn Ioro.
PicnKopcTByaHn npnaDom oob'3KOBo BiKJIOUHTb NOro i BNTRnHtB BNkY 3 po3ETKn, ane HIKON He TrrHtB NOrO 3a Lhyp.
He 3a6yBaIte noCTiHNo npeBiprTn, qN uNCTi peuitKn BxIDHOra BxIXIDHO rO TbOpIB.
JaTe npuNaIy oxoNoHTn nepeTUM K36epiratN Ioro Ta He o6MOTyTe 5Hyp XNBHeHH HaBkoN OeHa npu 36epirahHi.
(TINbKnIgmoJn560..,580..,581,583..,584.) LcHfEN DnB ONoCCN pIn3HaueHn DnI npOpeciHoro KOpNCyBaHH. Pn HanaWtYBaHHi Ha MaKcImaJIbHi NOKa3HKn TEmnepatypn Feh BpO6JIe Dnyke rApYe NOBITpy. Pn KOpNCyBaHHi B Domaunix yMoBax, 0o6 YHNKHyTN NOWKoDKeHH B ONoCCra Ta WkIpN, BCtAHOBNIuTe HNkCiy NOKa3HKn TEmnpatypn I He 3aTpMMyTEcb HaITo DOBro Ha OKpeMnx NaCMX BONoCCr 3OHx RoNOBn.
Baxnbo
Dahn phen Biinobiidae IHCTpyKUIm 3 6e3neKn eJIeKTPoBnpo6IB.
Phen oIbnHnn 3anO6ixHKnOM, knn cnpauoe B paiz Ioro neperpiBy. PicJy NEbHOr npomixkyyacy phen BiHOBNTb po60ty. PpeJ KOxHM BnKOpNCtAHnM npeBipnTe, Hn He 3a6pydHeH peWITKN BxIDHORo Ta BNXIDHO rTbOPiB.
Ley npnla Bijnobiae Bmorm Ebponeccknx DnpeKTHB 2004/108/CE, 2009/125/CE, 2006/95/CE Ta perJamaHTy (CE) No 1275/2008.
IHCTPYKLIIO BNIKOPNCTAHHIO
Tym6JIepn
Modenb 530., 533., 541., 542., 553., 554.
ON=yBIMKHeHO/BUMKHeHO(TPMAtnHaTNCHTM Dnpo6oTn npnaDy)-(TJbKnDnMaOdeNei,L0MaIOThcIooYHKuio)
Saticinin mühur ve imzasi
Neyatkai nignnc npoepbua
Nevatb n noannc npadaa
A
经销商盖章
a^3b^3( a^2b^3 + ^32) = 8b^9 + 8b^6
Peçat I potpis distributera
KolayKılavuz