Rhodos Junior - Parasol SCHNEIDER - Bezpłatna instrukcja obsługi
Znajdź bezpłatnie instrukcję urządzenia Rhodos Junior SCHNEIDER w formacie PDF.
Pytania użytkowników dotyczące Rhodos Junior SCHNEIDER
0 pytanie dotyczące tego urządzenia. Odpowiedz na te, które znasz, lub zadaj własne.
Zadaj nowe pytanie dotyczące tego urządzenia
Pobierz instrukcję dla swojego Parasol w formacie PDF za darmo! Znajdź swoją instrukcję Rhodos Junior - SCHNEIDER i weź swoje urządzenie elektroniczne z powrotem w ręce. Na tej stronie opublikowane są wszystkie dokumenty niezbędne do korzystania z urządzenia. Rhodos Junior marki SCHNEIDER.
INSTRUKCJA OBSŁUGI Rhodos Junior SCHNEIDER
Instrukcja montazu i obstugi
Parasol Ampel Model Rhodos Junior (Nr art. 786-00)

Szanowski Klienci,
Gratulujemy zakupu nowego parasola snonecznego.
Zakupili Państwo produkt wysokiej jakosci, sąze technicznej.
Aby dlugo korzysta c z unto parasola, prosimy kilka minut czasu poświęcić na przyȩzytanie instrukcj montaqu i obstugi.
Prosimy postępowac zgodnia z instrukcjami i zachować niniejsza instrukcję.
Wskazówki ogólne

Podczas montazu nie dopuszczac przycieci.
Parasola silestoneg noigdy nie ustawiać na miękkim, piaszczystym i wilgotnym podłoź.
W razie wiatru zamknac parasol i zabezpieczyc pasem.
Nigdy nie pozostawiać parasola bez nadzoru w pozycji otwartej.
Nie ponosimi odpowiedzialnosci za szkody spowodowaniewlasciwym uzytkowaniem.
Budowa i montaż
Prosimy sprawdzić kompletność czȩsci dostawy. Ješli pomimo staransej kontroli jakosci jakaść jest uszkodzona lub brakuje jej, prosimy skontaktuwość są ze sklepem, w tym zakupiono parasol. Prosimy zachowania karton dla ewentualnégo odesłania dla celów gwarancyjniych.
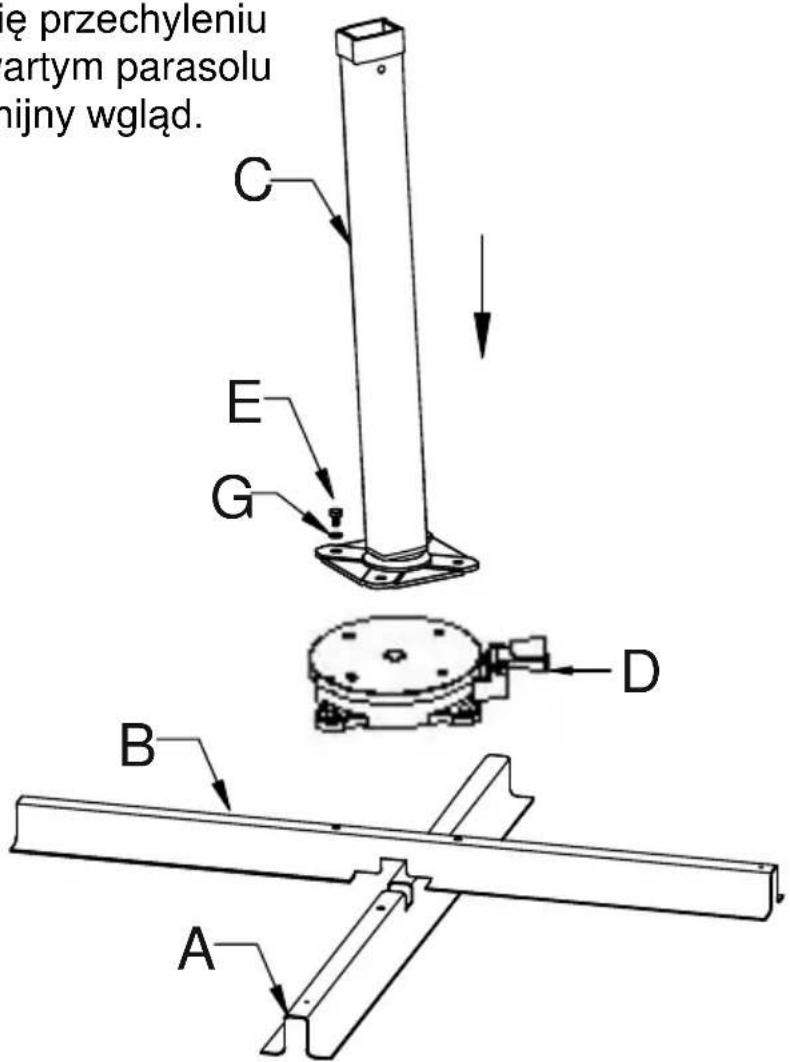
Wykaz częsci
| Nr., częsci: | Nr artykułu: | Rysunek / opis: | Liczba: |
| A | 9112-786-00 | Stojak na płyty, czȩść dolna | 1 |
| B | 9111-786-00 | Stojak na płyty, czȩść górna | 1 |
| C | 9113-786-00 | Stojak rurowy | 1 |
| D | 9122-786-00 | Płyta obrotowa | 1 |
| E | 9114-786-00 | Śruba M8x14 | 4 |
| F | 9114-786-00 | Śruba M8x20 | 4 |
| G | 9114-786-00 | Podkładka | 8 |
| H | --- | Parasol | 1 |
| K | 9114-786-00 | Klucz inbusowy | 1 |
| L | 9153-786-00 | Nakrywka na stojak rurowy, dwuCzęsciowa | 1 |
| M | 9119-786-00 | Pokrowiec | 1 |
W sprawie zamówieteniaXXXXXXXXZAMIENNYCH prosimy zwracać sie do skelepu, w którym dokonano zakupu parasola.
Abyunikacja pomyłek prosimy uzywać podanych powyȩj numerówartykuław.
Montaż
Obydwie częsci stojaka (A + B) połozyc na siebie jakPokazano i przy pomocy płyty obrotowej (D) mocono skȩcić.
Uzyć srb M8x20 (F) z pod.§adkami (G).
Następnie skȩcie stojak ruowy (C) z płyta obrotowa (D). Użyc srbu M8x14 (E) z pod.§adkami (G).
WSKAZÓWKA:
Stojak rurowy pochylony jest o 3^ do tyfu.
To jest prawidlowe i nie stanowy podstawy do reklamaggi.
W ten sposób zapobiega są przechyleniu masztu do przy otwartym parasolu i nadaje parasolowy harmonijny wglad.

Ustawic zmontowany stojak na pfyt w przywidzianym.), Podłość powinno byc twarde i poziome.
Teraz wlozyc 4 pplyt chodnikowe do stojaka.

UWAGA:
Wszystkie cztery płyty chodnikowe musza miec
bezwzgliednie wymiary 50× 50× 5 cm!
Stojaka parasola nigdy nie uzywać bez płyt chodnikowych.
Nałoźyc teraz nakrywkę (L) jak pokazano na płyte obrotowa.

Następny krok montaqu naleź wykonac z pomocnikiem ze względu na duź cięzar parasola.
Wstawic parasol jakPokazano do stojaka rurowego.
Zwrócić uwage na to, aby parasol nie był ustawiony skosnie.
Unikać upuszczenia parasola, gdyż mogłowby to spowodowej uszkodzenia zarówno parasola jak i pokrzywy.

Obstuga
Otwieranie:
Obracanie korba w kierunku zgodnym z ruchem wskazówek zegara powoduje otwieranie parasola.

Upewnić sie,czy podpory skość na parasolu nie są skrzywione. W razie potrzeby konc podpor skośnych lekkopociąnac na zewnatrz.

Upewnić sie,czy parasol bez przyszkódromatic otworzyc (sciana domu,stóf,drzewo,...)
Podczas otwierania parasola przyez pokrpecanie korba, odblokować dzwignie ręczna na uchwycie i przytesuwac są powoli na drażku do góry.
Parasol jest calkowicie otwarty, gdyPokrycie jest napięte.
Parasol zawsze otwierać calkowicie.

Obracanie:
Nacisniecie na pedał noźny powoduje odblokowania pły obrotowej (D).
TerazMZnoaobrOciopozadanepoTozenie.
Zwolnienie pedalu powoduje ponowne zablokowanie plyty obrotowej.
Parasol zablokować w następnym położeniu.

Blokada w pożadanym pochyleniu dachu:
Dzwignie ręczna na uchwycie mocono wcisné i przyez przyzesuniȩcie ustalić poźadane nachylenie dachu.
Zwolnienie dzwigni ręcznej powoduje zablokowania parasola w nastepnym połozeniu nachylenia dachu.

Zamykanie:
Aby zamknac parasol wcisnac dzwignie rcczn na uchwycie i obrocić korbe (I) w kierunku przyciwnym do ruchu wskazowek zegara, w kierunku „ZU". Jednoczesnie uchwyt;będzie powoli przycesuwac sie w doł na drażku.
Zamkniety parasol zabezmieczyc pasem.
Przy dluszym nie uzywaniu lub deszcu zaolecamy załość dostarczonyPokrowiec.
Czyszczenie:
Luźny brud lub pył usunanść miękka szczotka.
Regularne splukiwanie czysta woda zapobiega gromadzeniu sie Większych zanieczyszczcen.
Przywcyszych zanieczyszczeniach parasolCzo naczyscić letnia woda ztagodnymi mydlinami.Do unto celu uzywać gąbki lub miękkiej szczotki.
Uwaga, ponieszne metody czyszczenia nie nadaj sie:
Uzywanie myjek wysokocisnieliych (usuwa impregnacja ochronna)
- PraniePokrycia w pralce (usuwa impregnacione ochronna i uszkadzaszwy)
- Srodki czyszczace szorujace lub ostre
- Czyszczenie goręcą woda (möze spowodowej rozchodzenia są materiały)
Przechowywanie:
Parasol przechowyac zawsze w suchym.),

Jesli parasol nie byt uzywany przyez dluszysz czas, zwróci uwage na to,czyPokrycie jestSuche.W przechiwnym wypadku moga wystapić zawilgocenia i zaplesnienia.
Płyta obrotowa zawiera dwa Łoźyska kulkowe wysokiej jakosci. Łoźyska te są zabezmieczone przydzwiedzycy zwoje zwoje zwoje zwoje zwoje zwoje zwoje zwoje zwoje zwoje zwoje zwoje zwoje zwoje zwoje zwoje zwoje zwoje zwoje zwoje zwoje zwoje zwoje zwoje zwoje zwoje zwoje zwoje zwoje zwoje zwoje zwoje zwoje zwoje
Wskazówki bezpieczewska:
Ten parasol sstoneczny chroni przyzed bezposrednim promieniowaniem UV. Dla pełnej ochry, sąze przyzed posrechnim promieniowaniem UV, prosimy uzywać dodatkowo odpopiewedni kosmetyczny srodek przechiwstoneczny.
Podczas deszczu lub opadów sniegu parasol nalezy zamknac – niebezpieczeństwo złamania.
W razie zagrożenia wiatrem parasol natychmiast zamknac i odpowiednio zabezpieczyc (taśma,Pokrowiec).
Otwartego parasola nigdy nie zestawiać bez nadzoru.
Dzieci nie zostawiać bez opieki samych przy parasolu.
Parasol nie nadaje są do użycia na tarasach dachowych lub innych mistręszech naraźonych na wiatr!
Tylko do uzytku prywatnégo na zewnatrix!
Bezwzgliednie uzywac pplyt chodnikowych o Rozmiarach 50x50x5 cm.
Mniejsze płyty są za lekkie i znacznie zmiejeższejstabilnosć parasola.
Pod parasolem lub obok niego nigdy nie uzywać grilli (gazowych,
węglowych, elektrycznych) ani nie roznieść otwartego ognia – niebeźpieczeniastwo pożaru. Wyrzucane istkry mogą uszkodzić parasol.
Pod parasolem nigdy nie uzywać urzadzen grzejnych (gaz, podczerwień) – niebezpiecześćtwo pożaru.
Mamy nadzieje, ze naz nowy parasol da Państwu duźo zadowolenia.

SCHNEIDER
SCHIRME
Pozor, nasledujuce druhy cistenia nie su vchodné:
- použivanie vysokotlakového Čistica (odstrańuje ochrannú impregnáciu)
- pranie pot'ahu v préčke (odstražuje ochrannú impregnáciu a poškodzuje švíky)
drhnuce alebo agresivne cistiace prostriedky - Čistenie horúcou vodou (möze sa zbehnú't látka)
Uskladnenie:
Uskladnite slnečnik vždy na suchom mieste.

ProstaInstrukcja