Rhodos Junior - Parasol SCHNEIDER - Free user manual and instructions
Find the device manual for free Rhodos Junior SCHNEIDER in PDF.
User questions about Rhodos Junior SCHNEIDER
0 question about this device. Answer the ones you know or ask your own.
Ask a new question about this device
Download the instructions for your Parasol in PDF format for free! Find your manual Rhodos Junior - SCHNEIDER and take your electronic device back in hand. On this page are published all the documents necessary for the use of your device. Rhodos Junior by SCHNEIDER.
USER MANUAL Rhodos Junior SCHNEIDER
Hnkora He octabaite rpaHnckna Yadbp OTbOpEn 6e3 Hnd3Op.
He HocnM OTROBOPHOCT 3a NOBpeDN, KOINTO Ca PnUHHeH N OTHnpaBnHa yNtpe6a.
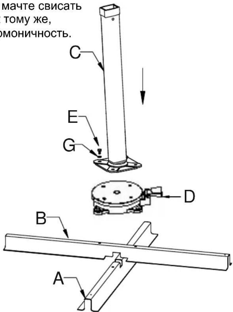
Kohctpykncn MOHTaK
Пювере Дади BCИЧКУ actи ca HaIynch. Ako Bbпрк ИсИгуноВиСОКо KaueCTBO HЯКОчAcTe e DeФeKTHa IIN JINNCBA, CBbPxeTe ce CТьproBEca, OT KOROTO cTe 3akyniJn Yadlbpa. Ako e Bb3MOxHOb,СыханяBaIte KapToHa 3a eBENTyaJIHOb BpbUaHe 3a rapaHcNoHn ZeJI.
Cпськ Ha частиTe
ToBa e npabnIHO n He e OCHOBaHne 3a peKlaMaZn.
Taka ce npedotbpaTЯBa yBnCbaHeTo Ha pamOTO HappeI npi OTbOpEn YaDbp I Ce npndaBa XapMOHnueh BbHseH BnD Ha yaDbpa.


Noctabete MOHTnpaHata cToKa 3a IIOuHa npeBnDEHOTo MxCTO.
OcnrypeTe 3dpaba Hxopn3oHTaJIHa OCHOBA.
IocTaBete 4-Te nIoUv B CToiKaT a 3a nIoUv.

BHIMAHNE:
3aIbJIxNtJHNO NOCTaBeTe BCNUKNTe YeTnpn IIOUc C pa3Mepu 50x50x5 cm!
Hnkora He n3noI3BaIte cToIkaTa 3a yadbp 6e3 IIOU.
IocTabete kana (L), KaKTo e noka3aHo, BbPxy BbptTaaTa ce nlaCTnHa.

Iopadn no-roJMaTa TeXeCT Ha YaDbpa Tp8Ba Da n3NbHInTe CLeDbAaTa CTbPkA OT MOHTaKa C NOMOuHK.
IocTaBeTe yadbpa, KaKTo e NOKa3aHo, Ha dpbXkata.
BnImaBaIte YadbPbT Da He Ce n3KpNBn.
I36yBaIte nadHeTo Ha yAdbpa Hnpei, Taka Moat da ce nobpejT KaKTo YaDbpbT, Taka N KanaUkata.


O6cnyXBaHe
OTbapЯHe:
Upe3 3aBbPtaHe Ha pbKOXBaTkata No Nocoka Ha yacOBHnKOBaTa CTpeJIka YadpbT ce OTbapr.

YBepTe ce,Ye cPiuTe Ha Yadbpa He ca N3KpNBHeH.
EbeHTyaIHO IeKO n3dbpnaTe Kpaunata Ha cPiuTe HABbH.

YBepTe Ce, Ye yadpbT MoKe Da ce OTbapr CBO6OdHo (He e DO CTeHa, Maca, DpBO, ...)
Дokато OTваряTe уадьра уpe3 3aВьртаHe Ha рькoxBaTkata, OCBOбодerte рьчня Лост на ДрьжКаТи 6abHOrTo ПльзHeTe Harope NO дрьжКаТa.
UaIbpbTe OTBOpEN HaIbJIHO, KOrato KynOJIbTe e OnbHaT.
BnHaI OTBapIe YaIbpa DOKpa.

3aBbPTaHe:
Upe3 HaTnckaHe Ha KpaHnI peaI BbPraTa Ce IJaCTHa (D) ce OcBo6OxJaBa.
Cera mojete da 3aBbptnte yadba B keJaHaTa no3nna.
BnMaHne, cIeHNTe NOuNCTBaHnA He ca NODxOJaU:
- I3ПОЛЗВаHe Ha ypeДи 3a NOUNCТВaHe C BVCOKO HaNЯGaHe (OTCTpaHЯBa ce 3auntHOTo NmPperHnIPAhe)
- Пране на плату в поална машина (OTстразны се зашиноюнmpернupa и се NOВрждатшевовete)
a6pa3nBn nIaRpeCnBn nouchBaun npenapatn - NOUINCTBaHe C rOpeuHa BODa (MOKe Da IIOBeE Do CBnBaHe Ha PnTa)
CbXpaHne:
CbxpaaBaIte yadpa BnHaHn Ha cyxo MxCTO.

Ako yadpbT He ce n3no3Ba no-dbIro BpeMe o6bpHeTe BHMaHne Ha TOBa, KynoT Ta e cyx. B npotnBeH cnyaMorat Da ce noJyat neTHa OT pNecen MyXbI.
Bbptraata ce nlaactnHa mMa Dba BnCOKOKaueCTBeHn caMehn Iarepa.
Te3n Iaerepn ca 3aunTeHn Cpeu y BoHN npbckn, Bbnpekn TOBa ce nOprnKte cToiKaT a He e N3IOKeHa PpeKaJIeHo DblrO Ha aTMocΦepHnBnHnN 3aMbpCraBaHn.
Yka3aHnja 3a 6e30nacHOcT:
Градинския чадьр Ви педиаЗва OT пекиTe yлтравиолеви Лчи. 3a NO-голяма 3aшиТа, КAKTO И OT Heпеки yлтравиолеви Лчи, ИЗПОЛЗВай Te ДОпьЛHNTeLНО ПОДХODЯшko3MeTиЧЕн сЛьнцe3aшиТенnpodукT.
I0-MaJIKeTe IIOUc Ca MHOrO I0-JeKn I3HaUHTeJIHO HamaJIaBaT CtaBnHocCTTa Ha YauIbpa - OnaCHOCT OT HapaHЯBaHe.
Hnkora He pa3nabaiTe 6ap6ekhota (Ha ra3, BbIuIa, eIeKtpueckn) nIIOTkPHT ObH NOd IIN Do Yadbpa - onachocT OT noXap. YadpbT Moxe da ce NOBpeDN OT HAKO INCKpa.
Hnkora He n3noJ3BaIe IOD YaIbpa OTOpJIteJHn ypeDN (ra3OBN, HcpauepBeHN) - ONaCHOCT OT NoXap.
IoxeJabame Bn MHO rPnATHN MOMENTc Baunr HOB rpaHnckn yadbp.

SCHNEIDER
SCHIRME
Assembly and operating instructions
Hanging umbrella Models Rhodos Junior (Art. no. 786-00)

Dear Customer,
Congratulations on the purchase of your new umbrella.
You are now the owner of a high-quality and technologically advanced product.
To get the best use out of your umbrella, please take a few minutes to carefully read these assembly and operating instructions.
Follow the information to the letter and keep this information for future reference.
General

During assembly of the umbrella, keep children away.
Never set up the umbrella on soft, sandy or wet ground. In windy conditions, close the umbrella and secure with strap.
Never leave the umbrella unattended when open.
We will not be liable for damage due to incorrect use.
Setup and assembly
Check to make sure that the delivery is complete. If despite stringent quality controls a part should be defective or missing, please contact the retailer where you purchased the umbrella. Keep the box in case you ever have to return the umbrella under warranty.
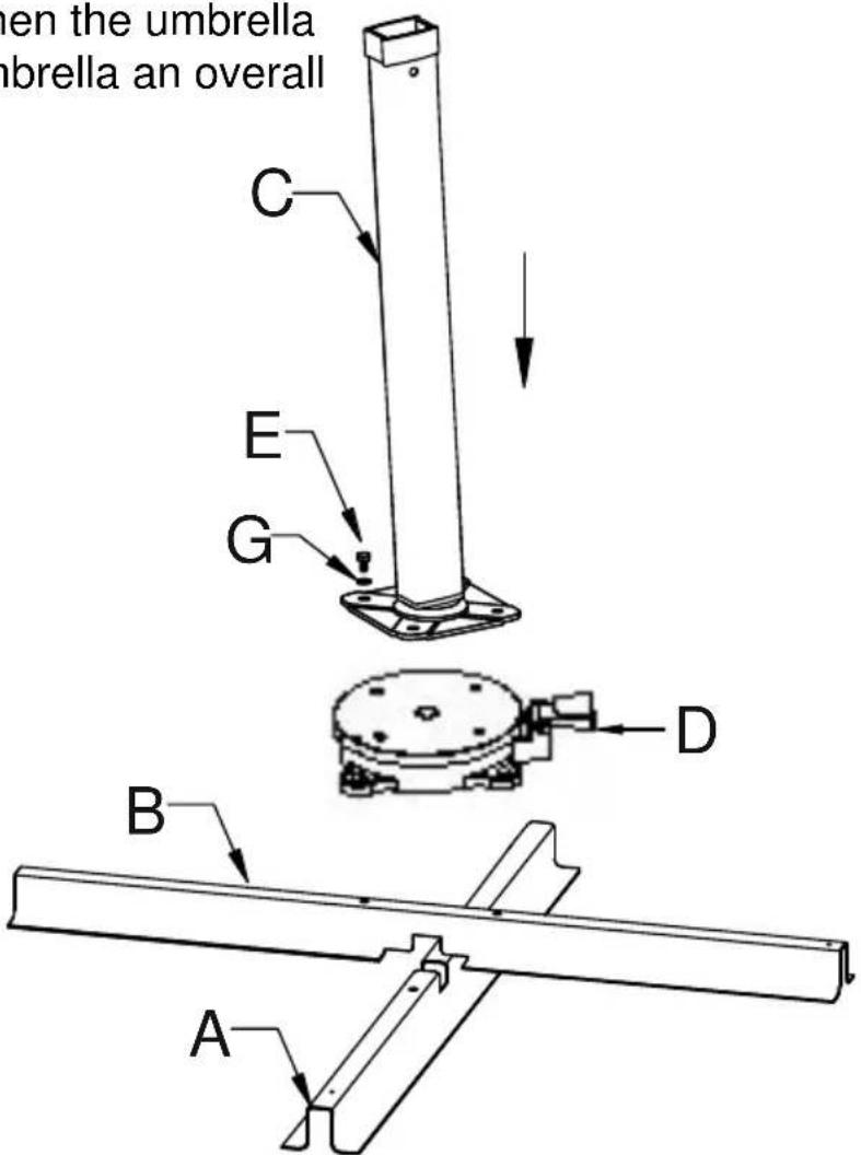
List of parts
| Part no.: | Article no.: | Illustration / description: | Quantity: |
| A | 9112-786-00 | Cross base, bottom element | 1 |
| B | 9111-786-00 | Cross base, top element | 1 |
| C | 9113-786-00 | Tube | 1 |
| D | 9122-786-00 | Rotating plate | 1 |
| E | 9114-786-00 | Screw M8x14 | 4 |
| F | 9114-786-00 | Screw M8x20 | 4 |
| G | 9114-786-00 | Washer | 8 |
| H | --- | Umbrella | 1 |
| K | 9114-786-00 | Allen key | 1 |
| L | 9153-786-00 | Cover cap on tube, two-part | 1 |
| M | 9119-786-00 | Protective cover | 1 |
To order replacement parts please contact the retailer where you purchased the umbrella.
Use the article numbers listed above to make sure you order the right part.
Assembly
Place the two elements of the cross base (A + B) one on top of the other as shown and screw firmly to the rotating plate (D).
Use the screws M8x20 (F) and one washer (G) for each screw.
Then bolt the tube (C) to the rotating plate (D).
Use the screws M8x14 (E) and one washer (G) for each screw.
NOTE:
The tube slants backwards at an angle of 3^ .
This is intentional and is not grounds for complaint.
The slanted design of the tube prevents the pole from hanging forward when the umbrella is open and also gives the umbrella an overall elegant appearance.

Now put the assembled cross base at the location where the umbrella is to be set up. Make sure the ground underneath is solid and level. Now insert 4 paving slabs in the cross base.

IMPORTANT: Always use all four paving slabs with a size of 50 × 50 × 5 cm! Never use the umbrella stand without paving slabs.
Now place the cover (L) on the rotating plate as shown.

For the next step, you should have someone help you, due to the heavy weight of the umbrella.
Place the umbrella on the tube as shown.
Make sure that the umbrella is properly aligned.
Avoid letting the umbrella fall down, since this could damage both the umbrella and the cover cap.

Operation
Opening:
Turn the crank clockwise to open the umbrella.

Make sure that none of the braces on the umbrella become jammed. It may be necessary to pull the ends of the braces outward slightly.

Make sure that there are no obstacles, such as a house wall, table or tree, to prevent the umbrella from opening.
While opening the umbrella by turning the crank unlock the hand lever on the handle and push it up slowly along the pole.
The umbrella is completely opened when the canopy is stretched taut. Always open the umbrella completely.

Rotating:
Push the foot pedal to unlock the rotating plate (D).
Now you can rotate the umbrella to the desired position.
Release the foot pedal to lock the rotating plate in position.
Allow the umbrella to lock into the nearest position.

Setting the desired inclination:
Push in the hand lever on the handle firmly and adjust the umbrella to the desired angle of inclination.
When you release the hand lever the umbrella will lock into the nearest angle position.

Closing:
To close the umbrella push in the hand lever on the handle and turn the crank counter clockwise in the direction of "CLOSED".
At the same time allow the handle to slide slowly down on the pole.
Secure the closed umbrella with the strap.
We recommend using the included protective cover if the umbrella is not used for an extended period or in case of rain.
Cleaning:
Remove loose dirt or dust with a soft brush.
Rinse the umbrella regularly with clear water to prevent excessive soiling. If necessary, you can wash the umbrella with lukewarm water and mild detergent. In this case, use a sponge or soft brush.
It is important not to use the following cleaning methods:
- Do not use high-pressure cleaners (will damage the waterproofing)
- Do not wash the canopy in the washing machine (will damage the waterproofing and the seams)
- Do not use abrasive or caustic cleaners
- Do not use hot water for cleaning (can cause the fabric to shrink)
Storage:
Always store the umbrella in a dry place.

Especially if the umbrella is not used for an extended period you should make sure that the canopy is dry. Otherwise there is a danger of mould and mildew.
The rotating plate is equipped with two high-quality ball bearings. Although these bearings are protected against splashing water, the stand should not be exposed to excessive weather conditions and dirt.
Safety information:
This umbrella provides protection against direct UV radiation. For complete protection, also against indirect UV radiation, you should use a suitable cosmetic sunscreen product in addition.
In rain or snow the umbrella must be closed - danger of breakage.
In windy conditions, close the umbrella immediately and secure with the strap or protective cover.
Never leave the umbrella unattended when open.
Do not leave children alone or unsupervised with the umbrella.
The parasol is not suitable for use on roof terraces or in other places that are exposed to high winds and gusts!
For domestic use only. Designed exclusively for outdoor use.
Always use paving slabs with a size of 50 × 50 × 5 cm.
Smaller paving slabs are too light and significantly reduce the stability of the umbrella - danger of injury.
Never operate a grill (gas, charcoal or electric) or kindle an open fire under or next to the umbrella - danger of fire. The umbrella can be damaged by flying sparks.
Never use heaters (gas or infrared) under the umbrella - danger of fire.
We wish you much enjoyment with your new umbrella from our company.

SCHNEIDER
SCHIRME
Chere cliente, cher client,
Cologne additionally has a place for the Giratória, conforming to the idea of the Galáce.

3aTeM npKpyTb Tpy6aTyO cToiKy (C) K NOBOPOTHOI NTe (D).
BocnoIb3OBaTbcra BnHTamM M8x14 (E), a TaKKe IoKJaHbIMn ShaI6aMn (G).
ПРИМЕЧАHNE:
Tpy6yataa cToiKa haknoHeHa ha3aHa 3°.
3TO HopMaJIbHO n He YABJIeTcI npUHoiDnpeKNaMaCmN.
3Ta OcO6eHHoCTb N03BOJraT MaUTe CBnCaTb BnepEi, KOrDa 3OH TOKpbIT, K TOMy JKe, 3TO npndaET KOHCTpyKuIN rApMOHnHuOCTb.

Tenepb yctaHOBNTe CMOHTnPOBaHHyIO ONOPHyIO CTOnKy dIJI NIIIT B IpeDyCMOTpeHHOe MeCTO. PrcSNeIITb, YTO6bI rpyHT 6bl IpoUHbIM IN TOpN3OHTaJIbHbIM.
Blojnte B onopnyo ctoky 4 nntbl.

BHIMAHNE:
O6a3aTeJIbHO BINOJNTb BCE YeTbIpe NNITbI pa3MepOM 50x50x5 cm!
He noIb3OBaTbc8 cToiKo 3OHTa 6e3 nIIT.
PomeCTntb KpbIshky (L), KaK noka3aHo, Ha nobopoTHyO pIHTy.

Kak noka3aHO,HaTeb 3oHT Ha Tpy6uAtyO cToiKy.
CneDntb, YTO6bl 3OHT He nepeKocnIcra.
He no3B0JTe 3OHTy ynaCTb, nHaue 3oHT, a TaKKe KpbIuKa MOrTy NOBpeDnTbcra.

3KcπIyatazaia
OTKpbItne:
Pn BpaueHn pyKoTkn no YacobOy cTpeJIke 3OH T OTKpbIbAeTcra.

Iprocneintb, yTo6bl paCnpKn Ha 3oHTe He nepeKocnncb. Iprn Heo6xOAnMocTn, cIeRka NOTaHyTb KOHcbl paCnpOpok.

y6eIntecb, yTO 3oHT MOxHO OTKpbITb 6ecnpenrTCTBeHHO (CTeHa, CTOn, DepeBO, ...)
Pn OTKpbTn 3OHTa NytEe BpaueHna pyKoTKn, pa36nokpoBaTb pbIyar Ha pyUke n MeDneHHo nepemeCTNb erO BBepx Ha wToke.
3OHT NOIHOCTbIO OTKpbIT,ecIN O6TJXKa HaTMyTa. 3OHT BcERda OTKpbIBaTB NOJIHOCTbIO.

Вразсан:
При Нжати Na HOЖHyI Oпадь прOCxOДТ De6JOKnpoBaHne NOBOPOTHOIIITbI (D).
Tenepb 30HT MOXHO NOBepHyTb B HUxHoe IIOJXeHne.
Ecn HoxHyo neaIb OTnycNTb, NOBOPOTHa nIITa ChOBa 6loKpyetc.
3aФИКСИРОВАТь 3ОТВ СЛЕДУЮSUЕМ ПОLOЖЕН.

PereynipobAHne HxHoro HaKloHa KypoJa:
C ycniiem BkaTb pbIar Ha puYke i nyTeM nepemeueHn yCTaHOBtB HxKhbl NaKIOH KynOJa.
He octabJIaTb DeTei ODNHX PraOM C 3OHTOM.
He nOxOHT dIy IcNoJIb3OBaHnHa KpbIax-Teppacax IIN B aHaIOnuHbIX MeCTax, NODBepraHOUxxCsBaO3deIcTBnIO BeTpa!
EasyManual