Rhodos Junior - Slunečník SCHNEIDER - Bezplatný návod k obsluze
Najděte návod k zařízení zdarma Rhodos Junior SCHNEIDER ve formátu PDF.
Dotazy uživatelů ohledně Rhodos Junior SCHNEIDER
0 otázka o tomto zařízení. Odpovězte na ty, které znáte, nebo položte vlastní.
Položte novou otázku o tomto zařízení
Stáhněte si návod pro váš Slunečník ve formátu PDF zdarma! Najděte svůj návod Rhodos Junior - SCHNEIDER a vezměte svůj elektronický přístroj zpět do rukou. Na této stránce jsou zveřejněny všechny dokumenty potřebné k používání vašeho zařízení. Rhodos Junior značky SCHNEIDER.
NÁVOD K OBSLUZE Rhodos Junior SCHNEIDER
Návod k montáži a obssluze
Visuty slunečnik Model Rhodos Junior (č. výr. 786-00)

Vázeny zákazniku,
blahopřejeme Vám ke koupi Vašeho nového slunečníku.
Zakoupili jste technicky a také provedením vysoce kvalitné vyrobek.
Abyste z tohoto slunečníku měli dlouho radost, prosíme Vás, abyste věnovali několik minut Času pozornému prěctení tohoto námodu k montáži a obsluze.
Pokyny przyśne dodržujte aarto námod si uložte.
ZákladníPokyny

Během montáže zabraťe v pristupu dětem.
Nikdy slunečnik nestavte na měkký, píšcitý nebo vlhký podklad.
Pokud se zdviha vitr, zavrete slunečník a zajistěte jej popruhem.
Nikdy nenechávejte slunečnik bez dozoru v otevřné poloze. Poškození, které bylo způsobeno nasprávným použitím, neni kryto zárukou.
Uspořadání a montáž
Zkontrolujte uplnost dìlù. Pokud by navzdory rozsáhlému zajišěné kvality byl některý dìl vadné nebo chyběl, obratte se prosím na prodejce, u kterého byl tento slunečnik zakoupen. Krabici siPokud možno uschovejte pro možnost prípadného zaslání zpět v záručním prípadu.
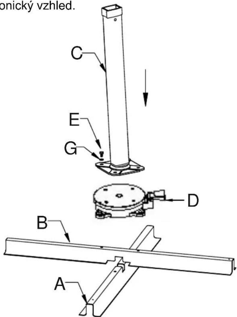
Seznam dílú
| Č. dílú: | Č. výrobku: | Vyobrazení / popis: | Počet: |
| A | 9112-786-00 | Deskový stojan, spodní díl | 1 |
| B | 9111-786-00 | Deskový stojan, horní díl | 1 |
| C | 9113-786-00 | Trubka stojanu | 1 |
| D | 9122-786-00 | Otočná deska | 1 |
| E | 9114-786-00 | Šroub M8x14 | 4 |
| F | 9114-786-00 | Šroub M8x20 | 4 |
| G | 9114-786-00 | Podložka | 8 |
| H | --- | Slunečník | 1 |
| K | 9114-786-00 | Imbusový klič | 1 |
| L | 9153-786-00 | Kryt trubky stojanu, dvoudílný | 1 |
| M | 9119-786-00 | Ochranné pouzdro | 1 |
Pro objednávání nahradních dílù se obratte na prodejce, u kterého jste tento slunečník zakoupili.
Abyste predešli záměne, používejte vyše uvedená Čísla vyrobku.
Montáž
Obě Časti deskového stojanu (A + B) položte podle vyobrazení na sebe a pevně je sešroubujte s otočnou deskskou (D).
Použijte k tomu šrouby M8x20 (F) a vždy jegn podložku (G).
Potom sešroubujte trabku stojanu (C) s otočnou deskou (D). Použijte k tomu šrouby M8x14 (E) a vždy"Justnu podložku (G).
UPOZORNÉNÍ:
Trubka stojanu je nakloněné o 3^ dozadu.
To je správné a není to důvodem k reklamaci.
Tím je zabráněno, aby se pri otevřeném
slunečníku tyc prověsila dopředu a
dáva to slunečníku harmonický vzhled.

Postavte nyní smontovaný deskový stojan do určené pozice. Dbejte pritom na pevný a vodorovné podklad.
Nyní do deskového stojanu vložte 4 dlždice.

POZOR:
Bezpodminécné použijte vsechny Čtyři dlaždice s rozměrem 50x50x5 cm!
Nikdy stojan slunečníku nepoužívejte bez dlždic.
Nyní podle vyobrazení nasad'te kryt (L) na otočnou desku.

Dalsí montážné krok bye ste z dūvodu větů hlmotnosti slunečníku měli provadět s pomocníkem.
Podle vyobrazení nasad'te slunečnik na trabku stojanu.
Dbejte pritom na to, aby se slunečnik neprćil.
Vyvarujte se spatnuti slunečníku, protoze by se tí mohl poskodit jak slunečník tak i kryt.

Ovladání
Otevřeni:
Otacenim kliky ve smeru hodinovych ručicek se slunečnik otevře.

Zajistete, aby se zdna z vyztuh slunecniku nevzpriicila. Pripadne konce vyztuh mirne zatahnete smerem ven.

Ujistete se, ze se slunečnik muže bez prekážek otevřit (stěna domu, stůl, strom, ...)
Během otevíráni slunečníku otáčením kliky odblokujte ručné páčku na držadle a pomalu jej posunujte po tyci nahoru.
Slunečnik je otevřený kompletně, když je potah napnutý. Slunečnik vždy otevřete kompletně.

Otáčeni:
Stisknutim nožniho pedalu se otočná deska (D) odblokuje.
Nyní muzete slunečnik otočit do požadované polohy.
Pri uvolnéni nožniho pedalu se otočná deska opět zablokuje.
Nechte slunečnik zaskočit vnejblžši pozici.

Aretace požadovaného sklopení slunečníku:
Ručni páčku na držadle pevně pritlačte a posunutím nastavte požadovaný sklon slunečníku.
Pri pušěné rucné páčky se slunečnék zajistí vnejblžné aretačné poloze sklapěné.

Zavrení:
Pro zavréní slunečníku pritlačte ručné páčku na držadle a klikou otáčejte proti směru hodinovych ručíček ve směru „ZAVRÍT".
Soucasne nechte drzadlo pomalu klouzat po tyci dolu.
Zavreny slunečnik zajistěte popruhem.
Při delším nepoužívání nebo pri dešti doporučujeme použít dodané ochranné pouzdro.
Čistěné:
Volné nečistoty nebo prach odstraťe měkkým kartáčem.
Pravidelným oplachovámim Čistou vodou predejdete větsímu znečistěné.
Při větším znečistěné je možné slunečnik vyčistit VLCznouvodou a jemným mydlovém roztokem. Použijte k tomu houbu nebo měkký kartáč.
Pozor, následujíci druhy Čištěné nejsou vchodné:
- Použití vysokotlakych Čisticu (odstrani ochrannou impregnaci)
- Praní potahu v pračce (odstrani ochrannou impregnaci a poškozuje švy)
Abrazivni nebo agresivni Čistić prostředky - Čistěné horkou vodou (může věst ke sraženi látky)
Uloženi:
Slunečnik uložte vždy na suché misto.

Zvlaste kdyz se slunečnik nepoužíva delsí dobu, dbeje na to, aby byl potah suchý. Jinak by mohlo DOJIT k Vzniku skvrn od vlhkosti a plísně.
Otočná deska obsahuje dvě kvalitní kuličková ložiska. Tato ložiska jsou sice chráněna proti stříkají c vode, presto bye ste měli dbát na to, aby stojan nebyl nadměrně vystaven povětrnostním vlivům a necistotám.
Bezpečnostní pokyny:
Tento slunečnik Vás chráni préd prímým UV zářením. Pro kompletní ochranu, také préd nepřímým UV zářením, použijte dodatečné vchodné opalovací krém.
Pri desti nebo snezeni musi byt slunečnik zavřen - nebezpeci prasknutí. Pokud se zdviha vitr, neprodleně slunečnik zavřete a dostatečné jej zajistěte (popruh, ochranné pouzdro).
Nikdy nenecháveje otevřený slunečnik bez dohledu.
Nenechávejte déti se slunečnikem samotné bez dohledu.
Nevhodné pro použití na střešnich terasákne nebo podobnám mistech vystavenych větru!
Pouze pro soukromé použiti ve venkovnim prostředí!
Bezpodminecne poujte dlazdice s rozmerem 50x50x5 cm.
Mensí dlaždice jsou príliš lehké a značné snižují stabilitu slunečníku – nebezpećí zraněné.
Nikdy pod slunečnikem nebo vedle něj nepoužívejte grily (plynové, na dřevné uhlí, elektrické) ani nerozdělávejte otevřeny othen - nebezpeci požáru. Slunečník by se mohl poskodit odletujícím i jiskrami.
Nikdy pod slunečnikem nepoužívejte topidla (plynové, infracervéné) – nebezpečí požáru.
Přejeme Vám mnoho radosti s Vašim novým slunečnikem od naší firmy.

SCHNEIDER
SCHIRME
Montážny námod a námod na obsluhu
Závesny slnečnik Model Rhodos Junior (Výr. Č. 786-00)

Vázeny zákazník,
Aby ste zabrani zámene dielov, použite vyšsie uvedené Číslavyrobku.
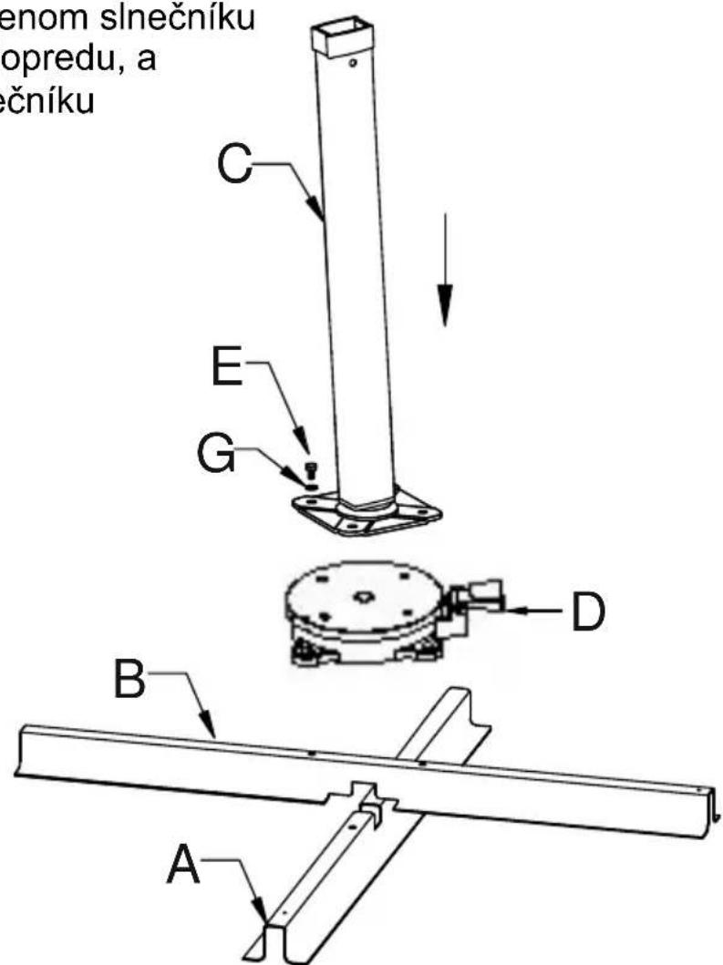
Montáž
Kolmá rúrka sa nakloní o 3^ dozadu.
Je to správné a nie je to dovod na reklamáciu.
Zabrání sa tak, aby pri otvorenom slnečníku
neprečnievala tyc smerom doprodu, a
zároven to prepožičiava slnečníku
harmonický dizajn.

Nepoužívajte nikdy stojan slnečnika bez dosiek.
Dalsí montážny krok by ste mali vykonat' z dovodu vysokej hmotnosti slnečníka spolu s pomocníkom.
Nasuhte slnečnik tak, ako je to znázornene na obrázku, na kolmú rurku. Davajte pritom pozor, aby sa slnečnik nespriečil.
Zabránte tomu, aby spadol slnečnik dole, pretoze by sa tak mohol poškodit' slnečnik a tiež kryt.

Obsluha
Otvorenie:
Stlačením nožného pedálu sa odblokuje otočná doska (D). Potom možete otočit slnečnik do potrebnej polohy. Pri uvolnéni nožného pedála sa opat zablokuje otočná doska. Nechajte slnečnik zaklapnut v najblžšej polohe.

Riadne zatlačte ručné páčku na rukováti a nastavte posunutím požadované naklonenie striesky.
Po uvolneni ručnej páčky sa slnečnik zablokuje v najblžšej polohe naklonenia striesky.

POZOR:
Pri naklonenom slnečníku sa vyrazne zvyšuje kontaktná plocha s vetrom.
Pri veternom poças bezpodmienecne zavriteslnecnik a zaistite ho popruhom.
Uzavretie:
Aby ste zavreli slnečnik, stlačte ručné páčku na rukováti a otáčajte k'luku v protismere hodinovych ručíčiek smerom na „ZAV".
Bezpečnostné pokyny:
Nenechávajte otvorený slnečnik nikdy bez dozoru.
Nenechavajte deti Same a bez dozoru pri slnechniku.
Želáme Vám vel'za zábavy s vašim novým slnečnikom od našej firmy.

SCHNEIDER
SCHIRME
SnadnýManuál