Rhodos Junior - Napernyő SCHNEIDER - Ingyenes használati útmutató
Találja meg az eszköz kézikönyvét ingyenesen Rhodos Junior SCHNEIDER PDF formátumban.
Felhasználói kérdések a következőről Rhodos Junior SCHNEIDER
0 kérdés erről a készülékről. Válaszolj azokra, amiket ismersz, vagy tedd fel a sajátod.
Tegyél fel egy új kérdést erről a készülékről
Töltse le az útmutatót a következőhöz Napernyő PDF formátumban ingyenesen! Találja meg kézikönyvét Rhodos Junior - SCHNEIDER és vegye vissza elektronikus eszközét a kezébe. Ezen az oldalon közzé van téve az eszköze használatához szükséges összes dokumentum. Rhodos Junior márka SCHNEIDER.
HASZNÁLATI ÚTMUTATÓ Rhodos Junior SCHNEIDER
Szerelési és kezelésiutasítás
Karos napernyő
Rhodos Junior modell (cikkszám: 786-00)

Igen Tiszelt Ügyfelünk!
Gratulálunk únapernyöjéhez.
Magas minosegu, technikailag is modern termeket vasarolt.
Ahhoz, hogy napernyőjében hosszú ideigöröme teljék, kérjük szánjon rá néhány percet ennek a Szerelési és kezelési utasításnak a figyelmes vegigolvasására.
Pontosan tartsa be az itt leirtakat és orizze meg ezta dokumentumot.
Alapvető tudnivalók

Az összeszerelés kozben tartsa távol a gyermekeket.
Ne állítsa fel a napernyót puha, homokos vagy nedvest talajon.
Ha feltámad a szél, csukja össze a napernyőt és biztosítsa a hevederrel.
A kinyitott naperyot ne hagyja felugyelet nélkül.
A szakszerütlen használatból eredő károkra nem vállalunk garanciát.
Felépítés és összeszerelés
Ellenorizze az alkatreszek hiánytalanságát. Ha az atfogó minóségellenőrzés dacára valamelyik alkatrész hibás lenne, lépjen kapcsolatba a napernyőt értékesítő kereskedővel. Ha lehetséges,örizze meg a csomagoló dobozt az esetleges garanciális visszaküldéshez.
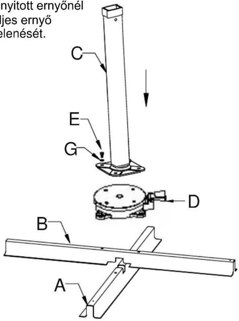
Darabjugyzék
| Alkatrész szám: | Cikkszám: | Ábra / leírás: | Darabs zám: |
| A | 9112-786-00 | lapos talp, alsórész | 1 |
| B | 9111-786-00 | lapos talp, felsőrész | 1 |
| C | 9113-786-00 | állványcső | 1 |
| D | 9122-786-00 | forgólap | 1 |
| E | 9114-786-00 | csavar, M8x14 | 4 |
| F | 9114-786-00 | csavar, M8x20 | 4 |
| G | 9114-786-00 | alátét | 8 |
| H | --- | ernyő | 1 |
| K | 9114-786-00 | imbuszkulcs | 1 |
| L | 9153-786-00 | sapka az állványcsövön, két részből | 1 |
| M | 9119-786-00 | védöhuzat | 1 |
Pótalkarreszigényével forduljon a napernyőt értékesítő kereskedőhöz.
Az alkatrészek összecserelésénék megelőzésére használja a fenti cikkszámokat.
Összeszerelés
A lapos talp két részét (A + B) az ábra szerint helyezze egymásra és csavarozza össze aforgólappal. (D).
Használja ehhez az M8x20-as csavarokat (F) és mindegyikhez egy alatétet (G).
Ez után csavarozza az állványcsövet (C) aforgóthalpra (D).
Használja ehhez az M8x14-es csavarokat (E) és mindegyikhez egy alatétet (G).
FIGYELMEZTETÉS:
Az allvanycso 3^ -ban hatra dol.
Ez igy helyes, nem ok a reklamacióra.
Ez megakadályozza, hogy kinyitott ernyönél
az árboc elore doljön és a teljes ernyő
elveszítse harmonikus megjelenését.

Az összeszerelt talpat állītsa a kijelött helyère. Ügyeljenarra, hogy az alapfelület szilard és vizszintes legyen.
Helyezzen 4 jardalapot a talpba.

FIGYELEM!
Feltétlenül helyezze be mind a négy 50x50x5 cm-es
jardalapot!
Soha ne használja az ernyő allványát a jardalapok nélkül.
Az ábra szerint helyezze a burkolatot (L) aforgólapra.

Az ernyó súlya miatt a következő szereleşi lépéseket segítővel végezze el.
Az abra szerint huzza az ernyot az allvanycsore.
Ugyeljen arra, hogy az ernyő ne Ferdüljön el.
Ne ejtse le az ernyot, mert az es a zarosapka is megsérulhet.

Kezelés
Kinyitás:
A kurbli oramutato járásával megegyező irányba forgatásával az ernyő kinyílik.

Győződjön meg arról, hogy az ernyő bordái nincsenek elferdülve. Ellenkező esetben kissé húzza kifelé a bordák vegét.

Biztositsa, hogy az ernyő akadálytalanul nyílni tudjon (ház fala, asztal, fa, ...).
Miközben a kurbli对不起 nyitja az ernyőt, oldja ki a kézikart a fogantyun és lassan tolja felfelé a rudon.
Az ernyőt akkor nyitotta ki teljesen, ha feszül a huzata.
Mindig teljesen nyissa ki az ernyőt.

Forgatas:
A labpedal muködtétésével lehet aforgóthalpat (D) kioldani.
Ez utan az ernyot a kivant helyzetbe forgathatja.
A lábpedál elengedésével aforgótalp (D) ismét rögzítódk.
Hagyja a forgotalpat a kovetkező helyzetébe beakadni.

Az ernyő kívant dólésénék rögzítésé:
Erösen nyomja be a kězikart a fogantyún és az eltolásával állütsa be a tető kivánt dólését.
A kézikar elengedésével az ernyő a tető dólesének legközelebbi
helyzetében arretalódk.

FIGYELEM!
A megdontott ernyő felülete, amibe belekaphat a szél, jelentösen megnó.
Ha feltámad a szél, feltétlenül csukja össze az ernyőt ésbiztositsa a hevederrel.
Összecsukás:
Az ernyő összecsukáshoz nyomja be a fogón levő kézi kart és forgassa a kurblit az oramutató járásával ellenkező "ZU" irányba.
Egyidejuleg hagyja a fogot lassan lesiklani az arbocon.
Az összecsukott ernyöt biztositsa a hevederrel.
Hosszabb hasznalaton kivül, vagy eső esétén javasoljuk a csomagban találhatóVEDohuzat hasznalatát.
Tisztítas:
Puha kefével távolítsa el a laza szennyezódest, port.
A tiszta vízzel történő rendszeres leöblítésSEL megelózheti a nagyobb elszennyezódését.
A durva szennyezódéseket langyos, szappanos vízzel távolithatja el azernyöról. Ehhez szivacsot vagy puha kefét használjon.
Figyelem! Az alábbi tiszításí modok nem alkalmazhatók:
- nagynyomásu mosó (eltávolítja a védő impregnálást),
- a hazat mosógeppel történő mosása (eltávolítja a védő impregnálást és kikezdi a varrást),
- éles vagy csiszoló tisztítószerek használata,
- tiszítías forró vízzel (az anyag összemehet).
Tárolás:
Az ernyőt mindig száraz helyen tárolja.

Különösen hosszabb tárolás elótt győzódjön meg arról, hagy az ernyő huzata száraz legyen. Különben foltosodhat és penészedhet.
A forgólapban két golyóscsapágy van. Ezek uzgan freccsenő viztól védettek, megis ügyeljen arra, hogy az állványt ne tegye ki folöslegesen az idójárás hatásainak.
Biztonsági előirások:
Ez a napernyő megvédi Önt a közvetlen UV-sugárzás elöl. A közvetett UV-sugárzás elleni védelemként használjon megfelelo napvédő kozmetikumot. Esöben vagy havazáskor csukja össze az ernyőt - különben eltörhet. Ha feltámad a szél, feltétlenül csukja össze az ernyőt ésbiztosítsa (a hevederrel és a védöhuzattal).
Sose hagyja felügyelet nélkül a kinyitott ernyőt.
Ne hagyja a gyermekeket felügyelet nélkül az ernyővel.
Tetőteraszon vagy más, hasonloan szélnek kitett helyen nem használható! Csak magányceilú, kültéri használatra!
Feltétlenül 50x50x5 cm méretú jardalapokat használjon.
A kisebbek tül konnyuek, jelentosen csokkentik az ernyó allékonyságat -balesetveszélyesek.
Sose használjon grillberendeźest (gázos, faszenes, elektromos) vagy gyújtson nyílt lángot az ernyő alatt vagy mellette - túzveszélyes. Az ernyő a szálló szikráktól is károsodhat.
Sose használjon fútóberendezést (gázos, infravörös) az ernyő alatt -túzveszélyes.
Sok oromet kivanunk Onnek, az altalunk gyartott uy ernyojhez.

SCHNEIDER
SCHIRME
KönnyűKézikönyv