Rhodos Junior - Parasol SCHNEIDER - Manual de uso y guía de instrucciones gratis
Encuentra gratis el manual del aparato Rhodos Junior SCHNEIDER en formato PDF.
Preguntas de los usuarios sobre Rhodos Junior SCHNEIDER
0 pregunta sobre este aparato. Responde a las que conoces o haz la tuya.
Hacer una nueva pregunta sobre este aparato
Descarga las instrucciones para tu Parasol en formato PDF gratis! Encuentra tus instrucciones Rhodos Junior - SCHNEIDER y toma tu dispositivo electrónico nuevamente en la mano. En esta página están publicados todos los documentos necesarios para el uso de su dispositivo. Rhodos Junior de la marca SCHNEIDER.
MANUAL DE USUARIO Rhodos Junior SCHNEIDER
Instrucciones de montaje y de uso
Parasoles con soporte lateral Rhodos Junior (n.° art. 786-00)

Apreciado cliente:
le felicitamos por la compra de su nuevo parasol.
Para que pueda disfrutar是多么 tiempo de su parasol, le rogamos que dedique uno horas a leer atentamente estas instrucciones de montaje y de uso.
Siga estRICTamente lasindicaciones y conserve las instrucciones para consultas posteriores.
Indicaciones básicas

Durante el montaje, mantenga alejados a los niños.
No coloque el parasol nunca en una superficie blanda, arenosa o humeda.
Si se levanta viento, ciderre el parasol y asegúrelo con la correa.
No deje el parasol nunca sin supervisión en posición abierta. No nos hacemos responsables en caso de daños causados por un uso inadequado.
Instalación y montaje
Compruebe la presencia de todos los elementos. Si, a pesar de nuestros extensas medidas de aseguramente de la calidad, una piezaGMTA o estuviera defectuosa, sirvase contactar con el distribuidor al cui adquirido este parasol. A ser possible, conserve la caja de carton para una eventual devolución en caso de reclamación bajo garantía.
Lista de piezas
| N.º de articulo | N.º de articulo | Figura / descripción: | Cantidad: |
| A | 9112-786-00 | Base para losetas, parte inferior | 1 |
| B | 9111-786-00 | Base para losetas, parte superior | 1 |
| C | 9113-786-00 | Tubo soporte | 1 |
| D | 9122-786-00 | Placa giratoria | 1 |
| E | 9114-786-00 | Tornillo M8x14 | 4 |
| F | 9114-786-00 | Tornillo M8x20 | 4 |
| G | 9114-786-00 | Arandela | 8 |
| H | --- | Parasol | 1 |
| K | 9114-786-00 | Llave Allen | 1 |
| L | 9153-786-00 | Caperuza protectora en el tubo soporte, de dos piezas | 1 |
| M | 9119-786-00 | Funda protectora | 1 |
Para realizar sus pedidos de repuestos, sirvase consultar al distribuidor al whom adquirido este parasol.
Paraatar confusiones,sirvaseutilizarlosnunerosdearticulo arribaindicados.
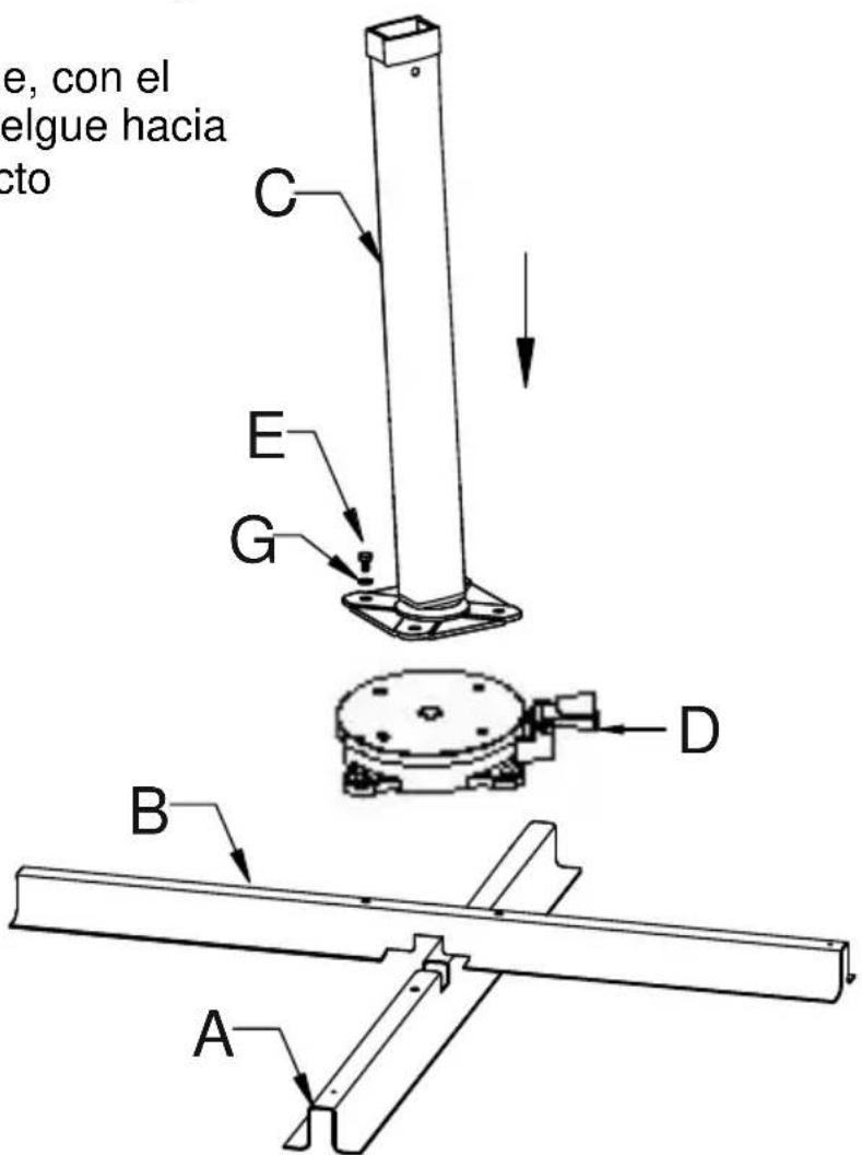
Montaje
Coloque también partes de la base para losetas (A + B) una encima de另一边, tal como muestra la figura, y atornillelos firmamente con la placagiratoria (E).
Para este fin, utilise los tornillos M8x20 (F) y送上arandelas (G).
A continuación, atornille el tubo soporte (C) en la placagiratoria (D). Para este fin, utilise los tornillos M8x14 (E) y送上as arandelas (G).
NOTA:
El tubo soporte está inclinado 3^ hacía atrás.
Esto es correcto y no representa ningún motivo de reclamación.
De esta manière se evita que, con el parasol abierto, el mastil cuelgue hacía delante, y confiere un aspecto armonioso al Conjunto.

Seguidamente, colque la base para losetas en la posicion prevista, prestando atencion a que la base sea firme y horizontal.
Cologne 4 losetas en la base.

ATENCION:
jEs absolutamente requisiteño colocar las quatre losetas de 50 × 50 × 5 cm!
La base no se debe utiliser jamás sin losetas.
A continuación, Coloque la cubierta (L) encima de la placá giratoria, tal como muestra la figura.

Debido al peso elevado del parasol, deben executar el siguientes paso de montaje con lapellada de una segunda persona.
Cologne el parasol encima del tubo soporte, tal como muestra la figura. Preste atencion a que el parasol no quede ladeado.
Evite dejar caer el parasol hacía abajo; este podra dañar tanto el parasol como la caperuza protectora.

Manejo
Aperture:
Girando la manivela en el sentido de las agujas del reloj se abre el parasol.

Asegúrese de que no haya varillas bloqueadas en el parasol. En su caso, tire ligeramente de los extremos de las varillas hacía el exterior.

Compruebe que el parasol se pueda abrir sin dificultades (paredes, mesas, árboles, ...).
Mientras está abriendo el parasol girando la manivela, desbloquee la palanca en la pieza de sujeción y deslícela lentamente hacía arriba en el mastil.
El parasol está Completely abierto cuando el todo está tensado. Abra el parasol siempre por completeo.

Girar:
Accionando el pedal se desbloquea la placagiratoria (D). Entonces peuvent girar el parasol a la posicion deseada. Al soltar el pedal se vuelve a bloquear la placagiratoria. Haga encajar el parasol en la posicion más cercana.

Bloqueo con la inclinación deseada:
Aprietefirmamentelapalanca enla pieza de sujecion ydesplacela paraajustarlainclinaciondesedadeldelparasol.
Al soltar la palanca, el parasol queda bloqueado en la posicion de inclinacion mas cercana.

ATENCLON:
Con el parasol inclinado, la superficie de ataque para el vientourrentaconsiderablemente. Si se levanta viento, es absolutamente necessario cerrar el parasol y asegurarlo con la correa.
Cerrar:
Para cerrar el parasol, apriete la palanca en la pieza de sujeción yrectionla manivela en sentido contrario a las agujas del reloj en direccion"CERRAR".
Al mismo tiempo, deslice la pieza de sujeción lentamente hacía abajo por el mastil.
Asegure el parasol cerrado con la correa.
Si el parasol no se habrá de utiliser durante un periodo de tiempo prolongado o en caso de lluvia, utilise la funda protectora adjunta.
Limpieza:
Elimine la suciedad suelta y el polvo con un cepillo suave.
Enjuagando el parasol regularmente con agua limpia se evita un mayor ensuciamento.
Para eliminar suciedad más gruesa, el parasol se pueda limpar con agua y una lejía jabonosa suave. Utilice para este fin una esponja o un cepillo suave.
Atencion: los siguientes modelos de limpieza no son apropriados:
- Uso de limpiadores de alta presión (elimina la impregnación protectora)
- Lavado del到现在 en la lavadora (elimina la impregnación protectora y ataca a las costuras)
- Productos de limpieza abrasivos o agresivos
- Limpieza con agua caliente (puede encoger el tejido)
Conservación:
Guarde el parasol siempre en un lugar seco.

Sobre todo si el parasol no se utilizes durante un periodo de tiempo prolongado, preste atencion a que el todo está seco. De lo contrario, se pueda produir manchas de humedad y moho.
La placagiratoria contiene dos rodamenteos de bolas de alta calidad. Estos rodamenteos estan protegidos contra chorros de agua; sin embargo, deveria cuidar de que el soporte no quede expuesto excessivamente a la intemperie y la sociedad.
Indicaciones de seguridad:
Este parasol le protege contra la radiación ultravioleta directa. Para una proteccion completa, también contra la radiacion ultravioleta indirecta, utilise adiconalmente un protector solar cosmético.
En caso de lluvia o nevadas se deben cerrar el parasol; existe riesgo de rotura.
Si se levanta viento, ciderre inmediatamente el parasol y asegúrelo adecuadamente (cinta, funda protectora).
No deje el parasol abierto nunca sin supervisión.
No deje a niños sin supervisión con el parasol.
jNo apto para el uso en azoteas y除外 lugarares con una exposicion similar al viento!
iSolo para el uso particular en el exterior!
Es absolutamente necessario utiliser losetas del tiempo de 50x50x5 cm.
Losetas más pequeñas son demasiado ligeras y reducen
considerablemente la estabilitad del parasol: existe peligro de lesiones.
No encienda nunca equipos de barbacoa (gas, carbón, electricos) o fuego descubierto debajo del parasol o jusqu'à este; existe peligro de incendio. El parasol pueda sufrir daños en caso de proyección de chispas.
No utilise nunca equipos de calefacción (gas, infrarrojos) bajo del parasol; existe peligro de incendio.
Le desearos que disfute de su nuevo parasol de notrea Empresa.

SCHNEIDER
SCHIRME
Insira ahora 4 blocos de pedra na base porta-placas.

ManualFácil