Rhodos Junior - Sonnenschirm SCHNEIDER - Kostenlose Bedienungsanleitung
Finden Sie kostenlos die Bedienungsanleitung des Geräts Rhodos Junior SCHNEIDER als PDF.
Benutzerfragen zu Rhodos Junior SCHNEIDER
0 Frage zu diesem Gerät. Beantworten Sie die, die Sie kennen, oder stellen Sie Ihre eigene.
Eine neue Frage zu diesem Gerät stellen
Laden Sie die Anleitung für Ihr Sonnenschirm kostenlos im PDF-Format! Finden Sie Ihr Handbuch Rhodos Junior - SCHNEIDER und nehmen Sie Ihr elektronisches Gerät wieder in die Hand. Auf dieser Seite sind alle Dokumente veröffentlicht, die für die Verwendung Ihres Geräts notwendig sind. Rhodos Junior von der Marke SCHNEIDER.
BEDIENUNGSANLEITUNG Rhodos Junior SCHNEIDER
Montage- und Bedienungsanleitung
Ampelschirm Rhodos Junior (Art.-No 786-00)

Sehr geehrter Kunde,
herzlichen Glückwunsch zum Kauf Ihres neuen Sonnenschirms. Sie haben ein qualitativ wie auch technisch hochwertiges Produkt erworben.
Damit Sie lange Freude an thisem Sonnenschirm haben, bitten wir Sie, sich einige Minuten Zeit zunehmen und diese Montage- und Bedienungsanleitung aufmerksam zulesen.
Bitte folgen Sie den Angaben genau und bewahren Sie diese Anleitung auf.
Grundsätzliche Hinweise

Während der Montage Kinderitte fernhalten.
Den Sonnenschirm niemals auf weichem, sandigem oder feuchtem Untergrund aufstellen.
Bei aufkommen dem Wind den Sonnenschirm schlieben und mit dem Gurt sichern.
Lassen Sie den Sonnenschirm niemals unbeaufsichtigt in geöffneter Position.
Keine Haftung für Beschädigungen die durch unsachgemäßen Gebrauch verursacht wurden.
Aufbau und Montage
Bitte überprüfen sie die Teile auf Vollständigkeit. Sollteriotz umfangreicher Qualitätssicherung trotzdem ein Teil defekt sein oder fehlen, kontaktieren Sieitte den Handler bei dem Sie diesen Schirm gekauft haben.itte bewahren Sie wenn möglich den Karton fur eine eventuell mögliche Rucksendung zu Garantiezwecken auf.
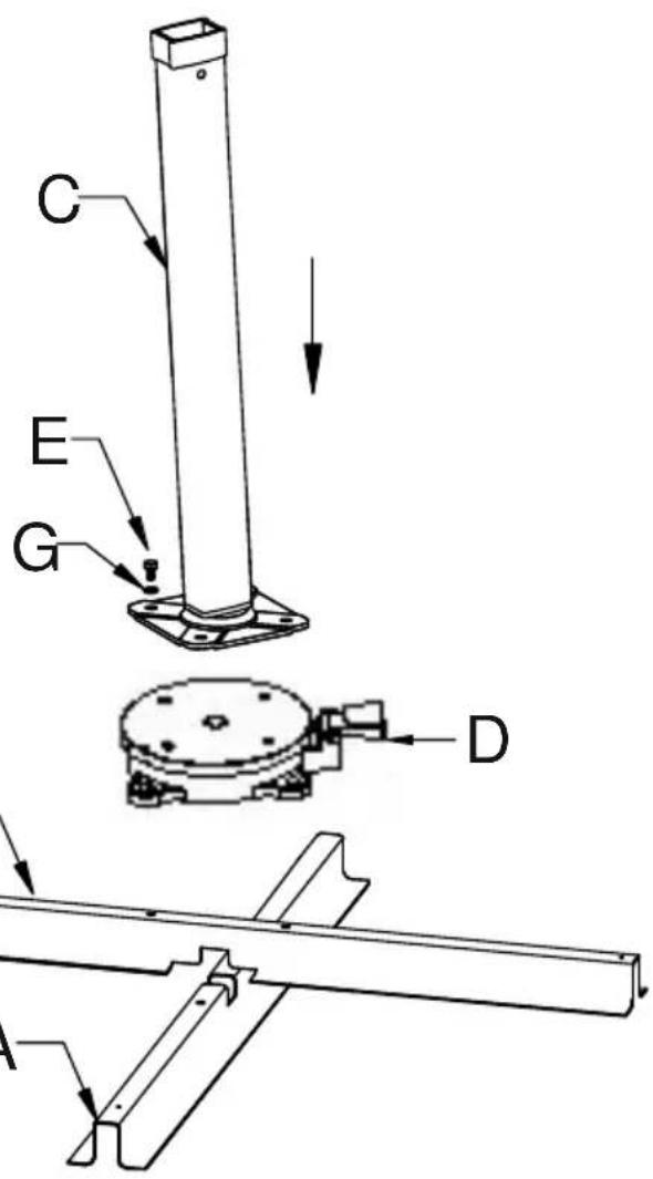
Teileliste
| Teile NO: | Antikel NO: | Abbildung / Beschreibung: | Anzahl: |
| A | 9112-786-00 | Plattenständer, Unterveril | 1 |
| B | 9111-786-00 | Plattenständer, Oberteil | 1 |
| C | 9113-786-00 | Standrohr | 1 |
| D | 9122-786-00 | Drehplatte | 1 |
| E | 9114-786-00 | Schraube M8x14 | 4 |
| F | 9114-786-00 | Schraube M8x20 | 4 |
| G | 9114-786-00 | Unterlegscheibe | 8 |
| H | --- | Schirm | 1 |
| K | 9114-786-00 | Inbusschlüssel | 1 |
| L | 9153-786-00 | Abdeckkappe am Standrohr, zweiteilig | 1 |
| M | 9119-786-00 | Schutzhülle | 1 |
Für Ersatzteilbestellungen wenden Sie sichitte an den Handler, bei dem Sie auch diesen Schirm gekauft haben.
Um Verwechslungen zu vermeiden, verwenden Sieitte oben angegebene Artikel Nummern.
Montage
Beide Teile des Plattenständers (A + B) wie dargestellt aufeinander legend und mit der Drehplatte (D) fest verschrauben.
Hierzu verwenden Sie die Schrauben M8x20 (F) sowie jeweils eine Unterlegscheibe (G).
Anschließlich das Standrohr (C) mit der Drehplatte (D) verschrauben. Hiezu verwenden Sie die Schrauben M8x14 (E) sowie jeweils einer Unterlegscheibe (G).
HINWEIS:
Das Standrohr ist um 3^ rückwärts geneigt.
Das ist korrekt, und stellt keinen Reklamationsgrund dar.
Hiermit wird verhindert, dass bei geöffnetem Schirm der Mast nach vorne hangt, und verleiht dem Schirm eine harmonische Erscheinung.

Stellen Sie nun den montierten Plattenständner auf die vorgesehene Position. Achten Sie damit auf einen festen und waagerechten Untergrund. Legen Sie nun 4 Wegeplatten in den Plattenständner ein.

Unbedingt alle vier Wegeplatten mit 50x50x5 cm einlagen! Verwenden Sie ausschließlich Wegeplatten mit einem Gesamtgewicht von mindestens 100 kg.
Den Schirmständer niemals ohne Wegeplatten benutzen.
Setzen Sie nun die Abdeckung (L) wie dargestellt auf die Drehplatte.

Den nächsten Montageschritt sollen den Sie Aufgrund des hohenen Gewichts des Schirmes mit einem Helfer durchführten.
Stecken Sie den Schirm wie dargestellt auf das Standrohr.
Achten Sie besteht darauf, dass sich der Schirm nicht verkantet.
Vermeiden Sie es den Schirm nach unter fallen zu halten, sowohl der Schirm als auch die Abdeckkappe konnten dadurch beschädigt werden.

Beachten Sieitte die korrekte Ausrichtung des Schirmes. Der Schirm istleicht nach hintengeneigt.
Bedienung
Öffnen:
Durch Drehen der Kurbel im Uhrzeigersinn öffnet sich der Schirm.


Während Sie den Schirm durch Drehen der Kurbel öffnen, entriegeln Sie den Handhebel am Griff und schiebenihn langsam am Stock nach oben.
Der Schirm ist vollständig geöffnet, wenn der Bezug gespannt ist. Den Schirm immer vollständig offen.

Drehen:
Durch Betätigten des Fußpedals wird die Drehplatte (D) entriegelt. Nun können Sie den Schirm in die gewünschte Position dieren. Beim Entlasten des Fußpedals wird die Drehplatte wieder arretiert. Den Schirm in der nachstgelegenen Position einrasten halten.

Arretierung der gewünschten Dachneigung:
Den Handhebel am Griff fest eindrücken und durch verschieben die gewünschte Dachneigung einstellen.
Beim Loslassen des Handhebels arretiert der Schirm in der nachstgelegen den Position der Dachneigung.

Schließen:
Um den Schirm zu schlieben, den Handhebel am Griff eindrücken und die Kurbel entgegen dem Uhrzeigersinn in Richtung „ZU" kurbeln.
Gleichzeitig den Griff langsam am Stock nach unter gleiten halten.
Den geschlossenen Schirm mit dem Gurtband sichern.
Wir empfehlen bei längerem Nichtbenutzten oder bei Regen die mitgelieferte Schutzhülle zu verwenden.
Reinigung:
Losen Schmutz oder Staub mit einer weichen Bürste entfernen.
Durch regelmäßiges Absprülen mit klarem Wasser beugen Sie größeren Verschmutzungen vor.
Bei groberen Verschmutzungen kann der Schirm mit lauwarmem Wasser und milder Seitenlauge gereinigt werden. Verwenden Sie hierzu einen Schwamm oder eine weiche Bürste.
Achtung, folgende Reinigungssarten sind nicht geeignet:
- Verwendung von Hochdruckreinigern (entfernt die Schutzimprägnierung)
- Bezug mit der Waschmaschine waschen (entfernt die Schutzimprägnierung und greift die Nähte an)
- Scheuernde oder scharfe Reinigungsmittel
- Reinigen mit bereits Wasser (kann zum Einlaufen des Stoffes führen)
Aufbewahrung:
Bewahren Sie den Schirm stets an einem trockenen Ort auf.
Achten Sie besonders, wenn der Schirm über einen längeren Zeitraum nicht benutzt wird darauf, dass die Bespannung trocken ist. Andernfalls kann es zu Stockflecken und Schimme bildung kommt.
Die Drehplatte enthalt zwei hochwertige Kugellager. Diese Lager sindzwar gegen Spritzwasser geschützt, dennoch sollen den Sie darauf auf achten, daß der Ständer nicht übermöig der Witterung und Schmutz ausgesetzt wird.
Sicherheitshinweise:
Dieser Sonnenschirm schützt Sie vor direkter UV-Strahlung. Für einen umfassenden Schutz, auch vor indirekter UV-Strahlung, verwenden Sieitte zusätzlich ein geeignetes kosmetisches Sonnenschutzmittel.
Bei Regen oder Schneefall muß der Schirm geschlossen werden – Bruchgefahr.
Bei aufkommen den Wind den Schirm umgehend schlieben und ausreichend sichern (Band, Schutzhülle).
Lassen Sie den geöffneten Schirm niemals unbeaufsichtigt.
Kinder nicht unbeaufsichtigt mit dem Schirm alleine halten.
Zur Verwendung auf Dachterrassen oder an ähnlich windexponierten Standorten nicht geeignet!
Nur für den privaten Gebrauch im Außenbereich!
Verwenden Sie unbedingt 4 Wegeplatten mit einer Höhe von 50x50x5 cm und einem Mindestgewicht von 25 kg pro Platte. Ein Mindestgewicht von insgesamt 100 kg ist zwingend erforderlich.
Kleinere Wegeplatten sind zu leicht und reduzieren die Standsicherheit des Schirmes erheblich - Verletzungsgefahr.
Niemals Grillgeräte (Gas, Kohle, elektrisch) oder offenes Feuer unter oder darüber dem Schirm entfachen – Brandgefahr. Der Schirm kann durch Funkenflug beschädigt werden.
Unter dem Schirm niemals Heizgeräte (Gas, Infrarot) verwenden - Brandgefahr.
Wir wünschen Ihnen viel Freude mit ihrem neuen Sonnenschirm aus unserem Haus.

SCHNEIDER
SCHIRME
Xaver Schneider GmbH & Co. KG Obereschring 1, D-88512 Mengen
www.schneider-schirme.com
Xaver Schneider GmbH & Co. KG Obereschring 1, D-88512 Mengen
www.schneider-schirme.com
Xaver Schneider GmbH & Co. KG
Obereschring 1, D-88512 Mengen
www.schneider-schirme.com
Xaver Schneider GmbH & Co. KG
Obereschring 1, D-88512 Mengen
www.schneider-schirme.com
Xaver Schneider GmbH & Co. KG Obereschring 1, D-88512 Mengen
www.schneider-schirme.com
Xaver Schneider GmbH & Co. KG Obereschring 1, D-88512 Mengen
www.schneider-schirme.com
Xaver Schneider GmbH & Co. KG Obereschring 1, D-88512 Mengen
www.schneider-schirme.com
Xaver Schneider GmbH & Co. KG Obereschring 1, D-88512 Mengen
www.schneider-schirme.com
Xaver Schneider GmbH & Co. KG
Obereschring 1, D-88512 Mengen
www.schneider-schirme.com
Montage- en bedieningshandleiding
Hangparasol Model Rhodos Junior (Art.nr. 786-00)

Geachte klant,
Xaver Schneider GmbH & Co. KG Obereschring 1, D-88512 Mengen
www.schneider-schirme.com
Xaver Schneider GmbH & Co. KG
Obereschring 1, D-88512 Mengen
www.schneider-schirme.com
Xaver Schneider GmbH & Co. KG
Obereschring 1, D-88512 Mengen
www.schneider-schirme.com
Xaver Schneider GmbH & Co. KG
Obereschring 1, D-88512 Mengen
www.schneider-schirme.com
Xaver Schneider GmbH & Co. KG Obereschring 1, D-88512 Mengen
www.schneider-schirme.com
EinfachAnleitung