Rhodos Junior - Parasol SCHNEIDER - Gratis gebruiksaanwijzing en handleiding
Vind de handleiding van het apparaat gratis Rhodos Junior SCHNEIDER in PDF-formaat.
Gebruikersvragen over Rhodos Junior SCHNEIDER
0 vraag over dit apparaat. Beantwoord die u kent of stel uw eigen vraag.
Stel een nieuwe vraag over dit apparaat
Download de handleiding voor uw Parasol in PDF-formaat gratis! Vind uw handleiding Rhodos Junior - SCHNEIDER en neem uw elektronisch apparaat weer in handen. Op deze pagina staan alle documenten die nodig zijn voor het gebruik van uw apparaat. Rhodos Junior van het merk SCHNEIDER.
GEBRUIKSAANWIJZING Rhodos Junior SCHNEIDER
Hartelijk gefeliciteerd met de aankoop van uw nieuwe parasol.
U heb zowel een kwalitatief als technisch hoogwaardig product verworven.
Wij vragen u om enkele minuten deijd te nemen en deze montage- en bedieningshandleiding aandachtig te lezen, zodate u lang plezier zult hebben van"These parasol.
Volg de opgaven a.u.b. precies op en sla deze handleiding op.
Principèle instructies

Tijdens de montage kinderen uit de buurt houden.
De parasol nooit op zachte, zanderige of vochtige ondergrond opstellen.
Bij opstekende wind de parasol sluiten en borgen met deriem.
Laat de parasol nooit zonder toezicht in geopende positie.
Geen aansprakelijkheid voor beschadigingen die zich veroorzaakt door oneskundig gebruik.
Opbouw en montage
Controleer a.u.b. of alle onderdelen compleet zijn. Mocht ondanks omvangrijke kwaliteitsborging toch een onderdeel defect়n of ontbreken, neem dan a.u.b. contact op met de specialzaak waar bij u deze parasol hebt gekocht. Bewaar zo möglichk de doos voor eventueel möglichke retourzending voor garantiedoeleinden a.u.b.
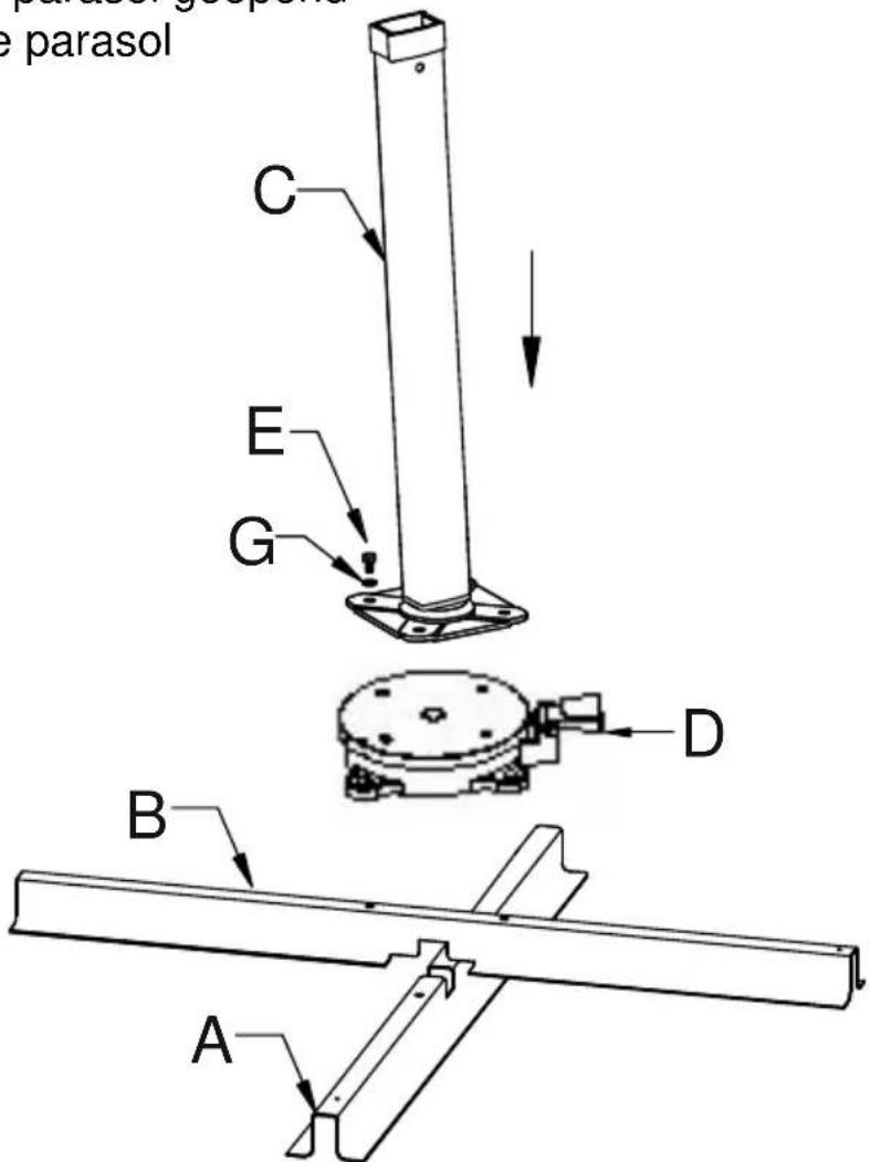
Onderdelenlijst
| Onderdeel nr.: | Artikel nr.: | Afbeelding / omschrijving: | Aantal: |
| A | 9112-786-00 | Plaatstandaard, ondergedeelte | 1 |
| B | 9111-786-00 | Plaatstandaard, bovengedeelte | 1 |
| C | 9113-786-00 | Standbuis | 1 |
| D | 9122-786-00 | Draaiplaat | 1 |
| E | 9114-786-00 | Schroef M8x14 | 4 |
| F | 9114-786-00 | Schroef M8x20 | 4 |
| G | 9114-786-00 | Onderlegring | 8 |
| H | --- | Parasol | 1 |
| K | 9114-786-00 | Inbussleutel | 1 |
| L | 9153-786-00 | Afdekdop bij de standbuis, tweedelig | 1 |
| M | 9119-786-00 | Beschemhoes | 1 |
Neem voor bestellingen van onderdelen a.u.b. contact op met de specialzaak waar bij u ook deze parasol hebt gekocht.
Gebruik a.u.b. de boven aangegeven artikelnummers om verwisselingen te voorkomen.
Montage
Beide delen van deplaatstandaard (A + B) zoals afgebeeld op elkaar leggen en aan de draaiplaat (D) vastschroeven.
Gebruik hiervoar de schroeven M8x20 (F) en telkens een onderlegring (G).
Vervolgens de standbuis (C) aan de draaiplaat (D) vastschroeven.
Gebruik hiervoar de schroeven M8x14 (E) en telkens een onderlegring (G).
INSTRUCTIE:
De standbuis helt 3^ achterover.
Dat is correct en vormt geen reden voor reclamatie.
Hierdoor worden voorkomen dat de mast voorover hangt wanner de parasol geopend
is, en het zorgt ervoor dat de parasol harmonieus oogt.

Plaats nu de gemonteerdeplaatstandaard op de beoogde positie. Let op dat de ondergrond vast en horizontaal is. Leg nu 4 wegplaten in deplaatstandaard.

ATTENTIE:
Absoluut alle vier wegplaten met 50 × 50 × 5 cm inleggen! De parasolstandaard nooit zonder wegplaten gebruiken.
Plaats nu de afdekking (L) zoals weergegeven op de draiaplaat.

De volgende stap van de montage moet u op grond van het vrij hoge gewicht van de parasol met behulp van een helperuitvoeren.
Zet de parasol zoals afgebeeld op de standbuis.
Let hierbij op dat de parasol nicht kantelt.
Voorkom om de parasol maar beneden teCTXen vallen, zowel de parasol als de afdekdop zouden hierdoor beschadigd konnen raken.

Bediening
Openen:
Door de draaikruk met de wijzers van de klok mee te draaien gaat de parasol open.

Controller of geen steunstangen bij de parasol gekanteld zijn.
Indien nodig de uiteinden van de steunstangenlicht maar buiten trekken.

Controleer of de parasol zonder belemmering kan worden geopend (huismuur, tafel, boom, ...)
Terwijl u de parasol opent door aan de draaikruk te draaien, deblokkeert u de handhendel bij de greed en schuift u deze langzaam langus de staaf omhoog.
De parasol is volledig geopend, wanner de bekleding gespannen is. De parasol.altijd volledig openen.

Draaien:
Door het voetpedaal te gebruiken worden de draaiplaat (D) gedeblokkeerd.
Nu sunt u de parasol maar de gewenste positie draaien.
Wanner de last weeer van het voetpedaal wordt gehaald, wordt de draaiplaat weeer geblokkeerd.
De parasolCTXnVastkliknen op de dichtstbijzijnde positie.

Vergrendeling van de gewenste schuinestand van het dak:
De handhendel bij de greed stevig indrukken en door verschuiving de gewenste schuine stand van het dak instellen.
Als de handhendel worden losgelaten, klikt de parasol vast in de dichtst bijzijnde positie van de schuine stand van het dak.

Sluiten:
Om de parasol te sluiten de handhendel aan de greed indrukken en de draaikruk gegen de wijzers van de klok in de richting „DICT" draaien. Tegelijkkertijd de greed langzaam langus de staaf omlaag lately glijden.
De gesloten parasol borgen met de riem.
Wij adviseren om de meegeleverde beschermhoes te gebruiken wanneer de parasol vrij lang nicht worden gebruikt of tijdens regen.
Reiniging:
Los vuil of stof met een zachte borstel verwijderen.
U voorkomt tamelijk groe verruiling door regelmatig af te spoelen met helder water.
Bij vrij grove verruiling kan de parasol worden gereinigd met laww water en zacht zeepsop. Gebruik hiervoor een spons of een zachte borstel.
Attentie, de volgende soorten reiniging zijn nicht geschickt:
- Gebruik van hagedrukreinigers (verwijdt de beschemende impregnering)
- Bekleding in de wasmachine wassen (verwijdt de beschermende impregnering en tast de{naden aan)
Schurende of scherpe reinigingsmiddelen - Reinigen met heet water (kan leiden tot krimpen van de stof)
Opslag:
Sla de parasol alteid op een droge plaats op.

Vooral wanner de parasol vrij lang nicht worden gebruikt, moet u erop letten dat de bespanning droog is. Anders können er vochtvlekken en schimmelvorming optreden.
De draaiplaat bevat twee hoogwaardige kogellagers. Deze lagers zichwel beschermd gegen spatwater, maar u moet er desondanks op letten dat de staander nicht bovenmatig blootgesteld worden aan het weer en aan vuil.
Veiligheidsinstructies:
Deze parasol beschermt u gegen directe UV-straling. Gebruik voor volledige bescherming, ook gegen indirecte UV-straling, bovendien een geschikt cosmetisch zonnebrandmiddel a.u.b.
Bij regen of sneeuwval要去 de parasol gesloten worden - gevaar voor breuk.
Bij opstekende wind de parasol per ommegaande sluiten en voldoende borgen (band, beschemhoes).
Laat de geopende parasol nooit zonder toezicht.
Kinderen nicht zonder toezicht alleen lately met de parasol.
Niet geschikt voor gebruik op dakterrassen of op soortgelijke aan windblootgestelde locaties!
Uitsluitend voor particulier gebruik buitenshuis!
Gebruik absolut met een afmeting van 50 × 50 × 5 cm.
Kleinere wegplaten zijn te Licht en reduceren de stabiliteit van de parasol aanzienlijk - verwondingsgevaar.
Nooit grillapparaten (gas, steenkool, elektrisch) of open vuur onder of naast de parasol aansteken – brandgevaar. De parasol kan beschadigd raken door rondvliegende vonden.
Nooit verwarmingsapparaten (gas, infrarood) onder de parasol gebruiken – brandgevaar.
Wij wensen u veel plezier toe met uw nieuwe parasol UIT ons bedrijf.

SCHNEIDER
SCHIRME
SimpelGids