Rhodos Junior - ομπρέλα SCHNEIDER - Δωρεάν εγχειρίδιο χρήσης
Βρείτε δωρεάν το εγχειρίδιο της συσκευής Rhodos Junior SCHNEIDER σε μορφή PDF.
Ερωτήσεις χρηστών για Rhodos Junior SCHNEIDER
0 ερώτηση για αυτή τη συσκευή. Απαντήστε σε αυτές που γνωρίζετε ή κάντε τη δική σας.
Κάντε μια νέα ερώτηση σχετικά με αυτή τη συσκευή
Κατεβάστε τις οδηγίες για το ομπρέλα σε μορφή PDF δωρεάν! Βρείτε το εγχειρίδιό σας Rhodos Junior - SCHNEIDER και πάρτε ξανά την ηλεκτρονική σας συσκευή στα χέρια σας. Σε αυτή τη σελίδα δημοσιεύονται όλα τα έγγραφα που απαιτούνται για τη χρήση της συσκευής σας. Rhodos Junior της μάρκας SCHNEIDER.
ΕΓΧΕΙΡΊΔΙΟ ΧΡΉΣΗΣ Rhodos Junior SCHNEIDER
Evyειρίδio συναρμολόγησης Kai Χειρισμου
Kρεμαστή Μιπρέλα κήπου/βεράντας Movτέλο Rhodos Junior (Kωδ. 786-00)

Ayanté
EuxapioToUe TOnu Yia TnV ayopa Tnc Kaivoupyiac Oac oMpElaç. AyopaoTe eva TIOItoKo KAI TExVIká apTIO Tpoiov.
Tia va aTioaouoTe yia uEyaLo xpoivko diaoTma autnV Tnv ouTpeLa, oac TnapakaIoue va aepwOeTe uepika IeTTa yia va diaafoTe u pooxnto T apov EyxEipidio ouvapmoIoynonc kai xepiouu.
Σaç πapakaλούεν αν Κηρείτε πιστά τα στοιχεία και να φυλάξετε καλά το παρόν εγχερίδι.
Baoikéç UTOδεiEεiC

Kata n ouvapuoIoynon, kpatnoTe a k p i a ta Taaia.
Mny toTIOthetaTE TOTe Tnv oUppela aalakó, amuwdeç n uypo uTEdafoC.
Σε περίπτωση ανέμου, κλείσε τήν συπρέλα και δέσετην μετον Μαύντα.
Mnv aφnveTε TOTε Tnv ouπpéλa χωpiε ΕΠηροη Θην avoixτή θεοη.
v avalaamabouvε kaia euθuvn yia znmuies Tou TTpokλnθnkav aTó μn evδeδεiyμevn xpón.
ToTioθετηση και συναρμολόγηση
Papakaoue eEyTe oTI TepiAaBavovT a OLa Ta EApntma. Av Tapa ta EKTetauEv a tpa diaopalionc ToiotnTac Tou AaBavoue, diatiotwEi KaTIO EAtTomegaTko n atov EApTna, TpakaOuE ETIKOIVWvnoTe m To V eTTOPO aTToV OTIOAOyopaoTe Tnv ompeLa. DuAeTe to XAPTOKlWTIO YIA TUxov EITIOPOoN OTA PAliaTnS EyyUnOns.
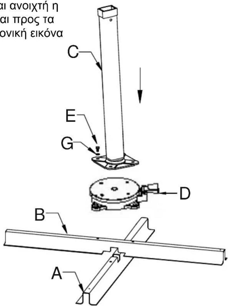
Kataλoyos εξαρτηματων
| Aρ. εξαρτή ματος: | Κωδ. εξαρτήματος: | Εικόνα / Περίγραφή: | Πλήθος: |
| A | 9112-786-00 | Bάση, κάτω μέρος | 1 |
| B | 9111-786-00 | Bάση, πάνω μέρος | 1 |
| C | 9113-786-00 | Σωλήνας | 1 |
| D | 9122-786-00 | Περιοτρεφόμενη πλάκα | 1 |
| E | 9114-786-00 | Bίδα M8x14 | 4 |
| F | 9114-786-00 | Bίδα M8x20 | 4 |
| G | 9114-786-00 | Poδέλα | 8 |
| H | --- | Oμπρέλα | 1 |
| K | 9114-786-00 | Κλείδί αλλεν | 1 |
| L | 9153-786-00 | Κάλιμμα σωλήνα, αποτελείται από δύο μέρη | 1 |
| M | 9119-786-00 | Προστατευτική θήκη | 1 |
TnV TnpayyEia aVtAAkTKwv, TnpaKaIoUe aTTuOuvTe oTov Emuopo aToTov oToio ayopaoTe Tnv OUmpeλa.
TnV aTOOuyn ouyxUoEwv, xpnoImuToIEte Touc napatavw Kwoikouc EApntmuATWv.
Σuvαρμολόνηση
ToTtOeTnOe kai ta duo epn tnc baonc (A+B), otwoc aTneKovicetai, to eva Tavw oTO aoLo kai biWOTe kaIa Tnv TepiotpEoEvn Tlakα (D). XpnoiopoioiOTe TIC BiEc M8x20 (F), kai aTIO ia poBéla (G).
Téloç βidωoTe to σωλnva (C) Θην περιστρεφóμενη πλαka (D). XpnoiμoπoiñoTe TIGβidεg M8x14 (E), kai aTó μia poδéλa (G).
YIIOAEIH:
O exEi klan npoc ta Tia i 3^ Autoivai owoTo kai dEv aTOTeAei aTia TapaTovwv.
EtoaTpEeTaI otav eivai avoixtn n oUppéλo IOToc va Kpeμetai TPOCS ta EumptoC kai xapizEi mia apuovikn EIKOVA OTNV OUMPéλa.

ToTioeTnoTeTwpa Tn ouvapuooynuEvn Bao n OTO pOBoEIOu oIueio ToTioeTnoG. Oa XpeiaoTeiE eva OtaePo kai opizovtio uTedapoc.
ToTioeTnoTeTwpa 4 PAnkeC Tzobpouiou Otn Bao n.

PPOsOXH:
Péπει va toTOnθεtnθouv oTiwOδnTTOTE KAI OI TeoσεpiC πλακες πεζοδρομiou δiaστáσεωv 50x50x5 cm!
Mnv xnpoiouoiei Te Tn bao n Tns oPpeLaac Xwpi C Tlakcs TcOdpoiu.
ToTtEtnoteTwpa To kALumua (L), OTWc aTTeIKovicetai, TAVw OTN TEPiOTpeoEvn PAAka.

To eTóμεvo βnμa Tnç ouvapmoλoynonç πpétπεi va εKTελεστεi μαζι με εva Bonθó εξaɪtiaç tou μεγáλou βapouc Tnç oμπpêλac.
ToTtOeTnOte Tnv oUttpeA, otWc aTneikoviciEaI, OTO oWAnva. PooEeTe wote va mV yupeI n oUttpeA.
Mny aφnvετην oμπρελa va πεσι κατω, δίοι θα μπορούεν αν uποθείζημί τόσο η oμπρελa ὄσο και το καλυμμα.

Xειρισμός
Avoiya:
περιστρέφοντας τη μανίβέλα δεξίστρορα ανοίγει η σμπρέλα.

Bεβαιωθείτε οτι δεν είναι στραβωμένη καμία ακτίνα της Μρπρέλας. Eáv χρείαζεται, τραβήξετε τα ἀκρα των ακτινών ελαφρως προς τα ἐξω.

Bεβαιωθείτε οτι ηομπρέλα μπορείνα ανοίξει χωρίςνα συναντήσει κανένα εμπόδιο (Toíxος σπιτιό, Tραπέζι, ὅντρο,...)
Evw avoiyTe Tnv ouPpEa PEPiOTpeovTac Tn maviEla, aTAAoPaaIOT To XeipooXlo aTTO n AaBn kai OTpwoTe Tov apyA TTPOC TA TAVW, KATA uNKoTou OwAnva.
H oippeia exi avoiie i npwcs,av to upaoua exe Tevtwos
AvoiyTe Tavta mexpi Tepa Tnv oipela.

περιστροφή:
TawvTac Tov Tioooxo aiaoqalizn Tepiotpoeoevn Pk (D).
Twa pIopTe va TepiotpeyTe nV oIppa otyn Etiuunr thEon.
AfnovTac Tov Tioooxo n TepiotpoeoEvn Pk aOpaaizE iav.
AfoTe Tnv OIppa va aOpaiaoEi OTN V EIOeV npUoioueVn Eoan.

Aσφάλιση nτης επιθυμηntής κλίσης:
πεοτε σταθερά τοχειρομοχό στη λαβή και μετατοπίζοντάς τον puθμίσετην επιθυμηntή κλίοη της Μμπρέλας.
Aφήνοντας οχειρομοχλό, η Μιπρέλα ασφαλίζει στην επόμενη θέση κλίοης.

PPOsOXH:
Otau n oumpeia exi klion auvctai onavtikn epiaveia etippaonc tou aepa.
Σε περίπτωση ανέμου, κλείοτε ΟΠωσόθήποτε Σην Μρελα και δέοτε Σην με Σιν Αγτα.
Kλείσιμο:
Tia va kεioετην oμπρéλa, πiεoTE To xεipopoXlo ση λαβn kai yupioTe Tn μaviβéλa apiσtepóoTpoopa σην kaεúθuvon "KAEIZIMO".
Tautopova aqnoTe n va yIotpnoeI apya oTo oWAnva.
Tnv KkEiotn oUppelaa uTov IuavTa.
Av oKoTtEe va xpnoiOIOInoEte Tnv ouTpeLa yia uEvyalo xpvikó δiaotnua n oE πepiTTwON BPOXOTTWOANCS, OUVIOTOUe Tn xpnoTnCS TAPEXOevnC PPOOTATEUTIKNCS ΘKnCS.
Kaθαρισμός:
AIOUaKpUvTe Tuxov aKaaOapoiεs n Okovεs με μia aTnλn Bouptσa.
EETIeovotac taKtikα με kaθapó vεpó aTIOΦΕUYET η OUYKéVTPOwn βρωμiac.
Av to uφασμα tης Μιπρέλας εῖαι πολύ βρωμικό, μιπορείτε va to πλύνετε σε χλιαρό σαπουνόνερο. Xρησιμοποίποτε ενα σφουγγάρή μία απαλή βούρτσα.
Ppooyn, Ev evikuvta oI TapaKATw TpOToI Kaaapioou:
XpnoTNIeOTIKwV (aTOUAPKpuVEI TOV TPOoTATeUTIKo EUMTOIIO
- Πλύση του φασματος σε πλυντήριο ρύχων (απομακρύνει Tôv προστατευτιό εμπότιομό και καταστρέφει TIG ραφές)
- Αειαντικά ἡ οξέα καθαριστικά
Kaθαρισμός με κατόνερο (μπορείνα σθησει σε μαζεμα του φασματος)
Φúλαξη:
Φuλασετε πávτa TnV oμπρελα σε ξηρό μέρος.

Iδiως ὄταν η Μρέλα δεν χρησιμοποίειαι για μεγάλo χρονικό δίαστημα, θα πρέπειν α προσέξετε το ὄφασμαν παραμένει στεγύν. Διαφορετικά μπορείν αχηματιστουν κηλίδες και μούχλα.
H TEPIOPTPPOEVPN TALAKA TEPIEXEL DUO POULEAV. Ta POULEAV auta δiaθεTouv μεν αδIαβρoyn πpOσTAIA, ωτόσO θα πpΕπΕιν πpOSEχETε WOTε η βασην a μην εKTlθεται σε UTTερβολικα μεγαλη κakokaipiα KAI βρωμία.
Yπoδεiεεις ασφαλείας:
Autn n ouppéla oac pooataeuei aTn tv auεon ekθeon o uTepiδn aktivoβoλia. Tia mia oloknpwμevn ppootaia, kai aTn tv μeou utepiδn aktivoβoλia, xpoioptoiéite επΠλeov eva katαλno avtnλiako. Kλeivte tnv ouppéla oε πεpíTTωσn βpoxóTTωσnç n xiovóTTωσnç -kvduvoç θpaúσnc.
Σε περίπτωση ανέμου, κλείστε αμέσως ηην Μιπρέλα και ασφαλίσε ηην επαρκώς (ιμάντας, προστατευική θήκη).
Mnv aΦnveTe TOTe Tny avoixtn ootpeλa xwpiε επiπρση.
Mny aqnvTe Ta Paiia TOTe XwpiE TITnpnon Tnv oipelaa.
ειαι κατάλληλη γία χρήση σε ταράτοες ἡ αλλα σημεία που εύαι παρομοίως εκτεθειμένα στόν αέρα!
Móvo yia iδiwtikn xpóno oε εξωτepikoç xwpouc!
Xpnoiopoioiote oTswoBnTote Tlakc TzObpou u eYeOouc 50x50x5 cm.
Mikpotepe c Tlakc c ivai nolu ealawpuov onmuavtka t n oTaepoTnTa Tns oPpeLac -kvduvoTpaumatou.
Mny xnpoiouiei e npapuekoiu (e aepio, kapbouva n nAekpiko) n aoixtn i katw n diiIa aTNO TNV oUppela -kivduvoC TTupkaiaC. H ouppela TOpEi va uTOOTcI Znui aTIO Tc OTIeC.
Mny xnpoiopoieite Tote ouokuec θepavonc (aepiou, utepu0paw) kTw aTTOv oIppela - KIVduvoC TUPKayiac.
ευχόμαστε καλή διασκέδαση με την καίνουργία Μμπρέλα της εταρείας μας.

SCHNEIDER
SCHIRME
ΕύκολοΕγχειρίδιο