TWIN TALKER 3500 - Walkie-talkies TOPCOM - Gratis bruksanvisning og manual
Finn enhetens veiledning gratis TWIN TALKER 3500 TOPCOM i PDF-format.
Last ned instruksjonene for din Walkie-talkies i PDF-format gratis! Finn veiledningen din TWIN TALKER 3500 - TOPCOM og ta den elektroniske enheten tilbake i hendene. På denne siden er alle dokumenter som er nødvendige for bruken av enheten din publisert. TWIN TALKER 3500 av merket TOPCOM.
BRUKSANVISNING TWIN TALKER 3500 TOPCOM
7.3. For fordon med luftkudde.
7.3. Biler med airbag.
2.1. Fjerne/montere belteklipsen
- For à fjerne klipset fra eneheten trykker du belteklipset (2) opp samtidig som du trekker i haken på klipset (1).
- Năr du setter pà plass beltekilpsen igjen, indikerer et klikk at beltekilpsen er låst pà plass.
2.2. Batteriinstallasjon
- Fjern belteklipset (2).
- Trekki haken til batteridekslet (4) og fjern batteridekslet (3).
- Installer fire 'AAA' alkaliske eller oppladbare batterier med vist polaritet.
- Sett pã plass batteridekslet (3) og belteklipset (2).
3.LCD-SKJERM

a. RX-ikon. Vises nár signal mottas.
b. TX-ikon. Vises nár signal sendes.
c. Viser aktuelt VOLUMNIVA.
d. CTCSS-kode. Endres fra 1 til 38 valgt av brukeren.
e. Vises under KANALSKANNING.
f. Vises i VOX-modus.
g. Lasetastosymbol
h. Aktuell ladestatus på batteriet.
i. Kanalnummer. Endres fra 1-8 valgt av brukeren.
4. KOMME I GANG
4.1. Slà encheten AV/PA
For à aktiviere; trykk og hold POWER-tasten ð nede. Enheten vil "pipe", og LCD-skjermen vil vise actuell kanal.
For a slá av; trykko og hold POWER -knappen nede igjen. Enheten vil "pipe", og LCDskjermen silr seg av.
4.2. Justere hoyttalervolumet.
Høytalervolumet kan justeres med opp ▲/ned-tasten▼. Høytalervolumet vises på LCDskjermen (se 3)
VIKTIG: For at andre skal kinne motta sendingen din, ma de ogsa vare pa den samme kanalen som du bruker og ha stitt inn CTCSS-koden. Se 'skite kanaler'
5.DRIFT
5.1. Skifte kanaler
- Trykk på MENU-knappen ⇌ en gang, det aktuelle kanalnummeret blinker på LCDskjermen.
- Trykk UP-▲-ller DOWN-knappen for a skifte kanal.
- Trykk på MENU-knappen for a bekrette kanalvalget og gã til to CTCSS SUB-CHANNEL SELECTION modus, eller trykk TALK-knappen for a velge onsket kanal og gã tilbake til NORMAL modus.
Merk: En PMR innstil på samme kanal kan motta og lytte til samtalen, ogsa nr den andre bruker en CTCSS-kode.
5.3.Monitor:
Du kan bruke MONITOR-funksjonden for a sjekke om det er svake signaler på den aktuelle kanalen.
- Trykk MONITOR-knappen for normal monitoring.
- Trykk og hold MONITOR-knappen nede til det "piper" for kontinuerlig monitoring.
5.4.Tastelas
Trykk og hold MENU-knappen innate i 5 sekunder for aktivere ell er deaktivere TASTELASEN. TASTELAS-ikonet vises på LCD-skjermen. Trykk og hold MENU-knappen igjen for a deaktivere TASTELAS
5.5.VOX-valg
- Trykk på MENU-knappen 3 ganger, VX-ikonet blinker på LCD-skjermen.
- Trykk UP-tasten for a sla pa VOX-funksjorden, eller trykk DOWN-knappen for a sla av VOX-funksjorden.
- I VOX-modus vises VX-ikonet.
- Trykk TALK-knappen for a bekrette valget og gå tilbake til NORMAL-drift.
- For a bekrefte og bytte til;neste valg,trykk MENU-knappen.
- Sett inn fire (4) "AAA" opplabbare batterier (ikke inkludert)
- Plugg 6 v DC / 300 mA ADAPTEREN (ikke inkludert) inn i EAR/MIC/CHARGER kontakten överst på,enheten og slå den PÅ ved ä trykke på POWER-knappen.
MERK: Enheten kan ikke overfere smtaler mens batteriene lades. Det tar omtrent 8 til 10 timer a fullade batteriene.

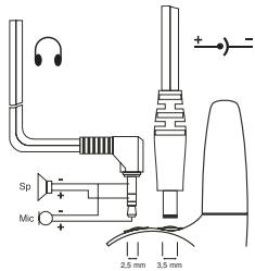
5.9. Bruk av hodesett
Du kan bruke PMR med et hodesett (ikke inkludert). Plugg hodesett inn i EAR/MIC kontakten (6).
Du kan bruke kallesignaler for a fä den andre brukeren til a identifisere seg selv. Du kan ogsa bruke kallesignaler til a signalisere starten erller slutten på en sending.
- Trykk og slipp CALL-knappen, den rode TX-lysdioden tonnes og KALLESIGNALET fortsetter i 3 sekunder.
- Dine KALLESGINALER overfores til nærliggende mottakere pa samme kanal.
6. SPESIFIKASJONER
| Kanaler CTCSS Sub-channel Utgangseffekt (TX) Rekkevidde | 8 kanaler 38 for hver kanal Utgangseffekt:0,5 W (maks) Opp til 3 km (äpent landskap) |
7. SIKKERHETSINSTRUKSJONER
7.1. Odelagt antenna.
Brukke kommikasjonsenheter med odelagt antennae. Hvis en odelagt antennene kommer i kontakt med huden, kan man fa et lite brannsrä.
7.2. Batterier.
Batterier kan forarsake brannskader på personer eller gjenstander, hvis gjenstander som smykker, nokler erller kjerder berorer terminalene på batteriet. Dette kan lukke en elektrisk krets som kortslutter og blir varm. Vær forsigtig nár du handterer oppladete batterier, spesielt nár du legger batteriet i lommen, handvesken erller annen beholderammen med metallgjenstander. Bytt违法犯罪i potensielt eksplosionfarlige omgivelser. Det kan oppst gnister nár man setter inn erller tar ut batteriene. Dette kan fere til eksplosion.
7.3. For kjoretoy med kollisjonspute.
Leggkke kommunikasjonsenheten over kollisjonsptuter erler i omradyet puten kan blase seg opp. Kollisjonsptuter utloes med stor kraft. Hvis en kommunikasjonsenhet befinner seg der kollisjonsputn blaes opp, kan kommunikasjonsenheten forarsake persanskade nar den treffer de som sitter i kjoretoyet.
7.4. Eksplosiv atmosfare.
Sláv kommunikasjenshennen nár du befinner deg i et omrade med mulig eksposiv atmøfa, med mindfulness kommunikasjenshennen er spesielt beregnet for sik bruk. Gnister kan forårsake eksplosjon eller brann og före til livsrilige skader.
7.5. Sprengning
For à unngà at sprengningsarbeider pāvirkes av kommunikasjønsenheten, mà du slà den av nár du befinner seg i nærheter av omrader hvod det foretas sprengning: 'Slà av toveis radio'. Folg alle skilt og instruksjøn.
Merk: Omrader med potensiell eksplosiv atmsoftere er ofte, men违法犯罪. Slike omrader kan vare ster steder det fylles drivstoff, som for eksempel under dekk pa bater, steder der drivstoffer kjemikalier overforesller lagres;omrader hvor luften inneholder kjemikalier ell partikler, som f.ecks. korn, stov ell metallstov; og andere omrader der du normalt ville bl bedt om a slav av motoren pkjoretoyet.
7.6. Elektromagnetik interferens/kompatilitet:
Nesten alle elektronikkenheter utsträder elektromagnetisk stoy (EMI) hvis degressive er tilstrekkelig skjermet, konstruert slik eller pa annihilerte konstruert for ä unngå dette. Slå AVenheten der du via skriftig informasjon eller pa annihilerte blir bedt om ä gjore det. Sykehus og helseinstitusjoner kan ha utstyr som er folsomt for silke forstyrlser. Slå AVenheten der du via skriftig informasjon eller pa annihilerte blir bedt om ä gjore det. All bruk avenheten ma foregå i smarsvar med regelverk som gjelder for lufttrafikk og instruksjoner personalet ombord på fly gir deg.
8. STELL OG VEDLIKEHOLD
Tork av enthenen med en myk klut fukt et i vann. Bruk ilke rengjorgningsmidler ell opplosininger; de kan lekke inn i enthenen og forarsake permanente skader. Batterikontaktene torkes av med en lofri klut. Hvis enthenen blir vát, slár du den av og tar ut batteriene öyeblikelig. Tork BATTERIROMMET med en torr klut for à redusere faren for at vannet odelegger enthenen. La dekslet over BATTERIROMMET vaere apent over natten til enthenen er helt torr. Ikke bruk enthenen ford er heht torr.
9. GARANTI
Dette apparatel leveres med 24 manden garantii. Garantien forutsetter framvisning av original et kopi av kjopebevis, hvor kjopedato og type apparat framgar.
I lopet av garantitiden vii Topcom reparere gratis defekter som skyldes materiale ell producesjonseil. Topcom vil etter eget valg oppfylle sine garantorpliktelser, enten ved a reparere ell skiffe ut defekt utstyr.
Alle garantikrav oppherer his kjooperen ell erukvalifisert tredjeperson har apnet apparatet.
Odeleggelse som skyldes feil handtering ellher behandling, og odeleggelse som skyldes bruk av uriginale deler ell er tilbehør som ici er anbefalt av Topcom, dekker ici av garantien.
Garantien dekker旅游度假e, som skylides eksterne faktorer, som lynnedslag, vannskader og brann. Garantien gelder heller icke hvis serienummeret er endret, fjernet er icke er lesbart.
Merk: Husk à vedlegge kopi av kjapebeviset his du returnerer apparatet.
CE-mergingen dokumenterer at apparatet er i samsvar med de grunloggende kravene til EU-rektivet for aktivt tekommunikasjonsutyr.
Fri bru k: Holland, Irland, Portugal, Belgium, Frankrike, UK, Finland, Hellas, Tyskland, Østerike, Spania, Tsjekkia, Danmark, Sverige, Italia, Norge, Sveits, Luxenburg
1. KUVAUS
(ks.etukansi)
Notice-Facile