TWIN TALKER 3500 - ασύρματοι πομποδέκτες TOPCOM - Δωρεάν εγχειρίδιο χρήσης
Βρείτε δωρεάν το εγχειρίδιο της συσκευής TWIN TALKER 3500 TOPCOM σε μορφή PDF.
Κατεβάστε τις οδηγίες για το ασύρματοι πομποδέκτες σε μορφή PDF δωρεάν! Βρείτε το εγχειρίδιό σας TWIN TALKER 3500 - TOPCOM και πάρτε ξανά την ηλεκτρονική σας συσκευή στα χέρια σας. Σε αυτή τη σελίδα δημοσιεύονται όλα τα έγγραφα που απαιτούνται για τη χρήση της συσκευής σας. TWIN TALKER 3500 της μάρκας TOPCOM.
ΕΓΧΕΙΡΊΔΙΟ ΧΡΉΣΗΣ TWIN TALKER 3500 TOPCOM
- Mɪkpɒpɒwvo
- Oθovn LCD
- Πληκτρο παραλούθησς
10.Πληκτρο επάνω/κατω - o i
11.πλκτρο μενού/κλειδωματος - PAnKtpo KAnOns
- Μικτορε ευνηροιηης/ anενευροιηης
7.AKoUtiKJ/luKpOfoV0/ optiTIO
13.Πηκτρο ὄρωσης - Kepaia
14.Hxεio
2. TONOTheta

2.1.Apaipocn/tonoeton tou Klin Zwyns
- Via aqaipaeotc to kain ano tn ouokuei, onpuEte npoc ta enavw to kain covnc (2) iieCovtaTn vuaopaaou ta kui (1).
2.4a TnV enatavatoTetnToou KaIIT ZWvN, o Nxoc 'KAIk' unOoBawEi OTI To KAIIT ZwN Exei KouJmWaei.
2.2. Tono8Eton Mnatapiw
- ApaipεoTe to kλιπ ζωνης (2).
- TpAJIeTc TnV npOeOxN Tou KAUmuAToc Tov μntapotiδv (4) KAI apaipoleTo KaUmuA (3).
- TONOETHTeTseOaepicAalkaIcE nEvapoaptOJIevec mntatapieCAA, aoKouOHTwCTnTv noIAokITnTu nou oBIDKVuetai.
- Tonoθεποτε to kαλuμμa μηatapiωv (3) και τκλιπ χωνης (2) στη θεόη τους
3. OONH YFPQN KPYZTAAAAN

a. Eikovidi nync. Euapavicetai kata tN lyn evoc onjatoc.
b. Eukovidio ektoiunc. Eupavici tai kata tv Nekoum Evoc oanatoc.
c. Euφaviει την τρέχουσα ενταοήχου.
d. Kwikoc CTCSs. AaaC 10 8c38 kaT rnuoyu TOn xhOJNT.
e. EpuaviEzai kata n tIeitoupyia aopwnC Kavaiw.
f. EupaviZeai kat a Tn aeitoupyia VOX.
g. K p V
h. H tepoxoua otaθμn φοβτιοης της μαπatapiac.
i ApioKcavaiou.AAACEI ano 1 eoc 8 kaT EnuOyTou xphnT.
4. GETTING STARTED
4.1.Evpyonoin/ anevpyonoin (ON/OFF) nC SuokenuC
Ia evepyonoin:
Ie K aepntoe Taeuvo To nKtpo Evpyooinc/atevpyooinc H oukeun npayevav tovo "mu" kai otN Obov Yypov KpuotaaWv epaivzTai to tepoxov kavali.
Tia anevepyonoin:
πεοτε και παλι και κρατησε τιεμενο το πλήκτρο ενεργοποίησς/
anepeytonoic H. Huakeun npayev avtov "mu" kai n othov uypav Kpuotalawv yivetak kevi.
4.2.PuOmuN Evtaon Hxoiou.
H Evtaon tou nxeiou puthetaiεtal ano ta nλκτρa ▲/▼.
H eVtaon tou nxiou eapaviετaσtnv oθov uypw κpuotαλωv (βλeπ §3)
4.3.Anψη ΣnμaToc
H oukeun bioketai diapkwc 念 ae iotoupyia hync (RECEIVE) otav eivai evpyn ON) kaievkntmu
Otar aevte eva oHa oTo rpexov kavai, epaivcetai to EKovidio anync (BAeE \$3)
4.4. Eknopnn npatoC
- Ntote kai kpatntote nioevo to nktpo PTT yia va npayatonoi theknoim.
- KpatnTe Tn oukeun e katakupuOn θeon, με To μikpóφwO e anoTaon 5 cm anoTo oToua, ka iAnoTe oTo μikpOvPo.
- Anελεuθερωτε to πληκτρο PTT ὄταν τελειώσετ ηγ εκηομή.
ZHEMIΩΣH: Na va ΣÉYετe KaOo xρηαμοισειδι t Kaváλι: πιδε τκ και kραθητε πειαμένοτο παλίŋκτο papanakολύηπας.
Eav to kavaliv eluvaheo, akyovotai npaoita. Mny npayatornoiite ekoumtnv avxnpaonoiitai to kavali.
HMANTIKO: Na va ειναιδυναιŋ ηλγημητης εκπομιής αος, πρεπεινα γινεται στο iδι καναλι εμ εας καινα ἀχουν ευλίξειτον κωδικό CTCSS nού χρομιοηιείτε ᵋεκίνη τὴσιγίμ.
Avatpεξτe σην ενοτητα Aλλayη καναιωv
5.AEITOYPTIA
5.1.Alambda'kavaiow
To PMRS 1 8
| CHAN. No. | FREQ. (MHz) |
| 1 | 446,00625 |
| 2 | 446,01875 |
| 3 | 446,03125 |
| 4 | 446,04375 |
| 5 | 446,05625 |
| 6 | 446,06875 |
| 7 | 446,08125 |
| 8 | 446,09375 |
Ia va aAlambdaEET kavai:
IaoteMaopaToTnAKeIOeUoKaiOtnyOoVynpWvKpuotaAawV aiaooBneV oTeXwov apioCkavlaoi.
2.ПлбOTeTo nAnktpo εnavω ▲нКaτω▼ γia va aλλaEpsilon to kavai.
3. Piaote To pAnktopeevou 念 yia va enaalneuote nTv enaioyn kavaioi kai va metaeite OE aleitoupyia enaoync deutepeuvotoc kavaioi CTSS nieote to pAnktoTALK ia va enaileeTe TO kavai Nou theeTe kai va eniotpseTe OE Kavovikn aeitoupyia.
5.4. Kλειδωμα πλήκτρων
PiEeKai KpAIOEe To ANKKTPO eouo 念 5a 5 dEeTPOeIaYia va evepyOnioTe n aneepeoyOnioTe Tn aeitoupyia kkeiIdawatoc Anktpwv. TnV o0hV npov KpuotAAW emuavicetai To EIOVIOD KAIEdAWtOAnktpwv. PiEe
Kai kpatmtie piaevo kai nai to naiKTpo mevou ia va anevepyoioiTe to Kaiidoea naiKTpvos
5.5. Eπλογή VOX
To PMRS duvatotnta eknoumic i k evepyonoiOn (VOX).
IeitouyVAox, n aoupam ouakeun e ktei eva oia otav evpyoieitai an tov wovn aac n aalounc ouocu tseipdAolvtoc aoc.
H Leitouviya VOE 6evuotiata eavokoneuete va xpanaionoiie t ouakeun aac oe 0hepuobwecn ae uveoewsc nepiaalov.
- Μιεότε τρείς φορες παῦκτρο μενους ὄ γία συλφίσει συναβοῦθηνει στήν έθουνην υύρων κρυμάλων το εἰκόνιδόν XV.
- ΠεΙΟΤΕ TO ΜΑΝΚΤΟ επάνω λία συνεργοσιοῦς τὴ ολετουρία VOX ἡ πείθετο TO ΜΑΝΚΤΟ κατων χία συνεργοσιοῦς τὴ ολετουρία VOX.
- Στη λειτουργia VOX εμφανίζεται το εικoviδι VOX.
- Πεἰδότε το πακήρο Μλίας γlia ανιβεβαιωετε τὴν επιούην ας καν αἰσιράρετε έκανούή λειούρία.
- Ia eBaiowkai taeBaon stn vtnoovn enlouyn, note To nAekto pEvou SHEMIOH: Ia eoiokovm npu matoiw, noovkuvn evvepnoi o ptioq nOvohy uypw kpratawLW knt aetotay VOX.
5.6. apwon kavaiow
H 口 口 口 kavaiawvavaqntaevepyaonmuatakuklaikaota kavalia1 Ew8.
- Ieot to nKtpo SCAN S yia va evpyonoiote tn apwn kavaawv.
- Təv avxveuté iəv evpyo Šŋa (eə və nə tā 8 kaváλi), n ḥρωn kavaiwσtajata npoosipva kai oukoyetai yαnxntiko Šŋa.
- Πιαστε το πλκτρο μομλίας (TALK) γε εἰτικονωνία σμεδω του καναιόν ἀνεργόν έμηατος κα Απενεργούηηθι πά ἀρωπός καναιώ.
- (001)Otav avxveutei eva evyop ojma (oe eva ano ta 8 kavalia), note to nnktpo enaw ±b katw via na papaaleiote to tepox kavala kal va ouvexioe tvv aacnion yia aaloo evyop kavalu
- Πέθετο τὸ Μακτρο σαρωσης (SCAN) γιαν απενεργούησετη τὴνιουρία δαρωσηκα καλαιών.
5.7. Σταθμη Φόρτιας Μπατίας/Επιεδο Xαμηλίς Μπατίας
- Tσaθμη φορτιας της μηαταρίας unοδηλωνεται anο τον αριθμο τών τεργανγωνιδύνου που εμφανίονται έδεσα στο εικόνιδι μηαταρίας τής Θθόνης uγρων κυρατλλων.
- Otav néoi n otaiu fopio ntc nuataiac, apixei va aaooyne i to ekovidio nataiapic oecvdei e ono i niataie penei va aaxtouv n etavapotiotouv.
5.8. Xpnoe TavaoepiOeVov npataiov.
JNsivtvo: Mn potiTeT eTu ouaKeun xpaouoioovzra METAeXHMATIETH ENAAALSSOMENOY/ SNEXNYOY PEYMATO(AC/DC), Eoxvtac tonoBstnoaIaekuAikaukeMparatiec "AAA". Xpojouoiotei vTo npaietipKO tEAXMHATIAMTAC AC/DC mOvo mEv aevapoticioeve, mparatiec "AAA"(Sv nepaiaubovtai).
Tia va xipnoiouoetoe to PMR MEva METAUXHMATIZTH AC/DC Kau enapaopticiuevee nataipiec, eevpyntse oC eHc:
-
TotoBéTIOTe TÉOεPIC (4) έπαναφοριζόμενες μηταρίες "AAA" (δεν περλαβμανοναι).
-
to 7,5VDC / 200mA (8eV npiiaaavetai) oynu 1o0oxnakouotikou/ukpoopovou/phiotionc tO eNaww mepos Tc oukeunk Aevpyonoiote tn ouakeun niocovtac to nAnkTPO evpyoioinoc/ aneepeyonoinoc
\SHMEIΩS H:
H ouokekun 8ev mnpei va eata knt diapkeia ts foption twv nataiptw.
Xeiaocovai 8 10 wepc nepinou yia va φopriotouv nIipwos oI npatapiεs.

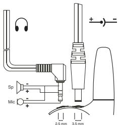
Xpionakouotikow
Mnopeite va tN ouakeun PMR e evaet akouotikwv (ev npiauabveTa).Suvoe taakouotikata nVtovnooohakouotikwv/ukpofwuou EAR/MIC)6.
5.9.AnooToaTovwKlnonc
Mnopeite va xpnoiouoetoe tou Tovouc Kaonca va eioonoiote to aallo xnoiwtwe oac avaywpioei.
Mnopte, enioi, va xpaiaoioaote Touc Tovouc Kaonca va onuaotodtoetae tvn evapen n to teao mac eokntmhc.
IeIOE KAI aneaeu3epoTe To nAnKtpo KaHOnC. O Tovoc KaHOnC ouvexiei Yia 3 DeutepoAerTa.
2. OI Tovoi KaJOns oag Ta eTadooov Stouc Kovtivouc EKTEC NOU Eiva IpuOmuoievoi 10 so idio kavai.
6. SPECIFICATIONS
| Kavália Δειτρεύν κανάλι CTCSS Ioχύς Εέδου (TX) Εμβέλεια | 8 Kavália 38 γία καθε κανάλι Ioχύς Εέδου :0,5W (Μέγιοπη) Μέχρι και 3 Km (ανοικό πεδίο) |
7.0△HΓIEΣAΣΦΑΛΕΙΔ
7.1. Xaiaoueyn Kepaia.
Mn xnpaonoiite ouokuec etikovwiauc eaaouevn Kepaia.
Eva yaaevn epaia eanepaia npoe va npoknno
7.2. MntapieiC.
Oi natapiie c npoei va npokaleouv uikc cetaic kai/omega tko tpaumatio o otwc ykaumata, oe nepittwnon nuaywyo uiko -otwc koomjmuata, kaiia koioloyia- eAe i e napn ie kteeeevoc akpodkTc. To uiko npoei va m iuyo eKkEIOI TO NkEETKO (bpuxukkawma) kai va unepepavotei onuviKa
npooxkataoXepioofoepovwuvnataipiw,iaitepaotav tic TOnotheiteaeToeNC,noptoiaaheKaieEioucOngKecnpuieoxuV eTaalkaavtkeiva.MnyavtkiotateKai n opticTeunatapie,aeXwpouc eMnehavekpkihtauoopaia.
Kata tvn totoehtn h tvn apeiaei nntapaiw, mnpoei va ndnoupythov unoivhpc otic enaepc kai va npokaleouv EkpnI.
7.3. Σε oxημata με aεροσακo.
Mny totoTeITE tN SuokeiE nKoioviaoc aO tNv nepiox yupw ano evav aeopao k otny neipoxh aoivjatoc tou aeopaoku.
Oi aepoakoiouakowovu eayanduvaun. Eavuaouakeun etikoivwviaoc toeTnEOTNIPEIOXAVIaTOC TOAepoakoukai O aepoakoc avolei, n oukeun ETKAOVWIAICNPOEVAKTOEUXEIEUeYALNDUVaun kai va npokaleoi oopapotraumiooTou ENIATEsToxMauTOC
7.4. ΠιθανάΕκρηκτικήΑτμοσφαίρα.
AtepeyonoieTe naukeuEn tniokovuiac oac otav biakote a nepioxocmu iiae kpnkiAtaouapapa,ekoc ev o tuoc noukeun eivai idika npoaopoouev yia tetoia xhoJion.
O tviovnepc de toteic nepiecx oanei va npokaleouk epnj n npkayia, e anotetareca oawatiko tpauiatajuo h akojn kai bvatoo.
7.5. Nupokpotntc kai npioxacavativaEwv
Tva anoaypeTe nivapnapeBoaIne a kataucavativaEwv,anevepyoiaite Tuaoukeu eTKIOAVUVA OACovBpiokeote KovTa ne kETPKOUC NpOKPOTNTc, OE "peipoxce avativaEw" ne peipoxeou poepvu nganov
"Anevepyonoiote tou nouoekc
ZuumopΦωθειτε με ὅλες τις πινακίδες και Μθυγίες.
i
Pepioxec me iBaiva eKpntkTAtuOoapApa anavtwvta uovxA, aAdelta fepouv navtoe xetikn oJauvon, S'autc, nepiaIauVbatopeipocexe, aeovdoaou kauoiuown oskawto KAATAOPWAsE OApN, OEykaataoaeic metapopac nToaOHKeunG KauoiuWn hXmuKw-epioxoc onou o aepac peiExei yuaikna oauatiaia, onucokkouc, oknv netaalikec okovec, KAI onoeisneot Ales necipoxc onou ouvHwoc aocoutivetai v aohotev tokivtnpa tou autokivntou aoc.
7.6. Hλεκτρομayvntikες Παρεμβολες/Hλεκτρομayvntikί Σμβατότητa
Σεδδο ὅλες Μιλεκτρονικές συακεύες επηρεάζονται Αθηλεκτρομαγνητικές παρμβολές (EMI), ελεν εἰναι ανετρακίως θωρακίομεύες, σχέδιαμεύες ἡ diamοφρωμεύες, με διαφορεικό τρό ποῦ ΑΤΟ ηνλεκτρομαγνητική συμαβατότητΑ. Ateνεργοισηθετη Σιακεύη ας Εγκατασείας ΠουΝι μαρείσηνου Μου oac unayopoeüe vα κανετε Kāti τέτοι. Ta νοσκομεία ἡ τα κέντρα iatρικό
περιαλψης μμοείν αχρημοσιούν Εξολισό, o Μοιος εΙαιδθητος σ εξωτερκήν ἀνεργεία παδιουχνοῦτων (RF) Ατενργούηιει τη υακεύνης ας ὄταν εἰπιαβανετε σ ελροσακρήν και ας Κητθέι και τέτοι. Kαβε χρηση τὴς υακεύνης πρείητεν τού μυμορρόνεῖται με τους κανονίαμους τὴς αρερορικής εSTAIPΕΥΩ ΠΤΟ έθηγεις του πλροματός.
8. φPONTIΔA KAI ΣYNTHPHSEH
Ia va kaBapiaeTe Tn oukeun, okouniote Tn me eva maakopavi, voiaevo 1e vpoe. Mo xnpaiooie KApaiotka n diauutka otn oukeun, mopei va npokalaoouv zma oTo npiBlauma kai va eipseouov uea otn oukeun, npokawvtac oovun zma.
Oe tawmuatapwv maBapotovu me kouiaq, me eva oteyo navi nov de apnve xvoi. Eav n oukeun bpaxei, anevpyonoiote tvk a apapeotie tucnapae qewc.
Στεγνωτε ηιν ΨΙΟΔOXH ΜΠΑΤΙΝ Με εῦ αλακό παι γιαν ελαχιστοποηθει έμανι ζημία συτον. Αρήσε το καλμύμα τη ΨΙΟΔOXH ΜΠΑΤΙΝ Μχρις va το Νοθετησε, για μνιντα ἡ φερίς τόου Θεγνωεσε εντελως. Μη χρησιοποιησε τη Σουκευι ἡ φερίνα στεγνωεσε εντελως.
9. EΓΓYHΣH
Autn ouakeun ovooedustai ano eyyun 24 mnuw. H eyyunon ioxuei otav
ouoovoeutai ano tv anoideiyan apoc n avtyapao tnc, uno tvdo oto ee autn
ayapapeia n jnepuounya ivopac kai o tucoc ncookeju. Kata tn diapkeia
ioxoc ncs eyyunoc, n Topcom 8a enoakeuae i dweav onoiadnoote npokhbei ano Eaattwataikla uika h kataokeuyn. YNkotei tnt biakpiikn euxepieia
TcTopcomite v ane uetaeukae i na vataaalege nTv eaattwpatikn ouokeju.
H eyyunon dev exixu o se nepittttweic ettemuaoanc ao to xpnotn n alawv mn
eouauoiootjevovtipvatnpooowv.H eyyunon dekauuntteu xov babeq tou
npokalouvtai ano akatalanm taetaxeiion n xepiaouc, n ano tn xpnon un
yvnoow aeeooap nou de ouviota Topcom H eyyunon dev kauuntteu xov babeq
nupokalouvtai ano EeWTEPKOUC npayoytec, otwc kepauvouc, vepo kalwotia,
ontcw kai de ixuuei ne pirttowoeic aalloomega, diayapaneong tou
apitoueouc epac ntc ouokeju.
i
Σε πεπιπωη επιστροφής της συακεύης, μην παραλείπετεν ασωκλείετετην απόδειξη αγοράς.
To 0 CE UoobnawvE ot n ouokevun ooumopovetai e Tc ouwodic anatntoeic tnc odnyiac R&TTE.
Xpauoioiote Eeulepe Oawc: Olambdaia, Ipavdia, Noptoyaiia, Belyio, Taaia, Hwmu. Baoiaeio, Phawdia, EAAdelta, Eepuavia, Auotpiia, Iostavia, Taexia, Davia, Souniaia, Itaiia, Nopbnyia, Aetia, loxenBoupyo.
1. POPIS
(viz. predni kryt)
- Mikrofon
- Tlacitko Monitor (monitorovani)
- Tlacitko Talk (mluveni)
- Tlacitko Call (volani)
- Ear/mic/konektor
-
Antena
-
LCD displej
10.Tlacitko Up/Down (nahoru/dol_)
11.Tlacitko Menu/Lock (zamek) - Tlacitko On/Off (vypnout/zapnout)
13.Tlacitko Scan
14.Sluchatko
2. INSTALLACE

Notice-Facile