TWIN TALKER 3500 - Talkie-walkie TOPCOM - Notice d'utilisation et mode d'emploi gratuit
Retrouvez gratuitement la notice de l'appareil TWIN TALKER 3500 TOPCOM au format PDF.
| Intitulé | Description |
|---|---|
| Type de produit | Talkie-walkie |
| Caractéristiques techniques principales | Portée jusqu'à 3 km, 8 canaux, écran LCD |
| Alimentation électrique | Batteries AA (non incluses) |
| Dimensions approximatives | 12 x 5 x 3 cm |
| Poids | 150 g (sans batteries) |
| Compatibilités | Compatible avec d'autres talkies-walkies de la même gamme |
| Type de batterie | Batteries alcalines ou rechargeables |
| Tension | 1,5 V par pile |
| Puissance | 0,5 W |
| Fonctions principales | Communication bidirectionnelle, fonction de verrouillage des touches, indicateur de batterie faible |
| Entretien et nettoyage | Essuyer avec un chiffon doux, éviter l'eau et les produits chimiques |
| Pièces détachées et réparabilité | Disponibilité limitée des pièces détachées, consulter le service client pour les réparations |
| Sécurité | Ne pas utiliser à proximité de sources d'eau, ne pas exposer à des températures extrêmes |
| Informations générales | Idéal pour les activités de plein air, les événements sportifs et les communications à courte distance |
FOIRE AUX QUESTIONS - TWIN TALKER 3500 TOPCOM
Téléchargez la notice de votre Talkie-walkie au format PDF gratuitement ! Retrouvez votre notice TWIN TALKER 3500 - TOPCOM et reprennez votre appareil électronique en main. Sur cette page sont publiés tous les documents nécessaires à l'utilisation de votre appareil TWIN TALKER 3500 de la marque TOPCOM.
MODE D'EMPLOI TWIN TALKER 3500 TOPCOM
(Voir couverture avant)
- Microphone
- Écran LCD
- Bouton de contrôle auditif 10. Bouton Monter/Descendre
- Bouton de transmission 11. Bouton Menu/Verrouillage
- Bouton d'appel 12. Bouton On/Off
- Ear/mic/chargeur 13. Bouton Scanmage
- Antenne 14. Haut-parleur

2.1. Enlever/installer le clip de ceinture
- Pour enlever le clip de l'unité, poussez le clip de ceinture vers le haut (2) tout en tirant l'onglet du clip (1).
- Dansque vous réinstallé le clip de ceinture, un 'click' indique que le clip de ceinture est verrouille en position.
2.2. Installation des piles
- Retirez le clip de ceinture (2).
- Tirez le clapet du couvercle du compartiment à piles (4) et enlevez le couvercle du compartiment à piles (3).
- Installez 4 piles AAA alcalines ou rechargeables selon la polarité indiquée.
- Réinstallez le couvercle du compartiment à piles (3) et le clip de ceinture (2).
3. Écran LCD

a. Icône RX. S'affiche en cas de réception d'un signal. b. Icône TX. S'affiche en cas de transmission d'un signal. c. Affiche le NIVEAU DE VOLUME actuel. d. Code CTCSS. Passe de 1 à 38 selon la sélection de l'utilisateur. e. S'affiche en mode BALAYAGE DE CANAUX. f. S'affiche en mode VOX. g. Symbole du verrouillage des boutons. h. Le niveau de charge actuel des piles. i. Numéro de canal. Passe de 1 à 8 selon la sélection de l'utilisateur.
4.1. Allumer/éteindre l'appareil
Pour l'activer; appuyez sur le bouton ON/OFF et maintenez-le enfoncé. L'appareil émet un "bip" et l'écran LCD affiche le canal courant.
Pour désactiver; appuyez à nouveau sur le bouton ON/OFF ① et maintenez-le enfoncé. L'appareil émet un "bip" et l'écran LCD s'éteint.
4.2. Régler le volume du haut-parleur.
Le volume du haut-parleur peut être réglé à l'aide du bouton /. Le niveau du volume du haut-parleur s'affiche sur l'écran LCD (voir §3)
4.3. Recevoir un signal
L'appareil est continuellement en mode RECEPTION lorsqu'il est en position ON et qu'il ne transmet pas. Lorsque vous recevez un signal sur le canal courant, l'icône RX s'affiche (voir §3)
4.4. Transmettre un signal
- Appuyez sur le bouton PTT et maintenez-le enfoncé pour transmettre.
- Tenez l'appareil en position verticale, le microphone à 5 cm de votre bouche et parlez dans le microphone.
- Relâchez le bouton PTT lorsque vous avez fini de transmettre.
NOTE: Pour vérifier l'activité sur le canal, appuyez sur le bouton et maintenez-le enfoncé. Vous entendrez un bruit statique si le canal est inoccupé. Ne transmettez pas si une personne parle sur le canal.
IMPORTANT: Pour que d'autres personnes reçoivent leur transmission, elles doivent également se connecter sur le même canal que celui que vous utilisez et avoir réglé le même code CTCSS que vous. Reportez-vous à la section "Changer de canaux"
5.1. Changer de canaux
Le PMRS dispose de 8 canaux disponibles.
| CHAN, No. | FREQ, (MHz) |
| 1 | 446,00625 |
| 2 | 446,01875 |
| 3 | 446,03125 |
| 4 | 446,04375 |
| 5 | 446,05625 |
| 6 | 446,06875 |
| 7 | 446,08125 |
| 8 | 446,09375 |
Pour changer de canal :
- Appuyez une fois sur le bouton MENU , le numéro du canal courant clignote sur l'écran LCD.
- Appuyez sur le bouton ou pour changer de canal.
- Appuyez sur le bouton MENU pour confirmer la seLECTION du canal et passer en mode SELECTION DE SOUS-CANAL CTCSS, ou appuyez sur le bouton TRANSMISSION pour seLECTIONner le canal désire et revenir en mode normal.
Le code CTCSS à deux chiffres correspond à une fréquence de tonalités spécifique qu'émet la radio. Deux utilisateurs, avec le même canal et le même code CTCSS, peuvent s'entendre l'un l'autre. Ils ne pourront entendre personne d'autre sur le canal, sauf si les autres radios ont exactement le même code CTCSS.
Le Twintalker 3500 dispose de 38 codes CTCSS.
- Appuyez deux fois sur le bouton MENU , le code CTCSS se met à clignoter
- Appuyez sur le bouton ou ▽ pour passer à un autre code.
- Appuyez sur le bouton TRANSMISSION pour confirmer votre sélection et revenir en mode normal.
- Pour confirmer et passer à l'option suivante, appuyez sur le bouton MENU
Note: Tout PMR régé sur le même canal peut recevoir et entendre la conversation, également quand l'autre utilise un code CTCSS.
5.3. Contrôle auditif du canal courant
Vous pouvez utiliser l'option CONTRÔLE pour rechercher des signaux plus faibles sur le canal courant.
- Appuyez sur le bouton pour un monitoring normal.
- Appuyez sur le bouton et maintenez-le enfoncé jusqu'à un "bip" signalant un monitoring continu.
5.4. Verrouillage des boutons
Appuyez sur le bouton MENU et maintenez-le enfoncé pendant 5 secondes pour activer ou désactiver le mode 'verrouillage des boutons'. L'icône 'verrouillage des boutons' s'affiche sur l'écran LCD. Appuyez à nouveau sur le bouton MENU et maintenez-le enfoncé pour désactiver le mode 'verrouillage des boutons'.
5.5. Sélection VOX
Le PMRS est équipé d'un dispositif de transmission activée par la voix (VOX). En mode VOX, la radio transmet un signal lorsqu'elle est activée par votre voix ou un autre son proche de vous. Le mode VOX n'est pas recommandé si vous prévoyez d'utiliser notre radio dans un environnement bruyant ou venteux.
- Appuyez trois fois sur le bouton MENU ⇔, l'icone VOX clignote sur l'écran LCD.
- Appuyez sur le bouton pour activer l'option VOX, ou appuyez sur le bouton pour désactiver l'option VOX.
- En mode VOX, l'icone VX est affichée.
- Pour confirmer toute sélection et revenir en mode normal, appuyez sur le bouton TRANSMISSION.
- Pour confirmer et passer à l'option suivante, appuyez sur le bouton MENU
NOTE: Pour économiser l'énergie, l'appareil n'allumera pas l'écran LCD en mode VOX.
5.6. Balayage de canaux (channel scan)
Le balayage de canaux effectue des recherches de signaux actifs dans une boucle infinie de 1 à 8.
- Appuyez sur le bouton SCAN S pour activer le 'balayage de canaux'.
- Lorsqu'un signal actif est détecté (un des 8 canaux), le 'balayage de canaux' fait une pause et vous entendrez le signal actif.
- Appuyez sur le bouton TRANSMISSION afin de communiquer par le biais de ce signal actif et le 'balayage de canaux' est désactivé.
- Lorsqu'un signal actif est détecté (l'un des 8 canaux), appuyez sur le bouton ou pour passer au canal courant et poursuivre la recherche d'un autre canal actif.
- Appuyez sur le bouton SCAN pour désactiver le mode 'balayage de canaux'.
5.7. Indicateur de niveau de charge des piles
- Le niveau de charge est indiqué par le nombre de carrés présents à l'intérieur de l'icône de charge de l'écran LCD.
- Lorsque le niveau de charge est faible, l'icône de charge clignote pour indiquer que les piles doivent être remplacées ou rechargées.
5.8. Utiliser des piles rechargeables.
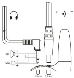
Important: Ne rechargez pas cette unité avec un adaptateur AC/DC lorsque des piles "AAA" alcaline normales sont installées. Utilisez uniquement l'adaptateur optionnel AC/DC avec des piles rechargeables "AAA" (non comprises).
Pour utiliser le PMRS avec un adaptateur AC/DC et des piles rechargeables, précisé comme suit :
- Insérez quatre (4) piles rechargeables "AAA" (non comprises).
- Branchez l'adaptateur 7,5 V DC / 200 mA (non compris) dans la prise EAR/MIC/CHARGEUR au-dessus de l'appareil et allumez-le en appuyant sur le bouton POWER.
NOTE: L'appareil ne peut transmettre des appels lorsque les piles sont en charge. Charger pleinement les piles prend approximativement 8 à 10 heures.

Utilisation d'un casque
Voulez utiliser le PMR avec un casque (non compris). Branchez le casque dans la prise EAR/MIC (5).
5.9. Envoyer des tonalités d'appel
Voupeuz utiliser des tonalités d'appels pour avertir les autres que vous essayez de prendre contact avec eux. Voupeuz également utiliser des tonalités d'appels pour signaler le début ou la fin d'une transmission.
- Appuyez sur le bouton APPEL et relâchez-le. La tonalité d'appel continue pendant 3 secondes.
- Vos tonalités d'appel seront transmises aux récepteurs proches réglés sur le même canal.
6. Specifications
| CanauxSous-canal CTCSSPuisance de sortie (TX)Portée | 8 canaux38 pour chaque canal0.5W (Maximum)Jusqu'à 3 Km (terrain dégagé) |
7.1. Dommages à l'antenne.
N'utilisez pas un communicator dont l'antenne est endommagée. Lorsqu'une antenne endommagée entre en contact avec la peau, il peut en résulter une légère brûlure.
7.2. Piles.
Les piles peuvent causer des dommages et/ou des blessures telles que des brûlures si un matériel conducteur, tel que des bijoux, des clefs ou des chaînes à boulettes, touche des terminaux exposés. Le matériel peut compléter un circuit électrique (court-circuit) et devenir relativement chaud. Veuillez faire attention lors du maniement de piles chargées, particulièrement lorsque vous les placez dans une poche, un sac à mains ou tout autre chose avec des objets en métal. Ne remplacez pas ou ne rechargez pas les piles dans une atmosphère potentiellement explosive. Des étincelles au niveau des contacts peuvent se produire lors de l'installation ou de l'enlèvement des piles et provoquer une explosion.
7.3. Pour les véhicules avec airbag.
Ne placez pas tout Communicateur dans une zone au-dessus d'un airbag ou dans le périmètre de déploiement d'un airbag. Les airbags se gonflent avec beaucoup de force. Si un communicator est placé dans le périmètre de déploiement d'un airbag et que ce dernier se gonfle, il est possible que le communicator soit projeté avec une grande force et qu'il occasionne de sérieuses blessures aux occupants du véhicule.
7.4. Atmosphères potentiellement explosives.
Éteignez votre communicator lorsque vous vous trouvez dans une zone représentant une atmosphère potentiellement explosive, sauf s’il s’agit d’un type spécifique prévu pour un tel usage. Des étincelles dans de telles zones sont susceptibles de provoquer une explosion ou un incendie, occasionnant de sérieuses blessures physiques ou même la mort.
7.5. Détonateurs et zone de détonation
Afin d'éviter toute interférence éventuelle avec des détonateurs, éteignez votre communicator lorsque vous êtes à proximité de détonateurs électriques ou d'une 'zone d'explosion' ou dans des zones où sont affichés des avis: 'Éteignez votre radio à deux voies'. Respectez tous les signes et instructions.
Attention : Les zones représentant des atmosphères potentielllement explosives sont souvent, mais pas toujours, indiquées clairement. Elles incluent les zones de carburant telles que le pont inférieur des bateaux, les implantations de transfert ou de stockage de carburant ou de produits chimiques ; les zones où l'air contient des produits chimiques ou des particles telles que des grains, de la poussière ou des poudres métalliques ; et toute autre zone où l'on vous conseillerait normalement d'éteindre le moteur de votre vehicle.
7.6. Interférence/compatibilité électromagnétique :
Presque tous les appareils électroniques sont sensibles aux interférences électromagnétiques (EMI) s'ils sont blindés, connectés ou configurés de façon inadéquate sur le plan de la compatibilité électromagnétique.
Mettez Your unité en position OFF dans tous les endroits où des avis vous prient de le faire. Les hôpitaux ou les centres de soins de santé utilisent des équipements sensibles à l'énergie RF externe.
Mettez Your unité en position OFF lorsque vous vous trouvez à bord d’un avion quand vous êtes invité à la faire. Toute utilisation de l’unité doit se faire conformément aux régulations aériennes ou aux instructions de l’équipage de bord.
8. SOIN et maintenance
Pour nettoyer l'unité, frottez avec un tissu doux humidifié avec de l'eau. N'utilisez pas de détergents ou de solvants sur l'unité; ils peuvent endommager le boîtier et pénétrer à l'intérieur, causant des dommages permanents. Les contacts des piles peuvent être frottés avec un tissu sec sans peluche. Si l'unité est mouillée, éteignez-la et enlevez immédiatement les piles. Séchez le COMPARTIMENT DES PILES avec un tissu doux afin de minimiser les éventuels dégâts causés par l'eau. Laissez le COMPARTIMENT DES PILES ouvert pendant une nuit ou jusqu'à ce qu'il soit complètement sec. N'utilisez pas l'unité avant qu'elle ne soit complètement sèche.
9. Garantie
La période de garantie s'élève à 24 mois. La garantie est accordée sur présentation de la facture ou de la confirmation de paiement originale, à condition que la date d'achat et le type d'appareil soient mentionnés.
Pendant la période de garantie, Topcom répare gratuitement toutes les pannes résultant de défauts de matériel ou de fabrication. Topcom assurera, à sa propre discrétion, ses obligations de garantie en réparant ou en échangeant l'appareil défectueux.
Toute demande de garantie sera nulle en cas d'intervention de l'acheteur ou de tiers parties non qualifiées.
Les dégâts causés par un mauvais traitement ou une utilisation incorrecte et les dégâts resulting de l'utilisation de pièces ou accessoires non originaux non recommendés par Topcom ne sont pas couverts par la garantie.
La garantie ne couvre pas les dégâts causés par des facteurs extérieurs, tels que la foudre, l'eau et le feu. Aucune garantie ne peut non plus être réclamée si le numéro de série sur les unités a été modifié, enlevé ou rendu illisible.
Attention: N'oubliez pas de joindre la preuve d'achat lorsque vous renvoyez l'appareil.
La conformité de l'appareil avec les exigences fondamentales de la directive européenne R&TTE relative aux terminaux est confirmée par le label CE.
Usage libre en: Pays-Bas, Irlande, Portugal, Belgique, France, RU, Finlande, Grèce, Allemagne, Autriche, Espagne, République tchèque, Danemark, Suède, Italie, Norvège, Suisse, Luxembourg
(siehe Vorderseite)
4.4. Sende et signal
- Trykk og hold TALK-knappen nede for å SENDE. TX LED-indikatoren tønes.
- Tenez l'appareil verticalement avec le MIKROFONEN à 5 cm de la bouche et parlez dans le micro.
- Slappez TALK-knappen när du är färdig med Å.
Notice Facile