TWIN TALKER 3500 - Walkie-talkies TOPCOM - Gratis brugsanvisning og manual
Find enhedens vejledning gratis TWIN TALKER 3500 TOPCOM i PDF-format.
Download vejledningen til din Walkie-talkies i PDF-format gratis! Find din vejledning TWIN TALKER 3500 - TOPCOM og tag din elektroniske enhed tilbage i hånden. På denne side er alle dokumenter nødvendige for brugen af din enhed offentliggjort. TWIN TALKER 3500 af mærket TOPCOM.
BRUGSANVISNING TWIN TALKER 3500 TOPCOM
PMRS har 8 tillganglia kanaler.
| CHAN, No. | FREQ, (MHz) |
| 1 | 446,00625 |
| 2 | 446,01875 |
| 3 | 446,03125 |
| 4 | 446,04975 |
| 5 | 446,05625 |
| 6 | 446,06875 |
| 7 | 446,08125 |
| 8 | 446,09375 |
Forattvaxlakanaler:
2.1. Fjernelse/Installation af bælteclip
- Skub bælteclippen op (2), og træk ned i klemmestroppen (1) for at fjerne bælteclippen.
- Nár bætleclippen after fastgøres på apparatet, hores et klik nar den sidder i den rette position.
2.2. Batteriinstallation
- Fjern bælteclippen (2).
- Træk i stroppen på batteridækslet (4), og fjern batteridækslet (3).
- Anbring fire 'AAA' alkaline ell genopladelige batterier ifolge polaritetsanvisningerne.
- Fastgør atter batteridækslet (3) og bælteclippen (2).
3. LCD-DISPLAY

a. RX-ikon. Vises nár der modtages et signal.
b. TX-ikon. Vises nár der transmitteres et signal.
c. Viser den aktuelle LYDSTYRKE
d. CTCSS-kode. Skifter fra 1 til 38 afhengigt af brugerens valg.
e. Vises nár apparatet er i KANALSCAN-funktion.
f. Vises nár apparatet er i VOX-funktion.
g. Tastelässymbol
h. Det aktuelle batteriniveau.
i. Kanalnummer. Skifter fra 1-8 afhengigt af brugerens valg.
4. BRUG AF APPARATET
4.1. SLUK/TEND for apparatus
Tænd;trykprawPOWER-tasten(),ogholdden nede.Apparatet"bipper",ogLCD-displayet viser den aktuellekanal.
Sluk; tryk endnu en gang pa POWER-tasten , og hold den nede. Apparatet "bipper", og LCD-displayet slukkes.
4.2. Indstilling af lydstyrke.
Lydstyrken kan indstilles ved hijelp af op () /ned () tasten. Lydstyrken vises på LCD-displayet.
4.3. Modtagelse af et signal
Nár apparatet er T'ENDT og ikke er i færd med at sende, er det allid i MODTAGER-funktion. Nár du modtager et signal på den aktuelle kanal, vises RX-ikonet.
BEM/ERK: Kontrol af kanalaktivitet; tryk på OVERVÄGNINGS1 -tasten og hold den nede. Hvis kanalen er ledig hores atmostojariske forstyrlser. SEND/DD, hvis du horer nogen tale pa kanalen.
VIGTIGT: For at kinne modtage din transmission, skal modtageren ære på den samme kanal og anvende den samme CTCSS-kode som dig. Se 'Ændring af kanaler'
5.BETJENING
5.1. AEndring af kanaler
PMRS har 8 kanaler.
| CHAN, No. | FREQ.(MHz) |
| 1 | 446,00625 |
| 2 | 446,01875 |
| 3 | 446,03125 |
| 4 | 446,04375 |
| 5 | 446,05625 |
| 6 | 446,06875 |
| 7 | 446,08125 |
| 8 | 446,09375 |
AEndring af kanal:
- Tryk på MENU( )-tasten. Det aktuelle kanalnummer blinker på LCD-displayet.
- Tryk på OP (▲) eller NED(▼)-tasten, hvis du onsker at skifte til anden kanal.
- Tryk på MENU ( )-tasten for at bekrafte valget af kanalen og gå til CTCSS SUBKANALVALG-funktionen, ell tryk på TALE-tasten for at vælge kanal, og vende tilbage til NORMAL-funktionen.
Den 2-cifrede CTCSS-kode svarer til en specifik tonefrekvens som radioen udsender. To brugere med samme kanal og CTCSS-indstilling kan hore hinanden. De vil ike kinne hore andre på kanalen, medindre andre radioer har aktiveret nogajtgtden samme CTCSS-kode.
Twintalker 3000 har 38 CTCSS-koder.
- Tryk to gange på MENU( )-tasten, CTCSS-koden blinker
- Tryk på OP(▲) eller NED (▼)-tasten for atændre koden.
- Tryk på TALE-tasten for at bekræfte valget og vende tilbage til NORMAL-funktionen.
- for at bekrafte og gå videre til det næste valg. -tasten
Bemärk: Enhvar PMR som er indstillet på den samme kanal kan lytte til samtalen, ochn den anden anvender en CTCSS-kode.
5.3. Overvågning
Du kan anvende OVERVÄGNINGS-funktionen til at kontrolere svagere signaler på den aktuellen canal.
- Tryk på OVERVÄGNINGS (ä) -tasten for normal kontrol.
- Tryk på OVERVÄGNINGS (ü) -tasten og hold den nede indtil den "bipper", hvis du ensker vedvarende contro.
5.4. Tastelas
Tryk på MENU( )-taston og hold den nede i 5 sekunder for aktivere eller afbryde TASTELAS-funktionen. TASTELAS-ikonet vises på LCD-displayet. Tryk endnu en gang pa MENU ( ) -taston og hold den nede for atrophyd TASTELAS-funktionen
5.5.VOX-valg
PMRS er i stand til at sende stemmeaktiverede (VOX) transmissioner. Nar apparatet er i VOX-funktion seller radioen et signal nar den aktiveres af din stemme ull en anden lyd omkring dig.Det frarades at anvende VOX-funktionen i omrader med megen stoj ull vind.
- Tryk på MENU( )-tasten 3 gange, VX-ikonet blinker på LCD-displayet.
- Tryk på OP(▲)-tasten for at taende for VOX-funktionen, eller tryk på NED(▼)-tasten for at slukke for VOX-funktionen.
- När apparatet er i VOX-funktion vises VX-ikonet.
- Tryk på TALE-tasten for at bekrafte valget, og vende tilbage til NORMAL-funktionen.
- Tryk på MENU-tasten for at bekræfte og gå videre til det næste valg.
BEMERK: For at spare pa strømmen forbliver LCD-displayets baggrundsbelynsing slukket, nar apparenter er i VOX-function.
5.6. Kanalscan
KANALSCAN soger i et vedvarende loop after aktive signaler mellem kanal 1 og 8.
- Tryk på SCAN S-tasten for at aktivere KANALSCAN-funktionen.
- KANALSCAN stopper, när der findes et aktivt signal (en af de 8 kanaler). Du horer det aktive signal.
- Tryk på TALE-tasten for at kommunikere gennem den aktive signalkanal. KANALSCAN afbrydres.
- När der er fundet etaktiv signal (en af de 8 kanaler), kan du trykke på OP(▲) eller NED(▼)-tasten for at söge videre after en,anden aktiv kanal
- Tryk på SCAN-tasten for at afbryde KANALSCAN-funktionen.
5.7. Batteriniveau/Lavt Batteri
- BATTERINIVEAET vises v.h.a. antallet af firkanter i BATTERI-ikonet på LCDdisplayat.
- Nár BATTERINIVEAET er lavit, blinker BATTERI-ikonet for at vise at det er tid til at udskifte ehe polderiatabatteriene.
5.8. Genopladelige batterier.
Vitigt: Dette apparat瑕不断提高 alplades v.h.a. en AC/DC ADAPTER, nara der er alminderlige "AAA" alkaline batterier installerer. Anwend kun en AC/DC ADAPTER, nara der er installerer "AAA" genopladige batterier (Ikke vedlagt).
Brug af PMRS med en AC/DC ADAPTER og genopladelige batterier:
- Anbring fire (4) "AAA" genoplastelige batterier (ikke vedlagt).
- Tilslut 6 V DC / 300 mA ADAPTEREN (ikke vegladi) til ORETELEFOF/MIKROFON/ OPLADER-STIKKET Ovenp aparated, og Tænd for aparatev v.h.a. POWER-tasten.
BEM/ERK: Apparatet kan/DDke transmittere mens batterierne oplades. Det tager ca. 8 til 10 timer at lade batterierne fuldstendigt op.

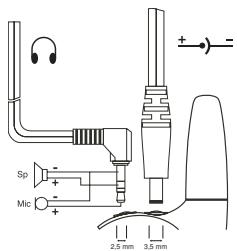
5.9. Brug af hovedtelefoner.
Du kan ogsa betjene PMR v.h.a. hovedtelefoner (ikke vedlagt).Tiltslut hovedtelefonen til ORE/MIKRO-stikket (6).
5.10. Anvendelse af kaldetone
Du kan anvende kaldetonet til at identificere dig selv for性和 dr. Du kan ogsa anvende kaldetoner til at indikere begyndelsen erller alsflutmingen auf transmission.
- Tryk kort på OPKALDE-tasten. Den rode TX LED-lampe lyser, og KALDETONEN hores i 3 sekunder.
- Dine KALDETONER transmitters til modtagere med samme kanalindstilling i naeheden.
6. SPECIFICATIONER
| Kanaler CTCSS Subkanal Udgangseffekt (TX) Riekkevidde | 8 Kanaler 38 for haver kanal Udgangseffekt :0.5W (Maks.) Op til 3 Km (i det fri) |
7. SIKKERHEDSVEJLEDNING
7.1. Beskadiget antenna.
Anwend aldrig et communikationsapparat med beskadiget antennene. Hvis en beskadiget antenneme kontakt med huden kan det forragsageindre brandsr.
7.2. Batterier.
Batterier kan vare ársag til skade på ejendomme/eller kvæstelser som f.eks. brandsär. Dette kan ske hvís stromflorende materiern som f.eks. smykker, nogler er kaederkommen i kontakt med de blotlagte polktemaker. Disse materialer kan skabe elektriske kredslöb (kortslutning), og blive meget varme. Vaer forskrigt i forbindelse med handtering af opladede batterier. Vaer især forskrigt med at obpevarre dem i lommen, pung ull erandeholdere med metalgenstande. Udskift og oplad aldrig batterier i omrader med eksplosionsfare. I forbindelse med installation ell fjernelse af batterier kan der opsta gnister, som kan forarsage eksplosion.
Læg ikke din PMR i ordreter over airbaggen eri i airbag-udvidelsesomrædet. En airbag pustes op med stor kraft. Hvis din PMR liger i airbag-udvidelsesomrædet, og airbaggen pustes op, kan apparentet flyve æk, og forråsage alvorlige kvaestelser på koretojets passagerer.
7.4. Potentielle Eksplosive Luftarter.
Med minde det drejer sig om en specialty egnet til donne slags brug, skal du slukke din PMR nár du befinder dig i et ormåde med potentielle eksplose luftarner. Hvis der opstg gnister i但这e slags ormår, kan det resultere i eksplosion eller brand med kvaestelser eller selv doden til folge.
For at undgā interferens i forbindelse med spraengninger, skal din PMR være slukket, nár du befinder dig i nahreden at detonater, ell er i "spraengningsomrade", ell er omrader med folgende skilting: 'Sluk for lovejsradio'. Adyd alle skilte og instruktioner.
Bemärk : Omräder med potentielle eksplovec luftarter er ofo, me nike alld tydeligt afmærkede. Disse omräder omfatter brændstofomräder som feks. underdaekene pa færger, overfersels-ller opbevaringsfaciliteter for brandstof er stel kemikalier; omräder hvor luften indeholder kemikalier oder partliker, som partikel, støl er metalpulver; og andere omräder hvor du normait beds om at slukke for motoren to dit koretoj.
7.6. Elektromagnetisk Interferens/Kompatibilitet:
Næsten alle elektroniske apparater pávirkes af elektromagnetisk interferens (EMI), hvis de ikke er korrekt beskærmede, designede eller,and vs konfigurerede til elektromagnetisk kompatibilitet.
SLUK for apparatet, hvu du befinder dig i omrader hvur du via skiltning bedes om at gore det. Hospitaler erer andre lagefaciliteter anvender eventuelt udystr som paivirkes af ekstern RF-energi. SLUK for apparatet ombord pa flyvemaskiner, hvur du beses om det. Enhver brug af apparatet skal vare i overensstemmelse med luftfartsbestemmelserne erller mandskabets instructuerion.
8. RENGØRING OG VEDLIGEHOLDELS
Tör apparatet af med en blod klud fugtet med vand. Anvendiske rengoringsmidter erler oplosningsmidter på apparatet; De kat kon baskadigede hylstret og trange nd i apparatet, hvre de kan forarssige permanent skade. Batterikontakter kan torres af med en tor fugrfi klud. Sluk for apparatet hisd det bilver va'd, og fjern omgaende batterierne. Tor BATTERIRUMMET af med en blod klud for at begrante vandskaden. Tag dakslet af BATTERIRUMMET natten over, ellr indtil det er fuldstændigt tort. Anvendiske apparatet fer det er hel'tort.
9. REKLAMATIONSRET
Enheder fra Topcom er omfattet af en 24-maedeners klarmatisfrist jv.f. gaelende lovgingr. Reklamationsfristen gelder fra den dag, forbrugeren kober den yne ehemed.
Reklamationsretenkal dokumenter ves at den originale regning erller kvittering vedlaegges, hvorpa kobsdato samt ehendens type er anfort.
Handtering af fejlbehaftede enheder
Ved reklamation kontakles det sted, hvor Telefon er kooti.Den defekte enhed sendes retur til et Topcom servicecenter (i de fleste tilfaelde via forhandieren) vedhaftet geldig kobsvittering ether kopi herat.Hvis enheden har en defiek inden for replakationsfristen, vil Topcom eller dennes officielt udnaevnte servicecentre, uden vederlag reparere enhver defekt, som matte skyldes fej i materialer er fremstilling.Topcom vid after eget skon indfri replakementsrettens forplgtelser ved entan at reparere or edskiffe feilbehafede enheder er低下erevale pa disse.Ved skader oder defektem, som skyldes forkert behandling erller betjening, som skader, der skyldes brug af urignationalereservedeile er tilbehor, som irek er anbefalet at Topcom, bortalfder replakementsretten.Desunden omfatter replakementsretten ikke skader, der skyldes ydre faktorer, sasom lynnedsalg, vand- og brandskader, som skader, der skyldes transport. Reklamationsretten bortalfdar hvis enhedens serienumre er blevet aendret, jernet erpa nogen ade违法犯罪 oversen erer gjort ulaelseige.Batterier er ici offattet at replakementsretten, da dette er en
forbruggvarre. Reklamationsretten bortfader desunden, hvis eheden er blevet repareret, ændret或者 modifieret af køber et al. et at ukalificereg og违法犯罪 udnævnt Topcom servicecenter.Af sikherhedsmæssige grunde tilrådes det, at apparatuset frakobles telenettet vddordenejr.
CE-maarkninger bekrefter, atprodukter er i overnsstemmelse med kravene i Rädete teleterminaldirektiv.
Godkendt til brug i:
Nederlanddene, Irland, Portugal, Belgien, Frankrig, Storbritannien, Finland, Graekenland, Tyskland, Østrig, Spanien, Den Tjekkiske Republik, Danmark, Sverige, Italien, Norge, Svetjs, Luxembourg
1. BESKRIVELSE
(se frontdeksel)
- Mikrofon
10.LCD-display
- Monitorast
11.Opp/ned-tast
- Taletast
12.Meny/Lase-tast
- Ringetast
13.Pa/Av-knapp
- Sendelampe
14.Skanne-tast
- Øre/mik/lader
15.Hoyttaler
- Antenne
2. INSTALLASJON

Enheten stared hele tiden i MOTTAK nar den er På og ikke sender. Når du mottar et signal på den aktuelle kanalen, vises RX-ikonet (se §3)
MERK: For à kontrollere aktivitäten på kanalen; trykk og hold MONITOR -knappen nede.
Hvis kanalen er ledig vil du here statst öyk. Ike SEND his vien nosnakper på kanalen.
PMRS har 8 kanaler tilgengelig.
| CHAN, No. | FREQ, (MHz) |
| 1 | 446,00625 |
| 2 | 446,01875 |
| 3 | 446,03125 |
| 4 | 446,04375 |
| 5 | 446,05625 |
| 6 | 446,06875 |
| 7 | 446,08125 |
| 8 | 446,09375 |
PMRS er i stand til stemmeaktiviert (VOX) overf.org. I VOX-modus vil radioen overfore et signal nár aktiveres av din stelle emer或者其他 lyder rundt deg. VOX-drift anbefales ikke hvis du planlegger à bruke radioi en stavende elle vindutsatte omgivelser.
MERK: For a spare strøm slar ikke encheten P Å LCD-skjermen nár den er i VOX-modus.
5.6. Skanne kanal
KANALSKANN soker fetter aktive signaler i en endelos slyfe fra kanal 1 til 8.
- Trykk SCAN S-knappen for Å aktivere KANALSKANNING.
- Nár et aktiv signal (én av 8 kanaler) er funnet, stanser KANALSKANNING, og du horer det aktive signaled.
- Trykk på TALK-knappen for á kommunisere via den aktive signalkanalen og KANAL-SKANNING kobles ut.
- Nár et aktiv signal (én av 8kanaliter) detekteri, trykUP▲- aller DOWN-kappen for à gā forbi actuellkan og fortsette à sōke etten annen aktiv kanal.
- Trykk SCAN-knappen for a deaktivere KANALSKANNING.
5.7. Batteriladenivá/Dárlig batteriindikasjon
- BATTERILADENIVÄET indikeres med hvor mange firkanter det vises i BATTERI-ikonet på LCD-skjernem.
- Nár BATTERILADENIVÄET er lav't, blinker BATTERIL-ikonet for á indikere at batteriene maylltes ellas lopp.
5.8. Med opplabare batterier.
Viktig: Ikke lad deutsche enheten ved hjelp av et AC/DC-ADAPTER med vanlige "AAA" alkaliske batterierystalliert. Bruk kun ekstra AC/DC-ADAPTER med "AAA" opplabbare batterier (ikke inkludert).
For a brute PMR med en AC/DC ADAPTER og opplabare batterier, gjor flogende:
Notice-Facile