TWIN TALKER 3500 - Walkie-talkie TOPCOM - Manuale utente e istruzioni gratuiti
Trova gratuitamente il manuale del dispositivo TWIN TALKER 3500 TOPCOM in formato PDF.
Scarica le istruzioni per il tuo Walkie-talkie in formato PDF gratuitamente! Trova il tuo manuale TWIN TALKER 3500 - TOPCOM e riprendi in mano il tuo dispositivo elettronico. In questa pagina sono pubblicati tutti i documenti necessari per l'utilizzo del tuo dispositivo. TWIN TALKER 3500 del marchio TOPCOM.
MANUALE UTENTE TWIN TALKER 3500 TOPCOM
- Microfono
- Display LCD
- Tasto Monitoraggio
- Tasto Su/Giù
- Tasto Conversazione
- Tasto Menu/Blocco
- Tasto Chiamate
- Tasto On/Off
- Presa cuffie/mic/curicatore
13.Tasto Scansione - Antenna
14.Altoparlante
2. INSTALLAZIONE

2.1. Rimozione/installazione della clip da cintura
- Per rimuovere la clip da cintura (2) dall'unità, spingerla verso l'alto tenendo premuta la linguetta (1).
- Quando la clip da cintura viene reinstallata, uno scatto indica che è bloccata in posizione.
2.2. Inserimento delle batterie
- Rimuovere la clip da cintura (2).
- Premere la linguetta del coperchio del vano batterie (4) e rimuovere il coperchio (3).
- Inserire quattro batterie tipo 'AAA' alcaline o ricaricabili rispettando la polarità indicata.
- Rimettere il coperchio del vano batterie (3) e la clip da cintura (2).
3. DISPLAY LCD

a. Icona RX. Viene visualizzata durante la riscione di un segnale.
b. Icona TX. Viene visualizzata durante la transmission di un segnale.
c. Visualizza il LIVELLO DEL VOLUME corrente.
d. Codice CTCSS. Cambia da 1 a 38 secondo la selezione dell'ultente.
e. Viene visualizzato durante la modalità SCANSIONE CANALI.
f. Viene visualizzato durante la modalità VOX.
g. Simbolo del blocco tasti
h. Livello corrente di carica della batteria.
i.Numero canale.Cambia da 1 a 8 secondo la selezione dell'utente.
4. GUIDA INTRODUTTIVA
4.1. Accensione/spegnimento dell'unità
Per attivare l'apprecchio; tenere premuto il tasto POWER ( ). Lunità emette un segnale acustico e sul display LCDiene visualizzato i canale corrente.
Per spegnere l'apparechio; tenere nuovamente premuto il tasto POWER (b). Lunita émette un segnale acustico e i display LCD si spegnè.
4.2. Regolazione del volume dell'altoparlante.
Il volume dell'altoparla più esesse regolato tramite il taso /▼. Il livello del volume dell'altoparla viene visualizzato sul display LCD (vedere相对较vo 3)
4.3. Ricezione di un segnale
Quando l'unità è accesa e non è in fase di trasmissione, si trova stabilmente in modalità RICEZIONE. Quando si riceve un segnale nel canale corrente, sul display viene visualizzata l'icona RX (vedere paragrafo 3)
4.4. Trasmissione di un segnale
- Per iniziare una TRASMISSIONE, tenere premuto il tasto PTT.
- Tenere l'unita in posizione verticale mantenendo il MICROFONO a una distance di 5 cm alla balla, quindi parlare nel microfono.
- Al termine della trasmissione, rilasciare il tasto PTT.
NOTA: Per verificare che il canale sia attivo, tenere premuto il tasto MONITORAGGIO. Se il canale è occupato, l'apparecchio émette un suono disturbato. Non avviare una TRASMISIONE se qualcuno sta parlando sul canale.
IMPORTANTE: Affinché i destinatiari possano ricevere la trasmissione, è necessario che si trovino sullo stesso canale e che abbiano impostato lo stesso codice CTCSS utilizzato dal chiamante. Fare riferimento al paragrafo 'Per cambiare canale'
5. FUNZIONAMENTO
5.1. Perambiare canale
Il ricetrasmettitore PMR dispone di 8 canali.
| CHAN, No. | FREQ.(MHz) |
| 1 | 446,00625 |
| 2 | 446,01875 |
| 3 | 446,03125 |
| 4 | 446,04375 |
| 5 | 446,05625 |
| 6 | 446,06875 |
| 7 | 446,08125 |
| 8 | 446,09375 |
Per cantiare canale:
- Premiere il tasto MENU ( ) una volta: il numero del canale corrente lampeggia sul display LCD.
- Premere il tasting SU () o GIU () per cambiare canale.
- Première il tastiO Menu (一 _ 0 ) per confermare la selezione del canale e acceder alla modalità SELECTIONE SUBCANALE CTSS, oppure premere il tasti TALK per selezione il canale desiderato e tornare alla modalità NORMALE.
5.2. CTCSS (Continuous Tone Coded Squelch System, Sistema squelch codificato a tono continuo)
Il codice a 2 cître CTCSS corrisponde a una Frequenza di tono specifica emessa dall'apparecchio. Due utenti che abbiano impostato lo stesso canale e lo stesso codice CTCSS possono essere una conversazione ma non possono ascoltare nessun altro interlocutore, a meno che non abbiaabilitato lo stesso codice CTCSS. Il ricetrasmettittore Twintalker 3500 dispone di 38 codici CTCSS.
- Premere il tasto MENU () due volte: il codice CTCSS lampeggia
- Premere il tasto SU () o GIU () per passare ad un alto codice.
- Premere il tasto TALK per confermare la selezione e tornare alla modalità NORMALE.
- Per confermare e passare all'opzione successiva, premere il tastingo MENU
Note: Qualunjque PMR impostato sulla stello canale è in grado di ricevere e ascoltare la conversazione,anche quando l'alto interlocutore utilize un codice CTCSS.
5.3. Monitoraggio
É possiblo utiliser la fonction Monitoraggio per la ricerca dei segnali più deboli nel canale corrente.
- Per un monitoraggio normale, premere il tasting MONITORAGGIO ().
- Per un monitoraggio continuo, premere e tenere premuto il tasto MONITORAGGIO (a) sino all'emissione di un segnale acustico.
5.4. Blocco tasti
Tenere premuto il tasto MENU () per 5 secondi per attivare o disattivare la modalità BLOCCO TASTI. Sul display LCDiene visualezzata l'icona BLOCCO TASTI. Tenere nuovamente premuto il tasto MENU () per disattivare BLOCCO TASTI
5.5. Selezione VOX
Il ricetrasettittore PMR è dotato della funzione di trasmissione ad attivazione vocale (VOX). In modalità VOX, l'apparechio trasmette un segnale quando viene arrivattato alla voce dell'utente o da un rumore qualsiasi nell'ambiente. La funzione VOX non è consigliata se si ha intenzione di utilizzato il ricetrasettittore in un ambiente rumoroso o esposto al vento.
- Premere il tastingo MENU () 3 volte: Iicona VX lampeggia sul display LCD.
- Premiere il tasto SU (A) per attivare la funzione VOX; premere il tasto GIU () per disattivare la funzione VOX.
- In modalità VOX, viene visualizzata l'icona VX.
- Per confermare la selezione e tornare alla modalità NORMALE, premere il tasto TALK.
- Per confermare e passare all'opzione successiva, premere il tastingo MENU.
NOTA: Per un risparmio di energia, la luce del display LCD non si accende quando ci si trovava in modalità VOX.
5.6. Scansione canali
La funzione SCANSIONE CANALI effettua ricerca de segnali attivi in una sequenza continua dal canal 1 al canale 8.
- Premere il tasting Scansione S per attivare la SCANSIONE CANALI.
- Quando viene individuo un segnale attivo (uno degli 8 canali), la funzione SCANSIONE CANALI si interrompe; a quello punto viene emesso il suono del segnale attivo.
- Premise il tasto TALK per comunicare tramite il canale del segnale attivo; la funzione SCANIONE CANALI viene disattivata.
- Quando viene individuato un segnale attivo (uno degli 8 canali), premere il tasto SU () o GIU () per bypassare il canale rilevato e continuare la ricerca di un canale attivo diverso
- Premere il tasting SCANSIONE per disattivare la modalità SCANSIONE CANALI.
5.7. Indicazione batteria scarica e livello di carica della batteria
- II LIVELLO DI CARICA DELLA BATTERIA è indicatotramite il numero di quadrati all'interno dellicona della BATTERIA sul display LCD.
- Quando il livello di carica della batteria è basso, licona della batteria lampeggia per indicare che è necessario sostituire o ricariciare le batterie.
5.8. Utilizzo di batterie ricaricabili.
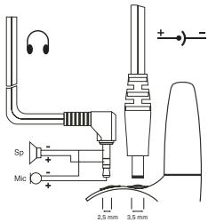
Importante: Non caricare questa unità tramite un ADATTATORE CA/CC alimentato da batterie alcaline normali tipo "AAA".Utilizzare unicamente l'ADATTATORE CA/CC alimentato da batterie ricaracibili tipo "AAA" (non incluse).
Perutilizzarei PMR con un ADATTATORE CA/CC a batterie ricaracabili, procedere nel modo seguente:
- Inserire quattro batterie ricaricabili tipo "AAA" (non incluse).
- Collegare l'ADATTATORE 7,5 V CC / 200 mA (non incluso) alla PRESA CUFFIA/MIC/ CARICATORE nella parte supiore dell'unita e accederlo premendo il tasto POWER.
NOTA: Durante il caricamento delle batterie, l'unità non è in grado di trasmettere chiamate.Per effettuare un caricamento completo delle batterie, sono necessarie dalle 8 alle 10 ore.

5.9. Utilizzo della cuffia
É possiblo utilise il ricetrasmettitore PMR tramite una cuffia (non inclusa). Collegare la cuffia alla presa CUFFIA/MIC (6).
5.10. Invio dei segnali di chiamata
É possible utiliser zé segnali de chiamata par comunicare all'altro utente di procedere all'identificazione del chiamante. É inottre possible utiliser zé segnali de chiamata per inaugurar o terminare una trasmissione.
- Premiere e rilasciare i tasto Chiamata. Il SEGNALE DI CHIAMATA continua per 3 secondi.
- SEGNALI DI CHIAMATA vengono trasmessi ai ricevitori posti nelle vicinanze e collegati allo"Thisso canale.
6. CARATTERISTIC TECHNICHE
| Canali Subcanale CTCSS Potenza di uscita (TX) Copertura | 8 canali 38 per ciascun canale Potenza di uscita: 0,5 W (Massima) Fino a 3 Km (in Campo aperto) |
7. NORME DI SICUREZZA
7.1. Danneggiamo dell'antenna.
Non utilizzare ricetrasmettitori con un'antenna danneggiata. Se un'antenna danneggiata alla etacco with a pelle, si sono verificare uszioni di lieve entità.
7.2. Batterie.
Le batterie possono causare danni a cose e/o lesions a persona (ad esempio usstioni), in caso di contatto tra materiali conduitviti (gioielli, chiavi, catenelle) e i morsetti esposti. Il materiale in questione poto fungere da chiusura del circuito elettrico (cortocircuito) e diventare molto caldo. Usare la massima prudenza durante l'impego di qualunque batteria carica, in particolare se viene infilata in tasca, in borsa o in altri recipienti assieme a oggetti metallici. Non sostituire o caricare le batterie in ambienti a rischio di esplosione. Durante I'inserimento o la rimozione delle batterie, possono verificarsi scintille sui contatti, con seguente rischio di esplosione.
7.3. Veicoli con air bag.
Non appoggiare i ricetrasmettitore nella zona Sovrastante l'air bag o nella zona di aperture dell'air bag. Il gonfiaggio dell'air bag avviene infatti in modo extremamente enerico.Se il ricetrasmettitore si trova sulla zona di aperture dell'air bag nel momento in cui questo si gonfia, è possibile che l'apparechio venga proiettato con grande forza con rischio di gravi lesionsi per gli occupanti del veicolo.
7.4. Ambienti a rischio di esplosione.
Negli ambienti a rischio di esplòso è consigilabile spegnere il ricetrasmettitori, salvo che si tratti di un modello appositamente abilitato a tale uso. L'émissione di scinttile in tali areecouldo infatti dare origine a esplòsioni o incendi con seguente rischio di lesioni o morte.
7.5. Detonatori elettrici e aree esplovec
Per evitare possibili interferenze con operazioni in cui viene impiegato materiale esplosivo, spegnere il ricetrasmettatore in prossimità di detonatori elettrici, in "aree potenzialmente esplosive" o dove sua esposto il segnale di spegnimento degli apparecchi ricetrasmittenti. Rispectare tutte le indicatezioni e istruzioni.
Note: Gli ambienti potenzialmente esplosivi sono spesso, ma non sempre, segnalati in modo chiaro. Tra quosti: aree di riformimento carburante (ad esempio sottocoperta di una imbarcazione) oppure implanti di trasferimento e stoccaggio di sostanze combustibili o chimiche; ambienti contenteni prodotti chimici o particelle in sospensione nell'aria, quali residui o polveri metalliche; qualsiasi altra zona in cui si raccomanda generalmente di spegnere il motre del proprio velocolo.
7.6. Competibilità/interferenza elettromagnetica:
Quasi tutti i dispositivi elettronici sono espostiagli effetti delle interferenze elettromagnetiche (EMI) se non adeguateamente schermati, progettati, o altrimenti configurati per la compatibilità elettromagnetica.
Spegnere l'unità in qualunque edificio in cui siano affissi cartelli che ne vietino l'uso. Gli ospedali o gli istituti sanitari possono fare uso di attrezzature sensibili all'energia a radiofrequenza esterna.
Spegnere l'unita a bordo di aeromobili quando ne sua espessamente vietto l'uso. Qualiasi su utilizzo dell'unita deve rispetto il regolamento della linea aerea o le istruzioni dell'equipaggio.
8. CURA E MANUTENZIONE
Pulire l'apparechio con un panno morbido inumidito con acqua. Non utilizzato mai detergenti o solventi, i quali, intaccando l'involcro esterno, possocono penetrare all'interno dell'apparechio causando danni irreparabili. Per pulire i contatti delle batterie è possible serviri di un panno asciutto che non sfilacci. Nel caso in cui l'apparechio entri in contatto con l'accua, spegnerlo e rimuovere immediamente le batterie. Asciguare il VANO BATTERIE con un panno morbido per ridurre l'eventuale danno provocato dall'accua. Lasciare il VANO BATTERIE aperto per almeno 24 ore o almeno fina ad una ascugatura completeness. Non utilizzare l'apparechio finché non è completamente asciutto.
9. GARANZIA
L'apparechio è coperto da una garanzia di 24 anni. La garanzia è valida unicamente presentando lo scontrino o la fattura (originale o copia) che certifichino la data di acquisto e il tipo di apparechio.
Durante il periodo coperto dalla garanzia, Topcom provvederà gratuitoamente alle riparazioni di qualsiassiGUATO causato da difetti di fabbricazione o di materiale. In conformitàagli obblighi di garanzia qui disposte, Topcom avrā la facoltà, a propria discrezione, di riparare o sostituire l'appareccchio difettoso.
Qualiasi reclamo in garanzia verrà invalidato in caso di interventi all'appareccchio da parte dell'acquirente o dianzi non autorizzati.
Si intendono escludi alla garanzia tutti i dati dovuti a una cattiva manutenzione o a un errato utilizzato dell'apparecchio, nonché i dati dovuti all'uso di ricambi non originali o di accessori non raccomandati da Topcom.
La garanzia non copre i danni causati da fattori esterni, quali fulmini, acqua e incendio e non potrà essere applicata qualora i numeroi di fabbricazione apposti sull'apparecchio siano stati modificati, rimossi o resi illeggibili.
Note: In caso di restituzione dell'apparecchio, ricordarsi di includere il documento d'acquiretlo
La conformità dell'apparechio alla Direttiva R&TTE è confirmata alla presenza del marchio CE.
Per l'uso in:
Olanda, Irlanda, Porto Gallo, Belgio, Francia, Regno Unito, Finlandia, Grecia, Germania, Austria, Spagna, Repubblica Ceca, Danimarca, Svezia, Italia, Norvegia, Svizzera, Lussemburgo
1.DESCRIÇÃO
(vere a capa)
Notice-Facile