Bravia KD55XG8588 - Televisie SONY - Gratis gebruiksaanwijzing en handleiding
Vind de handleiding van het apparaat gratis Bravia KD55XG8588 SONY in PDF-formaat.
Questions des utilisateurs sur Bravia KD55XG8588 SONY
0 question sur cet appareil. Repondez a celles que vous connaissez ou posez la votre.
Poser une nouvelle question sur cet appareil
Download de handleiding voor uw Televisie in PDF-formaat gratis! Vind uw handleiding Bravia KD55XG8588 - SONY en neem uw elektronisch apparaat weer in handen. Op deze pagina staan alle documenten die nodig zijn voor het gebruik van uw apparaat. Bravia KD55XG8588 van het merk SONY.
GEBRUIKSAANWIJZING Bravia KD55XG8588 SONY
Installatie-informatie voor de Sony-wandmontagesteun (SU-WL450)
Ondersteunde modellen:
KD-85XG85□□*/75XG87□□*/75XG85□□*/65XG87□□*/
65XG85□□*/55XG87□□*/55XG85□□*
- In de werkelijkke modelnamen staan inplaats van "□□" nummers en/of letters die voor elk model anders zijn.
Aandeklanten
Om het apparaat te beschermen en om veiligheidsredenen raadt Sony u met klem aan de tevisiete lately installereren door een Sony-dealer of een erkende installmenteur. Probeer de installmentie nicht zichuiit te voeren.
Aan Sony-dealers en installateurs
Let goed op de veiligheid tijdens installmentie, periodiek onderhoud en inspectie van dit product.
Voor de installmentie van dit product is de nodige expertise vereist, met name om te bepalen of de muur sterk genoeg is om het gewicht van de televisie te dragen. Laat de installmentie van dit product aan een muur uitvoeren door een Sony-dealer of een erkende installmenteur, en let goed op de verilgheidijdens de installmentie. Sony kan nicht aansprakelijk worden gesteld voor schade of letsels als gevolg van een onjuiste behandeling of installmentie.
Volg voor een veilige en juiste installmentie de gebruiksaanwijzing van de wandmontagesteun, de installmentehandleiding van de televisie en de aanwijzingen in deze handleiding.
Veiligheid
Bedankt voor uw aankoop van dit product.
Aandeklanten
Om dit product te kuren installeren is afdoende diskundigheid nodig. Besteed de installmentatie UIT aan dealers van Sony of aan bevoegde installateurs, en schenkijdens de installmentie speciale aandacht aan de veiligheid. Sony is Niet aansprakelijk voor schade of letsel als gevolg van onjuist handelen, een onjuiste installmentie of de installmente van een ander product dan het opgegeven product. Uw wettelijk rechten (indien van toepassing) worden nicht aangetast.
Aan Sony-dealers
Om dit product te kuren installeren is afdoende deskundigheid nodig. Lees deze gebruiksaanwijizing aandachtig door zodat u de installmente veilig kurzuitvoeren. Sony is nicht aansprakelijk voor schade of letsel als gevolg van onjuist handelen of een onjuiste installmentie. Geef deze gebruiksaanwijizing aan de klant nadat het product is geinstalleerd.
In deze gebruiksaanwijzing worden beschreiben hoe het product moet worden gebruikt en worden belangrijke voorzorgsmaatregelen geveen die vereist zich om ongelukken te voorkomen. Lees deze gebruiksaanwijzing aandachtig door en gebruik het product op de juiste manier. Bewaar deze gebruiksaanwijzing voor toekomstig gebruik.
Bij het ontwerpen van producten houdt Sony rekening met de veiligheid. Als de producten onjuist worden gebruikt, kan dit darüber ernstige letsels veroorzaken als gezolg van brand, elektrische schokken, omvallen of latent vallen van het product. Houd rekening met de veiligheidsmaatregelen om dergelijkte oncegvallen te voorkomen.
OPGELET
Opgegeven producten
Deze wandmontagesteun is geschikt voor gebruik met de opgegeven tv's. Voor televisies verwijzen weaar de referentiehandleiding om na te gaan of de wandmontagesteun kan worden gebruikt.
Aandeklanten
WAARSCHUWING
Als u de volgende voorzorgsmaatregelen niet in acht neemt, kan dit leiden tot ernstige verwondingen of zichs de dood ten gevolge van brand, elektrische schokken of het latent vallen van het product.
Besteed de installmenteuit aan bevoegde installateurs en houd petite kinderen uit de buurtijdens de installmentie.
Als de wandmontagesteun of de tv Niet correct worden geinstalleerd, kunnen de volgende ongelukken zich voordoen. Zorg ervoor dat de installation worden ditgevoerd door bevoogde installateurs.
- De tv kan vallen en ernstige letselsveroorzaken, Zoals kneuzingen of breuken.
- Als de muur waaraan de wandmontagesteun worden bevestigd onstabeli of ongelijk is of Niet loodrecht op de vloer staat, kan de steun vallen, met letseis of beschadiging van eigendommen tot gevolg. De muur moet sterk genoeg zich om ten minste vier ker het gewicht van de tv te dragen. (In de referentiehandleiding van uw television vindt u het gewicht van uw television.)
- Als de wandmontagesteun Niet stevig genoeg aan de muur worden bevestigd, kan de steun vallen, met letsels of beschadiging van eigendommen tot gevolg.
Als u de tv wilt verplaatsen of van de steun wilt halen, moet u dit werk uitbesteden aan bevoegde installateurs.
Als andere Personen dan bevoegde installateurs de tv verplaatsen of van de steun halen, kan de tv vallen, metLetsels of beschadiging van eigendommen tot gevolg. Zorg dat tenminste twee Personen (tenminste drie Personen voor een tv-toestel van 75 inch of groter) de tv dragen of van de steun halen.
Verwijder de schroeveniet nadat de tv aan de steun is bevestigd.
Als u dit wel doet, kan de tv vallen, met letsels of beschadiging van eigendommen tot gevolg.
Breng geen aanpassingen aan de onderdelen van de wandmontagesteun aan.
Als u dit wel doet, kan de wandmontagesteun vallen, metLetsels of beschadiging van eigendommen tot gevolg.
Installer geen andere producten dan het opgegeven product.
Deze wandmontagesteun is alleen geschikt voor gebruik met het opgegeven product. Als u andere producten dan het opgegeven product gaat installeren, kan het vallen of breken, met letsels of beschadiging van eigendommen tot gevolg.
Bevestig geen ander gewicht dan de tv aan de wandmontagesteun. Schud de tv Niet van links maar rechts of op en neer.
Als u dit wel doet, kan de tv vallen, met letsels of beschadiging van eigendommen tot gevolg.
Leun Niet op en hang Niet aan de tv. De tv kan op u vallen en ernstige letselsveroorzaken.
OPGELET
Als er geen rekening worden gehonden met de volgende voorzorgsmaatregelen, kan dit letsel of beschadiging van eigendommen tot gevolg hebben.
Oefen Niet te veel drukuit op het product als udit reinigt of onderhoudt.
Oefen nicht te veel druk uit op de bovenkant van de tv. Als u dit wel doet, kan de tv vallen, met letsels of beschadiging van eigendommen tot gevolg.
Voorzorgsmaatregelen
- Als u de tv langerearend gebruikt terwijl\ deze aan de wandmontagesteun is\ bevestigd, kan de muur achefter of boven de\ tv verkleuren en kan het behang losraken, afhankelijk van het materiaal waarvan de\ muur is gemaakt.
- Als u de wandmontagesteun verwijdert nadat u deze aan de muur heb bevestigd, dan blijven de schroefgaten zichtaar.
- Gebruik de wandmontagesteun nicht opplaaten waar deze worden blootgesteld aan mechanische trillingen.
De wandmontagesteun installeren
Aan Sony-dealers
WAARSCHUWING
De volgende instructies gelden enkel voor Sony-dealers. Lees zeker de bovenstaande veriligeidsmaatregelen en schenk extra aandacht aan de veriligeid tijdens de installment, het onderhoud en de contrôle van dit product.
Installer de wandmontagesteun nicht op een muuroppervlak waar bij de hoeken of de zijkanten van de tv de wand Niet raken.
Installee de wandmontagesteun Niet op muuropervlakken, zoals een pilaar, waar bij de hoeken of de zijkanten van de tv de wand Niet raken. Als een persoon of voorwerp gegen een uitstekende hoek of zijkant van de tv botst, kan dit letseIs of beschadiging van eigendommen tot geolg hebben.

Installeer de tv Niet boven of onder een airconditioner.
Als de tv voor langereijd wordt blootgesteld aan waterlekkage of luchtcirculatie van een airconditioner, kan dit brand, elektrische schokken of een storing van de tv tot gevolg hebben.
Bevestig de wandmontagesteun stevig aan de muur volgens de instructies in deze gebruiksaanwijzing.
Als een van de schroeven los zit of valt, kan de wandmontagesteun vallen, met letsels of beschadiging van eigendommen tot gevolg. Gebruik schroeven die geschikt zichen voor het materiaal van de muur en bevestig de steun stevig met vier of meer schroeven van 8 mm diameter (of gegelijkwaardig).

Gebruik de bijgeleverde schroeven en montageonderdelen op de juiste manier volgens de instructies in deze gebruiksaanwijzing. Als u andere onderdelen gebruikt, kan de tv vallen, met lichamelijke letsels of beschadiging van de tv tot gevolg.
Zorg ervoor dat u de steun correct monteert volgens de instructies in deze gebruiksaanwijzing.
Als een van de schroeven los zit of valt, kan de tv vallen, met lichamelijke letsels of beschadiging van de tv tot gezolg.
Draai de schroeven stevig vast op de aangegeven plaats.
Als u dit Niet doet, kan de tv vallen, met lichamelijke letsels of beschadiging van de tv tot gevolg.
Stel de tv Niet bloot aan schokkenijdens de installmentie.
Als de tv worden blootgesteld aan schokken, kan die vallen of breken. Dit kan letsels tot gevolg hebben.
Bevestig de tv aan een vlakke muur die loodrecht op de vloer staat.
Als u dit Niet doet, kan de tv vallen, met letsels tot gevolg.
Bundel de kabels goed samen na het installereren van de tv.
Als mensen of voorwerpen blijven haperen aan de kabels, kan dit letsels of beschadiging van de tv tot gevolg hebben.
Zorg ervoor dat het netsnoer en de verbindicskabel nicht geklemd raken.
Als het netsnoer of de verbindingskabel geklemd raakt tussen de steun en de muur of als een van beiden met kracht gebogen of gedraaid is, kan de interne bedrading worden blootgelegd, waardoor er kortsluiting of een stroomonderbreking kan wordenveroorzaakt. Dit kan brand of elektrische schokken tot gevolg hebben.

De schroeven die u nodig hebt om de wandmontagesteun te bevestigen, zichn nicht bijgeleverd.
Gebruik voor het bevestigen van de wandmontagesteun schroeven die geschiktীn voor het materiaal en de structuur van de muur.
Inhoudsopgave
De voorbereidingen treffen voor de installmentie. 5
De onderdelen controleren 5
De installmentieplaats bepalen.. 6
De voet aan de muur bevestigen. 8
De installment van de tv voorbereiden 9
KD-85/75XG85□□,KD-75XG87□□
KD-65/55XG87□□,KD-65/55XG85□□.11
De tv aan de muur bevestigen. 13
KD-85/75XG85□□,KD-75XG87□□ 13
KD-65/55XG87□□,KD-65/55XG85□□.15
De installmente controleren 18
Extra informatie 18
De tv aan de muur bevestigen
De installmenteprocedureverschiltafhankelijk van de tv.
Gebruik de wandmontagesteun SU-WL450 om de tevisie aan een muur te bevestigen.
Opmerking
- Bewaar de verwijderde schroeven op een veilige plaat, waar kinderen er nicht bij hunnen.
De voorbereidingen treffen voor de installmentie
- Houd de referentiegids en de installationehandleiding van de tevisie bij de hand voor de installation.
Leg een kruskopschroevendraier maar die geschikt is voor de gebruikte schroeven. - Bepaal waar u de tv zult installeren.
- Zorg voor vier of meer schroeven met een diameter van 8mm en een schroef met een diameter van 5mm of gelijkwaardig (niet bijgeleverd). Gebruik schroeven die geschikt zich voor het materiaal van de muur.
De onderdelen controleren
Bijgeleverd bij SU-WL450
- Ga na of alle onderdelen bijgeleverd়n.
| A Voet (20) (1) B Kabelschijf (2) | |
| ◎ PSW 6x20 (4)◎ PSW 4x20 met huls (2) | |
| ◎ Afstandhouder (20) (2) | ◎ Riem (1) |
| ◎ Huls (20) (M4) (2) | ◎ PSW 4x20 (2) |
| ◎ Voetadapter (2)◎ | PSW 4x10 (8) |
| ◎ Afstandhouder (60) (2) | ◎ L PSW 6x50 (2) |
| ◎ Huls (M4) (2)◎ PSW 4x50 (2) | |
De installmenteplaats bepalen
1 Bepaal waar u de tv zult installereren.
Voorzie voldoende ruimte voor de television aan de muur en zorg ervoor dat deze minstens vier koer het gewicht van de television kan dragen.
Raadpleeg de volgende tabel om de televisione op de wand te installereren. Raadpleeg de referentiehandleiding van uw televisione voor het gewicht van uw televisionie.

Standaardmontage Smalle montage
Middelpunt van het beeldschemm
Eenheid: mm
| Modelnaam | Afmetingen beeldscherm | Afstand tot middelpunt beeldscherm | Afstand voor de montage | |||
| a | b | c | d | e | ||
| Standaard- montage | Smalle montage | |||||
| KD-85XG85□□ | 1.909 | 1.097 | 251 | 803 | 142 | 100 |
| KD-75XG87□□ KD-75XG85□□ | 1.673 | 963 | 107 | 595 | 116 | |
| KD-65XG87□ KD-65XG85□□ | 1.450 | 836 | 99 | 523 | 115 | 73 |
| KD-55XG87□ KD-55XG85□□ | 1.231 | 713 | 106 | 468 | 115 | |
Opmerking
- De waarden in de tabel könnenlicht afwijken afhankelijk van de installmentie.
- Wonneer uw tevisie aan een muur is bevestigd, helt de bovenzijde van de tevisielichtaar voor.
Zorg zoals hieronder weergegeven voor voldoende ruimte tussen de tv, het plafond en uitstekende delen van de muur.
Eenheid: mm

Voor een goede ventilatie en om ophoping van vuil en stof te voorkomen:
Leg de tevisie nicht plat op de grond en installeer\
deze Niet ondersteboven, achefterstevoren of\
gedraaid.
Zet de tevisie Niet op een plank, tapijt, bed of in een kast.
Bedek de televisie Niet met een doek (bv. een gordijn) of met voorwerpen als kranten enz.
- Installee de télévisie Niet Zoals hieronder worden getoond.
De luchtcirculatie is geblokkeerd.

Opmerking
- Als u de kabels door de muur wilt geleiden, maakt u een opening in de muur om de kabels door te steken voor u aan de installmentie begint.
Om te voorkomen dat de kabels geklemd raken, maakt u vooraf een opening in de muur buiten deplaatsen waar de voet (20) A, Voetadapter 1 en de afstandhouder (20) E, afstandhouder (60) K gemonteerd worden.
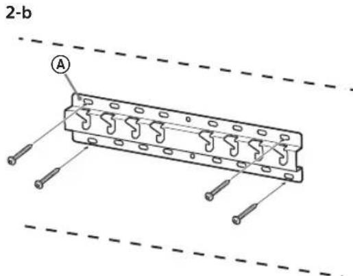
2 Kies de wandmontagestijl. De afstand tussen de achechterkant van de tv en de muur kan gekozen worden zoals hieronder aangegeven.
2-a Standaardmontage
2-b Smalle montage
Raadpleeg de babel in stap 1.
WAARSCHUWING
- Als u kiest voor 2-b, zich de aansluitingen achteraan slechts beperkt toegankelijk.

2-a 2-b

3 Raadpleeg de onderstaandetabel vooreer informatie overde bevestigingsplaats van devoetadapter. Als u kiest voor2-b, kun t u deze stap overslaan.
| Modelnaam Plaats van de haak | |
| KD-85XG85☐☐ | |
| KD-75XG87☐☐ | a |
| KD-75XG85☐☐ | |
| KD-65XG87☐☐ | |
| KD-65XG85☐☐ | b |
| KD-55XG87☐☐ | |
| KD-55XG85☐☐ | |

Bevestig de voetadapter ① met de schroef (PSW 4x10) ② aan de voet (20) ④ wonneer u kiest voor 2-a.

4 Bepaal de posities van de schroeven voor de installmentie van de voet (20) A.
Raadpleeg hiervoor de specificaties op pagina 18.
Als u kiest voor 2-a, dient u de posities van de gaten voor de voetadapter ① te gebruiken.
WAARSCHUWING
-
De muur waaraan de tv bevestigd zal worden, moet sterk genoeg zichon om ten minste vier ker het gewicht van de tv te dragen (In de referentiehandleiding van uw televisione vindt u het gewicht van uw televisione.).
-
Bepaal de sterkte van de muur waarop de tv worden gemonteerd. Verstevig de muur indien nodig.
De voet aan de muur bevestigen
-
Gebruik vier ofeer schroeven met een diameter van 8mm of gelijkwaardig (niet bijeleverd).
-
Bevestig vier schroeven in de gaten van de voetadapter ① met de voet (20) A (alleen 2-a).
-
Bevestig de voet (20) A horizontal aan de muur.


De installment van de tv voorbereiden
Zie de installmentiehandleiding voor installmentie van de standard.
KD-85/75XG85□□,KD-75XG87□□
1 Markeeer de plaats van installatione op de wand.
- Gebruik afplakband e.d. (niet bijgeleverd) om deplaats van de tv te markeren in de buurt van de basissteun of basissteunadapter. Gebruik de volgende tabel.

Eenheid: mm
| Modelnaam | Lengte voor markering | Afstand tot middelpunt beeldscherm | ||
| a | b | c | d | |
| KD-85XG85□□ | 1.909 | 683 | 200 | 251 |
| KD-75XG87□□ | 1.673 | 468 | 200 | 107 |
| KD-75XG85□□ | ||||
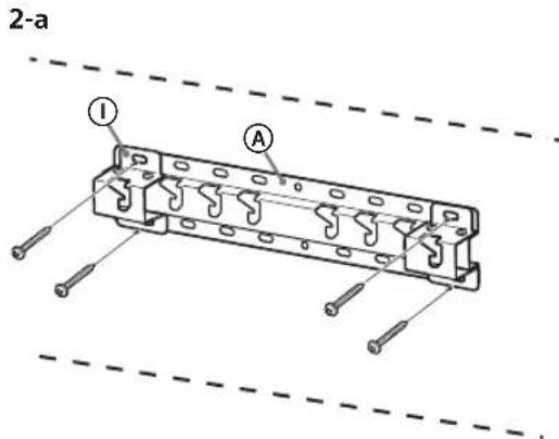
2 Verwijder de schroeven aan dechterkant van de televisione.

3 Bevestig de bevestigingsonderdelen voor de wandmontagesteun. Controleer de bevestigingsstukken door "Bijgeleverd bij SU-WL450" teraadplegen in "De onderdelen controlleren" op pagina 5.
Opmerking
Zorg ervoor dat de bevestigingsonderdelen goed vastgeschroefd zich.
- Wonneur u een elektrische schroevendraier gebruikt, moet u de draaikracht instellen op onceveer 1,5 N·m {15 kgf·cm}.
- Bewaar de gelebruktte en oncegebruikte onderdelen op een veilige plaats voor toekomstig gebruik. Bewaar deze handleiding zodate u deze in de toekomst kunt raadplegen.

Standaardmontage (2-a)
Smalle montage (2-b)
Opmerking
- Als u dit type montage kiest, können bepaalde aansluitingen aan de achterkant van de tv nicht gebruikt worden.


4 Sluit de nodige kabels aan op de tv.
Zorg ervoor dat alle kabels aangesloten
zijn voor u de tv aan de muur bevestigt.
Als de tv geinstalleerd is,kest u de kabels
niet longer aansluten.
Raadpleeg de referentiehandleiding die bij
uw tevisie is geleverd.
Opmerking
- Laar de bekabeling in de muur uitvoeren door een erkende installmenter.
- Bind de aansluitkabels voor bevestiging gegen de wand samen, om te voorkomen dat u er op gaat staan.
5 Maak de tafelstandaard los van de tevisie.
- Verwijder een ijde van de tafelstandaard tegelijkkertijd. Houd de tafelstandaard stevig vast met beiden handen verwijl de andere personen de teilevisie optillen.

KD-85XG85□□
KD-75XG87□□,KD-75XG85□□

Herhaal de vorige stap en verwijder de andere zijde van de tafelstandaard.
Opmerking
- Er zijn drie of meer personen nodig om de tafelstandaard te verwijderen.
Zorg ervoor dat er Niet te veel kracht worden gebruikt bij het verwijderen van de tafelstandaard van de televise, waar dat daardoor het televisietoestel kan vallen en dit kan persoonlijk letsel of fysieke beschadiging van de televise tot gevolg hebben. - Wees voorzichtig met de tafelstandaard om schade aan de televisione te voorkomen.
- Wees voorzichtig bij het optillen van de tv als de tafelstandaard gedemonteerd is, waar dat de tafelstandaard kan omvallen en dit persoonlijk letsel tot gevolg kan hebben.
- Wees voorzichtig bij het verwijderen van de tafelstandaard van de tv en voorkom dat deze omvalt en het oppervlak waar de tv op staat beschadigt.
KD-65/55XG87□□
KD-65/55XG85□
1 Verwijder de schroeven aan de城县.

2 Bevestig de bevestigingsonderdelen voor de wandmontagesteun. Controleer de bevestigingsstukken door "Bijgeverd bij SU-WL450" teraadplegen in "De onderdelen controlleren" op pagina 5.
Opmerking
Zorg ervoor dat de bevestigingsonderdelen goed vastgeschroefd zich.
- Wanner u een elektrische schroevendraier gebrukt, moet u de draaikracht instellen op onceveer 1,5 N·m {15 kgf·cm}.
- Bewaar de gelebruktte en oncegebruikte onderdelen op een veilige plaats voor toekomstig gebruik. Bewaar deze handleiding zodate u deze in de toekomst kunt raadplegen.

Standaardmontage (2-a)
Smalle montage (2-b)
Opmerking
- Als u dit type montage kiest, können bepaalde aansluitingen aan de achterkant van de tv nicht gebruikt worden.


3 Sluit de nodige kabels aan op de tv.
Zorg ervoor dat alle kabels aangesloten
zijn voor u de tv aan de muur bevestigt.
Als de tv geinstalleerd is, kurz u de kabels
niet longer aansluiten.
Raadpleeg de referentiehandleiding die bij
uw tevisie is geleverd.
Opmerking
- Laar de bekabeling in de muur uitvoeren door een erkende installmenter.
- Bind de aansluitkabels vór bevestiging gegen de wand samen, om te voorkomen dat u er op gaat staan.
4 Maak de tafelstandaard los van de tevisie.
- Verwijder een ijde van de tafelstandaard tegelijkkertijd. Houd de tafelstandaard stevig vast met beiden handen verwijl de andere Personen de televisie optillen.

Herhaal de vorige stap en verwijder de andere zichde van de tafelstandaard.
Opmerking
- Er zijn drie of meer personen nodig om de tafelstandaard te verwijdenen.
Zorg ervoor dat er Niet te veel kracht worden gebruikt bij het verwijderen van de tafelstandaard van de televise, waar dat daardoor het televisietoestel kan vallen en dit kan persoonlijk letsel of fysieke beschadiging van de televise tot gevolg hebben. - Wees voorzichtig met de tafelstandaard om schade aan de televisione te voorkomen.
- Wees voorzichtig bij het optillen van de tv als de tafelstandaard gedemonteerd is, waar dat de tafelstandaard kan omvallen en dit persoonlijk letsel tot gevolg kan hebben.
- Wees voorzichtig bij het verwijderen van de tafelstandaard van de tv en voorkom dat deze omvalt en het oppervlak waar de tv op staat beschadigt.
De tv aan de muur bevestigen
KD-85/75XG85□□,KD-75XG87□□
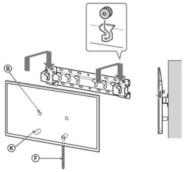
1 Tild tv op.
- De locatie van de kabelschijven (B) voor het bevestigen van de monitor op de voet of voetadapter,(Int u terugvinden in de tabel bij stap 3 onder "De installmentieplaats bepalen" op pagina 7.
- Zorg ervoor dat dechterzijde van de tv de voet of voetadapter raakt terwijl u de tv vasthoudt.
Opmerking
Houd de tv stevig met beiden handen vast en zorg dat de riem F en de onderzijde van de tv overeenkomen met het afplakband.
- Draag de tv met drie personen en degene die vóró de tv staat, moet de anderen leiden om de positie aan te passen.

- Wees erg voorzichtig met het installereren van de tv op de wand, special voor degene die de tv aan de onderzijde ondersteunt. Het tv-toestel kan vallen en daardoor ernstig persoonlijk letsel of zichs overlijden tot gevolve hebben.

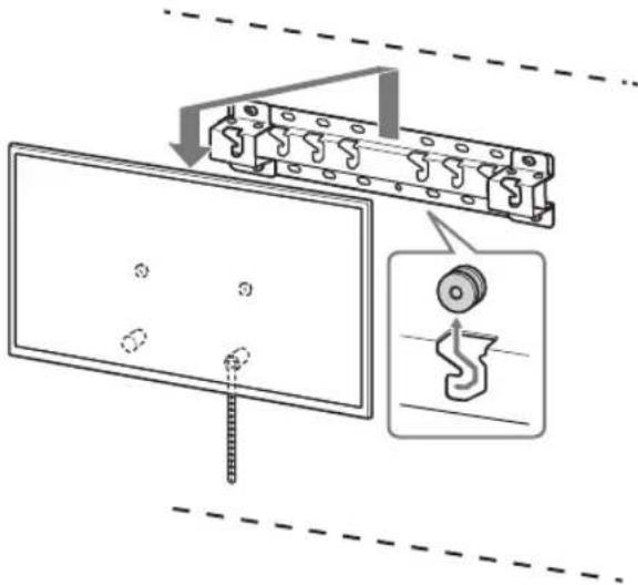
2 Installer de tv op de voet of voetadapter.
Schuif de tv voorzichtig omlaag en hang de kabelschijven (B) die bevestigd zijn aan de achterkant van de tv, op de voet of voetadapter. Let hierbij op de vorm van de openingsen.
- Controleer na het bevestigen van de tv aan de muur of de kabelschijven ⑧ stevig verankerd+zijn in de voet of voetadapter.
- Laat beiden handen langzaam los en zorg evertyoor dat de tv Niet yalt.

- Nadat de tv op de wand is geinstalleerd, kan het afplakband e.d. van de wand worden verwijderd.

2-a

↓


↓

↓

2-b



↓

↓

↓
WAARSCHUWING
Zorg dat tenminste twee Personen (tenminste drie Personen voor een tv-toestel van 75 inch of groter) de tv vasthoudenijdens het dragen.

3 Voorkom dat de onderkant van de tvGaat bewegen.
- Span de riem F goed aan en bevestig\ deze stevig aan de muur.


- Gebruik een schroef met een diameter van 5mm of gelijkwaardig (niet bijgeleverd).
Opmerking
- Probeer zicht de onderkant van de tv maar u toe te trekken om te controleren dat deze Niet kan bewegen. Als de tv nog beweegt, is deze Niet correct bevestigd en moet de riem (F) opnieuw vastgemaakt worden.
KD-65/55XG87□□
KD-65/55XG85□
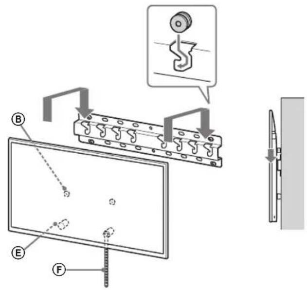
1 Tild tv op.
- De locatie van de kabelschijven (B) voor het bevestigen van de monitor op de voet of voetadapterkteuntu terugvinden in de tabel bij stap 3 onder "De installmentieplaats bepalen" op pagina 7.
- Zorg ervoor dat dechterzijde van de tv de voet of voetsteun raakt terwijl u de tv vasthoudt.

Opmerking
Houd de tv stevig met beiden handen vast.
2 Installeer de tv op de voet of voetadapter.
Schuif de tv voorzichtig omlaag en hand de kabelschijven die bevestigd zijn aan de achterkant van de tv, op de voet of voetadapter. Let hierbij op de vorm van de openingsen.
- Controleer na het bevestigen van de tv aan de muur of de kabelschijven ⑧ stevig verankerd+zijn in de voet of voetadapter.
- Laat beiden handen langzaam los en zorg evertyor dat de tv Niet vale.


2-a

2-b

↓

↓
WAARSCHUWING
Zorg dat tenminste twee Personen (tenminste drie Personen voor een tv-toestel van 75 inch of groter) de tv vasthoudenijdens het dragen.

3 Voorkom dat de onderkant van de tvGaat bewegen.
- Span de riem F goed aan en bevestig\ deze stevig aan de muur.


- Gebruik een schroef met een diameter van 5mm of gelijkwaardig (niet bijgeleverd).
Opmerking
- Probeer zicht de onderkant van de tv maar u toe te trekken om te controleren dat deze Niet kan bewegen. Als de tv nog beweegt, is deze nicht correct bevestigd en要去 de riem © opnieuw vastgemaakt worden.
De installmente controleren
Controleer de volgende punten.
- De kabelschiijven © zichin stevig verankerd in de voet of voetadapter.
- Het snoer en de kabel zichn nicht verstrengeld of gekneld.
- De riem is stevig aangespannen.
WAARSCHUWING
- Een fout aangesloten netsnoor enz. kan door een kortsluiting brand of elektrische schokken veroorzaken. Controleer altijd achteraf de installmente om zeker te zijn dat alles veilig is.
Extra informatatie
Voer de hiervoor beschreiben installmentprocedure omgekeerduit om de tv van de muur te verwijderen.

WAARSCHUWING
Zorg dat tenminste twee Personen (tenminste drie,) personen voor een tv-toestel van 75 inch of groter) de tv vasthouden tijdens het verwijderen.
Technische gegevens

Afmetingen: (ong.) [mm]
a:400
b : 300
c:200
d : 100
e:80
f:480
g : 100
h1 : 20 (voor 2-b)
h2:60 (voor 2-a)
Gewicht (alleen voet): (ong.) [kg]
0,8
Wijzigingen aan het ontwerp en de technische gegevens..., Zijn voorbehonden zonder kennisgeving.
Skatiet 1. darbības tabulu.
BRIDINAJUMS!
Ja atlasita 2-b.iespeja,bus ierobezota piekluve aizmugures ligzdam.

2-a 2-b

3 Pamatnes adaptera uzstadisanas vietu skatiet turpmakaja tabula. Ja izveleeta 2-b. iespeja, izlaidiet so darbibu.
| Modela nosaukums | Åka atrašanäs vieta |
| KD-85XG85☐☐ | |
| KD-75XG87☐☐ | a |
| KD-75XG85☐☐ | |
| KD-65XG87☐☐ | |
| KD-65XG85☐☐ | |
| KD-55XG87☐☐ | b |
| KD-55XG85☐☐ |

Uzstadiet pamatnes adapteri ① izmantojot skruvi (PSW 4x10) ⑦ pamatnei (20) ④ izmantojot so metodi, ja izveleta 2-a.

4 Izvelieties, kuras vietas skruvesit skruves, lai piestiprinatu pamatni (20) A.
Skatiet specifikacijas 18. lapa.
Ja atlasita 2-a. iespeja, izmantojiet pamatnes adaptera ① atveres.
BRIDINAJUMS!
Sienai, pie kuras stiprinasit televizoru, jaspj noturet svaru, kas vismaz cetras reizes parsniedz televizora svaru (Sava televizora svaru skatiet televizora atsaues rokasgramata.).
- Nosakietasienasizturibu,pie kuras stiprinasit televizoru.Javadzigs,pastipriniet senu.
Pamatnes piestiprinăšana piesienas
- Izmantojiet Četras vai vairak 8 mm diametra skruves vai lidzvertgas (navieklautas komplektā).
- leskruvejiet cetras skruves pamatnes adaptera ① atveres, ar pamatni (20) A (tikai 2-a).
- Pamatni (20) ④ uz sienas uzstadiet horizontali.


SimpelGids