Bravia KD55XG8588 - Televisio SONY - Ilmainen käyttöohje ja opas
Löydä laitteen käyttöohje ilmaiseksi Bravia KD55XG8588 SONY PDF-muodossa.
Questions des utilisateurs sur Bravia KD55XG8588 SONY
0 question sur cet appareil. Repondez a celles que vous connaissez ou posez la votre.
Poser une nouvelle question sur cet appareil
Lataa ohjeet laitteellesi Televisio PDF-muodossa ilmaiseksi! Löydä käyttöohjeesi Bravia KD55XG8588 - SONY ja ota elektroninen laitteesi takaisin hallintaan. Tällä sivulla julkaistaan kaikki laitteidesi käyttöön tarvittavat asiakirjat. Bravia KD55XG8588 merkiltä SONY.
KÄYTTÖOHJE Bravia KD55XG8588 SONY
Asennustiedot Sonyn seinäasennuskiinnittimen (SU-WL450) käytämiseksi
Tuetut mallit:
KD-85XG85□□*/75XG87□□*/75XG85□□*/65XG87□□*/ 65XG85□□*/55XG87□□*/55XG85□□*
- Kyseisissä mallinimissä "□□" tarkoittaa kunkin mallin numeroita ja/tai merkkeja.
Asiakkaille
Tuotteen suojelemiseksi ja turvallisuuden vuoksi Sony suosittelee, etta television asennus annetaan. Sonyn jalleenmyyjan tai asiantuntevan huoltolikkeen tehtavaksi. Alä yritä asentaa sitä itse.
Sony-jalleenmyyjille ja huoltolikkeille
Kiinnitä erityistä huomiota turvallisuuteen tämän tuotteen asennuksen, huollon ja tarkastuksen aikana.
Tämän tuotteen asentaminen edellyttä riittävä ammattitaitoa erityisesti sen märittämiseksi,kestäkö seine television painon. Tämän tuotteen seine an asentaminen on jatettäv Sonyn jalleenmyjän tai huoltolikkeen tehtäväksi ja asennuksen turvallisuuteen on kiinnitettävi rittävästi huomiota. Sony ei ole vastuussa mistaan vahingosta tai vammoista, jotka johtuvat tuotteen vaärästa käsittelystä tai asennuksesta.
Varmista turvallisuus ja asianmukainen asennus noudattamalla seinäasennuskiinnittimen käyttoohjeita, TV:n asetusopasta ja tämän oppaan ohjeita.
Turvallisuus
Kiitos,että paatit ostaa tamin tuotteen.
Asiakkaille
Tāmān tuotteen asentaminen edellyttārìttāvāa ammatitaitoa. Asennus onannettava Sony-jällenmyyjan taivaltuutetun asentajan tehtavaksi, ja tuvallisuenteen kiinnitettā veryista huomiota asennuksen aikana. Sony eiole vastuussa mistaan vahingosta taivammoista, jokta johtuvat tuotteen vaarastā kāsittelysta tai asennuksesta taimuun kuin māiritetyn tuotteen asennuksesta. Tāmā e vaikuta (mahdollisin) lakisaäteisiin oikeuksiisi.
Sony-jalleenmyyjille
Tāmān tuotteen asentaminen edellyttā
riṭṭāvāa ammatitaitoa. Lue nāma
kāyttoohjeet huolellisesti, jotta asennus
voidaan suoritttaurvullisesti. Sony ei
ole vastuussa mistaan vahingosta tai
vammoista, jotka johtuvat tuotteen
vaarastakasittelysta tai asennuksesta.
Anna tāmā kāyttoohje asiakkaalle
asennuksen jälkeen.
Tassä käytöohjeessa kuvataan tuotteen oikeaoppinen käsittely sekä tärkeät varotoimet onnettoumuksien estamiseksi. Muista lukea tamä ohje huolellisesti ja käytää tuotetta oikein. Sälytä tamä käytööhje tulevaa käytöa varten.
Sonyn tuotteet on suunniteltu turvallisuutta ajatellen. Jos tuotteita kaytetaaan vaarin, seurauktena voi olla tulipalon, sahkoiskun, tuotteen kaatumisen taiutoamisen aiheuttama vakava henkilovahinko. Huomioi turvallisuutta koskevat vartoimet tallaisten onnettomuuksen istamiseksi.
VAROTOIMET
Märitetyt tuotteet
Tāmā seinaasennuskiinnit on tarkoitettu kaytettaväksi sille märiritettyen teilesioiden kanssa. Tarkista television viiteoppasta, etta seinaasennuskiinnitintā voidaan kayttä.
Asiakkaille
VAROITUS
Jos seuraavia varotoimia ei noudateta, seurauktena voi olla tulipalon, sahköiskun tai tuotteen putoamisen aiheuttamavakava henkilovahinko tai kuolema.
Asennuksen saa suorittaa vain valtuutetu asentaja. Pidä lapset poissa asennusalueelta asennuksen aikana.
Jos seinaasennuskiinnitanta tai televisiota ei asenneta oikein, seurauktena voi olla seuraavat onomettuudet. Muista jattaa asennus valtuutetun asentajan tehtavaksi.
- Televisio saattaa pudota ja aiheutta mustelmia, murtumia tai muunvakavan henkilövahingon.
Jos seina, johon seinaasennuskiinnitin asennetaan, on epavakaa, epatasainen tai se ie ole kohtisuorassa lattiaan nahden, yksikko saattaa pudota ja aiheuttaa henkilio-tai omaisuusvahingon. Seinan on pystytava Kantamaan vahintaan nelj kertaa television poin. (Katso television poin sen viiteoppasta.)
Jos seinaasennuskiinittinta ei ole asennettu seinalle tarpeeksiti tukevasti, yksikko saattaa pudota ja aiheuttta henkilo- tai omaisuusvahongon.
Muista antaa television siirtaminen tai irrottaminen valtuutetun asentajan tehtavaksi.
Jos muut kuin valtuutetut asentavat kuljettavat tai irrottavat television, se saattaa pudota ja aiheuttaa henkilö-tai omaisuusvahingon. Varmista, etta tevisiota kantamasa je irrottamassa on vahintaan kaksi henkilöa (tai vahintaan kolme henkilöa, jos television koko on yli 75 tuumaa).
Alä irrota ruuveja tms. television kiinnityksen jälkeen.
Jos nain tehdäan, tevisio saattaa pudota ja aiheuttaa henkilö- tai omaisuusvahingon.
Ala tee muutoksia seinaaasennuskiinnittimen osiin.
Jos nain tehdään,seinäasennuskiinnit saattaa pudota ja aiheuttaa henkilö-tai omaisuusvahingon.
Alä asenna muita laitteita kuin maäritelty tuote.
Täm seinaasennuskiinnit on tarkoitettu kayettaväksi ainoastaan sille märitetyn tuotteen kansa. Jos asennat muun kuin märitetyn laiteen, se saattaa pudota ja rikkoutua ja aiheuttaa henkilo- tai omaisuusvahingon.
Alä kohdista
seinäsennuskiinnittimeen
television lisaksi muuta
kuormaa.
Alä ravista tevisiota
vasemmalle/oikealle tai
ylos/alias.
Jos nain tehdäan, tevisio saattaa pudota ja aiheuttta henkilo- tai omaisuusvahingon.
Alà nojaa tai riipu televisiosta.
Ala noja tai riipu tevisiosta, sillä se saattaa pudota ja aiheuttaavakavan henkilövahingon.
VAROTOIMET
Jos seuraavia varotoimia ei noudateta, seurauktena voi olla henkilo-tai omaisuusvahinko.
Alä kaytä liikaa voimaa tuotteen puhdustuksen tai huollon yhteydessa.
Alä paina television ylasivulta liialla voimalla. Jos nain tehdän, tevisio saattaa pudota ja aiheuttaa henkilo- tai omaisuusvahingon.
Varotoimet
- Jos seinaasennuskiinnittimeen asennettua televisioniosta kayetetaan pitkäan, television takana tai yiapuolella oleva seinapinta voi varjäantya tai tapetti irrota seinamateriaialista riippuen.
- Jos seinaasennuskiinnit irrotetaan sensean asentamisen jalkeen,seinanan jau ruvinreiai.
- Alä kayta seinäasennuskiinnitanta paikassa, johon kohdistuu mekanista tärinä.
Seinäasennuskiinnittimen asentaminen
Sony-jalleenmyyjille
VAROITUS
Seuraavat ojeet ovat ainoastaan
Sonyjalleenmyyjille.Muista lukea edella olevat turvallisuusvarotoimet ja kiinnit erityista huomiota turvallisuuteen tamntuotteen asennuksen,huollon ja tarkastuksen aikana.
Alä asenna seinäasennuskiinnitintä seinäpintoihin, joissa television kulmat tai sivut ulkonevat seinäpinnasta.
Ala asenna seinasennuskiinnitanta
pylvaaseen tai vastaaviinseinapintoihin,
joissa television kulmat tai sivut ulkonevat
seinapinnasta. Jos henkilo tai esine osuus
television ulkonevaan kulmaan tai sivuun,
seurauskena voi olla henkilo-tai
omaisuushahinko.

Alä asenna televisiota ilmastointilaitteen ylä- tai alapuolle.
Jos tevisio altistuu ilmastointilaitteen vesivuoille tai ilmaviralle pitkia aikoja, seauraksena voi olla tulipalo, sahkoisku tai television toirmintahairio.
Muista asentaa seinäasennuskiinnitint tukevasti seinään tassä kayttöhjeessa annettujen ohjeiden mukaisesti.
Jos jokin ruuveista on loysallai tai pudonnut,
seinaasennuskiinnitin saattaa pudota ja
aiheuttta henkilo-tai omaisuusvahingon. Muista kaytttaa seinamateriaalille sopivia
ruveja ja asenna yksikko tekevasti
vahintaan neljalla 8 mm:n ruuvilla (tai
vastaavalla).

Muista kayttä
toimitetuja ruuveja ja
kiinnitsosia oikein ja
noudata tassä
kayttöhjeessa
annetuja ohjeita. Jos
kaytät korvaavia osia,
tevisio saattaa
pudota ja aiheuttaa
henkilovahingon tai
vahingoittaa
televisiota.
Muista koota kiinnitin oikein noudattamalla tassä kayttöohjeessa selitety menetelmaa.
Jos jokin ruuveista on loysallai tai pudonnut, television saattaa pudota ja aiheuttaa henkilovahingon tai vahingoittta tevisiota.
Muista kiristäa ruuvit kunnolla tarkoitettuihin kohtin.
Jos nain ei tehdä, television saattaa pudota ja rikkoutua sekä aiheuttaa henkilö-tai omaisuusvahingon.
Varo kohdistamasta television iskuja asennuksen aikana.
Jos television kohdistuu isku, tevisio saattaa pudota ja rikkoutua sekä aiheuttaa henkilö- tai omaisuusvahingon.
Televisio on asennettava seinään, joka on sekkohtisuora etta tasainen.
Jos nain ei tehdä, television saattaa pudota ja rikkoutua sekä aiheuttaa henkilö-tai omaisuusvahingon.
Kun tevisio on asennettu oikein, kiinnitä kaapelit kunnolla.
Jos henkilòtā tai esineita sotteutuu kaapeleihin, seurauktena saatta olla henkilōvahinko tai television vahingoittuminen.
Ala annvirtajohdon ja liitantakaapelin jaddapuristu siin.
Jos virtajohto tai liitantäkaapeli jäa puristuksiin laitteen ja seinan vänlin tai niitta taitetaan tai kierretään voimalla, sisäiset johtimet voivat tulla nakyviin ja seurauktena on oikosulku tai katkos. Täm voi aiheuttaa tulipalon tai sahköiskun.

Seinäasennuskiinnittimen seinäiinnitykseen tarvittavat ruuvit eivat sisally toimitukseen.
Käytä seinämateriaalille ja -rakenteelle
sopivia ruuveja, kun kiinnität
seinäsennuskiinnittimen.
Sisallysluettelo
Asennuksen valmistelu. 5
Osien tarkistaminen.. 5
Asennuspikan märittäminen. 6
Jalustan asennussein.. 8
Television asennuksen valmistelu. 9
KD-85/75XG85□□,KD-75XG87□□ 9
KD-65/55XG87□□,KD-65/55XG85□□.11
Television asennus seinään. 13
KD-85/75XG85□□,KD-75XG87□□ 13
KD-65/55XG87□□,KD-65/55XG85□□.15
Asennuksen tarkistaminen. 18
Muuta tietoa 18
Tekniset tiedot 18
Television asennus seinään
Asennusmenetelma vaihtelee eri teilesoilla. Kayta seinaasennuskiinnitinta SU-WL450 television asentamiseksi seinäle.
Huomautus
- Pane irrotetut ruuvit talteen turvalliseen paikkaan poislasten ulottuvilta.
Asennuksen valmistelu
- Ota TV:n viiteopas ja asetusopas esille ennen asennusta.
Hanki ennen kokoonpanoa valmiaksi ruuveihin sopiva ristipääruuvitalta.
Tarkista television asennuskohta. - Pida valmiina vahintaan nelja halkaisijaltaan 8 mm:n ja yksi 5 mm:n ruvi tai vastaava (lisavaruste). Valitse seinamateriaalille sopivat ruuvit.
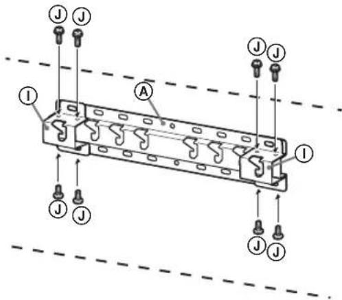
Osien tarkistaminen
Toimitetaan SU-WL450:n mukana
- Tarkista, etta kaikki osat on toimitetty.
| A Jalusta (20) (1) B Hnapyörä (2) | |
| © PSW 6x20 (4) © PSW 4x20 ja holkki (2) | |
| E Välike (20) (2) E Hnna (1) | |
| © Holkki (20) (M4) (2) | © PSW 4x20 (2) |
| ① Jalustan sovitin (2) | ① PSW 4x10 (8) |
| © Välike (60) (2) © PSW 6x50 (2) | |
| M Holkki (M4) (2) N PSW 4x50 (2) | |
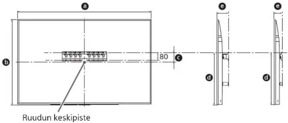
Asennuspaikan märittäminen
1 Määrītā asennuspaikka.
Varmista, etta seina on riittavän iso teileviolle ja pystyy Kantamaan vahintaan neljä kertaa television painon.
Katso seuraava taulukko television asentamiseksi seinälle. Katso television paino television viiteoppaasta.

Normaali asennus Kapea asennus
Yksikkö: mm
| Mallinimi | Näytönn mitat | Ruudun keskikohdan mitta | Asennuspituus | |||
| a | b | c | d | e | ||
| Normaali asennus | Kapea asennus | |||||
| KD-85XG85□□ | 1909 | 1 097 | 251 | 803 | 142 | 100 |
| KD-75XG87□□ KD-75XG85□□ | 1673 | 963 | 107 | 595 | 116 | |
| KD-65XG87□□ KD-65XG85□□ | 1450 | 836 | 99 | 523 | 115 | 73 |
| KD-55XG87□□ KD-55XG85□□ | 1231 | 713 | 106 | 468 | 115 | |
Huomautus
- Taulukon arvot voivat vaildella hieman asennuksen mukaan.
Kun tevisio on asennettu seinalle, sen ylareuna on hieman eteenpain kalellaan.
Jata sopiva vali television ja katon sekä seinan esiintyontyvien osien valillaseuraavan kuvan mukaisesti.
Yksikko: mm

Noudata seuraavia ohjeita asianmukaisen ilmanvaihdon varmistamiseksi ja lian tai polyn keräantymisen estämiseksi:
- Ala asenna televisiota takaosan varaan, ylosalaisin, takaperin tai sivuttain.
- Alä sijoita televisiota hyllyn, maton tai vuoteen pälle tai kaappiin.
- Alä peita televisiota millaan tekstiillä tai muilla vastaavilla, esimerkiki verhoilla tai sanomalehdillä ine.
- Alä asenna televisiota alla olevien kuvien mukaisesti.
Ilmankierto estynyt.

Huomautus
Jos kaapeli on tarkoitus vetäa seinän sisälle, tee seinän reikä kaapeleille ennen asennuksen aloittamista.
Estaa kaapeleiden jaaminen puristuksiin tekemallaa seinaan reikajalustan (20) A, Jalustan sovit 1 ja valikkeen (20) E, valikkeen (60) kehanulkopuolelle.
2 Valitse seineaasennustapa. Etaisyys TV:n takasivulta seinean voidaan valita seuraavasti.
2-a Normaali asennus
2-b Kapea asennus
Katso kohdan 1 taulukko.
VAROITUS
Kun valitaan 2-b, pääsy takana oleviin liittimiin on rajallinen.

3 Katso jalustan sovittimen kiinnityspaikka alla olevasta taulukosta. Jos valitaan 2-b, ohita tamä vaihe.
| Mallinimi Koukun sijainti | |
| KD-85XG85□□ | |
| KD-75XG87□□ | a |
| KD-75XG85□□ | |
| KD-65XG87□□ | |
| KD-65XG85□□ | b |
| KD-55XG87□□ | |
| KD-55XG85□□ | |

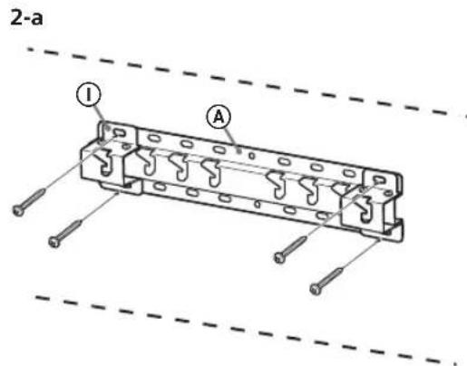
Asenna jalustan sovitin ① ruuvilla (PSW 4x10) ⑫ jalustaan (20) ④, kun valitaan 2-a.

4 Maarita ruuvien paikat jalustan (20) A asentamiseksi.
Katso tiedot sivulta 18.
Kun valitaan 2-a, kayta reikien paikkoja jalustan sovittimessa ①.
VAROITUS
Seinan, johon tevisio asennetaan, on pystyttavakantamaan vahintaan neljka kertaa television pano (Katso television pano sen viiteoppaasta.).
Märäta seinänkestävyss, johon tevisio asennetaan. Vahvistaseinätarvittaessa riittavasti.
Jalustan asennus seinään
- Käytä vähintaan neljää halkaisijaltaan 8 mm:n tai vastaavaa ruuvia (lisävaruste).
- Asenna neljä ruuvia jalustan sovittimeen ① ja jalustaan (20) A (vain 2-a).
- Asenna jalusta (20) © seinään vaakasuorassa.


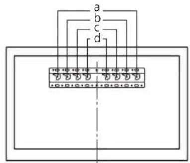
Television asennuksen valmistelu
Katso asetusoppaasta ohjeita jalustan asennukseen.
KD-85/75XG85□□,KD-75XG87□□
1 Merkitse asennuspaikkaseinään.
- Merkitse television paikka jalustan tai jalustan sovittimen laheisyyteen esim. maalarinteippia (lisavaruste) kayttamalla. Katso alla oleva kuva ja taulukko.

Yksikkö: mm
| Mallinimi | Merkinnän pituus | Ruudun keskikohdan mitta | ||
| a | b | c | d | |
| KD-85XG85□□ | 1909 | 683 | 200 | 251 |
| KD-75XG87□□ KD-75XG85□□ | 1673 | 468 | 200 | 107 |
2 Irrota ruuvit television takaa.

3 Kiinnitä
seinäasennuskiinnittimen
kiinnitsosat. Tarkista
kiinnitsosat sivun 5
kappaleen "Osien
tarkistaminen" kohdan
"Toimitetaan SU-WL450:n
mukana" mukaisesti.
Huomautus
Kiinnitta kiinnityssosat tukevasti kayttamalla ruuveja.
Jos kaytatsahkotoimista ruuvinvaanninta, valitsekiristysvoiman asetukseksi noin 1,5 N-m 15kgf· cm
Säilytä käytetyt tai käytämattomat osat turvallissasa paikassa tulevaa käytötarvetta varten. Säilytä tamä käyttoohje tulevaa käytöa varten.

Normaali asennus (2-a)
Kapea asennus (2-b)
Huomautus
- Joitakin TV:n takana olevia liitantöja ei voi käyttaa, kun käytetaan tata asennustapaa.


4 Liitä tarvittava(t) kaapeli(t) television.
Muista liittaa kaapelit ennen television asennusta seinään. Kaapeleita ei voi liittaa sen jälkeen, kun tevisio on asennettu. Katso television mukana toimitettu viiteopas.
Huomautus
- Anna kaapeleiden seinään asentaminen valtuutetun asentajan tehtavaksi.
Niputa liitantakaapelit yhteen ennen seinaaennusta, jotta et astu niiden paalle.
5 Irrota poytajalusta televisionista.
- Poista poytajalustan sivut yksi kerrallaan. Pitele poytajalustaa tukevasti molemmilla kasillä, kun toiset henkilöt dostavat TV:tä.

KD-85XG85□□

KD-75XG87□□,KD-75XG85□□
Toista edellinen vale he ja poista poytajalustan toinen sivu.
Huomautus
Poytajalustan irrottamisessa tarvitaan vahintaan kolme henkiloo.
Varo kayttamasta liallista voimaa irrotaessasi poytajalustaa TV:sta, jotta TV ei kaadu ja vahingoitu tai aiheuta henkilovahinkoa.
Kasittele poytajalustaa varovasti, jotta TV ei vahingoitu.
- Ole varovainen nostaessasi poytajalustasta irrotetua televisiota, sillä poytajalusta voi kaatua ja aiheuttaa henkilövahingon.
- Ole varovainen irrotaessasi poytajalustaa televisiosta, jotta tevisio ei kaadu ja vahingoita poydan pintaa.
KD-65/55XG87□□,
KD-65/55XG85□
1 Irrota ruuvit television takaa.

2 Kiinnitä
seinaasennuskiinnittimen
kiinnitysosat. Tarkista
kiinnitysosat sivun 5
kappaleen "Osien
tarkistaminen" kohdan
"Toimitetaan SU-WL450:n
mukana" mukaisesti.
Huomautus
Kiinnitä kiininitysosat tukevasti kayttamalla ruuveja.
Jos kaytatsahkotoimista ruuvinvaanninta, valitsekiristysvoimanasetukseksi noin 1,5 N-m{15 kgf·cm}.
Sälytä käytetyt tai käytämattomat osat turvallissessa paikassa tulevaa käytötarvetta varten. Sälytä tamä käyttohje tulevaa käytöa varten.

Normaali asennus (2-a)
Kapea asennus (2-b)
Huomautus
- Joitakin TV:n takana olevia liitantojä ei voi käyttaa, kun käytetaan tata asennustapaa.


3 Liitä tarvittava(t) kaapeli(t) television.
Muista liittaa kaapelit ennen television asennusta seinään. Kaapeleita ei voi liittaa sen jälkeen, kun tevisio on asennettu. Katso television mukana toimitettu viiteopas.
Huomautus
- Anna kaapeleiden seinään asentaminen valtuutetun asentajan tehtaväksi.
Niputa liitäntäkaapelit yhteen ennen seinäasennusta, jotta et astu niiden pälle.
4 Irrota poytajalusta televisiosta.
- Poista poytajalustan sivut yksi kerrallaan. Pitele poytajalustaa tukevasti molemmilla kasillä, kun toiset henkilönt dostavat TV:tä.

Toista edellinen valhe ja poista poytajalustan toinen sivu.
Huomautus
Poytajustan irrottamisessa tarvitaan vahintaakolme henkiloa.
Varo kayttamasta liallista voimaa irrotaessasi poytajalustaa TV:sta, jotta TV ei kaadu ja vahingoitu tai aiheuta henkilovahinkoa.
Kasittele poytajalustaa varovasti, jotta TV eivahingoitu.
- Ole varovainen nostaessasi pōytajalustasta irrotetua televisiota, sillä pōytajalusta voi kaatua ja aiheuttaa henkilövahingon.
- Ole varovainen irrotaessasi poytajalustaa televisiosta, jotta tevisio ei kaadu ja vahingoita poydan pintaa.
Television asennus seinaan
KD-85/75XG85□□,KD-75XG87□□
1 Nosta teilevisio paikoilleen.
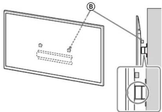
- Katso hihnapyörien (B) ripustuspaikka jalustassa tai jalustan sovittimessa kohdan "Asennuspikan maärittäminen" yaiheen 3 taulukosta sivulta 7.
- Varmista televisiota nostaessasi, etta television takapuoli koskettaa jalustaa tai jalustan sovitinta.
Huomautus
Kannattele televisiota tukevasti molemmilla käsillä ja varmista, etta hihna ① ja television alareuna ovat linjassa maalarinteipin kanssa.
Varmista,etta television kantamiseen osallistuu kolme henkiloa, ja kanna tevisiota siten,ettatlevision edessaaeisova henkilo opastaa muita asennon saatamisessa.

- Ole varovainen asentaessasi televisiota seinälle ja varmista erityisesti televisiota alapuolelta kannattelevan henkilön turvallisuus, sillā tevisio voi aiheuttaa pudotessaanvakavan henkilövahingon tai kuoleman.

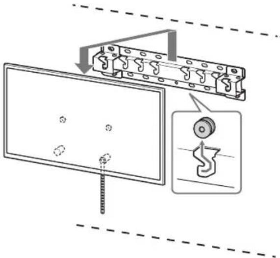
2 Asenna television jalustaan tai jalustan sovittimeen.
- Liu'uta televisiota varovasti alaspain ja ripusta television taakse kiinnitetyt hihnapyorat ⑧ jalustaan tai jalustan sovittimeen siten, etta ne ovat oikein reli'issä.
Kun tevisio on asennettu seinään, tarkista, etta hihnapyorat ⑧ ovat kunnolla kiinni jalustassa tai jalustan sovittimessa. - Varmista,etta telesio ei putoa, irrottamalla otteesi varovasti.

- Poista maalarinteippi seinästa, kun teilevisio on asennetttu paikoilleen.

2-a









2-b






VAROITUS
- Varmista,etta vahintaan kaksi henkiloa (tai vahintaan kolme henkiloa, jos television koko on yli 75 tuumaa) kannattelee televisiota sen kantamisen aikana.

3 Television alaosan liikkumisen estaminen.
- Poista lóysāt hihnasta (F) ja kiinnitā se tukevastiseinäan.


- Kayta halkaisijaltaan 5 mm:n ruuvia tai vastaavaa (lisavaruste).
Huomautus
- Varmista yrittamallā vetä television alaosaa hieman itseasi kohti, ettei se liiku eteenpän. Jos liikettahavaitaan, sitä ei ole kiinnitetty oikein ja hihna (on kiinnitettä vutevasti uudelleen.

1 Nosta tevisio paikoilleen.
- Katso hihnapyörien (B) ripustuspaikka jalustassa tai jalustan sovittimessa kohdan "Asennuspikan märittäminen" vaiheen 3 taulukosta sivulta 7.
- Varmista televisiota nostaessasi, etta television takapuoli koskettaa jalustaa tai jalustan sovitinta.

Huomautus
- Pida TV:sta kiinnu tukevasti molemmilla kasilila.
2 Asenna televisio jalustaan tai jalustan sovittimeen.
- Liu'uta televisiota varovasti alaspain ja ripusta television taakse kiinnitetyt hihnapyorat ⑧ jalustaan tai jalustan sovittimeen siten, etta ne ovat oikein reli'issa.
Kun tevisio on asennettu seinaan, tarkista, etta hihnapyorat 8 ovat kunnolla kiinni jalustassa tai jalustan sovittimessa. - Varmista,etta televisione i putoa, irrottamalla otteesi varovasti.


2-a

2-b

↓

↓
VAROITUS
- Varmista, etta vahintaan kaksi henkiloa (tai vahintaan kolme henkiloa, jos television koko on yli 75 tuumaa) kannattelee televisiota sen Kantamisen aikana.

3 Television alaosan liikkumisen estaminen.
- Poista lóysat hihnasta (F) ja kiinnitā setukevasti seinään.


- Käytä halkaisijaltaan 5 mm:n ruuvia tai vastaavaa (lisävaruste).
Huomautus
Varmista yrittamalla vetta television alaosaa hieman itseasi kohti, ettei se liiku eteenpain. Jos liikettahavaitaan, sita e ole kiinnitety oikein ja hihna F on kiinnitettava tukevasti uudelleen.
Asennuksen tarkistaminen
Tarkista seuraavat kohdat.
- Hihnapyorat ⑧ on ripustetty kunnolla jalustaan tai jalustan sovittimeen.
- Johto ja kaapeli eivät ole kiertyneenä tai puristuksissa.
Hihna F on tiukalla eikä siinä ole loysaa.
VAROITUS
Virtajohdon jne. virheellinen sjoitus saattaa aiheutttaa tulipalon tai sahköiskun oikosulun vuoksi. Muista tarkistaa valmis asennus turvallisuuden vuoksi.
Muuta tietoa
Televisio irrotetaan asennukseen nahden painvastaisessa jarjestyksessa.

VAROITUS
- Varmista, etta vahintaan kaksi henkiloa (tai vahintaan kolme henkloa, jos television koko on yli 75 tuumaa) kannattelee televisiota sen irrottamisen aikana.
Tekniset tiedot

Mitat: (noin) [mm]
a:400
b : 300
c:200
d : 100
e:80
f:480
g : 100
h1 : 20 (tapaus 2-b)
h2 : 60 (tapaus 2-a)
Paino (vain jalusta): (noin) [kg]
0.8
Rakennetta ja teknisia ominaisuksia voidaan muuttaa ilman ennakoilmoitusta.
Seda tehes voib teler kukkuda ja tekitada vigastusi voi varalist kahu.
Arge tehke seinakinnituse osadele muudatusi.
Seda tehes voib seinakinnitus kukkuda ja tekitada vigastusi voi varalist kahu.
Seda tehes voib teler kukkuda ja tekitada vigastusi voi varalist kahu.
Arge toetuge telerile voi rippuge selle kuljes.
Arge toetuge telerile voi rippuge selle kuljes, kuna see voib teile peale kukkuda ja tekitada tosisigastuse.
ETTEVAATUST
Järgmiste ettevaatusinoude eiramine voib tekitada vigastusi voi varalist kahu.
Kui moni kruvi on halvasti kinnitatud voikukub valja, voib seinakinitus kukkuda jatekitada vigastusi voi varalist kahu. Kasutage seina materjalile vastaivaid nouetekohaseid kruvisid ja paigaldage seinakinitus tugeval vahemalt nelja 8 mm labimoduga (voi samavarse) kuviga.

Pörutuste korral voib teler kukkuda voi puruneda. See voib tekitada vigastuse.
Paigaldage teler vertikaalsele ja siledale seinale.
Vaadake teleriga komplektis olevat viitejuhti.
Markus.
- Tellige kaablite paigutamine seina sisse litsentsitud toovotjalt.
- Enne seinale paigaldamist siduge uhenduskaablid kokku, et valtida neile peale astumist.
Vaadake teleriga komplektis olevat viitejuhti.
Markus.
- Tellige kaablite paigutamine seina sisse litsentsitud toovotjalt.
- Enne seinale paigaldamist siduge uhenduskaablid kokku, et valtida neile peale astumist.
Disaini ja tehnilisi andmeid voidakse muuta ilma etteetamata.
pyn yn, nyn nyyn pynnyyn npynnyyn npynnyyn npynnyyn npynnyyn npynnyyn npynnyyn npynnyyn npynnyyn npynnyyn npynnyyn npynnyyn npynnyyn npynnyyn npynnyyn npynnyyn npynnyyn npynnyyn npynnyyn npynnyyn npynnyyn npynnyyn npynnyyn npynnyyn npynnyyn npynnyynnpynny
720
nnnnnnn
yipn npnn
Sony
77
Sony pnn nn nnnn nn nn npn nn nnnnnnnnnnnnnnnnnnnnnnnnnnnnnnnnnnnnnnnnnnnnnnnnnnnnnnnnnnnnnnnnnnnnnnnnnnnnnnnnnnnnnnnnnnnnnnnnnnnnnnnnnnnnnnnnnnnnnnnnnnnnn
n nn nnnn nn nnnnnnnnnnnnnnnnnnnnnnnnnnnnnnnnnnnnnnnnnnnnnnnnnnnnnnnnnnnnnnnnnnnnnnnnnnnnnnnnnnnnnnnnnnnnnnnnnnnnnnnnnnnnnnnnnnnnnnnnnnnnnnnnnnnnnnnnn
HelppoOhje