Bravia KD55XG8588 - Televisor SONY - Manual de utilização gratuito
Encontre gratuitamente o manual do aparelho Bravia KD55XG8588 SONY em formato PDF.
Questions des utilisateurs sur Bravia KD55XG8588 SONY
0 question sur cet appareil. Repondez a celles que vous connaissez ou posez la votre.
Poser une nouvelle question sur cet appareil
Baixe as instruções para o seu Televisor em formato PDF gratuitamente! Encontre o seu manual Bravia KD55XG8588 - SONY e retome o controlo do seu dispositivo eletrónico. Nesta página estão publicados todos os documentos necessários para a utilização do seu dispositivo. Bravia KD55XG8588 da marca SONY.
MANUAL DE UTILIZADOR Bravia KD55XG8588 SONY
Informações de instalacao para Utilizar o Suporte de Parede Sony (SU-WL450)
Modelos suportados:
KD-85XG85□□*/75XG87□□*/75XG85□□*/65XG87□□*/ 65XG85□□*/55XG87□□*/55XG85□□*
Para proteção do produits e por motivos de segurar, a Sony recomenda vivamente que a instalação do seu televisor está efetuada por agentes ou tecnicos licenciados da Sony. Não tente instalá-lo sozinho.
Para os agentes e tecnicos da Sony
Deve ser dada total atençao a segurancarunde a instalacao, durante qualquer manutencao periodica e durante qualquer verificacao deste produits.
É necessário ter experiência suficiente para instalar este produto, especialmente para determinar se a parede tem robustez suficiente para suportar o peso do televisor. Certifique-se de que configa a instalacao deste produto numa parede a agentes ou tecnicos licenciados da Sony e de a devida atençao à segurarly durante a instalacao. A Sony não poderá ser responsabilizada por quaisquer danos ou ferimentos causados por manuseamento incorreto ou instalacao incorrente.
Para Segurar e instalação adequadas, siga as Instruções de Funcionamento do Suporte de Parede, Guia de Configuração do Televisor e as indicatores neste manual.
Seguranca
É necessária uma formação técnica adequada para instalar este produit. Solicite a instalacao a agentes Sony ou aERPreste especial atencao a segurarca, durante a instalacao.A Sony nao se responsabiliza por quaisquer danos ou ferimentos causados pela utilizao indevida ou instalacao incorrecta, nem pela instalacao de um produitsifferente do produits esspecificado.Os seu Direitos Estatuarios (se existrem) nao sao afectados.
Para os agentes da Sony
É necessária uma formação técnica adequada para instalar este produto. Leia atentamente这是 manual de instruções para fazer a instalação com segurarça. A Sony não se responsabiliza por quaisquer danos ou ferimentos causados pela utilização inadverta ou instalação incorrecta. Após a instalação, entrega este manual de instruções ao cliente.
Este manual de instruções desc VE as precauções importantes necessárias para evaporar acidentes e'utilizar o produits de forma correcta. Leia-o na integra e utilizez o produits corretoamente. Guarde este manual para futuras consulutas.
Os produits da Sony são concebidos para.Oferecer a maior seguranca.No entanto,seutilizados de forma incorrecta,podemprovocar ferimentos graves atraves deincendido,choque eletrico ou quaida Paraevitar esse tipo de acidentes,respeite aspecaucesde seguranca.
CUIDADO
Produtospecificados
Este Suporte para Montagem na Parede foi concebido para ser realizado apenas com o teletvisor especialico. Para televisores, consulte o Guia de referencia para verificar se o Suporte para Montagem na Parede pode ser realizado.
Para os pacientes
AVISO
O não cumprimento das precações indicadas abaixo, pode provocar a morte ou ferimentos graves atraves de incendió,choqueelectricoou queda do produits.
Certifique-se de que a instalacao é efectuada por representantes autorizados e mantenha as crianças afastadas do local durante a instalacao.
Se o suporte de montagem na parede ou o televisor não foram instalados correctamente, poder ocorrê os seguentes acidentes. Certifique-se de que a instalacao é efectuada por tecnicos precisificados.
- O televator pode cair e provocar ferimentos graves, como equimoses ou fracturas.
- Se a parede onde o Suporte para Montagem na Parede está instalado for instavel, irregular ou não estiver perpendicular ao chao, o aparecido pode cair e provocar ferimentos ou danos materiais. A parede deve ser sufficientemente forte para supportar um peso, no minimo, quatro vezes superior ao do teletvisor. (Consulte o Guia de referencia do teletvisor quando ao respetivo peso.)
- Se a instalacao do Suporte para Montagem na Parede não for sufficientemente solida, o aparecido pode cair e provocar ferimentos ou danos materiais.
Contrate技术和ducados para o transporte e desmontagem do televisor.
Se o transporte ou montagem for feito por pessoas que nao os tecnicos qualificados, o televator pode caireprovocar ferimentos ou danos materiais. Certifique-se que o transporte ou a desmontagem do televator devera ser efetuado por das ou mais pessoas (tres ou mais pessoas para televator de 75 polegadas e acima).
Não retire os parafusos, etc., après a desmontagem do televisor.
Se o fizer, o televisor pode cair e provocar ferimentos ou danos materiais.
Não faça quaisquer alteracoes nas peças do Suporte para Montagem na Parede.
Se o fizer, o Suporte para Montagem na Parede pode cair e provocar ferimentos ou danos materiais.
Não instale um equipamento diferente do especialico no suporte.
Este Suporte de Instalação na Parede foi acontecido para ser realizado apenas com o produits spécifique. A instalação de qualquer及其他 equipamento pode resultar em queva ou quebra e provocar danos materiais ou ferimentos.
Não coloque nenhumacarga para algo dotelevisor no Suporte paraMontagem na Parede. Nao agite o televisor paraa esquerda/para a direita,para cima/para baixo.
Se o fizer, o televisor pode caire provocar ferimentos ou danos materiais.
Nao se encoste nem se pendure no televator.
Não se encoste nem se pendure no tevisor, pois este pode cair e provocar ferimentos graves.
CUIDADO
Se as seguiates precauções não foram observadas, poderão ocorro ferimentos ou danos materiais.
Nãoança demasiada paraça durante a limpeza ou manutenção do produits.
Não para demasiada para na parte superior do teletvisor. Se o fazer, o teletvisor pode cair e provocar ferimentos ou danos materiais.
Precauções
- Se utilizes o teovisor instalado no Suporte para Montagem na Parede durante muito tempo, a parede por vez ou por cima do teovisor pode perdar a cor e o papel de parede pode descalar-se, dependendo do material da parede.
- Se retirar o Suporte para Montagem na ParedeAFPDOo instalar,os orificiosdo parafuso ficam na parede.
- Não utilize o Suporte para Montagem na Parede num local num local sujeito a vibações mecânicas.
Instalar o suporte para montagem na parede
Para os Agentes da Sony
AVISO
As seguintes instruções destinam-se apenas aos agentes da Sony. Leia as precauções de segança na integra e prestre muita atençao às medidas de segança que é preciso respeitar durante a instalação, manutençao e verificacao deste produits.
Não instale o suporte para montagem em paredes em que os cantos ou os lados do televisor fiquem afastados da parede.
Nāo instale o suporte para montagem na parede em colunas em que os cantos ou os lados do teletivor fiquem afastados da parede. Se uma Pessoa ou objecto embaterem no canto ou lado saliente do teletivor,ippo pode provoc ferimentos ou danos materiais.

Não instale o televisor por cima ou por baixo de um aparecido de ar condicionado.
Se o tevisor ficar exposto a fugas de agua ou correntes de ar do aparelho de ar condicionado durante muito tempo, pode ocorro um incendidio, um quoi eletrico ou uma avaria.
Instale o suporte para montagem na parede com segurarça seguido as indicações destemanual de instruções.
Se algoq dos parafusos estiver solto ou cair, o suporte para montagem na parede pode caire e provocar ferimentos ou danos materiais. Utilize os parafusos adequados ao material de que e feita a parede e fixe bem o suporte com quatro ou mais parafusos de 8 mm de diametro (ou equivalentes).

Utilize os parafudos e os acessórios fornecidos conforme as indicações destemanual de instruções. Seutilizarotmoscessórios, o televisor podecaireprovocarferimentosa algoém ou danos materiais no proprietarytelevision.
Monte o suporte correctamente, seguido o procedimento explicado neste manual de instruções.
Se um dos parafusos se soltar ou cair, o televator pode cair e provocar ferimentos a algoém ou danos materiais no televator.
Aperte bem os parafudos na posicao correcta.
Se não o fizier, o televator pode caire ferir algoém ou ficar danificado.
Não submeta o televisor a qualquerCHOque durantea instalacao.
Se o tevisor softer choques, pode cair ou partir-se. O que pode provocar ferimentos.
Instale o tevisor numa parede perpendicular e plana.
Se não o fiz, o televisor pode cair e provocar ferimentos.
Depois de instalar correctamente o televator, fixe bem os cabos.
Se as pessoas ou objectos ficarem emaranhados nos cabos, poder ferir-se ou danificar o televator ou o monitor.
Não deixe o cabo de alimentação CA, nem o cabo de ligação ficarem trilhados.
Se o cabo de alimentacao CA ou o cabo de ligationao ficar trilhado entre o aparelho e a parede ou se os做不到 orcer a forca, os condutores internos poder ficar a vista e provocar um curto-circuito ou a quebra do cabo eletrico. Pode provocar um incendio ouCHOque eletrico.

Os parafudos necessários para fixar o Suporte para Montagem na Paredenão está incluídos.
Utilize os parafudos apropriados para o material de que é feita a parede e para a estrutura quando instalar o Suporte para Montagem na Parede.
Indices
Preparar a instalacao 5
Verificacao das peças 5
Decirrsobrealocalizao da instalaao.6
Instalacao da base na parede 8
Preparar a instalacao do televisor. 9
KD-85/75XG85□□,KD-75XG87□□
KD-65/55XG87□□,KD-65/55XG85□□.11
Instalacao do televisor na parede. 13
KD-85/75XG85□□,KD-75XG87□□ 13
KD-65/55XG87□□,KD-65/55XG85□□.15
Confirmar a conclusao da instalacao 18
Outras informacoes 18
Especificações 18
Instalacao do televisor na parede
- Guarde os parafusos que remove num lugar seguro e fora do alcance de crianças.
Preparar a instalacao
- Tenha o Guia de Referência do Televisor e o Guia de Configuraçao à maior antes da instalacao.
- Certifique-se de que tem uma chave de parafusos Phillips adequada aos parafusos antes de proceder à montagem.
- Confirme a posicao de instalacao do seu televisor.
- Prepare quatre ou mais parafusos de 8 mm de diametro e um parafuso de 5 mm ou equivalente (não fornecido). Escolha parafusos adequados para o material da parede.
Verónica das peças
Fornecido com o SU-WL450
- Verifique se todas as peças está incluidas.
| A Base (20) (1) B Polia (2) | |
| ◎ PSW 6x20 (4)◎ PSW 4x20 com anilha (2) | |
| E Espaçador (20) (2) F Cinta (1) | |
| G Anilha (20) (M4) (2) | H PSW 4x20 (2) |
| I Adaptador de base (2) | J PSW 4x10 (8) |
| K Espaçador (60) (2) | L PSW 6x50 (2) |
| M Anilha (M4) (2) N PSW 4x50 (2) | |
Decirsoa localização da instalação
1 Decida sobre a localização da instalação.
Certifique-se de que a parede tem espoço suficiente para o tevisor e que consueguo suportar o quadruplo do peso do tevisor.
Consulte aabela segunte relativa à instalacao do teilevisor numa parede.Consulte o Guia de referencia do teilevisor para saber qual e o peso do teilevisor.

Montagem padrão Montagem curta
Unidade: mm
| Nome do modelo | Dimensoes do visor | Dimensao do centro do eocré | Comprimento para montagem | |||
| a | b | c | d | e | ||
| Montagem padrão | Montagem curta | |||||
| KD-85XG85□□ | 1.909 | 1.097 | 251 | 803 | 142 | 100 |
| KD-75XG87□□ | 1.673 | 963 | 107 | 595 | 116 | 75 |
| KD-75XG85□□ | ||||||
| KD-65XG87□□ | 1.450 | 836 | 99 | 523 | 115 | 73 |
| KD-65XG85□□ | ||||||
| KD-55XG87□□ | 1.231 | 713 | 106 | 468 | 115 | 73 |
| KD-55XG85□□ | ||||||
Nota
- Os números daanela podevariar ligeiramente dependendo da instalacao.
- Quando o teilevisor estiver instalado na parede, a parte superior do teilevisor ficar ligeiramente inclina para a ante.
Permite una folga adequada entre o televisor e o tecto e as peças salientes da parede, conforme aparecido abaixo.
Unidade: mm

-
Para garantir uma ventilação adequada e fazer a accumulacao de sujidade e po:
-
Não instale o teletovisor na horizontal, virado ao contrário, invertido ou de lado.
- Não instale o televisor sobre uma prateleira, carpete ou cama, nem dentro de um armário.
- Não cubra o televisor com panos, como cortinas, nem com jornais, etc.
- Não instale o televisor como ilustrado em baixo.
Circulacao de ar bloqueada.

Nota
- Se desejar instalar os cabos numa parede, fazerPrimeiro um orifico na mesma para introduzir os cabos antes de iniciar a instalacao.
Para evaporar trilhar os cabos, prepare um orifico na parede no exterior do perimetro da base (20) A, adaptador de base ① e do espaçador (20) E, do espaçador (60) K.
2 SeLECTIONO o estilo de montagem na parede. A distança entre a parte traseira do televisor e a parede pode ser seleccionada conforme abaixo indicado.
2-a Montagem padrão 2-b Montagem curta
Consulte aabela do passo 1.
AVISO
- Quando seleccionar 2-b, o acesso ao terminal posterior é limitado.

2-a 2-b
3 Consulte aabela em baixo para saber qual é a localização de instalação do Adaptador da Base. Caso selecione 2-b, ignore este passo.
| Nome do modelo Localização do gancho | |
| KD-85XG85□□ | a |
| KD-75XG87□□ | |
| KD-75XG85□□ | |
| KD-65XG87□□ | b |
| KD-65XG85□□ | |
| KD-55XG87□□ | |
| KD-55XG85□□ | |

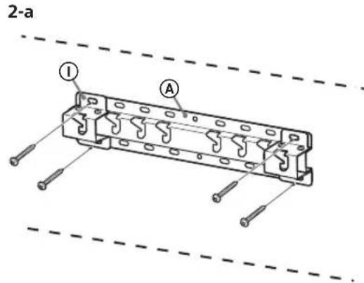
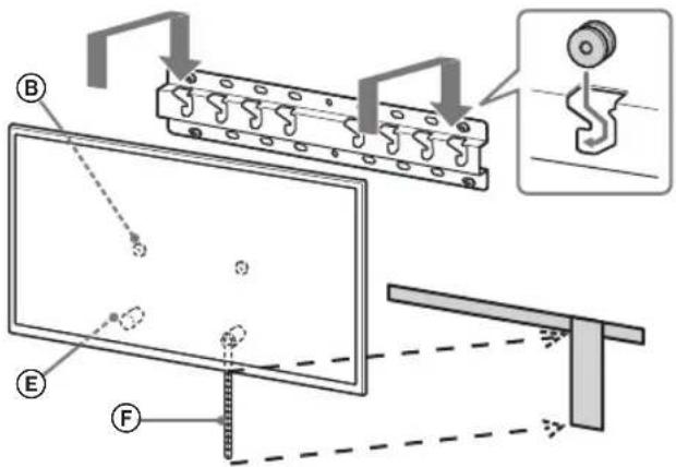
Instale o adaptor da base ① utilizing o parafuso (PSW 4x10) ② na base (20) ④ quando seleccionar 2-a.

4 Decida as posicaoes dos parafudos para instalar a base (20) A.
Consulte as espécificações na págnia 18. quando selecciónar 2-a,utilize as posições dos orificios do adaptor da base ①.
AVISO
- A parede na qual o tevisor sera instalado deve ser capaz de suportar um peso quatro vezes superior ao peso do tevisor (Consulte o Guia de referencia do tevisor quando ao respetivo peso.).
- Determine a resistência da parede em que está instalado o teilevisor. Se necessário, reforce a parede.
Instalacao da base na parede
- Utilize quatre ou mais parafusos de 8 mm de diametro ou equivalente (não fornecido).
- Instale quatre parafusos nos orificios do adaptorador da base ① com a base (20) (apenas 2-a).
- Instale a base (20) A na parede, na horizontal.


Preparar a instalacao do televisor
Consulte o Guia de Configuraçao para a instalacao do suporte.
KD-85/75XG85□□,KD-75XG87□□
1 Marque a localização da instalação na parede.
- Utilize fita de pintura, etc. (não fornecida) para marcar a localização do tevisor perto da Base ou Adaptador de Base. Consulte aabela segunte.

| Unidade: mm | ||
| Nome do modelo | Comprimento para marca | Dimensão do centro do ecra |
| a b c | d | |
| KD-85XG85□□ | 1.909 683 200 251 | |
| KD-75XG87□□ KD-75XG85□□ | 1.673 468 200 107 | |
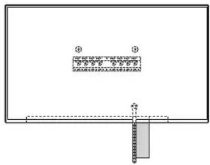
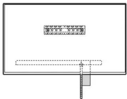
2 Remova os parafudos da parte de vez do televisor.

3 Instale as peças de fixação do Suporte de Parede. Verifique quais são as peças de fixação consultando "Fornecido com o SU-WL450" na secção "Verificação das peças", na págnina 5.
Nota
- Apertefirmamenteaspeçasdefixacaoutilizando parafusos.
- Quando utilizar una chave de parafusos electrica, configure o binário de aperto para aproximamente 1,5 N·m {15 kgf·cm}.
- Guarde as peças que utilizez ou não utilizes num lugar seguro para poder utilizes-las no futuro. Guarde estemanualpara poder consulta-lo no futuro.

Montagem padrao (2-a)
Montagem curta (2-b)
Nota
- Com este estilo de montagem, não poderá'utilizar algunos dos terminais da parte de vez do Tevisor.


4 Ligue o(s) cabo(s) necessario(s) ao televator.
Certifique-se de que liga os cabos antes de instalar o televisor na parede. Não poderá ligar os cabos quando o televisor estiver instalado.
Consulte o Guia de referencia fornecido com o seu televator.
Nota
- Certifique-se de que o encaminhamento dos cabos ao longo da parede é efectuado por agentes autorizados.
- Junte os cabos de ligação para fazer tropeçar neles antes da montagem na parede.
5 Separe o Suporte de Fixação para Mesas do televisor.
- Remova umazo do Suporte de Mesa do Televisor de cada vez. Firmamente segure no Suporte de Mesa do Televisor com ambas as maoos quando outra persona levanta o teovisor.

KD-85XG85□□

KD-75XG87□□,KD-75XG85□□
- Repita o passo anterior e remove o除外do Suporte de Mesa do Televisor.
Nota
- Três ou mais pessoas são necessarias para desencaixar o Suporte de Mesa do teletóvor.
- Tenha cuidado para não exercer demasiada para quando(desencaixa o Suporte De Mesa do Televisor,pois pode causar a queda do televisor e resultar em ferimentos pessoas ou danos fisicos ao televisor.
- Tenha cuidado quando manuseia ou Suporte de Mesa do Televisor para prevenir danos ao teletor.
- Tenha cuidado ao levantar o televisor, poi o Suporte de Mesa do Televisor é desencaixado, o Suporte de Mesa do Televisor pode cair e provocar ferimentos pessoais.
- Tenha cuidado ao remove o Suporte de Mesa do Televisor para fazer que caia e danifique a superficie onde se encontrar o televisor.
KD-65/55XG87□□,
KD-65/55XG85□
1 Remova os parafudos da parte de vez do televisor.

2 Instale as peças de fixação do Suporte de Parede. Verifique quando é que os peças de fixação consultando "Fornecido com o SU-WL450" na sequção "Verificação das peças", na párgina 5.
Nota
- Aperte firmamente as peças de fixaçãoutilizando parafusos.
- Quando'utilizar una chape de parafusos eltrica, configure o binario de aperto para aproximamente 1,5 N·m {15 kgf·cm}.
- Guarde as peças que utilizez ou não utilizes num lugar seguro para poder utilizez—las no futuro. Guarde estemanualparapodecollutá-lono futuro.

Montagem padrão (2-a)
Montagem curta (2-b)
Nota
- Com este estilo de montagem, não poderá'utilizar algunos dos terminais da parte deTRS do Tevisor.


3 Ligue o(s) cabo(s) necessario(s) ao televator.
Certifique-se de que liga os cabos antes de instalar o televisor na parede. Não poderá ligar os cabos quando o televisor estiver instalado.
Consulte o Guia de referencia fornecido com o seu televator.
Nota
- Certifique-se de que o encaminhamento dos cabos ao longo da parede é efectuado por agentes autorizados.
- Junte os cabos de ligação para fazer tropeçar neles antes da montagem na parede.
4 Separe o Suporte de Fixação para Mesas do televisor.
- Remova um lado do Suporte de Mesa do Televisor de cada vez. Firmamente segure no Suporte de Mesa do Televisor com ámbas as關鍵anganos quando outras pessoas levanta o televisor.

- Repita o passo anterior e remove o outros do Suporte de Mesa do Televisor.
Nota
- Três ou mais pessoas são necessarias para desencaixar o Suporte de Mesa do teletvisor.
- Tenha cuidado para não exercer demasiada para quando desencaixa o Suporte De Mesa do Televisor, poi pode fazer a quida do televisor e resultar em ferimentos pessoas ou danos fisicos ao televisor.
- Tenha cuidado quando manuseia o Suporte de Mesa do Televisor para prevenir danos ao televisor.
- Tenha cuidado ao levantar o televisor, poi o Suporte de Mesa do Televisor é desencaixado, o Suporte de Mesa do Televisor pode cair e provocar ferimentos pessoas.
- Tenha cuidado ao remove o Suporte de Mesa do Televisor para fazer que caia e danifique a superficie onde se encontrar o televisor.
Instalação do televisor na parede
KD-85/75XG85□□,KD-75XG87□□
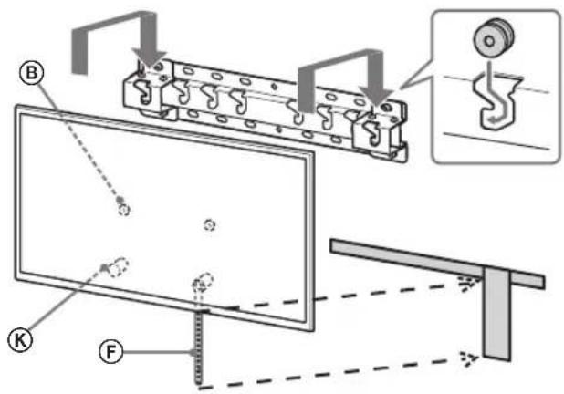
1 Levante o televator.
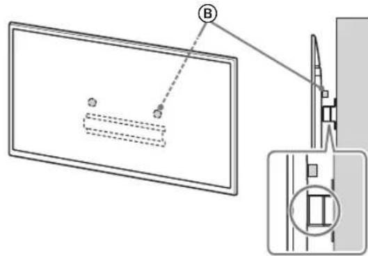
- Para a localização das polias (B) para pendurar na Base ou Adaptador de Base, consulte aanela do passo 3 em "Decidir sobre a localização da instalação" na págnina 7.
- Certifique-se que a parte de vez do televisor toca a Base ou Adaptador de Base quando segura no televator.
Nota
- Segurefirmamenteotelevisioncomambasasmacosertificque-sequea CintaFeaparte inferior dotelevisionestao alinhados comafita de pintura.
- Transporte o televisor com tres pessoas e a persona que está narente do televisor poderas os outros para fazer a posicao.

- Tenha muito cuidado ao instalar o televisor na parede especialmente para a pessoa que está a suportar a parte de baixo do televisor, o televisor pode cair, provocando seriços ferimentos corporais ou mesmo a morte.

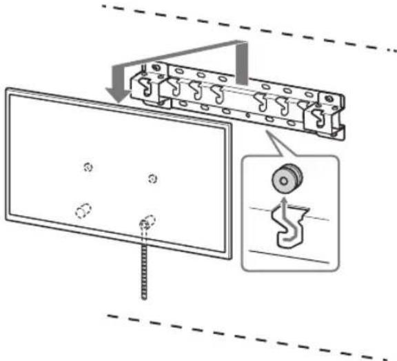
2 Instale o televisor na Base ou Adaptador de Base.
- Deslize suavamente para boa o televisor e pendure as polias (B) presas a parte de vez do televisor à Base ou Adaptador de Base, certificando-se de que confirmá a forma dos orificios.
Depois de instalar o television na parede, confirma se as polias 已 está bem presas a base ou ao adaptordo de base. - Liberte ambas as mãos lentamente para assegurar que o televisor não cai.

- Após instalar o televator na parde, remove a fita de pintura, etc. da parede.

2-a








2-b








AVISO
- Certifique-se que das ou mais pessoas (três ou mais pessoas para teletvisor de 75 polegadas e acima) seguram o teletvisor quando o transporte.

3 Evitar que a parte de baixo do televisor se mova.
- Elimine a folga da cinta (F) e prenda-a firmamente à parede.


- Utilize um parafuso de 5 mm de diametro ou equivalente (não fornecido).
Nota
- Tente puxar a parte de baixo do tevisor ligeiramente para si, para se certificar de que não se move para a fronte. Se houver algoum movimento, não é fixado correctamente e a cinta F deve voltar a ser firmamente presa.

1 Levante o televator.
- Para a localização das polias (B) para pendurar na Base ou Adaptador de Base, consulte aanela do passo 3 em "Decidir sobre a localização da instalação" na págin7.
- Certifique-se que a parte deTRS do televisor toca a Base ou Adaptador de Base quando segura no televator.

Nota
- Segure firmamente o televisor com ambas as mãos.
2 Instale o televisor na Base ou Adaptador de Base.
- Deslize suavamente para baixo o televisor e pendure as polias (B) presas à parte deTRS do televisor à Base ou Adaptador de Base, certificando-se de que confirmá a forma dos orificios.
Depois de instalar o televisor na parede, confirma se as polias está bem presas a base ou ao adaptordo de base. - Liberte às vezes lentamente para assegurar que o teletvisor não cai.


2-a

2-b

↓

↓
AVISO
- Certifique-se que deux ou mais pessoas (três ou mais pessoas para teletvisor de 75 polegadas e acima) seguram o teletvisor quando o transporte.

3 Evitar que a parte de baixo do televisor se mova.
- Elimine a folga da cinta (F) e prenda-a firmamente à parede.


- Utilize um parafuso de 5 mm de diametro ou equivalente (não fornecido).
Nota
- Tente puxar a parte de baixo do tevisor ligeiramente para si, para se certificar de que não se move para a fronte. Se houver algoum movimento, não é fixado correctamente e a cinta éve voltar a ser firmamente presa.
Confirmar a conclusão da instalação
Verifique os seguientes pontos.
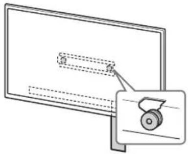
- As polias [B] está penduradas com firmeza na base ou no adaptor de base.
- Os cabos de alimentação e ligação não está dobrados nem trilhados.
- A conta está bem presa, sem folga.
AVISO
- A instalacao Incorrecta do cabo de alimentacao CA, etc., pode provocar um incendio ou什麽 eletrico devidao a um curto-circuito. Verifique se a instalacao está terminada, por medida de segurarca.
Outras informações
Quando remove o televisor, inverte o procedimento de instalacao anterior.

AVISO
- Certifique-se que deux ou mais pessoas (três ou mais pessoas para teletór de 75 polegadas e acima) seguram o teletór quando o removev.

Especificações
O design e as espécificações está sujeitos a alterações sem avis prévio.
ManualFácil