Bravia KD55XG8588 - Телевизор SONY - Безплатно ръководство за потребителя
Намерете безплатно ръководството на устройството Bravia KD55XG8588 SONY в PDF формат.
Questions des utilisateurs sur Bravia KD55XG8588 SONY
0 question sur cet appareil. Repondez a celles que vous connaissez ou posez la votre.
Poser une nouvelle question sur cet appareil
Изтеглете инструкциите за вашия Телевизор в PDF формат безплатно! Намерете ръководството си Bravia KD55XG8588 - SONY и вземете отново електронното си устройство в ръце. На тази страница са публикувани всички документи, необходими за използването на вашето устройство. Bravia KD55XG8588 на марката SONY.
РЪКОВОДСТВО ЗА ПОТРЕБИТЕЛЯ Bravia KD55XG8588 SONY
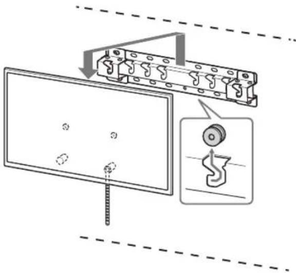
ПриключванTo Ha MOHTаЖа
PpOBepTe cIeHNHTe TOnKn.
- MakapuTe ⑥ ca 3aKaueHn 3dpaBO 3a OCHOBaTa NII aIaNTepa Ha OCHOBaTa.
- KaβeJInte He ca yCyKaHN nI npNTnChaTn.
- Konan F e 3aTeHaTa n Hma Xna6nHa.
PNEyIPEKDEHNE
- HenpaHIOHO NOCTABaHHe Ha 3axpaHbAunna Ka6eI IN dpyrMoKe Da npuHHN NoXapn Nn eEkeTpueckn ydap npaN KbCO cBcEINHeHne. COrneHa 6e3oNaChocTTa npOBepTe daJIIM MoHTaKbT e 3aBbPseH.
Другашформацья
Korato cBaIaTe TeIeBn3opa, n3nbHHeTe npoueDypata Ha MOHTaxa B O6paTeH pei.

PNEyIPEKDEHNE
- YBepTe ce, ye Dbama uNIN NOBee duu (TPMMA uNIN NOBee duu 3a KOMnJIeK TeNeBUN3Op cpa3Mepn OT 75 uHua) dbpxaT TeNEBUN3opa, Korato ro npemaxBaTe.
Cpeunfkauni

Pa3mepn: (np6n.) [mm]
a:400
b : 300
c:200
d : 100
e:80
f:480
g : 100
h1:20(BapnaHT2-b)
h2:60(BapnaHT2-a)
ЛеснаИнструкция