Bravia KD55XG8588 - Televizyon SONY - Ücretsiz kullanım kılavuzu
Cihazın kılavuzunu ücretsiz bulun Bravia KD55XG8588 SONY PDF formatında.
Kullanıcıların soruları hakkında Bravia KD55XG8588 SONY
0 soru bu cihaz hakkında. Bildiklerinizi cevaplayın veya kendinizinki sorun.
Bu cihaz hakkında yeni bir soru sor
Cihazınız için talimatları indirin Televizyon PDF formatında ücretsiz! Kılavuzunuzu bulun Bravia KD55XG8588 - SONY ve elektronik cihazınızı yeniden ele alın. Bu sayfada cihazınızın kullanımı için gerekli tüm belgeler yayınlanmaktadır. Bravia KD55XG8588 markasının SONY.
KULLANIM KILAVUZU Bravia KD55XG8588 SONY
Sony Duvar Askı Aparatını Kullanma Hakkinda Montaj Bilgileri (SU-WL450)
Desteklenen modeller:
KD-85XG85□□*/75XG87□□*/75XG85□□*/65XG87□□*/
65XG85□□*/55XG87□□*/55XG85□□*
- Gerçek model adlarinda "☐☐", bir modele özgünumara ve/veya karamterleri ifade eder.
Müsterilere
Urünü koruma ve güvenlik nedenleriyle, Sony TV'nizin montajınin Sony saticlari veya lisanslı yükleniciler tarafindan erfolgkeleşirilmesini onemle onerir. Kendiniz kurmaya calismayin.
Sony Saticilari ve Yuklenicilerine
Montaj, periyodik bakim ve bu urunun incelenmesi sirasinda guvenlige son derece dikkat edin.
Özellikle duvarin TV'nin ağırkına dayanacak kadar güölü olup olmadışı belirlemek,—ün bu ürünün montaji,—ün yeterli derece uzmanlıq gerekir. Bu ürünün duvara takilması konusunda Sony saticilarina veya lisanslı yüklenicilere güvenin ve montaj sirasindo)—nge yeterince dikkat edin. Sony, montajn yanlış yontemle veya uygunsuz)—sekilde"—yapilmasindan kaynaklanan,—hasar veya yaralanmalardan sorumlu,—degildir.
Güvenlik ve.Doğru kurulum icin, Duvar Aski Aparati Kullanim Talimatlari, TV Kurulum Kilavuzunu ve bu kilavuzdaki talimatlari izleyin.
Güvenlik
Bu urunu satin aldiginiz icin teşekkür ederiz.
Müsterilerimize
Bu urunu monte etmek icin yeterli derecede uzmanlik gereklidir. Montaji mutlaka Sony Bayilerine veya lisansi yuklenicilerine yaptrin ve montaj sirasinda gunlene özellklike dikkat edin. Sony, montajin yanlis yontemle veya uygunsuz sekilde yapilmasindan veya belirtilen urunun disinda bir urunun montajindan kaynaklanan hasar veya yaralanmalardan sorumu degildir. Yasal Haklariniz (varsa) etkilimenmez.
Sony Bayilerine
Bu urunu monte etmek icin yeterli derecede uzmanlik gereklidir. Montaj isinin gveni bir sekilde yapilmasi icin mutlaka bu kullanim kilavuzunum tamamini okuyun. Sony, montaj yanlis yontemle veya uygunsuz sekilde yapilmasindan kaynaklanan hasarlardan veya yaralanmalardan sorumlu degildir. Montajdan sonra lufen bu kilavuzu musteriye verin.
Bu kullanim kilavuzunda urununogrukanimi ve kazalari onlemek icin alinmasigeken onemli tedbirler aqkanmaktadir. Bu kilavuzun tamamini okuduugunuzdan ve urunuogrdu sekilde kullandiginizdan emin olun. Bu kilavuzu ileride basvurmak icin saklayin.
Sony urunleri guvenlige onem verilerek tasarlanmistr. Urunlerin yanlig kullanilmasi yangin, elektrik carpmasi, urunun devrilmesi veya urunun dusmesi sonucunda ciddi yaralanmaya neden olabilir. Bu gibi kazalar onlemek icin guvenlik tedbirlerine mutlaka uyun.
Uretici Firma: Sony Visual Products Inc. 2-10-1 Osaki Shinagawa-ku Tokyo, 141-8610 Japonya Telephone: (+81 3) 6748 2111
Turkiye Irtibat Numaralari: Tel: 0216-633 98 00 Faks: 0216-632 70 30 e-mail: bilgi@eu.sony.com
AEEYonetmeligine Uygundur PCB icermez
SONY
Ithalatci Firma: Sony Eurasia Pazarlama A.Ş.
Adres: Onur Ofis Park Plaza Saray Mah.
Ahmet Tevfik Ileri Cad.
No:10 34768 Ümraniye
İstanbul Türkiye
Sony Bilgi ve Danışma Hattı: 444 SONY (7669) (+90 216) 633 98 00
DIKKAT
Belirtilen urünler
Bu Duvar Aski Aparati belirtilen televizyonlarla kullanilacak sekilde tasarlanmistir. Televizyonlar icin, Duvar Aski Aparatinn kullanilabildigi dinogrulamak icin televizyonlarin Basvuru Kilavuzuna bakin.
Müsterilerimize
UYARI
Asgidaki tedbirler alinmaması, yangin, elektrik carması veya urunun dusmesi sonucunda ciddi yaralanmaya veya olume neden olabilir.
Montaji mutlaka lisansli yuklenicilere yaptirin ve montaj sirasinda kucuk tocuklari uzak tutun.
Duvar Aski Aparati veya televizyon dokru monte edilmezse, asaigidaki kazalar meydana gelebilir. Montaji mutlaka lisansli yuklenicilere yapirin.
- Televizyon dusebilir ve siyrik veya kink gibi ciddi bir yaralanmaya neden olabilir.
Duvar Aski Aparatinin monte edileceigi duvar sabit degil, purzlu veya zemeine dik degilse, unite dusebilir ve yaralanmaya veya malin hasar gormesine neden olabilir. Duvar, televizyonun aigrilginen en az Dort katini destekleyebilmelidir. (Televizyonun aigril icin Basvuru Kilavuzuna bakin.)
Duvar Aski Aparatinin duvara montajinin yeterli derecede saglam yapilmamasi, unitenin dusmesine ve ciddi yaralanmaya veya malin hasar gormesine neden olabilir.
Televizyonun montajini veya demontajini mutlaka lisansli yuklenicilere yaptirin.
Televizyonu lisansli yuklenicilerin disindaki kisiler taırsa veya demonte ederse, televizyon dingebilir ve ciddi yaralanmaya veya malin hasar gormesine neden olabilir. Televizyonu taıma veya sokme islemlerinin iki veya daha fazla kisi (75 inc ve üzeri TV seti cin uc veya daha fazla kisi) tarafindan yapildigiindan emin olun.
Televizyonu monte etikten sonra vidaları, vb.çikarmayın.
Çıkarişaniz,televizyonduşebilirvédidi yaralanmaya veya malin hasar görmesine neden olabilir.
Duvar Aski Aparatinin parçalarindadehyşigkeitlik yapmayin.
Degislik yaparsaniz, Duvar Aski Aparati duşebilir ve ciddi yaralanmaya vya malin hasar gormesine neden olabilir.
Belirtilen urun disindaki ekipmanlari dokmeyin.
Bu Duvar Aski Aparati yalnizca belirtilen urunle kullanilacak sekilde tasarlanmistir. Belirtilen urunun disinda ekipman monte ederseniz, dusebilir vya kirlabilir ve ciddi yaralanmaya vya malin hasar gormesine neden olabilir.
Duvar Askı Aparatın televizyonışında bir yük yüklemenin.
Televizyonu sola/saga, yukari/asaigi sallamayin.
Çıkarişaniz,televizyon dusebilir ve ciddi yaralanmaya veya malin hasar gormesine neden olabilir.
Televizyona dayanmayin veya asilmayin.
Televizyon uzerinizereusebilecegindenve ciddi yaralanmaya neden olabileceginden televizyona dayanmayin veya asilmayin.
DIKKAT
Asgidaki tedbirler alinmazsa, ciddi yaralanma veya malda hasar ortaya sikabilir.
Temizleme veya bakim sirasinda urune aşiri güç uygulamayın.
Televizyonun ust kenarina asiri guc uygulamayin. Cikanirsaniz, televizyon dusebilir ve ciddi yaralanmaya veya malin hasar gormesine neden olabilir.
Tedbirler
- Televizyonu Duvar Aski Aparati takili olarak uzun sure kullanirsaniz, duvarin yapildigi malzemeye baglil olarak arkadaki vuvaraveya televizyonun ustunde renk degisimi olabilir veya duvar kaigi yerinden cikabilir.
Duvar Aski Aparati duvara monte edildikten sonra cikarilrsa, vida delikleri kalir.
Duvar Aski Aparatini mekanik titresimler maruz kalan bir yerde kullanmayin.
Duvar Aski Aparatini Monte Etme
Sony Bayilerine
UYARI
Aşaqidaki talimatl yalınizca Sony
bayililer icindir. Bu urünun montaji,
bakimi ve kontrlü sirasinda, yukarida
belirtilen Güvenlik tedbirlerini
okudugunuzdan ve güvânlige özellile
önem verdiğinizden emin olun.
Duvar Askı Aparatı televizyonun köselerinin veya kendarınin duvar yüzeyindenkıntı yaptıduvar yüzeylerine monte etmeyin.
Duvar Aski Aparatini televizyon un koserinin veya kenarlarinin duvar yuzeyinden cikinti yaptigi, kolon gibi duvar yuzeyelerine monte etmeyin. Bir kisi veya nesne televizyonun cikinti yapan kose sine veya kenarina carparsa, yaralanna veya mal hasari ortaya cikabilir.

Televizyonu klimanin
üzerine veya alta
monte etmeyin.
Televizyon klimadan gelen su sizi nisi veya hava akimina uzun sure maruz kalirsa, yangin, elektrik carpmasi veya televizyonda aniza meydana gelebilir.
Duvar aski aparatini duvara bu kullanim kulavuzundaki talimatlara gore saglam bir sekilde monte ettiiginizden emin olun.
Vidalardan biri gevserse veya cikarsa, Duvar
Aski Aparati dusebilir ve ciddi yaralanmaya
veya mal hasarina neden olabilir. Duvarin
malzemesi icin uygun vidalari
kullandiqinizdan ve uniteyi 8 mm (veya
esdegeri) capinda dort veya daha fazla vida
kullanarak saqlam bir sekilde monte
ettiginizden emin olun.

Birlikte verilen vidaları ve ek parçaları bu kullanım kilavuzundaki talimatlara gore.Doğru bir sekilde kullandiginizdan emin olun.Baska parçalarkullanirsaniz, televisionyondusebilirve bedensel yaralanmaya veya televisionyun hasar gormesineneden olabilir.
Aparati bu kullanim kilavuzunda açıklanan prosedüre gore.Doğru bir sekilde monte ettiginizden emin olun.
Vidalardan biri gevser veya cikarsa, televizyon dusebilir ve bedensel yaralanmaya veya televizyonun hasar gormesine neden olabilir.
Vidaları gosterilen konumda iyice sikişirdirgünizdan emin olun.
Bu yapilmazsa, televizyon dusebilir ve bedensel yaralanmaya veya televizyonun hasar gormesine neden olabilir.
Montaj sirasinda televizyonu darbeye maruz birakmamaya dikkat edin.
Televizyon darbeye maruz birakilrsa, dusebilir veya parcalarna aynilabilir. Bu, yaralanmaya neden olabilir.
Televizyonu dik ve diz bir duvara monte ettiğinizden emin olun.
Bu yapilmazsa, televizyon dusebilir ve yaralanmaya neden olabilir.
Televizyon dokru sekilde monte edildikten sonra, kabolari dokru sekilde sabitleyin.
Kisiler veya nesneler kablolara takilirsa, yaralanma veya televizyonda hasar ortaya cikabilir.
AC guc kablosunun vya
baglanti kablosunun
sikmasina izin
vermeyin.
AC guc kablosu veya baglanti kablosu unite
I duvar arasa sikisira veya guc
uygulanarak bukulur veya kivrilirsa, ic
iletkenler ortaya cikabilir ve bu durum, kisa
devreye veya elektrik koslimesine neden olabilir. Bu durum, yangina veya elektrik carpmasina neden olabilir.

Duvar Askı Aparatı duvara sabitlemek icin gereken vidalar ürünle birlikte verilmez.
Duvar Aski Aparatini monte ederken duvar malzemesi ve yapisi icin uygun vidalan kullanin.
Içindekiler
Montaj iin hazirlanma 5
Parcalari kontrl etme. 5
Montaj konumuna karar verme. 6
Tabani duvara monte etme 8
Televizyonun montaji icin hazirlanma.9
KD-85/75XG85□□,KD-75XG87□□
KD-65/55XG87□□,KD-65/55XG85□□.11
Televizyonu duvara monte etme.13
KD-85/75XG85□□,KD-75XG87□□.13
KD-65/55XG87□□,KD-65/55XG85□□.15
Montajin tamamlandigin onaylama.18
Diger bilgiler 18
Teknik Ozellikler 18
Televizyonu duvara monte etme
Montaj proseduru televizyonunuza bagli olarak farklik gosterir.
TV'yi duvara monte etmek icin Duvar Aski Aparati'ni SU-WL450 kullanin.
Not
Cikarilan vidalariciocuklardan uzak tutarak guvenli bir yerde depoladiginizdan emin olun.
Montaj增長 hazirlanma
- Kurulumdan once televizyonun Basvuru Kilavuzunu ve Kurulum Kilavuzunu hazir bulundurun.
Montajdan once vidalara uygun yildiz tornavida bulundurmayi unutmayin. - Televizyonunuzun montaj konumunu onaylayin.
- 8 mm capinda dört veya daha fazla vida ve 5 mm capinda veya esdeger birvida hazirlayin (birlikte verilmez). Duvarin malzemesine uygun vidalar seçın.
Parçalari kontrol etme
SU-WL450 ile birlikte verilir
Tum parcalarin bulundugundan emin olun.
| A Taban (20) (1) B Makara (2) | |
| ◎ PSW 6x20 (4)◎ PSW 4x20, burçile (2) | |
| ◎ Ara Parçasi (20) (2) | ◎ Kayiş (1) |
| ◎ Burç (20) (M4) (2) | ◎ PSW 4x20 (2) |
| ◎ Taban Adaptörü (2) | ◎ PSW 4x10 (8) |
| ◎ Ara Parçasi (60) (2) | ◎ PSW 6x50 (2) |
| ◎ Burç (M4) (2)◎ PSW 4x50 (2) | |
Montaj konumuna karar verme
1 Montaj konumuna karar verin.
Duvarda TV iciyereince alan oldugundan ve duvarin TV'nin aigriliginin en az dort kat iagrilik taayabileceginden emin olun.
TV'yi duvara monte etmek hakkinda asaigidaki tabloya bakin. TV'nin aigrigi icin TV'nizin Basvuru Kilavuzuna bakin.

Standart montajince montaj
Ekran merkez noktası
Birim: mm
| Model adi | Görüntü boyları | Ekran merkezi boyları | Montaj uzunluğu | |||
| a | b | c | d | e | ||
| Standart montaj | ince montaj | |||||
| KD-85XG85□□ | 1.909 | 1.097 | 251 | 803 | 142 | 100 |
| KD-75XG87□□ | 1.673 | 963 | 107 | 595 | 116 | 75 |
| KD-75XG85□□ | ||||||
| KD-65XG87□□ | 1.450 | 836 | 99 | 523 | 115 | 73 |
| KD-65XG85□□ | ||||||
| KD-55XG87□□ | 1.231 | 713 | 106 | 468 | 115 | 73 |
| KD-55XG85□□ | ||||||
Not
- Tablodaki sekiller montaja bagl olarak biraz degisebilir.
TV'niz duvara monte edildiginde, TV'nin ust tarafi oneogrubiraz eigilir.
Televizyon ile tavan ve duvar seksintilararasinda asagida gosterildigi gibi uygunmesafe birakin.
Birim: mm

Uygun havalandirmayi saglamak ve toz veya kirin birikmesini onlemek icin:
TV setini diz yatirmayin, ters, gerijeogrnu veya yan monte etmeyin.
TV setini raf, kilim, yatak uzerinde veya kabin icine yerlestirmeyin.
TV setini perde gibi bir bezle veya gazete kagidi vb. il Kapatmayin.
TV setini asagida gosterilen sekilde monte etmeyin.
Hava sirkülasyonyu engelleniyor.

Not
Kablolari duvara yonlendirmek istiyorsaniz, montaja baslamadan once kablolari yerlestirmek icin duvara bir delik acin.
Kablolarin sikismasini onlemek icin, Tabanin (20) A, Taban Adaptoru 1 ve Ara Parcasinin (20) E, Ara Parcasinin (60) Cevre uzunlu gdisinda bir yerde duvara delik acin.
2 Duvara montaj tipi secin. Televizyonun arkasina olan mesafe aşagida gosterildigi gibi seçilebilir.
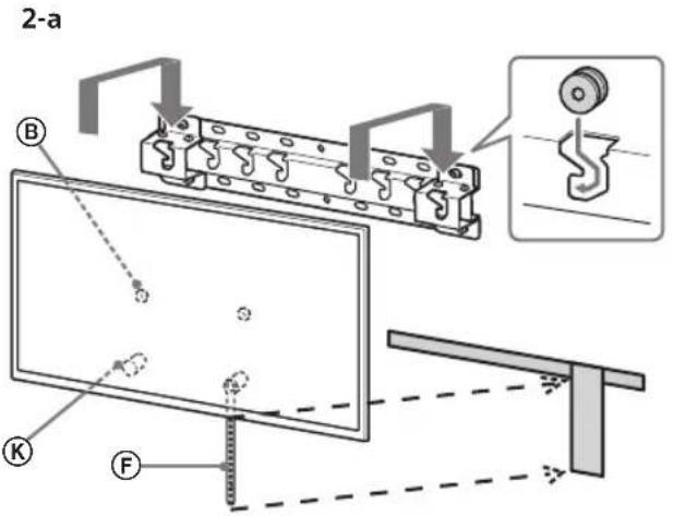
2-a Standart montaj
2-bince montaj
Adim 1'deki tabloya bakin.
UYARI
-2-b seildiginde, Arka terminale erisim sinrlidir.

2-a 2-b
3 Taban Adaptoru montaj konumu hakkindaki asagidaki tabloya bakin. 2-b secildiginde bu adimi atlayin.
| Model adi Kanca konumu | |
| KD-85XG85□□ | |
| KD-75XG87□□ | a |
| KD-75XG85□□ | |
| KD-65XG87□□ | |
| KD-65XG85□□ | b |
| KD-55XG87□□ | |
| KD-55XG85□□ | |

2-a收费标准, ① vidayi (PSW 4x10) ② kullanarak taban adaptörünü taban (20) A'ya takin.

4 Tabani (20) A kurmak icin vidalarin konumuna karar verin.
Sayfa 18'teki teknik ozelliklere bakin.
2-a seildigiinde Taban Adaptorunn ① delik pozisyonlarini kullanin.
UYARI
- Televizyonun monte edildigi duvar, tevizyonun en az dort kat aigrigi destekleyebilmelidir (Televizyonun aigrigi icin Basvuru Kilavuzuna bakin.)
- Televizyonun monte edilecegi duvarin saglamligrini belirleyin. Gerekirse duvari yeterli derecede guclendirin.
Tabani duvara monte etme
- 8 mm capinda veya esdeger dört veya daha fazla vida kullanin (birlikte verilmez).
Dort vidayi taban (20) ④ ile Taban Adaptörünun ① deliklerine takin (yalnizca 2-a).
Tabani (20) duvara yatay olarak monte edin.


Televizyonun montaji icin hazirlanma
Stand kurulum için Kurulum Kilavuzuna bakir.
KD-85/75XG85□□,KD-75XG87□□
1 Kurulum konumunu duvara isaretleyin.
- Maskeleme bandi (birlikte verilmez) kullanarak televizyonun konumunu Taban vya Taban Adaptorun yakininda isaretleyin. Asaigidaki tabloya bakir.

| Birim: mm | ||
| Model adi | işaretin uzunluğu | Ekran merkezi boyutu |
| a b c d | ||
| KD-85XG85☐☐ | 1.909 683 200 251 | |
| KD-75XG87☐☐ KD-75XG85☐☐ | 1.673 468 200 107 | |
2 TV'nin arkasindaki vidalarıçikarin.

3 Duvar Aski Aparati icin olan ek parçaları takın. Sayfa 5'te "Parçaları kontrol etme" böllumunde "SU-WL450 ile birlikte verilir" basligina bakarak ek parçaları kontrol edin.
Not
- Ek parçalari vidalari kullanarak siki bir sekilde sabitleyin.
- Elektrikli tornavida kullanirken, torku yaklaşık 1,5 N·m {15 kgf·cm} olarak ayarlayin.
Kullananan veya kullanilmayan parçalari daha sonra kullanmak icin güvenli bir yerde depolayin. Bu kilavuzu daha sonra basvurmak icin saklayin.
- Bu montaj stilini kullanirken televizyonun arkasindaki terminallerden bazilarini kullanamazsiniz.


4 Gerekli kabloyu(kabloları)DTVelevizyona baglayin.
Televizyonu duvara monte etmeden once kablolari bagladiginizdan emin olun.
Televizyon monte edildiginde kabolari baglayamayacaksiniz.
Televizyonunuzla birlikte verilen Basvuru Kilavuzuna bakin.
Not
Duvardan kablo geirme isini lisansli bir taserona verin.
- Üzerine basmamak icin duvara montaj isleminden. once baglanti kabolarini toplayin.
5 Masa Üstü Sehpasini televizyondan dokun.
- Masa Üstü Sehpanin bir tarafıni bir seferde kaldırın. Düz-insanlartelevizyonu kaldirirken iki elinizle Masa Üstü Sehpayı sikica ve güvenli bir sekilde tutun.

KD-85XG85□□

KD-75XG87□□,KD-75XG85□□
- Onceki adimi tekrarlayin ve Masa Üstü Sehpanin diger tarafini kaldirin.
Not
- Masa Üstü Sehpadan ayirmak icin üç veya daha fazla insan gereklidir.
- Masa Üstü Sehpayi televizyondan ayirirken asin guç uygulamayin:*cunku televizyon setinin dusmesine ve dolayisiyla fiziksel yaralanma veya televizyonun hasar gormesine neden olabilirsiniz.
- Televizyona hasar gelmesini engellelemek icin Masaustu Sehpayi kaldirirken dikkatli olun.
- Masa Üstü Sehpasi dokme ilemi sirasinda televizyon kaldirken dikkatli olun; Masa Üstü Sehpasi devrilebilir ve yaralanmalara neden olabilir.
- Masa Üstü Sehpasini televizyondan sökerken Çkarirken devrilmemesi ve televizyonun oturdugu yüzeye zarar vermemesi icin)dikkatli olun.
1 TV'nin arkasindaki vidalarıçikarin.

2 Duvar Askı Aparati,—çın,—olan,—ek parçaları)—takin. Sayfa 5'te "Parçaları"—kontrol etme""—bölüm"—nde "SU-WL450"—ile"—birlikte"—verilir""—bas)—ina"—bakarak"—ek parçaları"—kontrol edin.
Not
- Ek parçalari vidalari kullanarak siki bir sekilde sabitleyin.
Elektrikli tornavida kullanirken, torku yaklaşk 1,5 N·m {15 kgf·cm} olarak ayarlayin.
Kullanilan veya kullanilmayan parcalari daha sonrakkullanmak icin guvenli bir yerde depolayin. Bukilavuzu daha sonra basvurmak icin saklayin.
- Bu montaj stilini kullanirken televizyonun arkasindaki terminallerden bazilarini kullanamazsiniz.


3 Gerekli kabloyu(kablolari) televizyona baglayin.
Televizyonu duvara monte etmeden once kablolari bagladiginizdan emin olun.
Televizyon monte edildiginde kablolari baglayamayacaksiniz.
Televizyonunuzla birlikte verilen Barangvuru Kilavuzuna bakin.
Not
- Duvardan kablo gezirme isini lisansli bir taserona verin.
- Üzerine basmamak icin duvara montaj isleminden once baglanti kabolarini toplayin.
4 Masa Üstü Sehpasini televizyondan dokun.
- Masa Üstü Sehpanin bir tarafıni bir seferde kaldırın. Düzir insanlar televizyonu kaldırırken iki elinizle Masa Üstü Sehpayı sikica ve güvenlı bir sekilde tutun.

- Onceki adimi tekrarlayin ve Masa Üstü Sehpanin diger tarafini kaldirin.
Not
- Masa Üstü Sehpadan ayirmak icin üç veya daha fazla insan gereklidir.
- Masa Üstü Sehpayi televizyondan ayirirken asiri Güç uygulamayin:*cunku televizyon setinin dusmesine ve dolayisiyla fiziksel yaralanma veya televizyonun hasan gormesine neden olabilirsiniz.
- Televizyona hasar gelmesini engellemek icin Masaustu Sehpavi kaldirirken dikkatli olun.
- Masa Üstü Sehpasi dokme ilemi sirasinda televizyon kaldirken dikkatli olun; Masa Üstü Sehpasi devrilebilir ve varalanmalara neden olabilir.
- Masa Üstü Sehpasini televizyondan sökerken Çikarirken devrilmemesi ve televizyonun oturduğu yüzeve zarar vermemesi icin dikkatli olun.
Televizyonu duvara monte etme
KD-85/75XG85□□,KD-75XG87□□
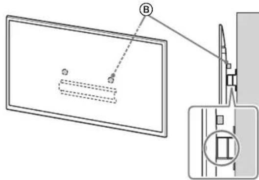
1 Televizyonu kaldirin.
- Makaralarin (B) Taban veya Taban Adaptöründeki konumu icin 7 sayfasinda "Montaj konumuna karar verme" bolümunde adim 3'teki tabloya bakin.
- Televizyonu tutarken televizyonun arka tarafinin Taban veya Taban Adaptorun un arka tarafina degdiginden emin olun.
Not
- Televizyonu iki elinizle siki bir sekilde tutun ve Kayis
F ile tevizyonun alt kismimin maskeleme bandiyla ayni hizada oldugundan emin olun. - Televizyonu Üç kisiyle taşıyın ve televizyonun onündekı kisi, diğerlerinin konumu ayarlamasi icin kilayuzluk etsin.

- Televizyonu duvara monte ederken, özellikte televizyonu asagidan destekleyen kisi cok dikkatli olmalidir;;cunku televizyon seti dusebilir v ciddi bedensel yaralanmalarve hatta olume neden olabilir.

2 Televizyonu Taban veya Taban Adaptoru üzerine monte edin.
- Televizyonu yavaşa asaglya bogru kaydirin ve televizyonun arkasinakiliti Makaralaril deliklerin sekliniogrulayarak Taban ya da Taban Adaptorune takin.
- Televizyonu duvara monte ettikten sonra, Makaralarin (Tabana vya Taban Adaptorune siki bir sekilde kilitlendiginden emin olun.
- Televizyonun duşmeyeçinden emin olmak ilen her iki elinizi de yavaşa birakin.

- Televizyonu duvara taktiktan sonra maskeleme bandini duvardan cikarin.












UYARI
-Taşırken televizyonu iki veya daha fazla kisinin (75 inç ve üzeri TV seti icin üç veya daha fazla kisi) tutugundan emin olun.

3 Televizyonun altinin kaymasini onleme.
Kayisin F gevsek tarafini tutun ve duvara sikica takin.


- 5 mm capinda veya esdeger vidakullanin (birlikte verilmez).
Not
- Televizyonun altini haficnce kendinize dokru cekmeyi deneyerek ileri dokru oynamadigindan emin olun. Herhangi bir oynama varsa, dokru sabitlenmemistir ve Kayis F tekrar sikca sabitlenmelidir.

1 Televizyonu kaldirin.
- Makaralarin (B) Taban veya Taban Adaptorundeki konumu icin 7 sayfasinda "Montaj konumuna karar verme" bolumunde adim 3'teki tabloya bakin.
- Televizyonu tutarken televizyonun arka tarafinin Taban veya Taban Adaptorun un arka tarafina degdiginden emin olun.

Not
- Televizyonu iki elinizle siki bir sekilde tutun.
2 Televizyonu Taban veya Taban Adaptoru uzerine monte edin.
- Televizyonu yavaşa asağiya.Doğru kaydirin ve televizyonun arkasina takili Makaraları ⑥ deliklerin seklini dokrulayarak Taban ya da Taban Adaptörüne takın.
- Televizyonu duvara monte ettikten sonra, Makaralarin Tabana vya Taban Adaptorune siki bir sekilde kilitlendiginden emin olun.
- Televizyonun duşmeyeçinden emin olmak icin her iki elinizi de yavassa birakin.


2-a

2-b

↓

↓
UYARI
-Taşırken televizyonu iki veya daha fazla kisinin (75 inç ve üzeri TV seti icin üç veya daha fazla kisi) tutugundan emin olun.

3 Televizyonun altinin kaymasini onleme.
Kayisin gesek tarafini tutun ve duvara sikica takin.


- 5 mm capinda veya esdeger vida kullanin (birlikte verilmez).
Not
- Televizyonun altini haficce kendinize dokru cekmeyi deneyerek ileri dokru oynamadigindan emin olun. Herhangi bir oynama varsa, dokru sabitlenmemistir ve Kayis E tekrar sikca sabitlenmelidir.
Montajin tamamlandiğini onaylama
Asgidaki noktalarikontrol edin.
- Makaralarin (B) Tabana veya Taban Adaptörüne siki bir sekilde asildiğindan emin olun.
Guc kablosu ve kablo bukulu veyasikistirilmis olmamalidir.
Kayis F siki olmali, gevsek olmamalidir.
UYARI
- AC guc kablosu vb'nin yanlis yerlestirilmesi, kisa devreye ve dolayisiyla yangina veya elektrik carpmasina neden olabilir. Montajin guvenli bir sekilde tamamlandiigindan emin olun.
Diger bilgiler
Televizyonu cikarirken, onceki kurulum prosedurunu ters yonde izleyin.

UYARI
- Çikarirken televizyonu iki veya daha fazla kisinin (75 inç ve üzeri TV seti icin üç veya daha fazla kisi) tuttugundan emin olun.
Teknik Özellikler

Boyutlar: (Yakl.) [mm]
a:400
b : 300
c:200
d : 100
e:80
f:480
g : 100
h1:20 (2-b durumunda)
Tasarim ve teknik özellikler, önceden bildirilmeksizin degisiklige tabidir.
KolayKılavuz