Bravia KD65XG8196 - Televizorius SONY - Nemokama naudojimo instrukcija
Raskite įrenginio instrukciją nemokamai Bravia KD65XG8196 SONY PDF formatu.
Naudotojų klausimai apie Bravia KD65XG8196 SONY
0 klausimas apie šį prietaisą. Atsakykite į tas, kurias žinote, arba užduokite savo.
Užduokite naują klausimą apie šį prietaisą
Atsisiųskite instrukciją savo Televizorius PDF formatu nemokamai! Raskite savo instrukciją Bravia KD65XG8196 - SONY ir vėl perimkite savo elektroninį įrenginį. Šiame puslapyje skelbiami visi dokumentai, reikalingi jūsų įrenginio naudojimui. Bravia KD65XG8196 prekės ženklo SONY.
NAUDOJIMO INSTRUKCIJA Bravia KD65XG8196 SONY
Televizora montažai pie sienas izmantojiet sienas montažas kronsteinu SU-WL450.
Piezime
Ja galda stativs ir piestiprinats televizoram, vispirms atvienojiet galdativu. Skatiet uzsaksanas celvedi un atvienojiet galdstativu, apgrieztasecibiazpildot darbibas.
Lai nesabojatu skidro kristalu displeja (LCD) virsmu, nostiprinot sienas montaizas kronsteina stiprinajuma elementus vai nonemot galda stativu no televizora, novietojiet televizoru ar lejupverstu ekranu uz lidzenas un stabilas virsmas, kas parklata ar biezu un mikstu dranu.
Noteikti novietojiet izskruvetas skruves drosa,berniem nesasniedzamavieta.
Gaisacirkulacija tiek bloketa.

Piezime
Ja velaties vadus vadit caur sienu, izveidojiet siena caurumu un ievietojiet vadus pirms uzstadisanas. Lai nesaspiestu vadus, izveidojiet siena caurumu nedaudz sanus no pamatnes (20) A, pamatnes adapteris 1 un starplikas (20) E, starplikas (60) K perimetra.
Skatiet televizora komplektacija ieklauto atsauces rokasgramatu.
Piezime
Kabela vilksanu cauri sienai uzticiet licencetam specialistam.
Sasaistiet savienojos kabelus, lai nepiejautu iespju uz tiem uzkapt pirms montazas pie sienas.
3 Atvienojiet no televizora galda stativu.
- Nonemiet galda stativa puses pa vienai. Stingri turiet galda stativu ar abam rokam, kamer paligi pacej televizoru.

- Atkartojiet ieprieksejo darbibu un nonemiet galda stativa otru pusi.
Piezime
Lai atvienotu galdastivu, nepiecesama vismaz triscilveku palidziba.
- Galda stativu nedrikst atvienot no tevizora ar pärmerigupseku,jo tadejadi tevizors var nokrist un radit traumas vai tevizora bojajumus.
Veicot darbibas ar galdstativu, ieverojiet piesardzibu, lai noverstu televizora bojajur
Ja galda stativs nav nostiprinats, uzmanieties, celot televizoru, jo stativs var gazties un radit traumas.
Uzmanieties, nonemot televizoram galda stativu, lai nepiejautu televizora apgasanos un virmas, uz kuras balstas televizors, sabojasanu.
KD-55XG81□□/55XG80□□
1 Piestipriniet sienas montažas kronsteina stiprinajuma elementus. Parbaudiet stiprinajuma elementus, skatot 5. Iappuse sadalias "Detaju pärbaude" nodalu "Komplektar SU-WL450".
Piezime
Ciei pieskrueejit stiprinajuma elementus.
Ja tiek izmantots elektriskais skruvgriezis, iestatiet griezes momentu uz apm. 1,5 N·m{15 kgf·cm}.
- Izmantotās un neizmantotās dajas noteikti noglabajiet drośa vieta turpmakajam vajadzibam. Saglabajiet so rokasgramatu turpmakam uzzinam.

Parastamontaza (2-a)
Kompaktamontaza (2-b)
Piezime
- Izveloties so stiprinajuma veidu, dazas pieslegumvietas televizora aizmugure nebus lietojamas.


2 lespraudiet televizora vajadzigo(-os) kabeli(-us).
Pirms piestiprinat televizoru pie sienas, noteikti savienojiet kabelus. Kad televizors jau bus uzstadits, kabelus nebus iespejams savienot.
Skatiet televizora komplektacija ieklauto atsaues rokasgramatu.
Piezime
Kabela vilksanu cauri sienai uzticiet licencetam specialistam.
Sasaistiet savienojos kabelus, lai nepiejautu iespeju uz tiem uzkapt pirms montazas pie sienes.
3 Atvienojiet no televizora galda stativu.

Piezime
Ja galda stativs nav nostiprinats, uzmanieties, celot televizoru, jo stativs var gazties un radit traumas.
Uzmanieties, nonemot televizoram galda stativu, lai nepielautu televizora apgasanos un virsmas, uz kuras balstas televizors, sabojasn.
KD-49XG81□□/
49XG80□□ / 43XG81□□ /
43XG80□□
1 Atvienojiet no televizora galda stativu.

Piezime
Lai nepielautu ekrana virsmas bojajumus, noteikti novietojet televizoru uz virsmas, kas pirms tam parklata ar mikstu audumu.
Uzstadot kronsteinu montazai pie sienas, neizmantojet no galda stativa izskruvetas skruves.
Gadajiet, laigalda stativs un izskruvetas skruves glabatos drosa, berniem nesasniedzamavieta. Tas bus nepiecesamas, ja velerities atkal novietot televizoru uz galda. Galda stativu nevar iegadaties atseviski.
BRIDINAJUMS!
Pirms ieslegsanas noteikti novietojiet tevizoru vertikal stavokli. Lai nepielautu attela nevienmeribu, tevizoru nedrikst iesegt, ja LCD panelis ir versst uz leju.
Ja televizora virsma tiek paklauta spiedienam vaitriecienam, televizors var saplist vai var tikt sabojats.
Novietojiet televizoru ar ekranu uz leju uz stabilas, lidzenas virmas ta, lai galda stativs atrastos pari virmas malai. Novietojot televizora ekranu un galda stativa pamatni uz tas paas lidzenas virmas, var rasties nestabils darba stavoklis, kas var sabojat televizoru.
- Atvienojot galda stativu no televizora, ciesi turiet galda stativu ar abam rokam.
2 Piestipriniet sienas montažas kronsteina stiprinajuma elementus. Pärbaudiet stiprinajuma elementus, skatot 5. lappuse sadalias "Detaju pärbaude" nodalu "Komplektā ar SU-WL450".
Piezime
Ciesz pieskruevjet stiprinajuma elementus.
Ja tiek izmantots elektriskais skrūvgriezis, iestatiet griezes momentu uz apm. 1,5 N·m {15 kgf·cm}.
- Izmantotās un neizmantotās dalas noteikti noglabajiet drośa vieta turpmakajam vajadzibam. Saglabajiet so rokasgramatu turpmakam uzzinam.
- Izmantojiet 5 mm diametra skruvi vai lidzvertigu (nav ieklauta komplekta).
Piezime
- Izmantojiet 5 mm diametra skruvi vai lidzvertigu (nav ieklauta komplekta).
Piezime
Tvirtinimo informacija norint naudoti „Sony" prie sienos tvirtinama laikiklj (SU-WL450)
Palaikomi modeliai:
KD-75XG80□□*/65XG81□□*/65XG80□□*/55XG81□□*/
- Faktiniu modeliu pavadinimuose „☐☐" rodo konkrečiai kiekvienam modelui priskiriamus numerius ir (arba) Ženklus.
Pirkéjams
Siekiant apsaugoti gaminj ir uztikrinti sauguma, "Sony" grieztai rekomenduoja, kad televiziori pritvirtintu, "Sony" prekybos atstovai arba licencijuoti tiekëjai. Nemëginkite jj tvirtinti patys.
"Sony" prekybos atstovams ir tiekëjams
Tvirtindami šj gaminj, atlikdami jo reguliaria priežiūr ār patikrinimā, visā démesj skirkite saugumui.
Norint pritvirtinti šj gaminj, reikia tureti pakankamai kompetencijos, ypač nustatant, ar siena galés išlaiktyi televizoriaus svorj. Pasirupinkite, kad „Sony“ prekybos atstovai ar licencijuoti tiekëjai pritvirtintu šj gaminj prie sienos. Tvirtinant pakankamas demesys turi buti skirtas saugumui. „Sony“ néra atsakinga už jokia Žalá ar sužalojimus, kilusius del netinkamo pernesimo ar montavimo.
Kad saugiai ir tinkamai sumontuotumete, vadovakites prie sienos tvirtinamo laikiklio instrukcijomis, televizijos nustatymo vadovu ir sio vadovo nurodymais.
Sauga
Dékojame, kad jsigjote ši gaminj.
Pirkéjams
Norint sumontuoti sigi gaminji, reikia tureti pankankamai kompetencijos. Del montavimo kreipkites j.Sony prekybos atstovus ar licencijuotus tiekekus, o montavimo metu ypatinga demesi skirkite saugai.Sony" nera atsakingua už jokia zaar suzaoljimus, kilusiudel neteisingo pernesimo ar montavimo arba montuojan kitus, nei nurodyti, gaminius.Jus teisems pagal jstatyma (jei tokiu yra) tai itakos neturi.
"Sony" prekybos atstovams
Norint sumontuoti sj gaminj, reikia tureti
pakankamai kompetencijos. Atidziai
perskaityike sia naudojimo instrukcija,
kad montavimo darbus atliktumete
saugiai. "Sony" nera atsakinga u' jokia
zala ar suzaolojimus, kilusius del
neteisingo pernesimo ar montavimo.
Baigemontavimo darbus atiduokite sj
vadova pirkejui.
Sioje naudojimo instrukcijoje rodoma, kaip teisingai elgtis su gaminiu ir pateikiamos svarbios atargmu piremones, kuriu reikia laikytis, kad butu isvengta nelaimingu atsitikimu. Atidzial perskaitykite jv vadova ir teisingai naudekite gaminj. Pasilikite jv vadova, kad galetumete jj perziureti ateityje.
"Sony" gaminial sukurti galvojan apie sauga. Jei gaminial naudojam neteisingai, gali kilti gaisras, galima patirti elektrs smugl. gaminys gali nuvirsti ar uzkristi ir taip rimtai suzaloti. Laikykites atsargumo priemoniu del saugos, kad isvengtumete tokiu nelaimingu atsitikimu.
Pagaminta Kinijoje
DÉMESIO
Tinkami gaminiali
Sis prie sienos tvirtinamas laikiklis skirtas tam tikriems TV. Noredami patikrinti, su kuriais televizoriais galima naudoti prie sienos tvirtinama laikikli, zr .Nuorodinj vadova.
Pirkéjams
JSPÉJIMAS
Nesilaikant toliau pateiktuy atsargumo
priemoniu, gali kitti gaisras, galima patirti
eletkros smugi arba gaminys gali nukristi
- del to galima rimtai susizaloti ar net
zuti.
Pasirupinkite, kad montavimo darbus atliktu licencijuoti tiekëjai, o montavimo metu neleiskite arti buti mažiems vaikams.
Jei prie sienos tvirtinamas laikiklis arba TV sumontuoti netinkamai, gali jykti toliau nurodyti nelaimingi atsitikimai. JSitikinkite, kad montavimo darbus atlieka licencijuoti tiekejai.
TV gali nukristi ir rimitai suzaloti galite patirti sumusirmu arba luzi.
- Jeigu siena, ant kurios montuojamas prie sienos tvirtinamas laikiklis yra nestabili, nelygi ar nestatmena grindims, jrenginys gali nukristi ir suzaloti arba sugadinti turta. Siena turetu buti pakankamai tvirta, kad i'slaikytu bent keturis kartus didesnj svori nei TV. (Noredami suzinoti televizoriaus svorji, zr. jo Nuorodinj vadova.).
- Jeigu prie sienos tvirtinamas laikiklis bus sumontuotas nepakankamai tvirtai, jrenginys gali nukristi ir suzaleti arba sugadinti turta.
TV pernesimo ar isemimo darbus patikekite licencijuotiems tiekjams.
Jei TV transportavimo ar išemimo darbus atlkitu ne licencijuoti tiekëjai, TV gali nukristi ir suzaloti arba sugadinti turtu. Užtikrinkite, kad televizoriu nestu ar ismontuotu ne maziau nei du asmenys (trys ar daugiau asmenu, jié TV komplektas yra 75 coliu ar didesnis).
Sumontave TV, neissukite sraigtu ar kt. daliu.
Jei tai padarysite, TV gali nukristi ir suzaloti arba sugadinti turt.
Nekeiskite prie sienostvirtinamo laikiklio daliu.
Jei tai padarysite, prie sienos tvirtinamas laikiklis gali nukristi ir suzaloti arba sugadinti turt.
Nemontuokite kitos jrangos, išskyrus nurodyta gaminj.
Sis prie sienos tvirtinamas laikiklis skirtas naudoti tik su nurodytu gaminiu. Jeigu montuosite kita, nei nurodyta, jranga, ji gali nukristi arba luztti, todel suzaloti arba sugadinti turt.
Prie sienos tvirtinamo laikiklio neapkraukite didesne, nei TV apkrova. Nekratykite TV kairén / desinen arba aukstyn / Žemyn.
Jei tai padarysite, TV gali nukristi ir suzaleti arba sugadinti turt.
Nesilenkite ir nesikabinkite ant TV.
Nesilenkite ir nesikabinkite ant TV, nesjis gali ant jusu uzkristi ir rimtai suzaloti.
DÉMESIO
Nesilaikant toliau nurodytu atsargumo
priemoniu, galima susizaloti arba
sugadinti turt.
Valydami gaminj ar atlikdami jo technine prižiūrā, neveikite jo per didele jęga.
Nespauskite TV is virsaus per stipriai. Jei tai padarysite, TV gali nukristi ir suzaloti arba sugadinti turt.
Atsargumo priemonés
- Jei TV, sumontuota ant prie sienos tvirtinamo laikiklio naudosite ilga laika, siena uz TV ar virsjo jali nublukti arba tapetai gai atskiljuoti, prikrusomai nuoi to, iš kokiu medziagu pastatyta siena.
- Nuemus prisuktaj prie sienos tvirtinam laikiklj, sienoje liks sraigtu padarytos skyles.
- Nenaudokite prie sienos tvirtinamo laikiklio tokiose vietose, kur ji veiktu mechanine vibracija.
Prie sienostvirtinamo laikikliomontavimas
"Sony" prekybos atstovams
JSPÉJIMAS
Toliau nurodyto instrukcijos skirtitos tik "Sony"tiekejams.Perskaitykite pirmiau pateiktas atsargumo priemones ir montuodami, eksploatuodami bei tikrindamisi gaminj ypatinga demesj skirkite saugai.
Nemontuokite priesenos tvirtinamo laikiklioant sienos tokioje vietoje,kur TV kampai arba sonaiissikištu už sienospaviršiaus.
Nemontuokite prie sienos tvirtinamo laikiklio ant kolony ar panasiuy pavirsiuy, kur TV kampai arba sonai issikiustuyuz sienos pavirsiaus. Jei asmuo ar objektas uzkliudytu issikiusuj TV kampaar sona, sis gali suzaletoi arba sugadinti turt.

Nemontuokite TV virš oro kondictionieriaus arba po juo.
Jei ant TV laša vanduo arba jj ilga laika veikia oro srautas iš oro kondictioneriaus, gali kilti gaisras, galima patirti elektros smugj arba TV gali sugesti.
Pasirupinkite, kad priesienos tvirtinamas laikiklis butu patikimai pritvirtintas prie sienos, laikantis siame vadove pateiktu instrukciju.
Jei kuris nors sraigtas atsilaisvintu ariskristu, prie sienos tvirtinamas laikiklis gali nukristi ir suzaloti arba sugadinti turt. Jsitikinkite, kad naudojate sienos medziagai tinkamus sraigtus ir patikimai pritvirtinkite jranga keturias ar daugiau 8 mm skersmens (arba atitinkamais) sraigtais.

Tiekiamus sraigtus ir
priedu dalis naudokite
tinkamai, laikydamiesi
siame vadove pateiktu
instrukciju. Jei
naudojame pakaitalus,
TV gali nukristi ir kā
nors sužaloti arba
suggesti.
Pasirupinkite, kad
laikiklis butu surinktas
tinkamai, vadovaujantis
siame vadove
pateiktomis
proceduromis.
Jei kuris hors sraigtas atsilaivintu ar i skristu, TV gali nukristi ir sugesti arba ka nors suzaaloti.
Pasirupinkite, kad sraigtai buty patikimai jsukti reikiamose vietose.
Jei to nepadarysite, TV gali nukristi ir sugesti arba kā nors sužaloti.
Bükite atsargus, kad montavimo metu TV nebūtú sutrenktas.
Sutrenkus TV, jis gali nukristi arba perluzti. Taip galima susizaloti.
Jsitikinkite, kad TV montuosite ant statmenos ir ploksios sienos.
Jei to nepadarysite, TV gali nukristi ir suzaloti.
Teisingai sumontave TV, tinkamai pritvirtinkite laidus.
Jei zmones ar objektai jsipainios tarp kabeliu, gali buti suzaloti zmones arba sugadintas TV.
Saugokite, kad KS maitinimo laidas arba jungiamasis kabelis nebutu suspausti.
Jei KS maitinimo laidas arba jungiamasis
kabelis buty prispaustas tarp irenginio ir
sienos arba per jega sulenkantas ar suspaustas,
gali ilstji vidiniai laidininkai, todel gali jykti
trumpasis jungimas arba nutrukti elektrros
tiekimas. Del to gali kilti gaisras arba gallima
patirti elektros smugj.

Sraigtai, kuriq reikia priesienos tvirtinamlaikikliui montuoti priesenos,neprideti.
Montuodami prie sienos tvirtinama laikikli, naudokite sienos medziagai tinkancius sraigtus.
Turinys
Pasiruosimas montuoti. 5
Daliu patikrinimas. 5
Montavimo vietos pasirinkimas 6
Pagrindo montavimas prie sienos 8
Pasiruosimas tvirtinti TV. 9
KD-75XG80□□ 9
KD-65XG81□/65XG80□ 10
KD-55XG81□□/55XG80□□ 11
KD-49XG81□/49XG80□/43XG81□/43XG80□
TV tvirtinimas prie sienos. 14
KD-75XG80□□ 14
KD-65XG81□□ / 65XG80□□ / 55XG81□□ / 55XG80□□ / 49XG81□□ / 49XG80□□ / 43XG81□□ / 43XG80□□
Montavimo darbu užbaigimo
patvirtinimas 19
Kita informacija 19
Techninai duomenys. 19
TV montavimas prie sienos
Montavimo procedura skiriasi priklausomai nuo TV.
Noredami pritvirtinti televizoriu prie sienos, naudokite prie sienos tvirtinamlaikikli SU-WL450.
Pastaba
- Jei ant stalo pastatomas stovas pritvirtintas prie televizoriaus, pirmiausia atjunkite ant stalo pastatoma stova. Perziurekite nustatymo vadov arnt stalo pastatomo stovo atjungimo veiksmus atlikite atvirkstine tvarka.
- Padekite televizoriu ekranu Žemyn ant lygaus ir stabilaus pavirsiaus, uzdengto storu ir minkstu audiniu, kai noresite apsaugoti prie sienos tvirtinamo laikiklio tvirtinimo dalis arba kai nuiminésite ant stalo pastatoma stavu nuo televizoriaus - tai pades apsaugoti SKE ekrano pavirsiu.
- Isshuktus sraigtus butinai laikykite saugioje, vaikams nepasiekiamoje vietoje.
Pasiruosimas montuoti
- Pries montuodami pasidekite po ranka televizijos nuorodinj vadovaj nustatymo vadova.
- Pries montuodami jsitikinkite, kad turite sraigtams tinkama kryzminj atsuktuva.
- Patikrinkite TV montavimo vieta.
- Pasiruoškite keturis ar daugiau 8 mm skersmens sraigtus ir viena 5 mm skersmens arba atitinkamā sraigta (nepriděti).
Pasirinkite sienos medziagai tinkamus sraigtus.
Daliç patikrinimas
Tieklama kartu su SU-WL450
- Isitikinkite, kad yra visos dalys.
| A Pagrindas (20) (1) B Skriemulys (2) | |
| ◎ Sraigtai PSW 6x20 (4) | ◎ Sraigtas PSW 4x20 su ivore (2) |
| ◎ Tarpiklis (20) (2) F | Diržas (1) |
| ◎ Ivorè (20) (M4) (2) H | Sraigtai PSW 4x20 (2) |
| ①Pagrindo adapteris (2) | ◎ Sraigtai PSW 4x10 (8) |
| ◎ Tarpiklis (60) (2) L | Sraigtai PSW 6x50 (2) |
| ◎ Ivorè (M4) (2) N | Sraigtai PSW 4x50 (2) |
Montavimo vietos pasirinkimas
1 Nuspreskite, kurioje vietoje montuosite.
Jsitikinkite, ar ant sienos pakanka vietos televizoruii ir ar ji galès atlaikyti svorj, bent keturis kartus didesnj už televizoriaus.
Zr. toliau pateiktla lentele, kur rasite informacijos apie televizoriaus tvirtinim prie sienos.
Noredami sužinoti televizoriaus svorj, Žr. jo Nuorodinj vadova.

Vienetai: mm
| Modelio pavadinimas | Rodyti matmenys | Ekrano išmatavimas iki centro | Tvirtinimo ilgis | |||
| a | b | c | d | e | ||
| Standartinis tvirtinimas | Kompaktiškas tvirtinimas | |||||
| KD-75XG80□□ | 1686 | 970 | 202 | 690 | 142 | 100 |
| KD-65XG81□□ | 1463 | 845 | 173 | 597 | 142 | 100 |
| KD-65XG80□□ | 1463 | 845 | 173 | 597 | 142 | 100 |
| KD-55XG81□□ | 1241 | 721 | 95 | 460 | 141 | 100 |
| KD-55XG80□□ | 1241 | 721 | 95 | 460 | 141 | 100 |
| KD-49XG81□□ | 1101 | 645 | -15* | 314 | 119 | 78 |
| KD-49XG80□□ | 1101 | 645 | -15* | 314 | 119 | 78 |
| KD-43XG81□□ | 970 | 570 | 23 | 315 | 119 | 77 |
| KD-43XG80□□ | 970 | 570 | 23 | 315 | 119 | 77 |
- Gembès padétis yra Žemiau ekrano centrinio taško.
Pastaba
- Atsižvelgiant j montaža, lenteleje nurodyti skaičiai gali šiek tiek skirtis.
- Televizitori prittvirtinus prie sienos, virsutinioji jo dalis siek tiek pasvyra j priekj.
Palikite tinkama tarpa tarp TV ir lubu bei išsikišusić sienos daliu, kaip parodyta apacioje.
Vienetai: mm

-
Siekdami uztikrinti tinkama ventiliacija ir neleistikauptis nešvarumams arba dulkëms:
-
nedekite televizoriaus ant plokstumos, netvirtinkite apversto, atbulai arba jkypai;
- nédèkite televizoriaus ant lentynos, kilimélio, lovos arba j spinta;
neuzdenkite televizoriaus audiniu, pvz., uzuolaidomis, daiktais, tokiais kaip laikrašciai ir t.
t.; - nemontuokite televizoriaus kaip parodyta apacioje.
Oro cirkuliacija uzblokuota.

Pastaba
- Jei norite kabelius nutiesti sienoje, padarykite sienoje anga ir pries montuodami kabelius jiskite ja. Kad kabeliai nebutu suspausti, anga padarykite uz pagrindo (20) A, pagrindo adapteris 1ir tarpiklio (20) E, tarpiklio (60) K perimetro ribu.
2 Pasirinkite tvirtinimo prie sienos budà. Atstumā tarp TV galines pusés ir sienos reikia pasirinkti, kaip nurodyta toliau.
2-a Standartinis tvirtinimas 2-b Kompaktiškas tvirtinimas
Zr. j 1 veiksmo lentele.
JSPÉJIMAS
Kai pasirenkamas 2-b variantas, prieiga prie gale esanciu isvady tampa ribota.


3 Noredami sužinoti apie
pagrindo adapterio tvirtinimo
vieta, Žr. lentele toliau. Jeigu
pasirinkote 2-b buda, šj veiksmaj
praleiskite.
| Modelio pavadinimas | Kabliuko vieta |
| KD-75XG80□□ | |
| KD-65XG81□□ | b |
| KD-65XG80□□ | |
| KD-55XG81□□ | |
| KD-55XG80□□ | |
| KD-49XG81□□ | c |
| KD-49XG80□□ | |
| KD-43XG81□□ | d |
| KD-43XG80□□ |

Pagrindo adapteri ①, naudodami sraigta (PSW 4x10) ② pritvirtinkite prie pagrindo (20) ④, jeigu pasirinkote 2-a montavimo budá.

4 Nustatykite sraigtu vietas, kur montuosite pagrind (20) A.
Zr. 19 psl. pateiktus techninius duomenis.
Jei pasirinkote 2-a budá, naudokités skyliú, esanciu págrindo adapteryje ①, vietomis.
JSPÉJIMAS
Siena, ant kurios bus kabinamas TV, turetu buti pakankamai tvirta, kad išlaiktyu bent keturis kartus didesnj svorji nei TV (noredami sužinoti televizoriaus svorj, zr. jo Nuorodjin vadova.).
Nustatykite sienos, ant kurios bus kabinamas TV, tvirtuma. Jei reikia, pakankamai sutvirtinkite siena.
Pagrindo montavimas priesenos
-
Naudokite keturis ar daugiau 8 mm skersmens arba atitinkamus sraigtus (neprideti).
-
Keturis sraigtus prakiškite per pagrindo adapteryje ① esancias angas ir sujunkite su pagrindu (20) A (tik 2-a).
-
Sumontuokite pagrinda (20) ④ horizontaliai ant sienos.


Pasiruosimas tvirtinti TV
Nustatymo vadove perziurèkite, kaip montuoti stova.
KD-75XG80□□
1 Pažyměkite montavimo vieta ant sienos.
- Naudokite, pvz., maskuojamajauosta (nepateikiama), televizoriaus vietai pazymeti salia pagrindo arba pagrindo adapterio. Zr. kita lentele.

Vienetai: mm
| Modelio pavadinimas | Žymèjimo ilgis | Ekrano išmatavimas iki centro | ||
| a | b | c | d | |
| KD-75XG80□□ | 1686 | 564 | 150 | 202 |
2 Pritvirtinkite prie sienostvirtinamo laikiklio tvirtinimodalis.Perziurekite skyriu Daliupatikrinimas" -Tiekiama kartusu SU-WL450"5 psl. irpatikrinkite tvirtinimo dalis.
Pastaba
Sraigtais gerai pritvirtinkite papildomas dalis.
Kai naudojate elektrinj atsuktuva, sukimo momenta nustatykite iki 1,5 N·m {15 kgf·cm}.
- Panaudotas ar nepanaudotas dalis laikykite saugioje vietoje, jei ju prireiktu ateityje. Kad galétumete pasiziuriét ateityje, issaugokite sj vadova.
Standartinis tvirtinimas (2-a)

Kompaktiškas tvirtinimas (2-b)
Pastaba
- Jei naudosite sj tvirtinimo budā, negalesite naudoti kai kuriu televizoriaus nugaréje esanciu lizdu.


3 Prijunkite prie TV reikiama (-us) kabelj (-ius).
Kabelius prijunkite pries tvirtindami TV priesienos. Kai TV bus pritvirtintas, kabeliuprijungti nebegalèsite.
Zr. kartu su televizoriumi tiekiama Nuorodinj vadova.
Pastaba
- Kabelio tiesima per siena patikekite licencijuotam atstovui.
Pries montuodami jrengini ant sienos, suriskite laidus, kad ant ju neuziptumete.
4 Atjunkite ant stalo pastatomstovana nuo televizoriaus.
- Ant stalo pastatoma stová nuimkite po viená dalj. Tvirtai laikykite ant stalo pastatoma stová dviem rankomis, kol kiti Žmonés kelia televizoriú.

- Pakartokite ankstesnj veiksmaj ir nuimkite kitagnt stalo pastatomo stovodalj.
Pastaba
Ant stalo pastatomam stovui nuimti reikia triju arba daugiau zmoniu.
Nuimdami ant stalo pastatoma stova nuo televizoriaus nenaudokite per daug jegos,nes TV komplektas gali nukristi, ir del to gali butu suzalotas zmogus arba fiziskai sugadintas televiziorius.
Su ant stalo pastatomstovu elkites atsargiai, kad nepaazeistumete televizoriaus.
Bukite atsargus keldami televizoriy, kai atjungiamas ant stalo pastatomas stovas, nes ant stalo pastatomas stovas gali nuvirsti ir suzeisti zmones.
- Atsargiai nuimkite ant stalo pastatoma stovnou tvelevizoriaus, kadjis nenuvirsty ir nesugadinty tvelevizoriaus, kuris yra ant jo uzdetas, pavirsiaus.
KD-65XG81□□/65XG80□□
1 Pritvirtinkite prie sienostvirtinamo laikiklio tvirtinimodalis.Perziurekite skyriu Daliu patikrinimas" -Tiekiama kartusu SU-WL450" 5 psl. irpatikrinkite tvirtinimo dalis.
Pastaba
Sraigtais gerai pritvirtinkite papildomas dalis.
Kai naudojate elektrinj atsuktuva, sukimo momenta nustatykite iki 1,5 N·m {15 kqf·cm}.
- Panaudotas ar nepanaudotas dalis laiky kite saugioje vietoje, jei ju priirektu ateityje. Kad galetumete pasiziureti ateityje, issaugokite sj vadova.

Standartinis tvirtinimas (2-a)
Kompaktiskas tvirtinimas (2-b)
Pastaba
- Jei naudosite šj tvirtinimo budā, negalesite naudoti kai kuriu televizoriausugarléje esanci lyizdu.


2 Prijunkite prie TV reikiamag (-us) kabelj (-ius).
Kabelius prijunkite pries tvirtindami TV priesienos. Kai TV bus pritvirtintas, kabeliuj prijungti nebegalésite.
Zr. kartu su televizoriumi tiekiama. Nuorodinj vadova.
Pastaba
- Kabelio tiesima per siena patikekite licencijuotam atstovui.
Pries montuodami jrenginj ant sienos, suriskite laidus, kad ant ju neuzliptumete.
3 Atjunkite ant stalo pastatomstov\n\n
- Ant stalo pastatoma stovanauimkite po viena dal. Tvirtai laikykite ant stalo pastatoma stovaa dviem rankomis, kol kiti zmones kelia televizoriu.

- Pakartokite ankstesnj veiksmj ir nuimkite kitaj ant stalo pastatomo stovo dalj.
Pastaba
- Ant stalo pastatomam stovui nuimti reikia triju arba daugiau zmoniu.
-
Nuimdami ant stalo pastatoma stovama nuo televizoriaus nenaudokite per daug jegos,nes TV komplektas gali nukristi,ir del to gali butu suzalotaszmogus arba fiziiskai sugadintas televizorius.
Su ant stalo pastatoma stovu elkites atsargiai, kad nepaazeistumete televizoriaus.
Bukite atsargus keldami televizoriy, kai atjungiamas ant stalo pastatomas stovas, nes ant stalo pastatomas stovas gali nuvirsti ir suzeisti zmones. -
Atsargiai nuimkite ant stalo pastatoma stova nuo televizoriaus, kadjis nenuvirstu ir nesugadintu televizoriaus, kuris yra ant jo uzdetas, pavirsiaus.
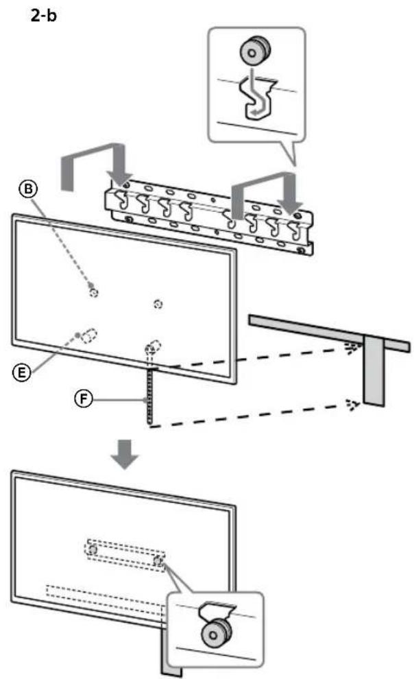
KD-55XG81□□/55XG80□□
1 Pritvirtinkite prie sienostvirtinamo laikiklio tvirtinimodalis.Perziurekite skyriu Daliupatikrinimas" -Tiekiama kartusu SU-WL450"5 psl.ir patikrinkite tvirtinimo dalis.
Pastaba
Sraigtais gerai pritvirtinkite papildomas dalis.
Kai naudojate elektrinj atsuktuva, sukimo momenta nustatykite iki 1,5 N·m {15 kgf·cm}.
- Panaudotas ar nepanaudotas dalis laikykite saugioje vietoje, jei ju prireiiktu ateityje. Kad galetumete pasiziureti ateityje, issaugokite sj vadova.

Standartinistvirtinimas (2-a)
Kompaktiškas tvirtinimas (2-b)
Pastaba
- Jei naudosite šj tvirtinimo budā, negalésite naudoti kai kuriu televizoriaus nugaréje esanciu lizdu.


2 Prijunkite prie TV reikiamag (-us) kabelj (-ius).
Kabelius prijunkite pries tvirtindami TV priesienos. Kai TV bus pritvirtantas, kabeliuprijungti nebegalésite.
Zr. kartu su televizoriumi tiekiama. Nuorodinj vadova.
Pastaba
- Kabelio tiesima per siena patikekite licencijuotam atstovui.
Pries montuodami jrenginj ant sienos, suriskite laidus, kad ant ju neuzliptumete.
3 Atjunkite ant stalo pastatomstov\n\n

Pastaba
Bukite atsargus keldami televizoriy, kai atjungiamas ant stalo pastatomas stovas, nes ant stalo pastatomas stovas gali nuvirsti ir suzeisti zmones.
- Atsargiai nuimkite ant stalo pastatoma stova nuo televizoriaus, kadjis nenuvirstu ir nesugadintu televizoriaus, kuris yra ant jo uzdetas, pavirsiaus.
KD-49XG81□□/
49XG80□□ / 43XG81□□ /
43XG80□□
1 Atjunkite ant stalo pastatomstovana nuo televizoriaus.

Pastaba
- Kad nesugadintumete ekrano pavirsiaus, pavekite televizoriu j vieta, uzdengta minkstu audiniu.
Tvirtindami prie sienos tvirtinama laikiklj, nenaudokite sraigtu, issuktu is ant stalo pastatomo stvo.
Nuimta ant stalo pastatoma stovarj sraigtus padekite saugia vieta, nepasiekiama vaikams.Ju priereiks, jei ateityje noresite naudoti televizoriy ant stalo.Nebus galimybès atskirai jsigyti ant stalo pastatoma stova.
JSPÉJIMAS
Pries jjungdami televizoriu jsitikinkite, ar jis yra vertikalojope padetye. Siekiant isvengti netolygaus vaizdo, draudziama jjungti televizoriu, kai SKE skydelis nukreiptas zenyn.
- Jei televizoriaus pavirsius bus spaudziamas arba sutrenktas, jis gali suluzti arba jj galima sugadinti
- Paguldykite televizoriu priekine puse zenyn ant lygaus pavirsiaus, ant stalo pastatomas stovas turi kabeti virspavirsiaus krasto. Televizoriaus priekine puse ir ant stalo pastatoma stova padjeus ant to paties lygaus pavirsiaus, gaunama nestabili darbiné padetis, todél galima sugadinti televizoriu.
- Atjungdami ant stalo pastatoma stovanao televizoriaus, tvirtai abiem rankomis laikykite uz ant stalo pastatomo stovo.
2 Pritvirtinkite prie sienostvirtinamo laikiklio tvirtinimodalis.Perziurekite skyriu Daliupatikrinimas" -Tiekiama kartusu SU-WL450"5 psl. irpatikrinkite tvirtinimo dalis.
Pastaba
Sraigtais gerai pritvirtinkite papildomas dalis.
Kai naudojate elektrinj atsuktuva, sukimo momenta nustatykite iki 1,5 N·m {15 kgf·cm}.
- Panaudotas ar nepanaudotas dalis laikykite saugioje vietoje, jei ju priereiktu ateityje. Kad galétumete pasiziūre ti ateityje, išsaugokite Šj vadova.

Standartinist tvirtinimas (2-a)
Kompaktiškas tvirtinimas (2-b)
Pastaba
- Jei naudosite šj tvirtinimo budā, negalésite naudoti kai kuriu televizoriaus nugaréleje esanciu lizdu.


3 Prijunkite prié TV reikiama (-us) kabelj (-ius).
Kabelius prijunkite pries tvirtindami TV priesienos. Kai TV bus pritvirtintas, kabeliuprijungti nebegalèsite.
Zr. kartu su televizoriumi tiekiama Nuorodinj vadova.
Pastaba
Kabelio tiesima per siena patikekite licencijuotam atstovui.
Pries montuodami jrenginj ant sienos, suriskite laidus, kad ant ju neuziaptumete.
TV tvirtinimas prie sienos
KD-75XG80□□
1 Televizoriaus pakëlimas.
- Del skriemuliq (B), ant kuriq kabinamas pagrindas arba pagrindo adapteris, vietos zr. 3 etapo lentele skyriuje "Montavimo vietos pasirinkimas" (7 psl.).
- Kai laikote televizoriu, jsitikinkite, kad televizoriaus nugaréle liečia pagrindar pagrindo adapterj.
Pastaba
- Saugial laikykite televizoriu abiem rankomis ir uztirkinkite, kad televizoriaus dirzas ir apatine dalis sulygiuota maskavimo juosta.
- Neskite televizoriiy trise, ir dar reikalingas pries televizoriuy einantis zmogus, kuris vadovauty kitiems ir pakoreguoty padeti.

Bukite labai atsargus montuodami televizoriu ant sienos, ypa turi saugotiszmogus, kuris palaiko televizoriu is apacios, nes televizoriaus komplektas gali nukristi ir smarkiai ar net mirtinai suzeisti.

2 Televizoriaus montavimas ant pagrindo ar pagrindo adapterio.
- Atsargiai leiskite televizoriu ir prie televizoriaus nugaroles pritvirtintus skriemulius ⑧ pakabinkite ant pagrindo arba pagrindo adapterio. Kabindami jsitikinkite, kad tinkama angu forma.
- Sumontave TV ant sienos, jsitikinkite, kad skriemuliai (B) tvirtai užfiksuo ti pagrinde arba ant pagrindo adapterio.
- Létai atleiskite abi rankas jsitikindami, kad televizorius nekrenta.

- Sumontave televizoriu ant sienos, nupleškite maskuojam juosta, pvz., nuo sienos.






JSPÉJIMAS
Uztikrinkite, kad nešamā televizoriú laikytu ne maziau nei du asmenys (trys ar daugiu asmenu, jei TV komplektas yra 75 coliu ar didesnis).

3 TV apacios apsauga nuopakrypimo.
- Paimkite dirzas ir tvirtai pritvirtinkite prie sienos.


- Naudokite 5 mm skersmens arba atitinkama sraigta (nepridétas).
Pastaba
Pabandykite nestipriai patraukti TV apacia tiesiaj save, kad jsitikintumete, jogjis nejuda. Jei TV nors kiek juda,jis nera teisingai prritvirtantas ir dirzas F reikia gerai prritvirtinti is naujo.
KD-65XG81□□/
65XG80□□ / 55XG81□□ /
55XG80□□ / 49XG81□□ /
49XG80□□ / 43XG81□□ /
43XG80□□
1 Televizoriaus pakëlimas.
- Del skriemuliu ⑧ , ant kuriq kabinamas pagrindas arba pagrindo adapteris, vietos zr . 3 etapo lentele skyriuhe "Montavimo vietos pasirinkimas" (7 psl.).
- Kai laikote televizoriu, jsitikinkite, kad televizoriaus nugaréle liečia pagrindar pagrindo adapterj.

Pastaba
Tvirtai laikykite televizoriy dviem rankom.
2 Televizoriaus montavimas ant pagrindo ar pagrindo adapterio.
- Atsargiai leiskite televizoriu ir prie televizoriaus nugaroles pritvirtintus skriemulius ⑧ pakabinkite ant pagrindo arba pagrindo adapterio. Kabindami jsitikinkite, kad tinkama angu forma.
- Sumontave TV ant sienos, jsitikinkite, kad skriemuliai (B) tvirtai užfiksuoti pagrinde arba ant pagrindo adapterio.
- Létai atleiskite abi rankas jsitikindami, kad televizorius nekrenta.


2-a

2-b

↓

↓
JSPÉJIMAS
- Užtikrinkite, kad nešama televizoriú laikytu ne maziau nei du asmenys (trys ar daugiu asmenu, jei TV komplektas yra 75 coliu ar didesnis).

3 TV apacios apsauga nuopakrypimo.
- Paimkite dirzas F ir tvirtai pritvirtinkite prie sienos.


- Naudokite 5 mm skersmens arba atitinkama sraigta (nepridétas).
Pastaba
Pabandykite nestipriai patraukti TV apacia tiesiaj save, kad jsitikintumete, jogjis nejuda. Jei TV nors kiek juda,jis nera teisingai prritvirtintas ir dirzas F reikia gerai prritvirtinti is naujo.
Montavimo darbú užbaigimo patvirtinimas
Patikrinkite toliau nurodytus dalykus.
- Skriemulaii (B) tvirtai kabo ant pagarindo arba pagarindo adaptorio.
- Ar laidai ir kabeliai nera susisuke ar suspausti.
- Ar dirzas F yra sandari, be plysiu.
JSPÉJIMAS
- Neteisingai nutiesus KS maitinimo laidaar kitus kabelius, galima patirti elektros smugj, ivykus trumpajmungimui. Del saugumo patvirtinkite, kad montavimo darbai baigti.
Kita informacija
Nuimdami TV, anksciau aprasyta procedura atlikite atvirkscia tvarka.

JSPÉJIMAS
- Uztikrinkite, kad nuimama televizoriu laikytu ne maziau nei du asmenys (trys ar daugiau asmenu, jei TV komplektas yra 75 coliu ar didesnis).
Techninai duomenys

Matmenys: (apytiksl.) [mm]
a : 400
b : 300
c : 200
d : 100
e:80
f : 480
g : 100
h1:20(2-batvejis)
h2:60(2-a atvejis)
Svoris (tik pagrindo): (aytiksl.) [kg]
0,8
Dizainas ir techninai duomenys gali buti keiCiami be jspejimo.
Navodila za uporabo nosilca za stensko montažo Sony (SU-WL450)
Podprt modeli:
KD-75XG80□□*/65XG81□□*/65XG80□□*/55XG81□□*/
LengvasVadovas