Bravia KD65XG8196 - Телевизор SONY - Бесплатное руководство пользователя
Найдите руководство к устройству бесплатно Bravia KD65XG8196 SONY в формате PDF.
Вопросы пользователей о Bravia KD65XG8196 SONY
0 вопрос об этом устройстве. Ответьте на те, что знаете, или задайте свой.
Задать новый вопрос об этом устройстве
Скачайте инструкцию для вашего Телевизор в формате PDF бесплатно! Найдите своё руководство Bravia KD65XG8196 - SONY и возьмите своё электронное устройство обратно в руки. На этой странице опубликованы все документы, необходимые для использования вашего устройства. Bravia KD65XG8196 бренда SONY.
РУКОВОДСТВО ПОЛЬЗОВАТЕЛЯ Bravia KD65XG8196 SONY
Информаця за моNTаж прии ИЗПОЛЗВане на КОнзOLA за зakpenbahe Кым СтЕна Ha Sony (SU-WL450)
IopdbpxkaHMoedeH:
KD-75XG80 ^ / 65XG81 ^ / 65XG80 ^ / 55XG81 ^ / 55XG80 ^ / 49XG81 ^ / 49XG80 ^ / 43XG81 ^ / 43XG80 ^*
*B DeIcTBnTeJIHnTe ImeHa Ha MoJeIInTe " " O3HaUaBa HOMepa N/nn XapakTepNCK, CneuΦnHn 3a BceKn MoJen.
DnnoTpe6nteJnte
OT cbo6paXeHn 3a 6e3oNaChOCT n 3a 3aUHTa Ha npOdyKta, Sony npenOpbYBa MOHTaXbT Ha Baunr TeIeBn3Op da 6bJe n3BbPweH OT docTabuN nn noDn3nblHnTeN Ha Sony. He ce ONITbaIte Da rO MOHTnpate cam.
IdoocTaBnnte nnoDn3nblHnTeJnTe Ha Sony
IopxodeTe c noDyepTaHO BnMaHne KbM 6e3OpaCHocTt a NO BpeMe Ha MOHTaKa, nepNoiUnHaTa
noDpBxxKa n orJeDa Ha To3n IpOdyKT.
3a MOHTaxka Ha TO3n npOdyKT ce n3NCKBa 3HaunTeJeH ONIT, OCO6eHO 3a onpeJeJHe Ha 3dpaBnHaTa Ha CTeHaTa, KOaTO Tp8bBa Da n3DbpxKn TeXecTTa Ha TeLeBn3opa. Ha BcRA Ka ZeHa NOBepTe Ha DoCTaBUnu Ha Sony IIN IINUeH3npaH N oDIn3NbHnTeJI 3aKpeINBaHTo Ha TO3n npOdyKT KbM CTeHaTa I NO BpeMe Ha MOHTaxka O6bpHeTe OCO6eHO BnImaHne Ha MepKInTe 3a 6e3OpacHocT. Sony He Hocn OTROBOPHocT 3a NOBpei INI HApaHABAH, PrnUHeH N OT HnPaBUNH MaHnUyLaUcN INI MoHTaxK.
C orIeHa 6e3ONaCHocTtA n 3a npaBnIeH MOHTaX, CJIeDbaIte pKOBODCTBO 3a yNOTpe6a Ha KOH30Jlata 3a 3akpePbBaHe KbM CTeHa, pKOBODCTBOTO 3a HAcTPOIka Ha TeJIeBn3Opa I Yka3aHnIy Ta B TOBa pKOBODCTBO.
OTHOCHO 6e30nacHocCTTa
Blaorapm Bn 3a NOKyNkata Ha To3n npOdyKT.
KbM KJIeHTnTe
3a MOHTnpaHTo Ha npOdyKta ce
n3NCKBa OINT. Bb3IOXeTe MoHTaKa Ha
TbPROBc HA Sony INI INIeH3npaHn
n3NblHInTeIN N6bPHe CneUaHIO
BHIMaHne Ha 6e3OnaChocTa NO Bpeme
Ha MOHTaKa. Sony He HOCN OTOBOPHOCT
3a NobpeDN INI HapaHbAHH,
PnPHnEHN OT HnPaBnIH YAOTpe6a
INNMOHTA.KN INOTMOHTAK Ha
npOyKT, pa3NIuYeOH OT Yka3aHHa.BaWntE
3aOKOHn PpBa (ako IMa TAKNB) He ca
3aceRHaTt.
KbM TbproBcnte Ha Sony
3a MoHTnpaHToHa npOdyKta ce
n3NCKBa ONIT. IpOcTeTe BHMaTeJIHO
TOBa pKBoOCTBO, 3a Ja N3BbPwIte
6e3OnaCHO MONTaXHTne DeIOCTNI. Sony
He HOCi OTROBOPHOCT 3a NOBpeINu INI
HapaJIraBHnA, PpUHHeHnOT
HePaBUNHa yNtPe6a INI MOHTax.
PiPeJaTo Toba pKBoOCTBO Ha
KNHeTa CNEd MOHTaKa.
ToBa pBkoBODCTBO NOKa3Ba NpaBnHnna HauHH 3a pa6Ota C npOdyKa n BaxHNTe PnpAa3Hn MepKn, KOIO TpRb5Ba Da ce npEaPnEma3a Da Ce N36eHaT 3IonoJyKn. IpoYete BnMaTeNo HO Ta pBkoBOdCTBO n 3n0n3BaTe npOdyKa npAunHo. 3ana3eTe pBkoBOdCTBO To 3a 6bDeu cn CpAnKn.
IpoyntHe Na Sony ca npoektpanHc MncbJ 3a 6e0nacHocTHa. Ho aKO n103BATE npOyKTA HENpabuHIO,TOBa MOKeJa D0BeDe Do cepo3HO HApAHBaHe BCNECTBHe Na Nooap, eNeKTpuYeCKN ydp, NadaHe Nnn 3NpyckaHe Ha npOyKTA. CnaBaIte MePKnte 3a 6e0nacHocT3a npEDoTbPaTaBAHe Ha TaKbA INHcUdENTn.
BHIMAHNE
YToUHЯBaHe Ha npOdyKTnTe
Ta3N KOH3OJa 3a MOHTax Ha CTeHa e
PnoEeTnPaHa 3a INIIOIN3BaHe caMo C
Yka3aHnTe TeteBn3Opn. BnXte CnpaBOuHnTe
pbKOoDcTBa 3a TeNeBn3OpnTe, 3a Da
PnoBepnTe DAn MoXe Da Ce INIIOIN3Ba Ta3N
KOH3OJa 3aKpEnBaHe KbM CTeHa.
KbM KIneHTnTe
PPEyPPEKDEHNE
Ako He ce cna3BaT CneHnTe npedn3Hm
MepKN, TOBA MOKe Ja DOBeJe DO
cepno3HO HapaHbAe Nn CMbPT O
Noxap, EneKtpuYeCKn Ydap Nn NaJaHe
Ha npOyKaT.
Bb3JIOKeTe MOHTaKa Ha JIINUeH3IpaHn N3NbHNITeNI IN dpbKTe DeuTaHaCTpaHn NO BpeMe Ha MOHTaKa.
Ako KOH3OJaTa 3a MOHTaK Ha CTeHa He e MOHTnpaHa NpaBvHNo,MOKe Da Bb3HKnKHAT CneHNHe HnUeHTN. YBepeTe Ce,Ye MOHTaKbTcNbBpWbAOT NmE3HpaHn N3NbJHInTeJi.
TeBn30pT MoKe Da NaHe N da npEnBn6A cepno3Ho HapaHbAe, KaO KOHTyNmI cYNBaHe.
AkoCTeHATA,HaKOJTo eMOHTnpaHa KOH3OJIATA 3a MOHTax Ha CTeHa,e HeCTa6nHa,HePABHa NN He e NepNeHdKUyIaPHa Ha NoDa, KOHCTpyKUyTA MoKe Da NaDHe N da npuHHa HapaHbAbe HN NOBpeHa HA MyuSeCTBO. CTeHaTa Tp8Ba Da e CnOCo6Ba DA N3DbPxN TeXeCT, NOHe YcTIPNKpaTHo PpeBnWabaa Ta3N Ha TeLEBn3Opa. (BnxTe CnpaBOvHOTo pKOBoDCtBO Ha TeneBn3Op aTOHOCHO TerlOTo MY.)
AkoMOHTaXbTHa KOH3OJaTa 3a MOHTaX KaTeHa He e IOCTaTbHcHO 3JpaB, KOCTpyKUraTa MoKe Da NaHe N da npuHHn HapaRaBaHe NnN NobpeDa Ha NMUYeCTBO.
YBepete ce, ye cTe Bb3IOXnI npemecTbaHeTo nIe DeMOHTaKa Ha TeJIeBN3Opa Ha IInCeH3nPaHn N3NbHNHTeJI.
AkoDpynNlUca,OCBENLNUeH3npaHn N3NbJHNTeIN TpaHCNPoT npaT Nn DEmOHnPaT TeLEBUN3Opa,TOn MOKe Da naHe N da PnUnHn HapAHBaHe Nn NOBpeHa HmUyIecTBQ.YBepTe ce,Ye DAbMa NNIOBeue dyuN (TpMa nn NOBee dyuN 3a KOMnEeKTIeBUN3Op c pa3Mepu ot 75 nHa) npenacrt nn DEmOHnPaT TELEBUN3Opa.
Изпольваite правлино ДОCTаВеHnte ВИNTОBE И OKaЧВаши части КATO Следыт ИНСТPyкциNe TВTOВа рБКOBODCTBO 3a разота.Ако ИЗПОЛЗВаTe ЗамecТВаш eLemeHTN, ТелевизорьТ може д паднe и д рпунн Телесна NOВрета Или дa ce NOВрети.
YBepTe ce, ye crIIO6BaTe KOH3OJaTa npaBnHNO KaTO CLEdBATE npoueDypaTa, ONICAHa B TOBa pBKOBOdCTBO 3a pa6ota.
Ako Hkaon OT BnHToBeTe ce pa3xna6n nn NaHHe, TeneBn3OpBT MoKe Da nAnHe n da npuHnH Tenecha nobPea nn da ce NopeDi.
3aTeHHeTe 3dpaBO BnHTOBeTe B yKa3aHOTO NIOJXKeHne.
Ako He ro Hanpabnte, TeneBImOpbT MoKe da naHe n Da npuynHn TeneCha NobpeDa nn da Ce nobpeDn.
BHMaBTe Da He ydapnte TeJeBn3opa no BpeMe Ha MOtaja.
Ako TeneBn3OpBT 6bDe NpDNoXeH Ha ydap, ToT moKeJa daNae He da Ce cyuYn. ToBa MoKeJa doBede Do hapaBAhe.
MOnTnpaIte TeJeBn3Opa Ha CTeHa, KOrTo e nepNeHdNkUyIrpHa n paBaHa.
Ako He HapnabNTe TOBa,TeJIeBUN3OpbT MoKe Da naHne H da npuHHn HapaHbaHe.
Cleid npabunHnmoHTaX Ha TeJeBn3opa,06e3OpacTe npabUNHo Ka6eIte.
Ako xopa unn npdeMeTu ce 3aJIeTaB Ka6eJIte, TOBa MoKe Da npuHH HapaHbAHe unn NobpeDa Ha TeENB3Opa.
Для правильно установки данного Идени НеобхODIM DoCTaTOHьй Oпыт, В осobенhoeши рпОпpeденин ТOTO,В COCTOЯни Ли CTehа BbldeржаТь BEc Teileвзора.Обяstateьно ппвькITE Дя установки ATOTOИЗдени на CTehу DINIEPOB Или Лиценшюваньх ПОдравимков Sonyи CTporo co6л�дайу Тхнky БezOTAPACHOCTN рп ВьЮнени paBOT NO ystahOBke.Компаня Sony He HeceT OTBETCTBEHHOCTB 3a Любyles NOLOMkn Или TpaBMbl, Bbl3BaHHbIe He npabaUNlbHbIM OБрашеним с ИЗденим Или erO He npabaUNlbHо YSTAHOBKOJ.
Дя 6e3oNaCHOи nHaJIeXaUeYcTaHOBKn cM. INHCTpyKuIN NO 3KcnIyatauIN KPOHHTeHa nJa NaCTeHHOуCTaHOBKn, pyKOBOdTBO no yCTaHOBKe TeJIeBn3Opa n Yka3aHn DaHHoro pyKOBOdCTBa.
БezonaCHOCTb
Blaorapum 3a nokykny 3TOro n3dennr.
Для nokунател徳
Дя yCTaHOBKn DaHHOrO n3dEJIINNA Tpe6yeTcdoCTaTOHbONbIT.
OB3aTeIbHo 06paTnTEcB K dIepey IINIuIeHNPOBaHNOHYoNpDpyUKNky SONY, a TAKKe cObIaNDAITE Heo6XOnMbe MEbpI ppeoCTopoxHocN BO BPeMBOYCTaHOBKn n3dEJIINNA KOMNaHrSy NHy He HecET OTBeCTBeHNoCTn npHaHeceHmNIIOBO yUepeBa NII INBpeDa, BbI3BAHHoF O HnpabInbHbIM
OBpaIeHem NII YcTaHOBKO JIOBO YCTaHOBKO He npedHa3NaYeHHO rJ3TOrO n3dEJIIN. 3To He BnIReT Ha BAIN3aKOHbIe Ipaba (ecIa TaKOBbIe IMeHOTc).
Длгдиелеров Sony
Длу yctahOBkn DaHORO n3dEINNA Tpe6yETcdoCTaTOHbOnbIT.Длу 6e3oNaChO YCHTAHOBKnYCTpoIcTBA O6BaTeNbHO BHNMaTeNbHO IpOuTIte HAcTOBuee pyKOBODCTBO.Sony He Hecet OTBeTcBeHHocTN Bcnyae NOBPEkDEHn INI NOnyEHHN TpaBM B pe3yIbTaTE HenpAIBNbHOrO obpaHEnn INI HeHaJNeXaUeY cTahOBKn.I0 OKOHuaHHY cTahOBKn nepeJaTe 3To pKOBODCTBO NOKyNaTeJIIO.
B 3TOM pyKOBOdCTBe no yCTaHOBKe
npBBeDeHb BaxKbIe Mepbl
PpeOcTOpOxHcOtnn HNΦOpMaunno
06ecneueHHo HaJIeXaJoo RoBaUeHHa
u3dennm, KOTOpBie HeoBXoDMbI dnn
PpeOToBpaAeHHaHe NcHcAChTBIX ClyuAeB.
OBs3aTeNbHO BHNMaTeNbHO npOHTnTe
HaCTOraaee pyKOBOdCTBo nNCnONb3yInTe
u3dennno No HAhaueHHo. CoXpaHnTe
HaCTOraaee pyKOBOdCTBo dnn
HCNOJB3OBaHHa B6yUeM.
N3dennr Sony pa3pa6oTaHb C yuetom Tpe6oBauHn no 6e3oNaChOCTn. Ondako HnepaBnHoe nCNoJIb3oBaHne N3denn MoKet CTb npuHHo NOnyehncape3hXbTpaBM BCJeCTBHe nOpaeHHn 3JKeTpueeckm TKOM, Bo3ropaHn, onpoknDlbAHHn nn PAneHHn N3dEHH. Bo N36ExAHne BO3HNKHOBEHn TaKHX HeecacthBx cNayeB o83aTeNbHO coBIOaIte COOTBeTCTBYUoMe MpeI npEOCTOPOKHOCTn.
DaTa N3rTOBNeHnY Kka3aHa Ha N3dEJIINN YyNAKOBKe HA TtKeTKe CO wTpNX-KoDOM B CneIyUoem FOpMaTe:YYYYY/MM, rge YYYYY -rOd, MM-MeCaH n3rTOBNeHnY.
PonBDoTEnb: CoHn BnKyAn PpOaKTc INHK, 2-10-1 OcaKn IUnHarabaKa Ky ToKno, 141-8610 RaNoHra CpeNaHO B Krtae
Opran3aun,ynonHMOUeHHa npHnMaTb
npTeH3UN OT NotpeBnteNeHa TeppuToPn Ka3axCTaHa
AO COHN 3JKeTPOHnKc
PepctabNTeBCTBO Ka3axCTaHe,
050010, Pecny6nka Ka3axCTaH, r. AImaTbI,
np.Doctbk, dom 117/7
IMnpTeHapeTtOpTNCTpaH TaOxehHO rco3A:AO COnH 3JKeTPOHnKc, Pocsn,123103,MockBa, KapamBHeBCKn npoe3d,6
BHIMAHVE
Yka3aHHbIe n3dJIIna
Для посемецни nIи ДемоHTажа TeJIeВИЗОпа ОБЯЗATEЛьно ОбразИТЕСь К ЛИцЕнЗИРОВАНБИМ ПОДРЯДУКам.
Ecn TpaHcnpTnOBKa NnN DEmoHTax TeBn3Opa BbNoJIHReTcH He NIeHsIOBAaBBIMN NOpRdUKNKAMn, OH MOKeY nactb N CTb NpUHNO TpABM NnN NOBpeXeHnN MnyeCTBa. Y6eINTeCb, YTO nepeHoc NnN DEmoHTax TeBn3Opa OcyueCTBnaTcDyMaN NnN Boee NuaAMn (Tpn NnN Boee YenOBek NnN TeteBn3Opa C dNaarOHaIbO 75 duMOB n 60bnse).
ПорядOK установки Кронштейна Дли Настенho Установки
Длгдиелров Sony
PNEyPPEKDEHNE
Cnedyuue HNCTpykun
npedna3haueHb TOnbKO Dnla DnlepOB
Sony.O63aTeNbHo npOHTne npaBnA
TexnKBe3oNaChocTn n CObIoudaTe
ocobbe Mepe npdeOCTopoxHcctn BO
BpemyCTAHOBKn,OBcnyKBaHn I npOBepKn DaHHOrn 3dEInn.
Поберка Вьноленья установки 20
Ipooya HOpMaun 20
Texnueckne xapaktepnctkn. 20
Iopraok yctaHOBKn TeJeBn3Opa Ha CTeHy
PpoUeDypa yCTaHOBKn OTnUHaETcB 3aBNCMOCTN OT MoJeTI TeJIeBu3Opa.
Под�товka К установке
Bo Bpemr yctaHOBKn cnpaBOOHoe pyKOBOdCTBO n pKOBODTBO NO yCTaHOBKe TeJIeBu3Opa Bcerda DoJXHbI 6bITb NOd pyko.
B npocce yctahOBKn nCnoIb3yInTe KpeCToo6pa3HyIO OTBeptKy, COOTBEcTByOuSyIO NcNoIb3yeMbIM BNHTaM.
BbI6epnte MeCTo yCTaHOBKn TeJIeBN3Opa.
- IoIroTOBbTe YeTbipe nn 60Jee BnHTOB dnaMeTpOM 8 MM n OOnH BnHT dNaMeTpOM 5 MM nn erO kBnBaJIeNT (He BXoIIT B KOMNJIeKT NocTaBKn). Bbl6epnte BnHTbl B COOTBeTCTBn C MaTePnAJoM CTeHbl.
Поберka komплектуни
PpnilaraetcK SU-WL450
- PpOBepbTe KOMJIeKTHOCTb TOBapa.
| A Oсновашие (20) (1) | В Шков (2) |
| ◎ PSW 6x20 (4)◎ PSW 4x20 c Втулков (2) | |
| ◎ П缩水дка (20) (2) | ◎ Лени (1) |
| ◎ B缩水 (20) (M4) (2) | ◎ PSW 4x20 (2) |
| ◎ A缩水 (20) (M4) (2) | ◎ J缩水 4x10 (8) |
| ◎ П缩水 (60) (2) | ◎ L缩水 6x50 (2) |
| ◎ B缩水 (M4) (2)◎ PSW 4x50 (2) |
OnpeJeHne MeCTONoJoxKeHnI yCTaHOBKn
1 OnpeJeIte MeCTOnOJoxKeHne IyCTaHOBKn.
Y6eHNTecb, YTO CTeHa, HA KOTOpyIO 6yIeT UCTaHaBnBaTbcr TeteBu3Op, IMeET DOCTaTOUHO MeCTa N CNOcO6Ha BbIepKAtb Bec, NO KpaIHeMpeB YeTbIpe pa3a IpeBbIaUoIuN BeC UCTaHaBnBaemOro TeleBu3Opa.
Cm. cnedyuoyu Ta6nuy no yctahOBKe TeJebu3opa Ha cTeHy. Cm. CnpabOuhoe pyKOBOCTBO TeJebu3opa Iy npocMOTpa CbeHn O Bece TeJebu3opa.

Eduhui n3MepeHHa:MM
| Названны модали | Разmersы экрана | Положения центра экрана | Длиа для крөлөнү | |
| a | b | c | d | |
| Стоандэрноe Крөлөнү | ||||
| KD-75XG80□□ | 1686 970 202 690 142 100 | |||
| KD-65XG81□□ | 1463 845 173 597 142 100 | |||
| KD-65XG80□□ | 1463 845 173 597 142 100 | |||
| KD-55XG81□□ | 1241 721 95 460 141 100 | |||
| KD-55XG80□□ | 1241 721 95 460 141 100 | |||
| KD-49XG81□□ | 1101 645 -15* 314 119 78 | |||
| KD-49XG80□□ | 1101 645 -15* 314 119 78 | |||
| KD-43XG81□□ | 970 570 23 315 119 | 77 | ||
| KD-43XG80□□ | 970 570 23 315 119 | 77 | ||
* PonoJxHe NkoHtTeHa HaxoNtCn HNx CeHTpaIbHoT ToKn EKpaHa.
PpimueaHne
PucyHKn B Ta6nIe Moryr HEmHoro OTJNu4aTbC8 B 3aBucmOcTn OYCTaHOKm.
Korda TeNeBn3Op yCTaHOBnEH Ha CTeHy, BepXnHaCTb TeNeBn3Opa HEMHOro HaKIOHnEeTcBnepe.
ObecneyTe HaJIuHne DOCTaTOHOro 3a3Opa MeKdy TeJIeBn3OpOM, NOTOKOM N BbICTyaIOUIMN qACTaMn CTHebl, KaK POKa3aHO Ha pncyHKe HIXke.
Eduhncbi N3MepeHnA:MM

-ДЯ obecneueHnHaIeXaIeBENTINpInpeDToBpaUeHnCKoJIeHnIpy3N INbIN:
He KnaIte TeLeBn3Op 3KpaHOM BHN3; He yCTaHaBnBaIte TeLeBn3Op NepeBepHybIM HxHne CTOPOHO BBepx, 3aD0m HanepeD Nn Ha6ok.
He yctaHaBnBaBnte TeIeBn3Op Ha nOKe, KOBpe, KpOBAu Nn B uKafoy.
HeHaKpbIbAitTe TeneBn3Op TkaHbIO,HaNPmep 3aHaBeCKaMn,a TaKxE Ra3eTaMn N.T.I.
He yctaHaBnBaIe Te TeneBu3Op TaK, KaK noka3aHo Ha pucyHKe Hnke.
LnpkylaB03dyxHaHapyuSha.

PpmeaHne
-пеледуctановко,ecnnpednonaraetc npoloxntb ka6eB nCTeHe,Takke onpejnte OTBepTnI dna Ka6eN I npocBepJIte OTBepCTne B CTeHe.
ДлпnpedotbpaueHну3aueemneHnKabeJe nOIOrTOBbTe OTBepCTNe BCTeH B O6NaCTn 3a npdeIamn nepuMeTp aOCHOBHn (20)A,aaNTep OCHOBAHn ① n pOKnaKn (20)E, npOKnaKn (60) K.
2 BbI6epnte cnooc hacteHHoYCTaHOBKn. PacctOraHne OT3aHNe NaHeJI N TeJeBN3Opa DoCTeHb MoXHo Bbl6paTb, KaK POKa3aHO HIXke.
2-a CtaHdapTHoe KpeIeHne
2-b KomnaKTHaYCTaHOBka
Cm. war 1 B ta6nue.
PNEyUNPEKDEHNE
-Пи Вьборе Рнкta 2-b orpaHnueH nocTyN K 3aHnM pa3beMaM.

3 PaCnoIoxeHnKpeIeHn 6a30BOrO aIaITepa CM. B Ta6JIuSe HIXe. PpN BbIbOpE nyHKTa 2-b npOnyCTnte 3TOT Iar.
| Назване мodyдли П��ожени скоб | |
| KD-75XG80□□ | |
| KD-65XG81□□ | b |
| KD-65XG80□□ | |
| KD-55XG81□□ | |
| KD-55XG80□□ | |
| KD-49XG81□□ | c |
| KD-49XG80□□ | |
| KD-43XG81□□ | d |
| KD-43XG80□□ | |

ПрикpenTe aадаNTep OCHOBAHЯ ① C NOMOUsbIO BnHTa (PSW 4x10) J K OCHOBAHIO (20) A npN BbIbope nyHKTa 2-a.

4 OnpeJeIte MeCTOnOJIOKeHne BnHTOB IJIa YCTaHOBKn OCHOBaHNr (20) A.
Cm. cneuФнkaun Ha ctp. 20.
Pn BbI6pe nyHKta 2-a nCnoJb3yIte
NoLOXeHnO rTBePCTn aadantepa
OCHOBaHnO ①.
PNEyNPEKDEHNE
CTeHa,HaKOTopoB6yDcTcHOBJIeH TeLEBn3Op, DOJIXHa BbIdepXNBaTb BC,PipeBbIaIOUm BEc TELEBn3Opa,No KpaIHeMpe,BYeTbIpe pa3a (YTo6bI y3HaTb BEc TELEBn3Opa,cm.CnpaBOuHoe pyKOBOdCTBO.)
Под�товka К установке Телевизopa
Для получени подробно Ифорmaцио6 yctaHOBKe NOДТаВКИ CM. рУКОВДСТВО NO yCTaHOBKe.
KD-75XG80□□
| Назваиме модали | Дени Mapкиробки | Послжени центра экрана |
| a b c | d | |
| KD-75XG80□□ | 1686 564 150 202 |
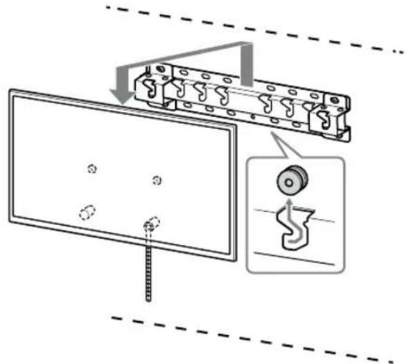
2ПркpenTe Kpeнжьie DeTaJI N KPOHHTeHaДЯ HabTeHHoYCTaHOBKN. BbINOJIHnTe npOBepky KpeJexHbIX DeTaJIeN COJIaCHO NyHKTy "PpIlaRaETcK SU-WL450"В pa3dJe "PpOBepKa KOMJIeKTAuIN" Ha cTp.6.
PpmeaHne
Плnotозakpenite кpenexKbIe DeTALN c nomoubBOBHTOB.
-ПиИСЮЛБОВAHиЗЕКТРУЧECКОТВЕРТКИЗадаTe MOMeHT 3aTЯЖКu, paBHyI ПибЛИЗNTeJIbHO1,5H-M{15Krc-CM}.
XpaHnTe NcNoJb3OBAHHBe IIN HeNcNoJb3OBAHHBeIeTAnB HAdExKHOM MeCTe, YTO6bI B 6yDyUeM INMOxKHO 6blIO NCNoJb3OBAtB. CoXpaHnTe DaHHyIOHCTpyKuHIO NO 3KcPnyaTaun DnA daJIbHeIWeRONCNoJb3OBAHnA.
Ctahapthoe KpenneHne (2-a)

Поберka Вынонения установки
PpOBepeTe CJIeIyUoUne NyHKtbl.
Пид�товka дOBCTановленья телевi3opa
IIN. NocihNK i3 HanaWtYbHHa IJI BCTaHOBHeHH nIDnOpN.
KD-75XG80□□
1 Po3MiTbTe MicIe MOHTaXy Ha CTiHi.
3a donomoro mo marnpno CTpiKu nn noi6HOro MaTePiaNy (He BXoNTb do KOMnIeKTu NoCTauaHH) po3MitbTe po3TaWyBaHH TeJIeBiOpa 6Jna 6a3n a6o nepexiDnka dJa 6a3n. DnB. HAcTyNHy Ta6nio.

OdHnIa BmIpObaHHa:MM
| Ha3Ba moIDEi | ДовхинадяpoЗміткn | ГабарNTицentpaekранa |
| a b c d | ||
| KD-75XG80□□ | 1686 564 150 202 |
2 3aФICyIe KpINbHi eIemEnTn KPOHHTeHa dJa NaHactiHHOrO KpInJIeHHa. IpeBipTe HaABHicThcycix KpINbHnx eIemEnTiB, KopNCTUOuNCb CnNCKOM «IocTauaCtbc3 SU-WL450» y po3dJIi «IpeBipKa DeTaJeN» Ha cTOp.5.
PpMItka
HaHIO3aikcyTe KpInnIbHi eIeMeHTn 3a DOnOMOrOIO rBnHTiB.
-Дя eнгтpruHoi BukpyTKn BCTaHOBITb MometObeptaHHN np6n3Ho 1,5 H·M {15 Krc-cm}.
-ObOB'3KOBO 36epekijt BnKOpuctaHia 60 HeBnKOpuctaHIXOMNoHEHTN B 6e3neHOMy MicuHa BNnAOK, RkUO BOHN 3HaIObIaTbcra Mm6yTHbOMy. 36epekijt cei nociHKn dIbn BnKOpuctaHHa Ma6yTHbOMy.
CtaHdapTHe KpinneHHra (2-a)

Пд ус 3нимпя Телевизора ДOTрмуТecьВka3aHoi npOцeДури BCTaHOBЛeHHЯ Y3BOPOTHOMY Порядк.

3ACTEPEKEHH
PiJac3HImaHHraTeJIeB3OpaNOroIOBUNHHI TpUmATn 0HaHMeHweDBOE JIODei (UOHaHMeHweTPOc,AKU OiaRaHOHaJIbTeJIeB3OpaCKnaJaAc75IIOMIBa6oBInbSe).
TexHiChi xapaKTepeNCTnKn

Pozmipu: (npn6nl) [MM]
a:400
b : 300
c:200
d:100
e:80
f : 480
g : 100
h1:20(BunaDOK2-b)
h2:60(Bunapok2-a)
Bara (Tilbkn 6a3a): (npn6J.) [Kr]
0,8
KoHCTpykui Ta texHiXapaKTepnTKMOKyTb 6yTN 3mHeHi 6e3 nonepeJKeHH.
ПростаяИнструкция