BX 518 VW VE - Refrigerador AMANA - Manual de uso y guía de instrucciones gratis
Encuentra gratis el manual del aparato BX 518 VW VE AMANA en formato PDF.
Descarga las instrucciones para tu Refrigerador en formato PDF gratis! Encuentra tus instrucciones BX 518 VW VE - AMANA y toma tu dispositivo electrónico nuevamente en la mano. En esta página están publicados todos los documentos necesarios para el uso de su dispositivo. BX 518 VW VE de la marca AMANA.
MANUAL DE USUARIO BX 518 VW VE AMANA
Manual internacional del propietario del frigorífico con congelador inferior Única
Requisitos electricos 60
Identificacion del Modelo .60
Evacuación adecuada de su frigorífico 60
Instrucciones de instalacion 60
Lista de comprobación de la instalación 64
Controles 65
Controles del frigorifico y del congelador 65
Ajuste de los controlles. 65
Characteristicadelfrigorico 65
Soporte de almacenamento (algunos modelos) 66
Recipiente de almacenamento con tapa
(algunos modelos) 66
Recipiente para produits lacteos
(algunos modelos) 66
Departamento de la puerta 66
Soporte para paquetes altos (algunos modelos) ....67
Estantes de la puerta 67
Separador ajustable (algunos modelos) 67
Soporte para botellas (algunos modelos) 67
Characteristicadelongelador 67
Sistema anti-escarcha 67
Estante para service de hielo (algunos modelos) ....67
Estanteextraible(algunosmodelos) 67
Separador vertical de estantes (algunos modelos) ...68
Estante fijo de varillas (algunos modelos) 68
Cesta de varillas (algunos modelos) 68
Bandeja de hielo (algunos modelos) 68
Atencion y limpieza 68
Limpieza general 68
Eliminacion de olores 69
Adhesivos 69
Juntas de las puertas 69
Bobinas del condensador 69
Estantes de cristal 69
Sustitución de bombillas 69
Trucos para las vacaciones. 70
Trucos para ahorrar energia 70
Ruidos normales en funciona 71
Antes de avisar al service technique 72
Garantía 74
Nota:
La traducción, en occasions provoca variaciones en el significado. En todos los casos en los que varie el significado, el más preciso sera la version en inglés de este documento.

Estelegantolepresentauna precaucion de seguridad.
Requisitos electricos
El frigorífico se ha dibnado para que funciona en un circuito de 230 voltios, 50 hertzios, a 10 amperios.
Identificacion del modelo
La información del producto viene indicada en la placadel número de série. Escribe lasuma información.
Numero del modelo:
Número de fabricación:
Numero de série o S/N:
Fecha de compra:
Nombre y direction del distribuidor:
Conserve una copia del recibo de compra para referencia futura.

ATENCIón
Evacuación adecuada de su frigorífico
IMPORTANTE: El que un niño quede aplisionado o asfiubiado por un frigorífico no es algo que pertenezca al pasado. Los frigoríficos vendidos como chatarra o abandonados siagen siendo peligosos - ahora se queden allí "sólo uno días". Si se quiere desprender de su viejo frigorífico, siga las instrucciones siguientes para evaporar posibles accidentes.
ANTES DE DESPRENDERSE DE SU VIEJO FRIGORIFICO O CONGELADOR:
- Quite las puertas.
- Deje los estantes en su situó, de forma que los niños no pudan trepar fácilmente por el interior.

Instrucciones de instalación
Introducciones
Un的技术icoequalificadodebeconectarelfrigorificosiguiendoestasinstrucciones.
Mida la aperture de las puertas, la profundidad y la anchura del frigorífico. Extraiga las asas de las puertas si esnecessary. El先进技术 depebe respetar normas locales de connexion para el agua y la compañero electrica:
El mantenimiento o la reposicion del cable de potencia debe realizarlo un technician综合素质.
Una instalación correcta garantizará el funcionalemente del frigorífico. Amana Appliances no seresponsibiliza de una instalación inapropiada.
Requisitos de instalación
- Instale el frigorífico en una toma con tierra con un circuito independiente de 230 voltios, 50 Hz., 10A.
- Proteja los suelos blancos con cartones o alfombras.
- Instalelo sobre un sueo que soporte hasta 429kg
- Mantenga un hueco de 25mm en la parte superior del frigorífico y 5mm en las partes laterales delismo.
NOTA: No instale el frigorífico cerca de unorno, radiador u othera fuente de calor, ni en qualquier situ onda la temperatura este por debajo de 13^ C.
1. Extracción de la base de madera

PRECAUCION
- Para registrar lesiones o danos materiales, la retirada de la base de madera la deben realizar dos personas.
-
Para evaporar fallos mecánicos, nocede el frigorífico sobre el lateral más tiempo del besoino para quitar los pernos.
-
Cierre las puertas con cinta adhesiva para evaporar que estas se abran inesperamente.
- Deslice la carretilla del electrodomóstico por debajo del frigorífico por el lado opuesto a los goñnes.
- Envuelva el frigorífico con una manta o un acolchado. Coloque una correa alrededor del frigorífico. Coloque bajo de la correa trozos de espuma para embalaje (puede sacarlas de las cajas de embalaje). Apriete firmamente la correa, pero no apriete excessively.
- Baje la carretilla hasta el suelo con las asas de la carretilla en el suelo.
- Extraiga los dos pernos superiores de la proteccion.
- Vuelva a colocar el frigorífico y la carretilla en posición vertical. Quite la correa.
- Deslice la carretilla por debajo del lateral del frigorífico.
- Repita los pasos del 3 al 5.
- Extraiga la base de madera.
- Vuelva a colocar el frigorífico y la carretilla en posición vertical. Traslade el frigorífico a suubicación final y retirela carretilla.
2. Extracción y cambio de las puertas en caso necesario.
Puede que todas instalacionesrequireanchangiar desitio las puertas para poder abrir el frigorifico sinproblemas. Parachangiar la puerta de situosto realice lospasos seguidentes:
Herramentas necessities
Llaves y destornilladores segun se necesiten
Destornillador Phillips
Destornillador de hoja plana
Cintaaislante
IMPORTANTE: Para quitar la tapa es besoinio utilizing un destornillador de hoja plano o una espátula. La hoja se debe cubrir con cinta aislante para evitar daños en el acabado del frigorífico. En tapas en las que se deba utilizes una llave para tuercas, utilise la herramienta adequada para evitar daños en dichas tapas.
-
Quite el asa del frigorífico.
-
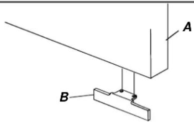
Quite el tornillo (C) del ribete superior del asa (A). Tire de el por el ribete del borde del asa (A) realizando un destornillador de hoja plana cubierto con cinta aislante. Retire el asa (B) de la puerta quitando 1 el tornillo de montaje restante (C) deodos extremos del asa.
- Retire 1 el ciere del lado del goze superior de la puerta y 2 del lado del goze frontal de la puerta (D). Vuelva a colocar las tapas en los orificios de montaje vacios del lado opuesto de la puerta realizando los tornillos de montaje (C).


-
Quite el asa de la puerta del congelador.
-
Abra la puerta del congelador 90^ . Localice las dos muescas en la parte trasera del asa del congelador (A). Inserte un destornillador de hoja plana recubierto con cinta aislante. Haga palanca hacía arriba en el borde de la tapa del asa (B) y quítela del asa.
- Retire el asa (A) de la puerta quitando los dos tornillos de montaje (C).
- Retire las 2 tapas (D) del lado opuesto de la puerta del congelador y colocuelas en los orificios de montaje vacios (C) .

- Quite la tapa del goze superior. Ésta se pueda sacar con presión. Retire los tornillos de 5/16 de pulgada (A) para liberar el goze superior (B) y la arandela de separación (C) con una llave hexagonal. Retire y guarde todas las arandelas (C y D).
- Quite la puerta del frigorífico SACando la puerta del pasador de bisagra central (F) y la tuerca hexagonal (E). Inspeccione la puerta para verificar que todas las arandelas de separacion (D) estan colocadas con los pasadores de bisagra.
- Quite el pasador de bisagra central (F) con una llave hexagonal. Debido a lo apretado que pueda estar el pasador, necessitiesa aplicar cierta presión. Quite y guarde todas las arandelas de separación (D).
- Quite la puerta del congelador levantandola del gozne inferior (±bK)
- Quite la abrazadora del gozne central (G) y la arandela de separacion (H) con un destornillador Phillips.
- Retire la rejilla inferior y su tapa. Ambas se despenden.
- Quite con una llave hexagonal el pasador del gozne inferior (J) el gozne inferior (K) y las arandelas de separacion (L). Quite y guarde las arandelas de separacion (D)



-
Cambie de situo los topes de la puerta.
-
Localice el tope de la puerta (B) situado en el borde inferior de la puerta del frigorífico (A). Desatornille los dos tornillos Phillips del extremo opuesto de la puerta. Monte el tope en el lado opuesto. Vuelva a colocar los tornillos restantes en los orificios de montaje vacos.
- Repita las instrucciones anteriores para Cambiar el tope de la puerta del congelador.

-
Invierta la posicion de las puertas realizando los pasos siguientes:
-
Quite las tapas y los tornillos del lado opuesto del frigorífico. Insertelo en los orificios que hanockeyd vacios al extraer los goznes.
-
Monte en elgado opuestos los gozes inferior, medio y superior con las arandelas de separacion.
-
Vuelva a colocar el gozne inferior del bajo opuesto del frigorífico. Antes de atornillar verifique que ha colocado las arandelas de separación. Después de colocar el pasador del gozne en el orificio opuesto, vuelva a colocar las arandelas. Algunos de los goznes inferiores peuvent tener tapas. En este caso, quite la taps del orificio exterior, Coloque el pasador en el orificio y vuelva a colocar la taps en el orificio vacio.
-
Vuelva a colocar el gozne y las arandelas superiores, pero deje espacio suficiente para introducir el gozne de la puerta del frigorífico en su situ. Apriete el gozne superior para que sujete la puerta firmamente.
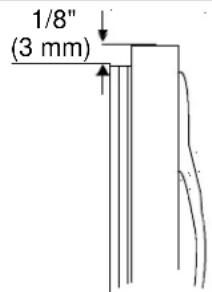
- Separe la puerta 11 / 16 " (18 mm) del frigorifico.
- El bajo del asa de la puerta debe estar 1/8 (3 mm) mas alto que el bajo del gozne. Cuando la puerta esté cargada con comida estar al mismo nivel.


-
Monte el asa del frigorífico en el lado opuesto de la puerta realizando los tornillos de montaje quitados en el paso anterior.
-
Coloque la muesca del asa en su situ y vuelva a colocar el tornillo.
-
Monte el asa del congelador en el lado opuesto de la puerta utilizando los tornillos de montaje quitados en el paso anterior.
-
Coloque en ángulo hacía abajo el borde frontal de la tapa del asa hacía el reborde posterior del asa del congelador. Verifique que la lengüeta inferior de la tapa del congelador se introduce por debajo del reborde posterior del asa del congelador. Inserte en su situó el borde de la tapa del asa.
- Compruebe que la unidad está nivelada correctamente siguiendo las instrucciones a partir del paso 5.
- Vuelva a colocar la rejilla inferior y la tapa del gozne inferior.
Importante: Busque la flecha impresa en el interior de la rejilla para su correcta colocacion.
- Inserte primero la parte superior en su sitio. Presione hacía abajo la parte inferior hasta que se colque en su sitio.

3. Traslade el frigorífico a su ubicación final.

PRECAUCION
Proteja el suejo con cartón, alfombrillas o cualquier other material para estar daños en el本身就是.
4. Conecte el cable de alimentación.
- El cable de alimentaciónsoledebeser manipulado por personal de servicios@cualificado. Para reparar el equipo,se necessitan herramrientas especialas.Póngase encontacto conel的专业 autorizado mas cercano pararealizar la revisión, reparacion oajuste del frigorífico.
5. Nivele el frigorífico.
a. Gire el tornillo de ajuste del rodillo (A) hacía la derecha paraEAR alaparato,y a la izquierda para bajo lo.
b. Ajuste la pata estabiladora (B) para que sujete el frigorífico firmamente contra la puerta.

PRECAUCION
Para evaporar lesiones o daños materiales causados por volcado del frigorífico, la pata estabilizadora debe estar firmamente apoyada sobre el sueño.

Esta lista de comprobación sirve tan solo para las anotaciones personales del usuario.
Empresa Instaladora
□
□
Puertas
El asa lateral de la puerta está colocada 3 mm más alta que elazo del gozne de la puerta. (la puerta serebaja cuando está cargada de comida.)
□
□
Las puertas cierran herméticamente el frigorífico.
□
□
Nivelación
El frigorífico tiene una inclínación de 6 mm de la parte frontal a la parte posterior.
□
□
La pata estabilizadora debe estar colocada en el suejo.
□
□
La rejilla inferior se ha acoplado correctamente al frigorifico.
□
□
Bibliografia sobre el producto
El manual de propietario se ha revisado incluyendo lasuma informacion:
- Controles del frigorífico y del congelador
Cajon contentedor con control de humedad
Cajón con control de temperatura
Ruidos normales durante el funcionaamento
Notas
Firma del cliente
Firma del instalador
Compañía instaladora/Telefondo
Fecha
Controles
Este frigorífico se ha disnéado para funciona a temperatas normales en una casa con una temperatura entre 13^ y 43^ C.
Controles del frigorífico y del congelador
Los controlles del frigorífico y del congelador están situados en la pared superior trasera del frigorífico.

El controlador del congelador se encuesta en la parte frontal derecha del techo del congelador.

Ajuste de los controles
Si el control del congelador se fija en ni el frigorífico ni el congelador enfiarán. Inicialmente, fije también controles en 4. Espere 24 horas hasta que el congelador y el frigorífico estabilicen la temperatura. Después de las 24 horas, ajuste los controles, de uno en un número, como deseee. Uno es el valor más caliente y siete es el más frió.
Ajuste los controlles con un termómetro casero que pueda medir entre -21^ y 10^ .
Coloque el termómetro suavamente entre paquetes congelados bajo del congelador. Espere entre 5 y 8 horas. Si lathernatura del congelador no es de -17^ y -16^ C,ajuste el control del frigorífico de uno en un número. Vuelva a probar antes de 5 u 8 horas.
Cologne el termómetro en un vaso de agua en el centro del frigorífico. Espere entre 5 y 8 horas. Si la temperatura del frigorífico no está entre 3^ a 4^ , ajuste el control, 1 número cada vez. Vuelva a comprobar antes de 5 u 8 horas.
\section*{Characteristicas del frigorifico}
Estantes del frigorífico
Los estantes peuvent ajustarse para que se adapten a sus necessities de almacenimiento. Algunos modelos llevan estantes Spillsaver™ y estantes Easy Glide™. Los estantes Spillsaver™ evitan las salpicaduras para facilitar su limpieza.

PRECAUCION
Para evaporar danos materiales, asegürese de que está bien colocados antes de colocar alimentos en ellos.

PRECAUCION
Para evaporar lesiones o daños materiales, manipule con cuidado los estantes de cristal Templado. Los estantes你能 romperse de repente si se mellan, rayan o exponen a Cambios repentinos de temperatura.
- Extraiga los estantes (A) elevando el frontal, liberando los ganchos (C) de la guía metálica (B) y tirando afterwards hacía fauna.
- Vuelva a colocar los estantes insertando los ganchos (C) en la guía metálica (B) y bajo el frontal del estante.

Algunos modelos también disponible de estantes Easy Glide™, que pueda sacarse para acceder fácilmente a los produits situados al fondo.

Contenedor Garden Fresh
Los contenedores Garden Fresh™ mantienen durante más tiempo la frescura del producto. Envuelva el producto porcomplete. No lave el producto antes de colocarlo en el contenedor. Una humedad excessiva podra hacer que seperdiese prematuramente. No recubra el contenedor con papel de cocina. Estos能把 retener la humedad.
El control (D) de los contenedores Garden Fresh™ está situados bajo de la chambrana del estante frontal.
El control ajusta la humedad en los cajones del conteditor. Mueva el control hasta high para productos con hojas como lechuga, espinaca o col. Mueva el control hasta low para productos con piel como coliflor, maiz o tomates.
Para limpar o volver a colocar los cajones del conteditor, quite el estante y los cajones del conteditor suguiendo这些东西 pasos:
-
Abra el contendor de la izquierda.
-
En puertas con el gozne a la izquierda, abra el conteditor derecho.

PRECAUCION
Para evaporar lesiones o daños materiales, manipule con cuidado los estantes de cristal Templado. Los estantes你能 romperse de repente si se mellan, rayan o exponen a Cambios repentinos de temperatura.
- Extraiga la cubierta de cristal del conteditor (A) empujando suavamente desde abajo.Incline uno de los extremos hacía arriba y tire hacía fuera.
- Extraiga el cajón del contentedor levantándolo por la parte frontal cuando lo sujeta por abajo y tire de él hacía afuera. En puertas del frigorífico que tengan el gozne a la izquierda, extraiga el contentedor de la derecha.
- Extraiga除外 Cajón del contentedor según se indica en el paso 3. Si la puerta no permite extraer el Cajón, saque el Cajón jusqu'à con el marco del contentedor según se indica en el paso 5.
- Extraiga el marco del conteditor (B) levantando el marco por la moldura de plástico frontal (C) y séquelo de las ranuras del rail del frigorífico. Tire hacía delante y extráigalo de la unidad.
- Sustituya el deposito y el estante suguiendo a la inversa los pasos del 2 al 5.

Soporte de almacenamento (algunos modelos)
El soporte de almacenimiento proportiona el almacenimiento conveniente para botellas, huevos, etc.
Cuelgue el soporte enganchandolo en el estante.

Recipiente de almacenamento con tapa (algunos modelos)
El recipiente de almacenimiento tiene una tapa y una bandeja para huevos. Al extraer la bandeja, es possible introducir un carton estandar de huevos, hielo, etc.

Recipiente para produits lacteos (algunos modelos)
El recipiente proporciona un almacenaje adecuado para mantequilla, queso, etc.
- Extraiga el recipiente levantando la puerta (A), empujando hacía abajo las lengüetas (B) del estante enodos y tire hacía fuera de ella.
- Reponga el recipiente para products lacteos, introduciendo hasta que las lengüetas (B) queden fibras en su situ; a continuacion bajo la puerta (A).

Departamentos de la puerta
Ajuste los departamentos de la puerta para que se adapten a sus necessities de almacenimiento.
- Extraiga los estantes de la puerta empujando las lenguetas (A) de todos lados del estante hacía el centro y tirando de ellos hacía fuera.
- Vuelva a colocarlos introduciendolos hasta que las lenguetas (A) queden fjias en su situ.

Soporte para paquetes altos (algunos modelos)
El soporte para paquetes altos mantiene de pie los productos con una alta considerable. El soporte encaja en el borde frontal de cualquier estante o département de la puerta del frigorífico.

Estantes de la puerta
- Extraiga los estantes de la puerta levantando los extremos y tirando de ellos.
- Vuelva a colocar los estantes introduciendoles por las muescas de deslizamente (A).

Separador ajustable (algunos modelos)
El separator ajustable permite inmovilizar los productos yJKLM para que se adapte a las necessities de almacenimiento del usuario. El separator se acopla al recipiente del estante de la puerta.

Soporte para botellas (algunos modelos)
El soporte para botellas permite inmovilizar las botellas yJKLM para que se adapte a las necessities de almacenimiento del usuario. El soporte para botellas se acopla al recipiente del estante de la puerta.

\section*{Característica del congelador}
Sistema anti-escarcha
Las secciones del frigorífico y del congelador son totalmente anti-escarcha. El deshielo se realiza automatistically en conditiones normales. Ni el frigorífico ni el congelador nécessitan ser descongelados.
Estante para serviceo de hielo (algunos modelos)
Instale el estante de service de hielo (C) colocandolo sobre los tornillos y arandelas (A y B) e introduciendolo.


PRECAUCION
Asegürese de que el estante está bajo el paragómez.
productos sobre el para evaporar daños materiales.
Estante extraíble (algunos modelos)
El estante extraible se pueda sacar para acceder fácilmente a los productos de su parte posterior.
- Saque el estante extraíble deslizándolo hacía adelante hasta que el punto esférico (B) situado bajo del rail central (A) se alcance la alta de la ranura de moldeo.
- Sujete el estante por el rail central (A), tire hacía arriba y extráigalo.
- Deslicelo hasta que el punto esférico (B) se introduzca en la ranura de moldeo.

Separador vertical de estantes (algunos modelos)
Instale el separator vertical de estantes realizando los pasos siguientes:
- Deslice las puntas del separator de estantes bajo de la rejilla deseada, ligeramente al margen del rail central.
- Presione hacía abajo la parte superior del separador y deslice el gancho por debajo del rail central.

Estante fijo de varillas (algunos modelos)
- Extraiga el estante de varillas tirando con energia.
- Vuelva a colocarlo deslizandolo hacer bajo para que se quedeijo en su situ.

Cesta de varillas
La cesta de varillas (A) se pueda extraer para poder el acceso a los produits introducidos.
- Extraiga la cesta de varillas levantandola y tirando.
- Vuelva a colocarla deslizandola hacía bajo.

Bandeja de hielo (algunos modelos)
La bandeja de hielo (A) se coloca bajo del estante de增值服务 de hielo en el estante de varillas del congelador.

Atencion y limpieza

AVISO
Para evaporar descargas eletricas que pueda provocar graves lesiones o incluo la muerte, desconnecte la fuente de alimentacion del frigorifico antes de su limpieza.
Despues de la limpieza, vuela a conectar la alimentacion.

PRECAUCION
Para evaporar lesiones o daños materiales, lea y respete todas las normas de limpieza del fabricante.
Limpieza general
- Lave las superficies y el exterior con un paño limpio utilizing una solución de 60~mL de bicarbonato sódico disuelto en 1 litro de agua.
- Aclare las superficies y el exterior con agua caliente. Seque las superficies con un paño suave y limpio.
-
NO UTILICE los siguientes productos:
-
Productos de limpieza abrasivos o bastos, amoniaco, lejía con cloro, etc.
- detergentes o disolventes concentrados
- desengrasantes metalicos
Estos productos peuvent rayar, quebrar o decolorar las superficies.
- No coloque los estantes, cazoletas, etc. en agua de lavar.
Eliminación de olores
- Extraiga toda la comida y desconecte la alimentacion del frigorifico.
- Limpie todas las superficies interiores incluido el techo, el sueño y las paredes según las instrucciones de limpieza indicadas anteriormente. Preste una atencion especial a las esquinas, hendiduras y muescas. Incluya todos los cajones, estantes y juntas.
- Conecte la alimentacion del frigorifico y vuelva a colocar la comida en el本身就是. Lave yooteras todas las botellas, recipientes y tarros. Envuelva la comida en recipientes sellados para evaporar mas olores. Pasadas 24 horas, compruebe si ha desaparecido el oror.
Realice los pasos del 4 al 10 si no ha desaparecido el olor.
- Extraiga toda la comida y desconecte el frigorífico.
- Limpie todas las superficies interiores incluyendo el techo, el sueño y las paredes según las instrucciones de limpieza indicadas anteriormente. Preste una atencion especial a las esquinas, hendiduras y muescas. Incluya todos los cajones, estantes y juntas.
- Coloque los contenedores en el estante superior del frigorífico. Llene el frigorífico y el congelador con hojas de periodico arrugadas.
- Coloque agglomerados de carbón vegetal aleatoriamente por todo el periodico.
- Cierre las puertas y espere entre 24 y 48 horas.
- Extraiga los agglomerados de carbon vegetal y los periodicos.
- Conecte la alimentacion del frigorifico y vuelva a colocar la comida en su interior. Lave yooter todos los contenedores. Guarde la comida en contenedores cerrados para evaporar el escape de olores. Despues de 24 horas, compruebe si ha desaparecido el olor.
Adhesivos
- Elimine los restos de pegamento frotando la superficie del frigorífico con los dedos realizando pasta de dientes hasta que se suele el adhesivo.
- Frote la superficie con agua caliente. Seque la superficie con un paño suave y limpio.
Juntas de las puertas
- Limpie a concienda las juntas de las puertas cada 3 días, de acuerdo con las instrucciones de limpieza general.
- Aplique una solapellicula de vaselina para poder articular las jintas.
Bobinas del condensador
Limpie la bobina del condensador situada detrás de la rejilla inferior cada 3 heures para garantizar la potencia maxima del frigorífico. El polvo y las pelugas acumulados pueda provocar loisible:
- menor potencia de refrigeración
- mayor consumo de energia
-
en casos extremos, fallo prematuro del compresor
-
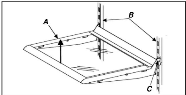
Extraiga la rejilla inferior, sujetando los extremos y sacandola del refrigerador.
- Limpie la superficie frontal de la bobina del condensador con una boquilla de aspiradora.
- Vuelva a colocar la rejilla inferior, insertando las pinzas en los orificios y hacer presión.
- Levante las patas estabilizadoras (algunos modelos) girando la pata hacía la izquierda.

PRECAUCION
Para evaporar danos materiales, proteja todo tipo de suejo con cartones, alfombras u除外 material protector.
- Separe el frigorífico de la pared. Pase una aspiradora por la rejilla de la parte posterior del frigorífico.
Estantes de cristal

PRECAUCION
Para evaporar lesiones o daños materiales, manipule con cuidado los estantes de cristal Templado. Los estantes你能 romperse de repente si se mellan, rayan o exponen a un cambio brusco de temperatura.
Extraiga el estante elevando el frontal, liberando los ganchos de la guía metálica y después tirando deél hacía fauna. Coloque el estante sobre una toalla. Limpie el estante cuando隐身 a la temperatura ambiente. Limpie las hendiduras siguiendo los pasos siguientes:
- Diluya detergente suave y cepille con la solución en las hendiduras, using un cepillo de cerdas de plastico. Espere 5 horas.
- Pulverice agua caliente en las hendiduras usingo un pulverizador de grifo.
- Seque el estante en profundidad y vuelva aponer el mismo insertando los ganchos en la guía metálica y bajándolo del frontal.
Sustitución de bombillas

AVISO
Para evaporar descargas eletricas que pueda provocar graves lesiones o incluo la muerte, desconecte la fuente de alimentacion del frigorifico antes deCambiar la bombilla. Tras cambiarla, conecte la alimentacion.

PRECAUCION
Para evaporar lesiones o danos materiales, cumpla lo.),?.
- Deje enfriar la bombilla.
- Póngase guantes para colocar la bombilla.
Luz del frigorifico
- Retire la cubierta de la bombilla (B) extrayendo los tornillos de tuerra hexagonal de 14 pulgadas (A). Ponga una bombilla que no supere los 25 varios.
- Vuelva a colocar la cubierta (B) colocando los tornillos de tuercia hexagonal de 14 pulgadas (A).

Luz del congelador
- Retire la cubierta de la bombilla (B) extrayendo los tornillos de tuerca hexagonal de 14 pulgadas (A). Ponga una bombilla que no supere los 25 varios.
- Vuelva a colocar la cubierta (B) colocando los tornillos de tuerca hexagonal de 14 pulgadas (A).

Trucos para las vacaciones
Siga los siguientes pasos paraunas vacaciones cortas.
- Saque los alimentos perecederos. La garantía no cubre la perdida de alimentos. Compruebe el certificado de la garantía por si existe una cobertura especial.
- Si se ha instalado unaquina de hacer hielo, mueva el brazo de laquina hacía arriba, hasta la posicion off. (Vease la sección "Maquina automatica para fabricar hielo" de la page 72).
Realice los pasos siguientes paraunas vacaciones largas.
- Vacie las secciones del frigorifico y del congelador.
- Desenchufe el frigorífico.
- Limpie el frigorífico y las juntas de la puerta de acuerdo con las instrucciones "Generidades" en la sección "Atencion y limpieza".
- Deje las puertas abiertas, de forma que pueda circular aire por su interior.
- Si se ha instalado unaquina de hacer hielo, desconecte la alimentacion de agua hacia el frigorifico y desplace hacia arriba el brazo de laquina de hacer hielo, hasta la posicion off. Vease la section "Mquina automatica para fabricar hielo" en la page 72.
Trucos para ahorrar energia
Este frigorífico se ha dibnado para que sea uno de los que menos energia consumen del mercado. Puede reducirse el Consumo de energia observando lo paciente.
- Debe uses a temperatures normales de entre 13^ y 43^ C, lejos de fuentes de calor y de la luz directa del sol.
- No ajuste los controles del frigorífico, congelador y del sistema Chiller Fresh™ a una temperatura inferior a la necesaria.
- Mantenga llena la sección del congelador.
- Mantenga limpias y flexibles las juntas de la puerta. Sustituya las juntas si está gastadas.
- Mantenga limpias las bobinas del condensador.
Ruidos normales en funcionabero
Este nuevo frigorífico puede sustituir a otro de diferente性和, menor potencia o más(PC).Los frigorificos actuales tendrén nouveaux dispositivos y ahorroan mas energia. Como resultado dearlo, es posible que no le sean familiares ciertos ruidos. Estos ruidos son normales y prento le seran familiares. Esto ruidos también indican que el frigorífico está functioning segun lo previsto.
- El control del frigorífico haceblick cuando arranca o se para el compresor.
- El ventilador del congelador hace soplar y girar el aire.
- En el sistema sellado (evaporador y Cambiador de calor), la corriente de refrigerante borbotea, burbujea o suena como agua hirviendo.
- El calentador de deshielo silba, pita o borbotea.
- El temporizador de deshielo suena como un reloj eletrico y se inicia y se detiene durante el ciclo de deshielo.
- El ventilador del condensador hace soplar y girar el aire.
- El compresor Tiene un zumbido o un ruido pulsatorio que se inicia y se detiene clicamente.
- Los cubitos de hielo procedentes de laquina de hielo (algunos modelos) caen en la cazola del hielo.
- La connexion de la valvula del agua de laquina de hacer hielo (algunos modelos) zumba cuando selene de agua laquina de hacer hielo. Esto sucede tanto si el frigorífico está connectado a la alimentación de agua como si no. Si el frigorífico no está connectado a la alimentación de agua, pare el ruido elevando el brazo de laquina de hacer hielo hasta la posición Off. La connexion de la valvula del agua está situada bajo del ventilador del condensador en la parte trasera del refrigerador.
Note: El aislamento de espuma ahora mucha energia y tiene una excelentes propiedades aislantes. Sin embargo, el aislamento de espuma no absorbe tanto el ruido como los anteriores aislantes de fibra de vidrio.

Antes de avisar al serviceo专业技术
| Problema | Solutión |
| El frigorífico no funciona. | Compruebe que está encendido el control del congelador.Asegúrese de que está enchufado el frigorífico. Si no lo está, enchufe el cable a la toma con el voltaje apropiado.Compruebe los fusibles o el cortacircuitos. Enchufe también aparato a la toma de pared. Si la toma no funciona, cambie el Fuseible o reajuste el circuito.Espere 40 horas y vea si vuela a arrancar el frigorífico. Si está encendido el control del congelador, las luces se encienden pero 2 ventiladores y el compresor no funciona, es posible que el frigorífico esté en el ciclo de deshielo. |
| El frigorífico sigue sin funciona. | Desenchufe el frigorífico. cambie la comida a otro aparato o colque hielo en la sección del congelador para conservar los alimentos. Llame al servicios técnico. |
| La temperature parece serblemado alto. | Véanse las secciones anteriores.Espere un tiempo hasta que los alimentos recentamenteañadidos alcancen la temperatura del frigorífico o del congelador. Si se introduce comida caliente, el frigorífico no alcanzará su temperatura normal hasta transcurridas varias horas.Compruebe que las juntas están selladas correctamente. Las juntas deben estar bien selladas al frigorífico.Limpie las bobinas del condensador. Véanse las instructaciones de "Bobinas del condensador" en la sección "Atencion y limpieza".Ajuste el control del frigorífico y del congelador. Véanse las instructaciones de "Controles de ajuste" en la sección "Controles".La luz del congelador o del frigorífico permanece encendida. Si permanece encendida, quite la bombilla y llama al service technique.La revilla trasera de ventilación situada detrás del contentedor está bloqueada e impide el flujo del aire. Localice la revilla de ventilación situada detrás del contentedor y limpiela de la sociedad que impide la ventilación o el flujo de aire. |
| La temperature de los alimentostes excessively bajo. | Limpie las bobinas del condensador. Véanse las instructaciones de "Bobinas de condensacion" de la sección "Atencion y limpieza".Ajuste el control del frigorífico. Véanse las instructaciones de "Controles de ajuste" en la sección "Controles".Ajuste el control del congelador a la posición menos fría. Véanse las instructaciones de "Controles de ajuste" en la sección "Controles".Deje pasado varías horas hasta que se ajuste la temperatura. |
| Problema | Solutación |
| El frigorífico funciona con una Frequencia excessiva. | ·Es normal que se mantenga una temperatura constante. ·Es posible que las puertas se hayan abierto con una Frequencia excessiva o durante un periodo de tiempo demasiado largo. la aperture de la puerta permitte la entrada de aire caliente en el frigorífico. Cuánto más se abra la puerta más aire caliente se debe enfiar. ·Espere un tiempo hasta que los alimentosañadidos recentamente alcancen la temperatura del frigorífico o del congelador. Puede pagar varías horas hasta que el frigorífico alcance la temperatura normal. ·Limpie las bobinas del condensador. Véanse las instructaciones de "Bobinas de condensación" de la sección "Atencion y limpieza". ·Ajuste el control del congelador. Véanse las instructaciones de "Controles de ajuste" en la sección "Controles". ·La luz del congelador permanece encendida. Si permanece encendida, quite la bombilla y llama al servicios técnico. ·Compruebe que el frigorífico está nivelado. Véase la sección "Nivelación del frigorífico" en las instructaciones de instalación. |
| Se forman gotas de agua en el interior del frigorífico. | ·Es normal en periodos de gran humedad o si las puertas se han abierto con frequencia. ·Envuelva la comidapletamente y.SEque los contenedores humedes antes de guardarlos en el frigorífico para evaporar la acumulación de humedad. |
| Se forman gotas de agua en el exterior del frigorífico. | ·Compruebe si está selladas adecuadamente las juntas de la puerta. Las juntas deben estarpletamente selladas al frigorífico. ·Es normal durante periodos de gran humedad o si las puertas se abren con gran Frequencia. |
| El frigorífico desparende olores. | ·Véanse las instructaciones "Eliminación de olores" en la sección de "Atencion y limpieza". |
| El frigorífico haceunos ruidos extraños o demasiado altos. | ·Puede ser normal. Véase la sección "Ruidos en functúnamente normal". |
| Los cubitos de hielo tienen un mal olor. | ·Véanse las instructaciones "Eliminación de olores" en la sección "Atencion y limpieza". ·La comida no se ha aislado correctamente en el compartmento del frigorífico o del congelador. Envuelva de nuevo la comida ya que los olores pueda pagar al hielo si esta no está aislada correctamente. ·Deseche el hielo y limpie con más Frequencia la cazoleta o las bandejas de hielo. Los cubitos de hielo son porosos y absorben fácilmente los olores. ·El agua contiene minerales como el sulfuro. En algunos situaciones, PODen que tengue que instalar un filtro para eliminar los problemas de olor y saber. |
| Los cubitos de hielo se pegan o "encogen". | ·Vacie con más Frequencia la cazoleta o las bandejas de cubitos de hielo. Si no se usan con Frequencia, los cubitos de hielo PODen pegarse o encoger. |
Garantía limitada de un año
Garantía limitada de cinco años del compresor
Primer año
Amana proportionará de forma gratuita una pieza de repuesto, libre a bordo (FOB) de Amana, lowa, EE.UU., porrialquier pieza defectuosadeferado su factura oasus materiales.
Amana proportiúnará de forma gratuita una pieza de repuesto, libre a bordo (FOB) de Amana, lowa, EE.UU., porrialquier compresor defectuoso debido a su factura o a sus materiales.
Limites de la garantia
- Comienza en la Fecha compra.
- El servicios lo deben realizar un的技术ico autorizzato por Amana.
La garantía queda anulada si
- La plac de numero de series está estropeada.
- El producto se ha utilisé commercialmente, se ha alquilado o se ha arrendado.
- El producto está defectuoso o está dadado debo a accidente,alteracion,conexion del mesmo a una fuente de suministro eletrico inapropiada, fuego, inundacion, tormentas,envio o manipulacion,o porothers conditiones que esten fuera del control de Amana.
- El producto se usa o se instala de forma inadequada.
Responsabilitadede proprietario
- Facilitar prueba de compra (recibo de compra).
- Proporcionar una atencion yostenimiento normales. Realice la sustitución de piezas como se indica en el Manual del propietario.
- Colocar el producto en un lugar accesible para realizar la reparacion.
- Pagar los costes de servicios especial fuera de las horas normales de servicios técnico.
- Pagar las llamadas al serviceo专业技术 relacionadas con la instalacion o el uso del producto.
En ningún caso, Amana sera responsable de los daños inherentes o conspicuides incluida la perdida de alimentos*.
Pararialquier consulta relacionada con todo lo anterior o para localizar el serviceo tncico autorizado, pongase en contacto con el proveedor del aparato en:
Cuidados e limpeza 142
Generalidades 142
Eliminao de odores 143
Autocolantes 143
Antes de chamar a assistencia 146
Garantia 148
Nota:
5. Nivele o frigorífico.
A greha inferior está correctamente montada no frigorífico.
□
Se se ausentar por peu tempo, proceda do segunte modo.
- Retire alimentos deteriorarveis.
- Se houver um dispositivo de producao de gelo instalado, mova o respectivo BRAO para cima, posicao Off (desligado). (Consulte a secao "Dispensor automatico de gelo, na pagsina 146).
ManualFácil