BX 518 VW VE - Kühlschrank AMANA - Kostenlose Bedienungsanleitung
Finden Sie kostenlos die Bedienungsanleitung des Geräts BX 518 VW VE AMANA als PDF.
Laden Sie die Anleitung für Ihr Kühlschrank kostenlos im PDF-Format! Finden Sie Ihr Handbuch BX 518 VW VE - AMANA und nehmen Sie Ihr elektronisches Gerät wieder in die Hand. Auf dieser Seite sind alle Dokumente veröffentlicht, die für die Verwendung Ihres Geräts notwendig sind. BX 518 VW VE von der Marke AMANA.
BEDIENUNGSANLEITUNG BX 518 VW VE AMANA
Kontrolfunktioner 20
Internationale Gebrauchs- und Pflegeanweisung für Vertikale Kuhl-Gefrier-Kombination Inhalt
Stromanschlußdaten 30
Modellidentifikation 30
Die richtige Entsorgung Ihres Kuhlschranks. 30
Installationsanleitung 30
Checklste fur die Installation 34
Regler 35
Frischhalte- und Gefrierschrankregler 35
Das Einstellen der Regler 35
Merkmale des Frischhalteteils 35
Frischhaltefacher. 35
Garden FreshTM Schubladen 36
Lagerfach (eineige Modelle) 36
Abgedecktes Lagerfach (eineige Modelle) 36
Milchproduktabeil (eineige Modelle) 36
Türkörbe 37
Halterung fur GroBpackungen (einge Modelle) 37
Turfacher 37
Einstellbarer Fachteiler (eineige Modelle) 37
Flaschenhalter (eineige Modelle) 37
Merkmale des Gefrierteils 37
Abtausystem 37
Eiserzeuger (eineige Modelle) 37
Schiebegitter (eineige Modelle) 38
Senkrechter Fachteiler (eineige Modelle) 38
Gitterboden (eineige Modelle) 38
Gitterkorb (eineige Modelle) 38
Eiswurfelfach (eineige Modelle) 38
Pflege und Reinigung 38
Allgemeine Reinigung 38
Beseitigung von Gerüchen 39
Klebstoffe 39
Turdichtungen 39
Verflüssigerschlangen 39
Glasfacher 39
Austausch der Gluhlampe 40
Tips fur den Urlaub 40
Tips zum Energiesparen 40
Normale Betriebsgeräusche 41
Bevor Sie den Kundendienst rufen 42
Garantie 44
Hinweis:
Die Übersetzungen können unterinander geringe Abweichungen aufweisen. In Fällen von Abweichungen ist die englishische Version dieser Anleitung immer die korrekte Beschreibung.

Das Ausrufezeichen ist das Symbol für eine Warning oder einen Sicherheitschinweis.
Stromanschlußdaten
Der Kuhlschrank ist zum Anschluß an einen separatem 230 V, 50 Hz, 10A Stromkreis vorgesehen.
Modellidentifikation
Die Produktinformationen stehen auf dem Typenschild. Notieren Sie hier folgende Informationen:
Modellnummer: Herstellungsummer:
Serien- oder S/N-Nummer:
Kaufdatum:
Name und Adresse des Handlers:
Bewahren Sie eine Kopie der Rechnung für spätere Nachforschungen auf.

GEFAHRENHINWEIS
Die richtige Entsorgung Ihres Kuhlschranks
WICHTIG: Leider kommt es immer noch vor, daß sich Kinder in einem Kuhlschrank einschlieben und darin ersticken. Kuhlschranke, die im freiem Gelände oder auf Müllhalden weggeworfen werden, sind immer noch gefährlich, auch wenn sie „nur ein paar Tage" Dort bleiben. Wenn Sie sich von Ihrem alten Kuhlschrank trennen, halten Sie sich bereits an die nachstehenden Instruktionen, um Unfälle zu vermeiden.
BEVOR SIE IHREN ALTEN KÜHLSCHRANK ODER IHR ALTES GEFRIERGERÄT WEGWERFEN:
- Montieren Sie die Türen ab.
- Lassen Sie die Fächer und Roste im Kühlschrank, damit Kindern das Hineinklettern erschwert wird.

Installationsanleitung
Einleitung
Der Kuhlschrank muß von einem qualifizierten Techniker gemäß der Installationsanleitung angeschlossen werden.
Messen Sie die Türoffnung sowie die Breite und Tiefe des Kühlschranks. Nehmen Sie Griffe oder Türen ab, falls erforderlich. Der Techniker muß die Anschlußvorschriften der lokalen Wasser- und Stromversorgungsgesellschaft einhalten.
Servicearbeiten am Stromkabel oder dessen Austausch müssen von qualifizierten Kundendienstleuten durchgefuhrt werden.
Eine sachgemäß Installation ist die Voraussetzung für einen optimalen Kühlbetrieb. Die Firma Amana Appliances haftet nicht für Schäden aufgrund von unsachgemäßer Installation.
Voraussetzungen für die Installation
- Der Kuhlschrank muß an einer geerdeten Steckdose mit separatem 230 V, 50 Hz, 10A-Stromkreis angeschlossen werden.
- Ein empfindlicher Boden muß mit Pappe oder Teppichen geschützt werden.
- Der Kuhlschrank darf nur auf einem Boden aufgestellt werden, der mindestens 429kg tragt.
- Der Abstand oben muß mindestens 25 mm und der Abstand seitlich muß mindestens 5 mm betragen.
HINWEIS: Der Kühlschrankarf nichtneben einem Ofen, Heizkorper oder neben eine andere Wärmequelle installiert werden. Erarf auch nicht in Räumen installiert werden, in denen die Temperatur weniger als 13^ betragen wird.
1. Entfernen der Holzunterlage

VORSICHT
- Um Verletzungen oder Beschädigungen zu vermeiden, muß die Holzunterlage von zwei Personen entfernt werden.
-
Um mechanische Beschädigungen zu vermeiden, davon der Kühlschrank nicht länger als zum Entfernen der Schrauben notwendig auf der Seite gelagert werden.
-
Sichern Sie die Turen in den oberen linken und rechten Ecken mit Klebeband, um zu verhindern, daß sie sich unerwartet öffnen.
- Schieben Sie einen Gerätekarren seitlich unter die Scharniere des Kühlschranks.
- Umwickeln Sie den Kühlschrank mit einer Decke oder einem Kissen. Befestigen Sie sie mit einem Gurt. Schieben Sie die Schaumeinlagen des Versandkartons unter den Gurt undziehen Sie den Gurt fest an. Gurt bzw nicht überspannen.
- Senken Sie den Gerätekarren zu Boden, so daß seine Griffe auf den Boden zu liegen kommt.
- Entfernen Sie die beiden oberen Schrauben vom Beschlag
- Stellen Sie den Kühlschrank und den Gerätekarren wieder in eine aufrechte Position. Entfern den Gurt.
- Schieben Sie den Gerätekarren unter die gegenüberliegende Kühlschrankseite.
- Wiederholen Sie die Schritte 3-5.
- Entfernen Sie die Holzunterlage.
- Stellen Sie den Kühlschrank und den Gerätekarren wieder aufrecht. Schieben Sie den Kühlschrank an seinen gewünschten Aufstellort und entfern den Sie den Gerätekarren.
2. Türen entfernen und auf die andere Seite montieren, falls notwendig
Es kann bei der Installation unter Umständen notwendig sein, die Tur umzudrehen, damit sie vollständig geöffnet werden kann. Beim Umdrehen der Tur, damit ihre Öffnung auf die andere Seite zeigt, ist wie folgt vorzugehen.
Notwendiges Werkzeug
Verschiedene Schraubenschlussel und Schraubenzieher
Kreuzschlitz-Schraubenzieher
Blattschraubenzieher
Klebeband
WICHTIG: Der zum Entfernen der Steckstifte notwendige flache Blattschraubenzieher oder das Kittmesser muss an der Spitze mit Klebeband umwickelt werden, damit die Lackierung des Kühlschranks nicht beschädigt
wird. Für Steckstiffe, bei denen ein Schraubenzieher oder Mutterschluss zum Einsatz kommt, ist das Werkzeug in passender Groß zu wahlen, um eine Beschädigung des Stifts zu vermeiden.
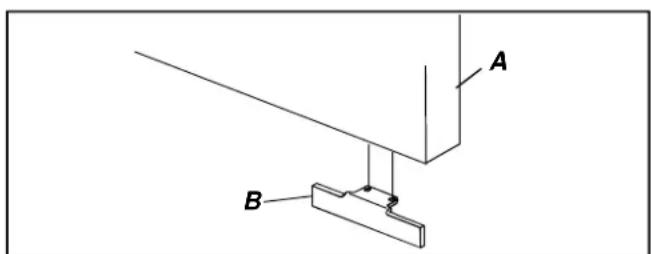
- Entfernen des Tügriffs
Die Griffschraube (C) von der Griffeiste (A) entfern. Hebien Sie die Kante der Griffeiste (A) mit Hilfe eines Blattschraubenziehers an, dessen Spitze mit Klebeband abgedeckt ist. Entfern den Sie
den Griff (B) von der Tur, indem Sie eine Montageschraube (C) entfernen, die jeweils am Ende der Griffe angebracht sind.
- Einen Steckstift von der oberen Scharnierasse der Tur und zwei Steckstifts von der vorderen Scharnierasse der Tur (D) entfernen. Die drei Steckstifts in die leeren Montagelöcher auf der gegenüber liegenden Seite der Tur stecken und damit die Montageschrauben (C) verwenden.


- Entfernen des Griffs von der Gefrierschranktur
Die Gefrierschranktur 90^ offnen. Machen Sie auf der Rückseite des Griffs (A) die zwei Kerben ausfindig. Ein flachen Schraubenzieher, dessen Spitze mit Klebeband umwickelt ist, einschieben. HebEN Sie die Kante der Griffabdeckung (B) an und entfernEN Sie sie von dem Griff.
- Entfernen Sie den Griff (A) durch Entfernen der zwei Montageschrauben (C) von der Tur.
- Zwei Steckstiffe (D) von der gegenüberliegenden Seite der Gefrierschranktür entfern und sie in die leeren Montagelöcher stecken.

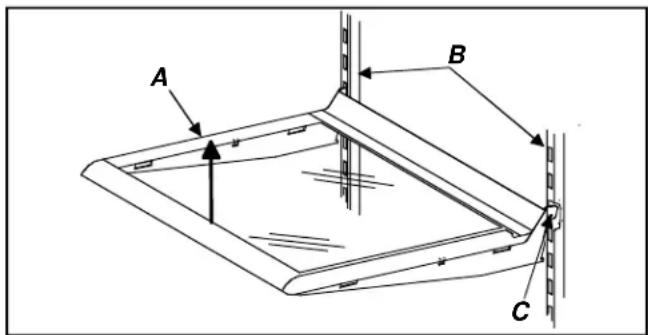
- Entfernen Sie die obere Scharnierabdeckung. Die obere Scharnierabdeckung Schnappt hereaus. Die 5 / 16 Schrauben (A) entfern, damit das obere Scharnier (B) und der Scharnierring (C) mit einem Sechskantschluss entfernt werden kann. Alle Zwischenringe (C\& D) beiseite legen.
- Die Kühlschranktür durch Aushängen von dem mittleren Scharnierstift (F) und von der Sechskantschraube (E) abnehmer. Inspizieren Sie die Tur, ob auf allen Scharnierstiften ein Zwischenring (D) liegt.
- Entfernen Sie mit Hilfe eines Sechskantschlüssels den Stift am mittleren Scharnier (±bF) . Da der Stiftrecht fest sitzt, kann ein groBerer Druck erforderlich sein. Alle Zwischenringe (D) entfernen und beiseite legen.
- Die Tur des Gefrierteils durch Ausheben aus dem unteren Scharnier (K) abnehmer.
-
Die Halterung des mittleren Scharniers (G) und den Zwischenring (H) mit einem Kreuzschlitzschraubenzieher entfern.
-
Den Fußgrill und die andere Scharnierabdeckung entfernen. Beide Schnappen hereus.
- Entfernen Sie die Stitte am unteren Scharnier (J) , das untere Scharnier (K) und die Scharnieringe (L) mit einem Sechskantschluss. Alle Zwischenringe (D) entfern den und beiseite legen.

-
Umsetzen der Turanschläge
-
Suchen Sie den Turanschlag (B) an der unteren Kante der Kühlschranktür(A). Schrauben Sie die zwei Kreuzschlitzschrauben ab, um den Turanschlag abnehmer zu konnen. Entfernen Sie die zwei Kreuzschlitzschrauben von der gegenüberliegenden Türkante und montieren Sie den Turstop hier. Schrauben Sie die verbleibenden zwei Kreuzschlitzschrauben in die leeren Montagelöcher.
- Obige Schritte sind zum Umsetzen des Turanschlags an der Gefrierschranktur zu wiederholen.

-
Setzen Sie die Türen in folgenden Schritten um:
-
Nehmen Sie die Steckstifte und Schrauben aus der gegenüberliegenden Seite des Kühlschrankgehauses und fugen Sie in die Löscher ein, die bei der Abnahme des Schariners entstanden sind.
- Montieren Sie das obere, mittlere und unter Scharnier einschließlich der Zwischenringe auf der gegenüberliegenden Seite des Gehäuses.
- Montieren Sie das untere Scharnier auf der gegenüberliegenden Seite des Gehäuses. Überprüfen Sie, ob alle Zwischenringe aufliegen, ehe Sie die Schrauben anschrauben. Nachdem Sie den Scharnierstift in das äußere Loch gesteckt haben, legen Sie die runden Ringe auf. Einige
untere Scharniere konnen in den Lochern
Stockstifte besitzen. Sollte das der Fall sein,
nehmen Sie den Stockstift aus dem äußerten Loch
und stecken Sieihn in das leere Loch.
- Montieren Sie das obere Scharnier einschließlich der Zwischenringe, noch{lassen Sie genugend Abstand, um die Scharnierseite der Kuhlschrankturt einschieben zu konnen. Schrauben Sie das obere Scharnier fest an, um die Tur safer zu befestigen.
- Positionieren Sie die Tur in einem Abstand von 11/16 (18 mm) von dem Gehäuse entfernt.
Die Seite mit dem Turgriff sollte ca. 1/8 (3 mm) hoher sein als die Scharnierseite. Die Tur gleicht sich aus, wenn sie mit Lebensmitteln beladen ist.

- Montieren Sie den Griff der Kühlschranktür unter Verwendung der im vorangegangenen Schritt abmontierten Schrauben an die gegenüberliegenden Seite der Tür.
- Schnappen Sie die Griffleiste ein und ersetzen Sie die Schraube.
- Montieren Sie den Griff der Gefrierschranktür unter Verwendung der im vorangegangenen Schritt abmontierten Schrauben an die gegenüberliegenden Seite der Tur.
- Positionieren die Vorderkante der Griffabdeckung nach unten in Richtung Rückkante des Gefrierschrankgriffs. Überprüfen Sie ob der Vorsprung unter an der Griffabdeckung unter die Rückkante des GefrierschrankgriffsGLEitet.Lasser Sie dieindhere Kante der Griffabdeckung einschnappen.
- Prufen Sie die waagerechte Position des Gerätes wie in Abschnitt 5 beschrieben.
- Setzen Sie den Fußgrill und das andere Scharnier wieder ein.
Wichtig: Achten Sie auf den Pfeil, der sich an der Innenseite des Grills befindet, damit der Grill richtig positioniert ist.
- Lassen sie zuerst den oberen Teil einrasten. Drucken Sie auf den unteren Teil des Grills, bis der unter Teil einrastet.

3. Schieben Sie den Kühlschrank an seinen endgültigen Aufstellungsort.

VORSICHT
Um Sachschäden am Boden zu vermeiden, sollen den Sieihn mit Pappe, Teppichen oder anderen Unterlagen schützen.
4. Anschluß des Stromkabels.
Servicearbeiten am Stromkabel müssen von einem qualifizierten Servicetechniker durchgeführt werden. Hierfür sind Spezialwerkzeuge erforderlich. Wenden Sie sich zwecks Überprüfung, Reparatur oder Einstellungen an das{nachste autorisierte Service-Center.
5. Stabilisierung des Kuhlschranks.
a. Die Rolleneinstellungsschraube (A) nach rechts drehen, um den Schrank anzuheiten, bzw. nach links, umihn abzuseken.
b. Den Stutzfuß (B) einstellen, damit der Kühlschrank fest am Boden steht.

VORSICHT
Um Sach-oder Personenschäden aufgrund eines Umkippens des Kühlschranks zu vermeiden, muß der Stützfuß fest auf dem Boden stehen.

These Checklistsistnurfirdie private Ablage gedacht.
Kunde Installateur
□
□
Turen
Die Seite mit dem Tügriff ist ca. 3 mm higher sein als die Scharnierseite der Tur. (Die Tur senkt sich ab, wenn sich in ihr Lebensmittel befinden.)
□
□
Die Turen schlieben den Kuhlschrank vollkommen dicht ab.
□
□
Stand
Der Kuhlschrank steht 6 mm nach vorn geneigt.
Der Stutzfuß steht auf dem Boden.
DerFuBgrillistordnungsgemabamKuhlschrankbefestigt.
□
□
Schriftliche Produktunterlagen
Das Betriebshandbuch einschließlich der folgenden Informationen wurde gelesen:
Regler von Frischhalte- und Gefrierteil
- Frischhaltefach mit geregelter Feuchtigkeit
- Fach mit geregelter Temperatur
Normale Betriebsgeräusche
Anmerkungen
Unterschrift des Kunden
Unterschrift des Installateurs
Dieser Kuhlschrank ist für einen Betrieb bei normalen Raumtemperaturen von 13 bis 43^ ausgelegt.
Frischhalte- und Gefrierschrankregler
Der Frischhalteregler befindet sich an der oberen Rückwand des Frischhalteteils.

Der Gefrierschrankregler befindet sich rechts oben an der Vorderseite des Gefrierteils.

Das Einstellen der Regler
Wenn der Gefrierschrankregler auf steht, kuhl teder der Kuhl- noch der Gefrierschrankteil. Stellen Sie zu Beginn beide Regler auf 4. Warten Sie 24 Stunden, bis sich im Kuhl- und Gefrierteil die Temperaturen stabilisiert haben. Stellen Sie nach 24 Stunden die Regler nacheinander auf den gewünschten Wert ein. Eins ist die wärmtste und Sieben die kalteste Einstellung.
Stellen Sie die Regler genau mit Hilfe eines Raumthermometers ein, das Temperaturen zwischen -21 °C und 10 °C anzeigen kann.
Legen Sie das Thermometer dicht an gefrorene Pakete im Gefrierteil. Warten Sie 5 bis 8 Stunden. Wenn die Gefriertemperatur nicht zwischen -17 und -16^ betragt, stellen Sie die Temperatur neu ein, jeweils um eine Stufe. Überprüfen Sie die Temperatur nach 5 bis 8 Stunden nochmals.
Legen Sie das Thermometer in der Mitte des Frischhalteteils in ein Glas Wasser. Warten Sie 5 bis 8 Stunden. Falls die Frischhalteteiltemperatur nicht zwischen 3 und 4^ beträgt, stellen Sie den Temperaturregler neu ein, jeweils um eine Stufe. Warten Sie wieder 5 bis 8 Stunden, bis Sie die Temperatur erneut überprüfen.
Merkmale des Frischhalteteils
Frischhaltefacher
Die Fächer können dem individuellen Bedarf entsprechend verstellt werden. Einige Modèle verfügen über Spillsaver™ und Easy Glide™-Einlegeböden. Spillsaver™-Einlegeböden halten für eine leichtere Reinigung keinere Mengen von ausgeschütteten Flüssigkeiten zurück.

VORSICHT
Um Sachschäden zu vermeiden, stellen Sie sicher, daß die Einlegeböden fest liegen, bevor sie mit Lebensmitteln beladen werden.

VORSICHT
Um Verletzungen oder Beschädigungen zu vermeiden, wird ein vorsichtiger Umgang mit den Glasböden empfohlen. Die Einlegeböden können zerbrechen, wenn sie gebogen, zerkratzt oder plottlichen Temperaturveränderungen ausgesetzt werden.
Die Einlegeboden (A) konnen durch Anheben der Vorderseite und durch das Aushaken der Haken (C) aus der Metallschiene (B) herausgehoben werden.
Zum Einsetzen der Einlegeboden sind die Haken (C) in die Metallschiene (B) einzuhaken und die Vorderseite des Boden abzuseken.

Easy Glide™ Einlegeboden können hersausgezogen werden, um weiter hintsen liegenden Kühlgut leichter erreichen zu konnen.

Garden FreshTM Schubladen
Die Garden FreshTM Schubladen halten Obst und Gemüse länger frisch. Diese Produkte sollenen gut eingepackt und vor dem Kühlen nicht gewaschen werden. Überschüssige Flüssigkeit kann dazu führen, daß die Produkte früher schlecht werden. Die Schubladen sollenen nicht mit Papiertüchern ausgelegt werden, da sie Feuchtigkeit speichern.
Der Garden FreshTM (D) -Regler befindet sich unterhalb der vorderen Facheinfassung. Der Regler stellt die Feuchtigkeit in der Schublade ein. Stellen Sie für Gemüse mit Blättern, wie z.B. Salat, Spinat oder Kohl den Regler auf high (hoch). Für Gemüsesorten mit einer Haut, wie z.B. Blumenkohl, Mais oder Tomaten stellen Sie den Regler auf low (niedrig).
Um die Garten FreshTM Schubladen zu reinigen oder wieder einzusetzen gehen Sie wie folgt vor:
-
Offnen Sie die linke Schublade.
-
Bei Türen mit dem Scharnier auf der linken Seite, öffnen Sie die rechte Schublade.

VORSICHT
Um Verletzungen oder Beschädigungen zu vermeiden, wird ein vorsichtiger Umgang mit den Glasboden empfohlen. Die Einlegeboden können zerbrechen, wenn sie gebogen, zerkratzt oder plötzlichen Temperaturveränderungen ausgesetzt werden.
- Entfernen Sie die Glasabdeckung der Schublade (A), indem Sie sie vorsichtig von unter her anheiten, vorn hochheiten und hersausziehen.
- Entfernen Sie die linke Schublade, indem Sie sie vorne anheiten, während Sie sie unter halten und hersausziehen. Bei Kühlschranktüren mit dem Scharnier auf der linken Seite, entfernen Sie die rechte Schublade.
- Die andere Schublade entsprechend Punkt 3 entfernen. Wenn die Schublade wegen der Stellung der Tur nicht herausgezogen werden kann,nehmen Sie sie, wie in Punkt 5 beschreiben, zusammen mit dem Rahmen hereus.
- Den Rahmen (B) an der vorderen Kunststoffmulde (C) hochheiten und aus den Rillen an den Gehauschieten aushaken. Nach vorn Herausziehen.
- Um die Schubladen und die Abdeckung wieder einzusetzen, gehen Sie Punkt 2-5 in umgekehrter Reihenfolge vor.

Lagerfach (eineige Modelle)
Das Lagerfach bietet eine zweckmäßige Lagerung für eine große Flasche, einen Eierkarton, usw.
- Hangen Sie das Fach ein, indem Sie es an der Seite eines Einlegebodens einhaken.

Abgedecktes Lagerfach (eineige Modelle)
Das abgedeckte Lagerfach besitzt einen Deckel und einen herausnehmbaren Einsatz für Eier. Wenn der Einsatz herausgenommen ist, kann in dem Fach ein Eierkarton, Eis, usw aufbewahrt werden.

Milchproduktabteil (eineige Modelle)
Das Milchproduktabeil ermöglich eine bequeme Lagerung von Butter, Kase usw.
- Nehmen Sie das Milchproduktabteil heraus, indem Sie die Abdeckung (A) öffnen und die Vorsprünge (B) an beiden Seiten des Einlegebodens eindrücken.
- Setzen Sie das Milchproduktabteil wieder ein, indem Sie es so welt hineinschieben, bis die Vorsprünge (B) einrasten. Danach schlieBen Sie die Abdeckung (A).

Türkörbe
Die Turkorbeleen sich dem individuellen Bedarf anpassen.
- Nehmen Sie die Turkörbe Heraus, indem Sie die Vorsprünge (A) an beiden Seiten des Einlegebodens in Richtung Mitte drücken und dann den Turkorb Herausziehen.
- Setzen Sie die Turkörbe wieder ein, indem Sie sie so welt hineinschieben, bis die Vorsprüge (A) einrasten.

Halterung fur Großpackungen (eine Modelle)
Die Halterung für Großpackungen erhögt eine sichere Aufbewährung großer Behälter. Die Halterung paßt an die Vorderseite beliebiger Türkorbe oder Türfächer des Kühlschranks.

Turfacher
Zum Herausnehmen der Turfacher sind diese an den Enden hochzuheiten und hersauszuziehen.
Die Tufischer wieder einlagen, indem sie auf die Schienen (A) gesetzt und heruntergedrückt werden.

Einstellbarer Fachteiler (eineige Modelle)
Mit dem einstellbaren Fachteiler bleiben die Lebensmittel an ihren Platz. Die Platzeinteilung kann individuell erfolgen. Der Fachteiler paßt in jeder Türkorb oder in jeges Türfach.

Flaschenhalter (eineige Modelle)
Mit dem Flaschenhalter bleiben Flaschen an ihren Platz. Die Platzeinteilung kann individuell erfolgen. Der Flaschenhalter paßt in jeder Türkorb oder in jedem Türfach.

Merkmale des Gefrierteils
Abtausystem
Der Frischhalte- und der Gefrierteil verfügen über ein Abtausystem. Unter Normalbedingungen erfolgt das Abtauen automatisch. Der Frischhalte- und der Gefrierteil müssen niemals abgetaut werden.
Eiserzeuger (eineige Modelle)
Den Eiserzeuger (C) auf die Schrauben und Unterlegscheiben (A\& B) stecken und herunterträcken.


VORSICHT
Um Sachschaden zu vermeiden, vergewissern Sie sich, daß das Regal fest eingesetzt ist, bevor Sie etwas darauf legen.
Schiebegitter (eineige Modelle)
Die Schiebegitter konnen nach vorn gezogen werden, damit Lebensmittel im hinteren Bereich better zuganglich sind.
- Das Schiebegitter kann Herausgenommen werden, indem es so welt herausgezogen wird, bis der Auflagepunkt (B) unter der Mittelschiene (A) in der Vertiefung einrastet.
- Das Schiebegitter an der Mittelschiene (A) halten, nach offen ziehen und Herausnahmen.
- So weit hineinschieben, bis der Auflagepunkt (B) in die Vertiefung rutscht.

Senkrechter Fachteiler (eineige Modelle)
Der senkrechte Fachteiler wird wie folgt installiert:
- Die Stiftes des Fachteilers unter den gewünschten Gitterdraht, etwasiben der Mittelschiene schieren.
- Die Oberseite des Fachteilers herunterträcken und die Einhavkvorrichtung unter die Mittelschiene schieren.

Gitterboden (eineige Modelle)
- Das Gitter durch Herausziehen entfernen.
Gegebenenfalls etwas stärker ziehen. - Das Gitter durch Hineinschieben bis zum Einrasten einlagen.

Gitterkorb
Der Gitterkorb (A) kann Herausgezogen werden, damit Lebensmittel im hinteren Bereich better zuganglich sind.
Zum Entfernen des Gitterkorbs diesen hochheiten und herausziehen.
Zum Einsetzen den Gitterkorb hineinschieben.

Eiswurfelfach (eineige Modelle)
Das Eiswurfelfach (A) befindet sich unter dem Eiserzeuger auf dem Gitterboden des Gefrierteils.

Pflege und Reinigung

ACHTUNG
Um einen elektrischen Schlag, der zu schweren Verletzungen und sogar zum Tod führen kann, zu vermeiden, muß der Stecker des Kühlschranks vor der Reinigung aus der Steckdose gezogen werden. Stecken Sie das Stromkabel nach der Reinigung wieder ein.

VORSICHT
Um Verletzungen oder Beschädigungen zu vermeiden, lessen Sie alle Anweisungen des Herstellers des Reinigungsmittels und halten Sie sich daran.
Allgemeine Reinigung
- Waschen Sie die Oberflächen mit einer Lösung aus 1 I warmem Wasser und 60ml Speisesoda. Verwenden Sie zur Reinigung der Oberflächen ein sauberes, weiches Tuch.
-
Spulen Sie die Oberflächen und die Außenwände mit warmem Wasser. Trocknen Sie sie mit einem weichen, sauberen Tuch.
-
Verwenden Sie folgenden NICHT:
-
scheuernde und atzende Reiniger, Ammoniak, chlorhaltige Bleichmittel etc.
- konzentrierte Waschmittel oder Lösungsmittel
- metallene Scheuerlappen
These Dinge konnen Oberflächen zerkratzen, springen, lassten oder der Farbe schaden.
4. Geben Sie die Behälter, Fächer etc. nicht in den Geschirrspüler.
Beseitigung von Gerüchen
- Nehmen Sie s amtliche Lebensmittel aus dem Kuhlschrank undziehen Sie das Stromkabel aus der Steckdose.
- Reinigen Sie alle inneren Oberflächen einschließlich der Decke, des Bodens und der Wände gemäß der oben beschriebenen allgemeinen Reinigungsanleitung. Achten Sie weitere auf Ecken, Spalten und Ausnehmungen. Reinigen Sie auch alle Laden, Regale und Dichtungen.
- Stecken Sie das Stromkabel des Kühlschranks wieder ein und legen Sie die Lebensmittel zurück in den Kühlschrank. Waschen und trocknen Sie alle Flaschen, Behalter und Glaser. Legen Sie die Lebensmittel in dicht schliebende Behalter, um eine weitere Geruchsentwicklung zu vermeiden. Überprüfen Sie nach 24 Stunden, ob der Geruch weg ist.
Fuhren Sie die Schritte 4 bis 10 durch, falls der Geruch noch vorhanden ist:
4. Nehmen Sie s amtliche Lebensmittel aus dem Kuhlschrank undziehen Sie das Stromkabel aus der Steckdose.
5. Reinigen Sie alle inneren Oberflächen einschließlich der Decke, des Bodens und der Wände gemäß der oben beschriebenen allgemeinen Reinigungsanleitung. Achten Sie weitere auf Ecken, Spalten und Ausnehmungen. Reinigen Sie auch alle Laden, Regale und Dichtungen.
6. Legen Sie die Schubladen auf das obere Regalfach des Kuhlteils. Packen Sie den Kuhl- und Gefrierteil einschließlich der Turen mit zerknüllten Zeitungsblättern voll.
7. Durchsetzen Sie die Zeitungen mit Holzkohlenbriketts.
8. Schließen Sie die Türen und warten Sie 24 bis 48 Stunden.
9. Entfernen Sie die Holzkohlenbriketts und die Zeitungen.
10. Stecken Sie das Stromkabel des Kühlschranks wieder ein und legen Sie die Lebensmittel zurück in den Kühlschrank. Waschen und trocknen Sie alle Flaschen, Behälter und Gläser. Legen Sie die Lebensmittel in dicht schliebende Behälter, um eine weitere Geruchsentwicklung zu vermeiden. Überprüfen Sie nach 24 Stunden, ob der Geruch weg ist.
Klebstoffe
- Klebstoffrückstände an den Kühlschrankoberflächen können Sie entfern, indem Sie mit den Fingern Zahnpaste auf den Klebstoff reiben, bis er sich lockert.
- Spulen Sie die Oberfläche mit warmem Wasser und trocknen Sie sie mit einem weichen, sauberen Tuch.
Turdichtungen
- Halten Sie die Dichtungen immer sauber. Reinigen Sie sie alle 3 Monate gemäß der allgemeinen Reinigungsanleitung gründlich. Verschüttete Flüssigkeiten sofort entfern.
- Bringen Sie eine)dünne Vaselineschicht auf,um die Dichtungen geschmeidig zu halten.
Verflüssigerschlangen
Um eine maximale Leistung des Kühlschranks zu gewährleisten, sollen den Verflüssigerschlangen hinter dem Fußgrill alle 3 Monate gereinigt werden.
Angesammelter Staub und Schmutz kann zu folgendem führen:
- verringerte Kühlleistung
-
erhöhter Energieverbrauch
vorzeitigem Versagen der Bestandteile -
Entfernen Sie den Fußgrill, indem Sieihn an den Enden halten und nach vom Kuhlschrank wegziehen.
- Reinigen Sie die Vorderseite der der Verflüssiger-schlange mit der Schlauchduse eines Staubsaugers.
- Setzen Sie den Fußgrill wieder auf, indem Sie die Schnappvorrichtungen in die Löscher einsetzen und einschnappen setzen.
- Schrauben Sie die Fußstütze (eineige Modelle) nach oben, indem Sie die Stütze links herum drehen.

VORSICHT
Um Sachschäden zu vermeiden, sollte der Boden mit Pappe, Teppichen oder anderen Schutzunterlagen geschützt werden.
- Ziehen Sie den Kuhlschrank von der Wand weg Reinigen Sie den Grill an der Rückseite des Kuhlschranks mit einer Saugbürste.
Glasfacher

VORSICHT
Zur Vermeidung von Verletzungen oder Beschädigungen sollenn Sie mit Fächern aus Glas sehr vorsichtig umgeben. Die Glasplatten können brechen, wenn sie gebogen, zerkratzt oder plottlichen Temperaturveränderungen ausgesetzt werden.
Entfernen Sie den Einlegeboden, indem Sieihn vorne anheiten, die Haken aus der Metallschiene haben und Herausziehen. Legen Sie den Einlegeboden auf ein Handtuch. Lassen Sie es sich an die Raumtemperatur anpassen, bevor Sieihn reinigen:
Reinigen Sie die Spalten, indem Sie wie folgt vorgehen:
- Bereiten Sie eine milde Waschlösung und bürsten Sie mit einer Bürste die Spalten aus. Lassen Sie die Lösung 5 Minuten lang einwirken.
- Sprühen Sie mit einem Sprühaufssatz warmes Wasser in die Spalten.
- Trocknen Sie den Einlegeboden gründlich und setzen Sieihn wieder ein, indem Sie die Haken in die Metallschiene einsetzen und die Vorderseite absenken.
Austausch der Gluhlampe

ACHTUNG
Um einen elektrischen Schlag, der zu schweren Verletzungen und sogar zum Tod führen kann, zu vermeiden,ziehen Sie das Stromkabel des Kuhlschranks aus der Steckdose,bevor Sie die Gluhlampe austauschen. Nachdem Sie die Gluhlampe ersetzt haben, stecken Sie das Stromkabel wieder ein.

VORSICHT
Um Personen- oder Sachschäden zu vermeiden, sollenn Sie Folgenden beachten:
- Lassen Sie die Gluhlampe abkühlen
Tragen Sie beim Austauschen der Gluhlampe Handschuhe.
Glühlampe im Frischhalteteil
- Nehmen Sie die Gluhampenabdeckung (B) ab, indem Sie die 1/4 "Sechskantschrauben (A) entfern. Tauschen Sie die Gluhlampe mit einer passenden Gluhlampe mit nicht mehr als 25 Watt aus.
- Setzen Sie die Gluhampenabdeckung (B) wieder auf, indem Sie die 1/4 Sechskantschrauben (A) wieder einsetzen.

Glihlampe im Gefrierteil
- Nehmen Sie die Gluhlampenabdeckung (B) ab, indem Sie die 1/4 " Sechskantschrauben 4 entfern. Tauschen Sie die Gluhlampe mit einer passenden Gluhlampe mit nicht mehr als 25 Watt aus.
- Setzen Sie die Gluhlampenabdeckung (B) wieder auf, indem Sie die 14 " Sechskantschrauben (A) wieder einzetten.

Tips fur den Urlaub
Ergreifen Sie bei kurzen Urlauben folgende Maßnahmen.
- Nehmen Sie verderbliche Lebensmittel aus dem Kühlschrank.
- Falls ein Eiserzeuger installiert ist, stellen Sie den Arm des Eiserzeugers nach oben in die Aus-Position. (Siehe Abschnitt „Automatischer Eiserzeuger" auf Seite 42).
Wenn Sie für längerere Zeit auf Urlaub gehen, treffen Sie folgende Maßnahmen.
- Leeren Sie den Eisbehälter und den Gefrierteil.
- Ziehen Sie das Kabel des Kuhlschranks aus der Steckdose.
- Reinigen Sie den Kühlschrank und die Turdichtungen gemäß den „allgemeinen“ Instruktionen im Abschnitt „Pflege und Reinigung".
- Machen Sie die Türen auf, damit die Luft im Inneren des Kühlschranks zirkulieren kann.
- Falls ein Eiserzeuger installiert ist, drehen Sie die Wasserversorgung des Kühlschranks ab und stellen Sie den Arm des Eiserzeugers nach oben in die Aus-Position. (Siehe Abschnitt „Automatischer Eiserzeuger" auf Seite 42).
Tips zum Energiesparen
Dieser Kühlschrank ist in seiner Konstruktion einer der Kühlschränke mit dem hochsten energetischen Wirkungsgrad auf dem Markt. Sie können Energie sparen, indem Sie die folgenden Hinweise beachten:
- Betrieb bei normalen Haushaltstemperaturen zwischen 13^ und 43^ ; unmittelbare Höhe von Wärmequellen und direkte Sonneneinstrahlung vermeiden.
Kuhlschrank, Gefrierteil und temperaturgesteuertes Fleischkuhlsystem nicht kalter einstellen als nötig. - Gefrierteil voll halten.
- Türdichtungen sauber und geschmeidig halten. Verschlissene Dichtungen austauschen.
- Verflüssigerschangle sauber halten.
Normale Betriebsgeräusche
Ihr neuer Kühlschrank ersetzt möglicherweise einen anderen, weitereichtkleineren, weniger effizienten Kühlschrank von anderem Design. Die modernen Kühlschränke haben neue Merkmale und sind sparsamer im Energieverbrauch. Die Folge ist, daß Ihnen manche Betriebsgeräusche vielrecht nicht vertraut sein werden. Diese Gerausche sind jedoch normal und werden Ihnen bald nicht mehr auffallen. Sie zeigen ebenfalls an, daß der Kühlschrank wie vorgesehen Funktioniert und arbeitet.
- Die Gefriersteuerung klicht beim Starten oder Stoppen des Verdichters.
- Das Geblase des Gefrierteils rauscht und surrt.
- Hermetiksystem (Verdampfer und Wärmetauscher): Das Kätemittel gurgelt, Schnalzt oder macht ein Gerausch wie kochendes Wasser.
- Der Enteisungsheizer zischt oder Schnalzt.
- Die Enteinsungszeituhr tickt wie eine elektrische Uhr und schaltet den Enteinsungszyklus ein und aus.
- Die Luft aus dem Verflüssigergebnäse rauscht und surrt.
- Der Verdichter gibt einen hohen summenden oder pulsierenden Ton von sich und schaltet sich in Abständen ein und aus.
- Die Eiswürfel vom Eiserzeuger (eineige Modelle) fallen in den Eisbehälter.
- Der Wasserventilanschluß des Eiserzeugers (eineige Modelle) – hier nicht aufgeführt -summt, wenn sich der Eiserzeuger mit Wasser füllt. Das ist immer der Fall, unabhängig davon, ob der Kühlschrank an die Wasserversorgung angeschlossen ist oder nicht. Wenn der Kühlschrank nicht an die Wasserver-sorgung angeschlossen ist, konnen Sie das Gerausch abstellen, indem Sie den Arm des Eiserzeugers auf die Aus-Position stellen. Der Anschluß des Wasserventils befindet sich hinter dem Verflüssigergebnise auf der Rückseite des Kühlschranks.
Hinweis: Die Schaumisolierung hat einen hohen energetischen Wirkungsgrad und besitzt exzellente Isoliereigenschaften. Sie schluckt allerdings nicht so viele Gerausche wie die früher verwendeten Glasfaserisolierungen.

Bevor Sie den Kundendienst rufen
| Problem | Lösung |
| Der Kühlschrank Funktioniert nicht. | · Der Kühlschrank Funktioniert nicht. · Vergewissem Sie sich, daß die Gefriersteuerung eingeschaltet ist. · Vergewissem Sie sich, daß das Stromkabel des Kühlschranks eingesteckt ist. Wenn nicht, stecken Sie das Stromkabel in eine stromführung Steckdose mit passender Spannung. · Überprüfen Sie die Sicherung oder den Überlastschalter. Stecken Sie an dieser Steckdose ein andere Gerät an, um festzustellen, ob sie stromführung ist. Wenn sie keinen Strom führt, ersetzen Sie die Sicherung oder setzen Sie den Überlastschalter zurück. · Wenn die Gefriersteuerung eingeschaltet ist, die Lichter leuchten, aber die 2 Ventilatoren und der Verdichter nicht Funktionieren, kann es sein, daß sich der Kühlschrank im Abtauzyklus befindet. Warten Sie 40 Minuten, um festzustellen, ob der Kühlschrank den Betrieb wieder aufnimmt. |
| Der Kühlschrank Funktioniert noch immer nicht. | · Stecken Sie das Kabel des Kühlschranks aus. Geben Sie die Lebensmittel in ein anderes Gerät oder legen Sie Trockeneis in den Gefrierteil, um sie zu konservieren. Rufen Sie den Kundendienst. |
| Die Temperatur der Lebensmittel erscheint zu warm. | · Siehe oben. · Wenn Sie vor kurzem warme Lebensmittel in den Kühlschrank gegeben haben, dauert es eine Zeit, bis diese Lebensmittel Frischhalte- oder Gefrierschranktemperatur erreichen. Die Zugabe von Lebensmitteln wärmt den Kühlschrank auf. Es kann ein paar Stunden dauern, bis der Kühlschrank wieder seine normale Temperatur erreicht. · Überprüfen Sie die Dichtungen, um festzustellen, ob sie richtig schreiben. Die Dichtungen sollen fest am Gehäuse anliegen. · Reinigen Sie die Verflüssigerschangle. Siehe Anleitung zur Reinigung der „Verflüssigerschangle“ im Abschnitt „Pflege und Reinigung“. · Stellen Sie die Frischhalte- und Gefriersteuerung neu ein. Siehe „Einstellung der Regler“ im Abschnitt „Regler“. · Die Beleuchtung im Frischhalte- oder Gefrierteil bleibt an. Wenn das Licht an bleibt, entfern den Sie die Glühlampe und rufen Sie den Kundendienst. · Der Luftkanal hinter den Schubladen ist versPERT und hält die Luftzirkulation auf. Sehen Sie hinter den Schubladen nach und entfern den Sie Verunreinigungen, die den Luftkanal stopfen und die Luftzirkulation verhindern. |
| Die Temperatur der Lebensmittel ist zu kalt. | · Reinigen Sie die Verflüssigerschangle. Siehe Anleitung zur Reinigung der „Verflüssigerschangle“ im Abschnitt „Pflege und Reinigung“. · Stellen Sie die Frischhaltesteuerung neu ein. Siehe „Einstellung der Regler“ im Abschnitt „Regler“. · Stellen Sie die Gefriersteuerung auf eine wärmere Einstellung. Siehe „Einstellung der Regler“ im Abschnitt „Regler“. Warten Sie ein paar Stunden, bis sich die Temperatur angepaßt hat. |
| Der Kühlschrank lauft zu oft. | Es kann sich um den Normalzustand zur Aufrechterhaltung einer konstanten Temperatur handeln.Die Turen wurden vielfeiert*häufig oder für einen längeren Zeitraum geöffnet. Beim Öffnen der Turen gelangt warme und feuchte Luft in den Kühlschrank. Je früher die Turen geöffnet wird, desto mehr warme Luft muß vom Kühlschrank gekühlt werden.Wenn Sie vor kurzem warme Lebensmittel in den Kühlschrank gestellt haben, dauert es eine Zeit, bis sie Kühlschrank- oder Gefrierfachtematür erreicht haben. Es kann ein paar Stunden dauern, bis der Kühlschrank wieder seine normale Temperatur erreicht.Reinigen Sie die Verflüssigerschlangen. Siehe Anleitung zur Reinigung der „Verflüssigerschlange“ im Abschnitt „Pflege und Reinigung".Stellen Sie die Gefriersteuerung ein. Siehe „Einstellung der Regler“ im Abschnitt „Regler".Überprüfen Sie, ob die Dichtungen richtig schließen. Die Dichtungen sollenn fest am Gehäuse anliegen.Die Beleuchtung im Gefrierteil bleibt an. Wenn das Licht an bleibt, entfernen Sie die Glühlampe und rufen Sie den Kundendienst.Stellen Sie safer, daß der Kühlschrank richtig stabilisiert ist. Siehe Abschnitt „Stabilisierung des Kühlschranks“ in der Installationsanleitung. |
| Im Inneren des Kühlschranks bilden sich Wassertropfen. | In Zeiten hoher Luftfeuchtigkeit oder wenn die Turen oft geöffnet wurden, ist das normal.Verpacken Sie die Lebensmittel gut und wischen Sie feuchte Behälter ab, bevor Sie in den Kühlschrank stellen, damit sich nicht so viel Feuchtigkeit im Kühlschrank sammelt. |
| An der AuBenseite des Kühlschranks bilden sich Wassertropfen. | Überprüfen Sie, ob die Turdichtungen gut schließen. Die Dichtungen sollenn fest am Gehäuse anliegen.In Zeiten hoher Luftfeuchtigkeit oder wenn die Turen oft geöffnet wurden, ist das normal. |
| Im Kühlschrank riecht es schlecht. | Siehe „Geruchsbeseitigung“ im Abschnitt „Pflege und Reinigung". |
| Der Kühlschrank produziert ungewöhnliche Geräusche oder erscheint laut. | Das kann normal sein. Siehe Abschnitt „Normale Betriebsgeräusche". |
| Die Eswürfel riechen. | Siehe „Geruchsbeseitigung“ im Abschnitt „Pflege und Reinigung".Im Kuhl- oder im Gefrierschrank wurden Lebensmittel nicht gut abgedeckt.Decken Sie die Lebensmittel fest ab, Denn die Gerüche gehen auf das Eis über, wenn die Lebensmittel nicht sachgemäß zugedeckt sind.Werfen Sie das Eisweg und reinigen Sie den Eisbehälter und die Tabletts*häufiger. Eswürfel sind porös undnehmen leicht Gerüche auf.Im Wasser sind Mineralstoffe wie z.B. Schwefel enthalten. In manchen Fällen ist die Installation eines Wasserfilters notwendig, um die Probleme mit Geruch und Geschmack zu behuben. |
| Die Eswürfel haften aneinander oder „schrumpfen“. | Leeren Sie den Eisbehälter oder die Tabletts*häufiger aus. Wenn die Eswürfel nicht oft entnommen werden, können sie aneinander kleben oder schrumpfen. |
1 Jahr beschrankte Garantie
5 Jahre beschränkte Garantie auf den Verdichter
Erstes Jahr
Amana liefert für fehlerhafte Teile aufgrund von Material- oder Verarbeitungsfehler kostenlose Austauschteile ab Werk Amana, Iowa, USA.
Zweites bis fünttes Jahr
Amana liefert für fehlerhafte Kompressoren aufgrund von Material- oder Verarbeitungsfehler kostenlose Austauschteile ab Werk Amana, Iowa, USA.
Beschränkung der Garanie
- Beginn ab Kaufdatum
- Reparaturen müssen durch einen autorisierten Amana Kundendienst-Techniker durchgeführt werden.
Die Garantie greift nicht, wenn
- Das Typenschild mit Seriennummer abmontiert ist.
- Das Produkt auf kommerzieller, Leih- oder Leasing-Basis verwendet wird.
- Das Produkt aufgrund von Unfällen, Veränderungen, falschen elektrischen Anschluß, Feuer, Flut, Blitzschlag, Transport und Versand, oder anderen Ursachen beschädigt wurde, die nicht im Einflüß von Amana liegen.
- Das Produkt falsch installiert oder benutzt wird.
Verantwortung des Kunden
- Vorlage der Kaufbescheinigung (Kassenzettel).
- Normale Pflege und Wartung. Austausch von Teilen, zu denen eine Anleitung im Betriebshandbuch existiert.
- Zugänglichkeit zum Produkt zwecks Wartung garantieren.
- Zahlung von Extravergütung, wenn die Wartung außerhalb der normalen Arbeitszeit des Kundendienst-Technikers erfolgt.
- Zahlung der Service-Einsätze für die Installation und den Betrieb des Produkts.
In keinem Fall kann Amana für zufällige und Folgeschäden, einschließlich den Verlust von Lebensmitteln verantwortlich gemacht werden*.
Bei Fragen zu diesen Handbuch, oder um die Adressen des autorisierten Kundendiensts zu erfahren, wenden Sie sichitte an ihren Produktlieferanten oder an:
Elektrische vereisten 75
Modelidentificatie 75
Automatisch ontdoisysteme 82
Elektrische vereisten
De deuren sluiten volledig gegen de kast.
□
□
Waterpas
Automatisch ontdooisysteme
Modellkennemerker 90
PAKASTIMEN POISHEITÄMISTÄ:
Modellidentifikation 164
EinfachAnleitung